| Intervalo de mantenimiento y servicio | Procedimiento de mantenimiento |
|---|---|
| Cada vez que se utilice o diariamente |
|
Este cortacésped de asiento de cuchillas rotativas está diseñado para ser usado por operadores profesionales contratados. Está diseñado principalmente para segar césped bien mantenido en zonas verdes residenciales o comerciales. El uso de este producto para otros propósitos que los previstos podría ser peligroso para usted y para otras personas.
Lea este manual detenidamente para aprender a utilizar y mantener correctamente su producto, y para evitar lesiones y daños al producto. Usted es responsable de utilizar el producto de forma correcta y segura.
Visite www.Toro.com para buscar materiales de formación y seguridad o información sobre accesorios, para localizar un distribuidor o para registrar su producto.
Cuando necesite asistencia técnica, piezas genuinas Toro o información adicional, póngase en contacto con un Servicio Técnico Autorizado o con Asistencia al Cliente de Toro, y tenga a mano los números de modelo y serie de su producto. La Figura 1 identifica la ubicación de los números de serie y de modelo en el producto. Escriba los números en el espacio provisto.
Important: Con su dispositivo móvil, puede escanear el código QR (en su caso) de la pegatina del número de serie para acceder a información sobre la garantía, las piezas, y otra información sobre el producto.

Este manual utiliza 2 palabras para resaltar información. Importante llama la atención sobre información mecánica especial, y Nota resalta información general que merece una atención especial.
El símbolo de alerta de seguridad (Figura 2) aparece tanto en este manual como en la máquina para identificar mensajes de seguridad importantes que debe seguir para evitar accidentes. Este símbolo aparecerá junto a la palabra Danger (Peligro), Warning (Advertencia) o Caution (Cuidado).
Peligro: Indica una situación peligrosa inminente, que si no se evita, causará la muerte o lesiones graves.
Advertencia indica una situación potencialmente peligrosa que si no se evita, podría causar la muerte o lesiones graves.
Cuidado indica una situación potencialmente peligrosa que si no se evita, podría causar lesiones menores o moderadas.

El uso o la operación del motor en cualquier terreno forestal, de monte o cubierto de hierba a menos que el motor esté equipado con parachispas (conforme a la definición de la sección 4442) mantenido en buenas condiciones de funcionamiento, o haya sido fabricado, equipado y mantenido para la prevención de incendios, constituye una infracción de la legislación de California (California Public Resource Code Section 4442 o 4443).
El manual del propietario del motor adjunto ofrece información sobre las normas de la U.S. Environmental Protection Agency (EPA) y de la California Emission Control Regulation sobre sistemas de emisiones, mantenimiento y garantía. Puede solicitarse un manual nuevo al fabricante del motor.
Par bruto o neto: el par bruto o neto de este motor fue calculada por el fabricante del motor con arreglo a lo estipulado en el documento J1940 o J2723 de la Society of Automotive Engineers (Sociedad de Ingenieros del Automóvil - SAE). Debido a que el motor está configurado para cumplir los requisitos de seguridad, emisiones y operación, su potencia real en este tipo de cortacésped será significativamente menor. Consulte la información del fabricante del motor incluida con la máquina.
Este producto cumple todas las directivas europeas aplicables; si desea más detalles, consulte la Declaración de Conformidad (Declaration of Conformity - DOC) de cada producto. El par bruto o neto de este motor fue calculada por el fabricante del motor con arreglo a lo estipulado en el documento J1940 o J2723 de la Society of Automotive Engineers (Sociedad de Ingenieros del Automóvil - SAE). Debido a que el motor está configurado para cumplir los requisitos de seguridad, emisiones y operación, su potencia real en este tipo de cortacésped será significativamente menor. Consulte la información del fabricante del motor incluida con la máquina.
El Manual del propietario del motor adjunto ofrece información sobre las normas de la U.S. Environmental Protection Agency (EPA) y de la California Emission Control Regulation sobre sistemas de emisiones, mantenimiento y garantía. Puede solicitarse un manual nuevo al fabricante del motor.
CALIFORNIA
Advertencia de la Propuesta 65
Es sabido por el Estado de California que los gases de escape de los motores diesel y algunos de sus componentes causan cáncer, defectos congénitos y otros peligros para la reproducción.
Los bornes, terminales y otros accesorios de la batería contienen plomo y compuestos de plomo, productos químicos reconocidos por el Estado de California como causantes de cáncer y daños reproductivos. Lávese las manos después de manejar el material.
El uso de este producto puede provocar la exposición a sustancias químicas que el Estado de California considera causantes de cáncer, defectos congénitos u otros trastornos del sistema reproductor.
Este producto es capaz de amputar manos y pies y de lanzar objetos al aire. Siga siempre todas las instrucciones de seguridad con el fin de evitar lesiones personales graves o la muerte.
Lea y comprenda el contenido de este Manual del operador antes de arrancar el motor.
Mantenga alejadas a otras personas y a niños.
No deje que la máquina sea utilizada o mantenida por niños o por personas que no hayan recibido la formación adecuada. Sólo permita que manejen o mantengan la máquina personas responsables, formadas, familiarizadas con las instrucciones y físicamente capaces de utilizar la máquina.
Mantenga siempre la barra antivuelco en la posición de totalmente elevada y bloqueada, y utilice el cinturón de seguridad.
No utilice la máquina cerca de terraplenes, fosas, taludes, agua, u otros peligros, o en pendientes de más de 15°.
No coloque las manos o los pies cerca de los componentes en movimiento de la máquina.
No utilice la máquina sin que estén colocados y funcionen correctamente todos los protectores, interruptores de seguridad y otros dispositivos de protección o seguridad.
Pare el motor, retire la llave y espere a que se detengan todas las piezas en movimiento antes de abandonar el puesto del operador. Deje que se enfríe la máquina antes de hacer trabajos de ajuste, mantenimiento, repostaje, limpieza o almacenamiento.

![]() |
Las pegatinas de seguridad e instrucciones están a la vista del operador y están ubicadas cerca de cualquier zona de peligro potencial. Sustituya cualquier calcomanía que esté dañada o que falte. |


























Familiarícese con todos los controles antes de poner en marcha el motor y trabajar con la máquina.

Consulte la Guía de software si desea información detallada sobre la interfaz del operador que permite acceder a información, reiniciar contadores, modificar la configuración del sistema y solucionar problemas con el equipo.

La pantalla de información muestra información relacionada con la operación de la máquina; consulte la Guía de software si desea más información.
Los botones multifunción están situados en la parte inferior del panel. El icono que aparece en la pantalla de información encima de cada botón indica su función actual. Los botones permiten seleccionar la velocidad del motor y desplazarse por los menús del sistema.
Consulte la Guía de software para obtener más información.
El indicador LED de estado cambia de color para indicar el estado del sistema, y está situado en el lado derecho del panel. Durante el arranque, el LED se enciende primero en rojo, luego en naranja y por último en verde para verificar la funcionalidad.
Verde fijo – indica actividad normal
Rojo intermitente – indica que hay un fallo activo
Verde y naranja intermitente: – indica que es necesario un reinicio del embrague.
Consulte la Guía de software para obtener más información.
Si se produce algún error, se muestra un mensaje de error, el LED cambia a rojo, y suena la alarma audible como se indica a continuación:
Un sonido discontinuo rápido indica la presencia de errores críticos.
Un sonido discontinuo lento indica errores menos importantes, tales como un intervalo de mantenimiento obligatorio.
Note: Durante el arranque, la alarma suena brevemente para verificar su funcionalidad.
Consulte la Guía de software para obtener más información.
El horímetro registra el número de horas de operación de la máquina. Funciona cuando el motor está en marcha. Utilice el recuento de horas para programar el mantenimiento regular (Figura 5).
Las horas se muestran en la pantalla de Apagado del motor o en el menú del Contador de horas del motor.
Consulte la Guía de software para obtener más información.
Utilice el interruptor de encendido para arrancar el motor. Tiene tres posiciones: ARRANQUE, MARCHA y DESCONECTADO.
Note: Los indicadores LCD aparecen cuando cada control reúne las condiciones de "arranque seguro" (por ejemplo, el indicador se enciende cuando el asiento está ocupado).
Note: La UCE del motor controla las bujías durante los arranques en frío. Si la temperatura del refrigerante es demasiado baja, el símbolo de la bujía aparece en el monitor y el motor de arranque no gira cuando se gira la llave a la posición de ARRANQUE. Las bujías se activan en la posición de CONECTADO o ARRANQUE. Cuando la bujía ha estado conectada el tiempo suficiente para la temperatura del refrigerante, el símbolo de la bujía desaparece del monitor y el motor gira cuando se mueve la llave a la posición de ARRANQUE.
El acelerador controla la velocidad del motor, y hay 3 velocidades: Máxima, Eficiente y Baja.
Consulte la Guía de software para obtener más información.
El mando de control de las cuchillas (TDF) engrana y desengrana la transmisión de potencia a las cuchillas del cortacésped (Figura 5).
El indicador LCD aparece en la pantalla de información cuando el mando de la TDF está desengranado.
Note: Las máquinas equipadas con pantalla Horizon cuentan con una función de protección del embrague, que permite reducir automáticamente la velocidad del motor cuando se desengrana el mando de la TDF. Al engranar y desengranar el mando de la TDF, se cambia el ajuste del acelerador del motor entre los modos de SIEGA y TRANSPORTE.
Note: El sistema le permite arrancar la máquina con el mando de la TDF engranado, pero no se engranan las cuchillas. Para engranar la TDF es necesario reiniciar el mando de la TDF, poniéndolo primero en la posición de Desengranado y luego en Engranado.
Important: Debe desplegar las carcasas laterales antes de poder engranar la TDF.
Presione el interruptor hacia atrás para elevar la carcasa central y plegar las carcasas laterales.
Presione el interruptor hacia adelante para bajar la carcasa central y desplegar las carcasas laterales.
Las palancas de control de movimiento se utilizan para conducir la máquina hacia adelante, hacia atrás y girarla en ambos sentidos (Figura 4).
Mueva las palancas de control de movimiento hacia fuera, desde la posición central a la posición de BLOQUEO/PUNTO MUERTO antes de bajarse de la máquina (Figura 24). Ponga siempre las palancas de control de movimiento en posición de BLOQUEO/PUNTO MUERTO cuando pare la máquina o antes de dejarla desatendida.
Cada vez que apaga el motor, ponga el freno de estacionamiento para evitar que la máquina se desplace accidentalmente.
| Anchura de corte | 243.8 cm (96") |
| Anchura total | Anchura de trabajo – 257.3 cm (101-5/16") |
| Anchura de transporte a la altura de corte de 7.6 cm (3") – 184.2 cm (72½") | |
| Longitud total | 247.1 cm (97¼") |
| Altura total | Barra antivuelco elevada –182.4 cm (71-13/16") |
| Barra antivuelco bajada –129.5 cm (51") | |
| Ancho de vía (entre centros de los neumáticos, a lo ancho) | Ruedas motrices – 117 cm (46-1/16") |
| Ruedas giratorias – 120.7 cm (47½") | |
| Distancia entre ejes (centro de la rueda giratoria al centro de la rueda motriz) | 143 cm (56–5/16") |
| Peso total | 1172 kg (2,584 libras) |
Está disponible una selección de aperos y accesorios homologados por Toro que pueden utilizarse con la máquina a fin de potenciar y aumentar sus prestaciones. Póngase en contacto con su Servicio Técnico Autorizado o con su distribuidor autorizado Toro, o visite www.Toro.com para obtener una lista de todos los aperos y accesorios homologados.
Para asegurar un rendimiento óptimo y mantener la certificación de seguridad de la máquina, utilice solamente piezas y accesorios genuinos Toro. Las piezas de repuesto y accesorios de otros fabricantes podrían ser peligrosos, y su uso podría invalidar la garantía del producto.
Note: Los lados derecho e izquierdo de la máquina se determinan desde la posición normal del operador.
No deje que la máquina sea utilizada o mantenida por niños o por personas que no hayan recibido la formación adecuada. La normativa local puede imponer límites sobre la edad del operador. El propietario es responsable de proporcionar formación a todos los operadores y mecánicos.
Inspeccione la zona donde se va a utilizar la máquina, y retire cualquier objeto que pudiera interferir con el funcionamiento de la máquina o que pudiera ser arrojado por la máquina.
Familiarícese con la operación segura del equipo, los controles del operador y las señales de seguridad.
Compruebe que los controles de presencia del operador, los interruptores de seguridad y los protectores están instalados y que funcionan correctamente. No utilice la máquina si no funcionan correctamente.
Pare el motor, retire la llave y espere a que se detengan todas las piezas en movimiento antes de abandonar el puesto del operador. Deje que se enfríe la máquina antes de hacer trabajos de ajuste, mantenimiento, repostaje, limpieza o almacenamiento.
Antes de segar, inspeccione la máquina para asegurarse de que los conjuntos de corte funcionan correctamente.
Evalúe el terreno para determinar cuáles son los equipos y aperos o accesorios apropiados que se requieren para operar la máquina de manera adecuada y segura.
Lleve ropa adecuada, incluyendo guantes, protección ocular, pantalón largo, calzado resistente y antideslizante y protección auricular. Si tiene el pelo largo, recójaselo, y no lleve joyas o prendas sueltas.
No lleve pasajeros en la máquina.
Mantenga a otras personas y a los animales domésticos alejados de la máquina durante el uso. Apague la máquina y los accesorios si alguien entra en la zona.
No utilice la máquina, a menos que estén colocados y funcionen correctamente todos los protectores y dispositivos de seguridad, como por ejemplo los deflectores. Sustituya cualquier pieza desgastada o deteriorada cuando sea necesario.
El combustible es extremadamente inflamable y altamente explosivo. Un incendio o una explosión provocados por el combustible puede causarle quemaduras a usted y a otras personas así como daños materiales.
Para evitar que una carga estática prenda el combustible, retire la máquina del camión o del remolque y repóstela en el suelo, lejos de otros vehículos. Si esto no es posible, coloque un recipiente de combustible portátil en el suelo, lejos de otros vehículos, y llénelo; luego reposte la máquina desde el recipiente de combustible en vez de usar un surtidor o boquilla dosificadora de combustible.
Llene el depósito de combustible en el exterior sobre terreno llano, en una zona abierta y con el motor frío. Limpie cualquier combustible derramado.
No maneje combustible si está fumando, ni cerca de una llama desnuda o chispas.
No retire el tapón de combustible ni añada combustible al depósito si el motor está caliente o en marcha.
Si se derrama combustible, no intente arrancar el motor. Evite crear una fuente de ignición hasta que los vapores del combustible se hayan disipado.
Almacene el combustible en un recipiente homologado y manténgalo fuera del alcance de los niños.
El combustible es dañino o mortal si es ingerido. La exposición a largo plazo a los vapores puede causar lesiones y enfermedades graves.
Evite la respiración prolongada de los vapores.
Mantenga las manos y la cara alejadas de la boquilla y de la abertura del depósito de combustible.
Mantenga el combustible alejado de los ojos y la piel.
No guarde la máquina o un recipiente de combustible en un lugar donde pudiera haber una llama desnuda, chispas o una llama piloto, por ejemplo en un calentador de agua u otro electrodoméstico.
No utilice la máquina a menos que esté instalado un sistema completo de escape en buenas condiciones de funcionamiento.
Mantenga la boquilla en contacto con el borde del depósito de combustible o el orificio del recipiente en todo momento hasta que termine de repostar. No utilice dispositivos que mantengan abierta la boquilla.
Si se derrama combustible sobre su ropa, cámbiese de ropa inmediatamente.
No llene demasiado el depósito de combustible. Vuelva a colocar el tapón de combustible y apriételo firmemente.
Limpie la hierba y los residuos de la unidad de corte, el silenciador, las transmisiones y el compartimento del motor para prevenir incendios. Limpie cualquier aceite o combustible derramado.
El motor funciona con combustible diésel nuevo y limpio con un cetanaje mínimo de 40. Compre el combustible en cantidades que puedan ser consumidas en 30 días para asegurarse de que el combustible es nuevo.
Utilice combustible diésel tipo verano (Nº 2-D) en temperaturas superiores a -7 °C (20 °F), y combustible diésel tipo invierno (Nº 1-D o mezcla de Nº 1-D/2-D) en temperaturas inferiores a -7 °C (20 °F). El uso de combustible diésel tipo invierno a temperaturas inferiores proporciona un punto de ignición y punto de flujo más bajos, lo que facilita el arranque y reduce la posibilidad de separación química del combustible debido a las temperaturas más bajas (aparición de cera, que puede obstruir los filtros).
El uso de combustible diésel tipo verano por encima de los -7 °C (20 °F) contribuye a extender la vida de los componentes de la bomba.
Important: No utilice queroseno o gasolina en lugar de combustible diésel. El incumplimiento de esta precaución dañará el motor.
Esta máquina también puede utilizar una mezcla de combustible biodiésel de hasta B20 (20% biodiésel, 80% petrodiésel). El contenido de azufre de la parte de petrodiésel debe ser ultrabajo.
Tome las siguientes precauciones:
La porción de biodiésel del combustible debe cumplir la especificación ASTM D6751 o EN 14214.
La composición de la mezcla de combustible debe cumplir ASTM D975 o EN 590.
Las superficies pintadas pueden ser dañadas por mezclas de combustible biodiésel.
Utilice B5 (contenido de biodiésel del 5%) o mezclas menores cuando hace frío.
Vigile los retenes, las mangueras y las juntas que estén en contacto con el combustible porque pueden degradarse con el tiempo.
Es previsible la obturación del filtro del combustible durante un tiempo tras pasarse a las mezclas de biodiésel.
Póngase en contacto con su distribuidor si desea más información acerca del biodiésel.
Aparque la máquina en una superficie nivelada.
Ponga el freno de estacionamiento.
Apague el motor y retire la llave.
Limpie alrededor del tapón del depósito de combustible.
Llene el depósito de combustible hasta la parte inferior del cuello de llenado (Figura 7).
Note: No llene completamente el depósito de combustible. El espacio vacío en el depósito permitirá la dilatación de la gasolina.

Cada día, antes de arrancar la máquina, siga los procedimientos marcados como “Cada uso/A diario” en la sección .
Los motores nuevos necesitan tiempo para desarrollar toda su potencia. La fricción generada por las carcasas y los sistemas de propulsión de los cortacéspedes es mayor cuando éstos son nuevos, lo que supone una carga adicional para el motor. Las máquinas nuevas necesitan un periodo de rodaje de 40–50 horas para desarrollar la máxima potencia y el mejor rendimiento.
Para evitar lesiones o la muerte en caso de un vuelco, mantenga la barra antivuelco en posición totalmente elevada y bloqueada, y utilice el cinturón de seguridad.
Asegúrese de que el asiento está sujeto a la máquina.
No hay protección contra vuelcos cuando la barra antivuelco está bajada.
Baje la barra antivuelco únicamente cuando sea imprescindible.
No use el cinturón de seguridad si la barra antivuelco está bajada.
Conduzca lentamente y con cuidado.
Eleve la barra antivuelco tan pronto como haya espacio suficiente.
Compruebe cuidadosamente que hay espacio suficiente antes de conducir por debajo de cualquier objeto en alto (por ejemplo, ramas, portales, cables eléctricos) y no entre en contacto con ellos.
Important: Utilice siempre el cinturón de seguridad cuando la barra antivuelco está en la posición elevada.
Eleve la barra anti-vuelco a la posición de trabajo y gire los pomos hasta que se introduzcan parcialmente en las ranuras (Figura 9).
Eleve la barra antivuelco a la posición vertical, presionando sobre la parte superior de la misma; las clavijas encajarán en cuanto se alineen con los orificios (Figura 9).
Presione sobre la barra para asegurarse de que las clavijas han quedado encajadas (Figura 9).

Si los interruptores de seguridad están desconectados o dañados, la máquina podría ponerse en marcha inesperadamente y causar lesiones personales.
No manipule los interruptores de seguridad.
Compruebe la operación de los interruptores de seguridad cada día, y sustituya cualquier interruptor dañado antes de operar la máquina.
El sistema de interruptores de seguridad ha sido diseñado para impedir que el motor arranque, a menos que:
El freno de estacionamiento esté puesto.
El mando de control de las cuchillas (TDF) está desengranado.
Las palancas de control de movimiento estén en la posición de BLOQUEO/PUNTO MUERTO.
El sistema de interruptores de seguridad también está diseñado para parar el motor cuando se muevan las palancas de control de movimiento desde la posición de BLOQUEO DE PUNTO MUERTO con el freno de estacionamiento puesto, o si usted se levanta del asiento cuando la TDF está engranada.
La pantalla Horizon incluye indicadores que notifican al usuario cuando el componente de seguridad está en la posición correcta. Cuando el componente está en la posición correcta, aparece un indicador en la pantalla.

| Intervalo de mantenimiento y servicio | Procedimiento de mantenimiento |
|---|---|
| Cada vez que se utilice o diariamente |
|
Verifique el sistema de interruptores de seguridad cada vez que vaya a utilizar la máquina. Si el sistema no funciona de la forma que se describe a continuación, póngase en contacto con un Servicio Técnico Autorizado para que lo reparen inmediatamente.
Siéntese en el asiento, ponga el freno de estacionamiento y mueva el mando de control de las cuchillas (TDF) a ENGRANADO. Intente arrancar el motor; el motor no debe arrancar.
Siéntese en el asiento, ponga el freno de estacionamiento y mueva el mando de control de las cuchillas (TDF) a DESENGRANADO. Mueva cualquiera de las palancas de control de movimiento fuera de la posición de BLOQUEO/PUNTO MUERTO. Intente arrancar el motor; el motor no debe arrancar. Repita con la otra palanca de control.
Siéntese en el asiento, ponga el freno de estacionamiento, mueva el mando de control de las cuchillas (TDF) a DESENGRANADO y mueva las palancas de control de movimiento a la posición de BLOQUEO/PUNTO MUERTO. Ahora arranque el motor. Con el motor en marcha, quite el freno de estacionamiento, engrane el mando de control de las cuchillas (TDF) y levántese un poco del asiento; el motor debe pararse.
Siéntese en el asiento, ponga el freno de estacionamiento, mueva el mando de control de las cuchillas (TDF) a DESENGRANADO y mueva las palancas de control de movimiento a la posición de BLOQUEO/PUNTO MUERTO. Ahora arranque el motor. Con el motor en marcha, ponga cualquiera de las palancas de control de movimiento en posición central y muévala (hacia adelante o hacia atrás); el motor debe pararse. Repita con la otra palanca de control.
Siéntese en el asiento, quite el freno de estacionamiento, mueva el mando de control de las cuchillas (TDF) a DESENGRANADO y mueva las palancas de control de movimiento a la posición de BLOQUEO/PUNTO MUERTO. Intente arrancar el motor; el motor no debe arrancar.
El asiento puede moverse hacia adelante y hacia atrás. Coloque el asiento en la posición que le permita controlar mejor la máquina y en la que esté más cómodo (Figura 11).

Para desenganchar el asiento, mueva el enganche del asiento hacia adelante (Figura 12).

El asiento puede ajustarse para que la conducción sea más suave y cómoda. Coloque el asiento en la posición más cómoda para usted.
Para ajustarlo, gire el pomo situado en la parte delantera en cualquier sentido hasta encontrar la posición más cómoda (Figura 13).

El propietario/operador puede prevenir y es responsable de cualquier accidente que pueda provocar lesiones personales o daños materiales.
Dedique toda su atención al manejo de la máquina. No realice ninguna actividad que pudiera distraerle; de lo contrario, pueden producirse lesiones o daños materiales.
No utilice la máquina si está enfermo, cansado, o bajo la influencia de alcohol o drogas.
El contacto con la cuchilla puede causar lesiones personales graves. Pare el motor, retire la llave y espere a que se detengan todas las piezas en movimiento antes de abandonar el puesto del operador. Cuando gire la llave a la posición de DESCONECTADO, el motor debe apagarse y la cuchilla debe detenerse. Si no, deje de usar la máquina inmediatamente y póngase en contacto con un Servicio Técnico Autorizado.
Utilice la máquina solo en buenas condiciones de visibilidad y bajo condiciones meteorológicas apropiadas. No haga funcionar la máquina cuando hay riesgo de tormentas eléctricas.
Mantenga las manos y los pies alejados de las unidades de corte. Manténgase alejado del orificio de descarga.
No corte el césped en marcha atrás a menos que sea absolutamente necesario. Mire siempre hacia abajo y detrás de usted antes de conducir la máquina en marcha atrás.
Extreme la precaución al acercarse a esquinas ciegas, arbustos, árboles u otros objetos que puedan bloquear su visión.
Pare las cuchillas siempre que no esté segando.
Si la máquina golpea un objeto o empieza a vibrar, apague inmediatamente el motor, retire la llave (en su caso), espere a que se detengan todas las piezas en movimiento antes de examinar la máquina en busca de daños. Haga todas las reparaciones necesarias antes de volver a utilizar la máquina.
Vaya más despacio y tenga cuidado al girar y al cruzar calles y aceras con la máquina. Ceda el paso siempre.
Antes de abandonar la posición del operador, haga lo siguiente:
Aparque la máquina en una superficie nivelada.
Desengrane la TDF y baje los accesorios.
Ponga el freno de estacionamiento.
Apague el motor y retire la llave.
Espere a que se detengan todas las piezas en movimiento.
Haga funcionar el motor únicamente en zonas bien ventiladas. Los gases de escape contienen monóxido de carbono, que es letal si se inhala.
No deje nunca desatendida la máquina si está funcionando.
Conecte los equipos remolcados a la máquina únicamente en el punto de enganche.
No utilice la máquina, a menos que estén colocados y funcionen correctamente todos los protectores y dispositivos de seguridad, como por ejemplo los deflectores. Sustituya cualquier pieza desgastada o deteriorada cuando sea necesario.
Utilice solamente accesorios y aperos homologados por Toro.
Esta máquina produce niveles sonoros que superan los 85 dBA en el oído del operador, y pueden causar pérdidas auditivas con períodos extendidos de exposición.

Limpie la hierba y los residuos de la unidad de corte, las transmisiones, el silenciador y el motor para prevenir incendios.
Arranque el motor con los pies bien alejados de las cuchillas.
Esté pendiente del sentido de descarga del cortacésped y no oriente la descarga hacia nadie. Evite descargar material contra una pared u otra obstrucción, porque el material podría rebotar hacia usted.
Pare las cuchillas, reduzca la velocidad de la máquina y extreme las precauciones al cruzar superficies que no sean de hierba o al transportar la máquina a y desde la zona de trabajo.
No cambie la velocidad del regulador del motor ni haga funcionar el motor a una velocidad excesiva.
A menudo los niños se sienten atraídos por la máquina y la actividad de segar. No suponga nunca que los niños van a permanecer en el último lugar en que los vio.
Mantenga a los niños alejados de la zona de trabajo y bajo la atenta mirada de un adulto responsable que no sea el operador.
Esté alerta y apague la máquina si entran niños en la zona de trabajo.
Antes de conducir en marcha atrás o girar la máquina, mire hacia abajo y hacia atrás para asegurarse de que no hay niños pequeños presentes.
No lleve niños en la máquina, incluso cuando las cuchillas no están en movimiento. Los niños podrían caerse y sufrir lesiones graves, o podrían impedir que usted maneje la máquina con seguridad. Cualquier niño que haya sido transportado en el pasado podría aparecer sin aviso en la zona de trabajo, y podría ser arrollado por la máquina, incluso en marcha atrás.
El ROPS es un dispositivo de seguridad integrado y eficaz. No retire ni modifique el ROPS.
No hay protección contra vuelcos cuando la barra antivuelco está bajada.
Mantenga la barra antivuelco en la posición de totalmente elevada y bloqueada, y lleve el cinturón de seguridad siempre que la barra antivuelco esté elevada.
Asegúrese de que el cinturón de seguridad puede ser desabrochado rápidamente en caso de emergencia.
Baje la barra antivuelco únicamente cuando sea imprescindible. No lleve el cinturón de seguridad cuando la barra antivuelco está bajada.
Eleve la barra antivuelco tan pronto como haya espacio suficiente.
Si una rueda pasa por un borde, una zanja o una orilla empinada, o entra en el agua, puede causar un vuelco, que puede dar lugar a lesiones graves o la muerte.
Compruebe cuidadosamente que hay espacio suficiente antes de conducir por debajo de cualquier objeto y no entre en contacto con ellos.
En caso de un vuelco, lleve la máquina a un Servicio Técnico Autorizado para que inspeccione el ROPS.
Si algún componente del ROPS está dañado, sustitúyalo. No lo repare ni lo cambie.
Utilice solamente accesorios y aperos instalados en el ROPS que hayan sido homologados por Toro.
Las pendientes son una de las principales causas de accidentes por pérdida de control y vuelcos, que pueden causar lesiones graves o la muerte. El operador es responsable de la seguridad cuando trabaja en pendientes. El uso de la máquina en cualquier pendiente exige un cuidado especial. Antes de usar la máquina en una pendiente, haga lo siguiente:
Lea y comprenda las instrucciones sobre pendientes del manual y las que están colocadas en la máquina.
Utilice un indicador de ángulo para determinar la inclinación aproximada de la zona.
No utilice la máquina nunca en pendientes de más de 15°.
Evalúe las condiciones del lugar de trabajo para determinar si es seguro trabajar en la pendiente con la máquina. Utilice el sentido común y el buen juicio al realizar este evaluación. Cualquier cambio que se produzca en el terreno, como por ejemplo un cambio de humedad, puede afectar rápidamente al uso de la máquina en una pendiente.
Identifique cualquier obstáculo situado en la base de la pendiente. No utilice la máquina cerca de terraplenes, fosas, taludes, agua, u otros peligros. La máquina podría volcar repentinamente si una rueda pasa por el borde de un terraplén o fosa, o si se socava un talud. Mantenga una distancia prudente (el doble de la anchura de la máquina) entre la máquina y cualquier obstáculo. Utilice una máquina dirigida o una desbrozadora manual para segar la hierba en estas zonas.
Evite arrancar, parar o girar la máquina en cuestas o pendientes. Evite hacer cambios bruscos de velocidad o de dirección; gire poco a poco, y a baja velocidad.
No utilice la máquina en condiciones que puedan comprometer la tracción, la dirección o la estabilidad de la máquina. Tenga en cuenta que conducir en hierba mojada, atravesar pendientes empinadas, o bajar cuestas puede hacer que la máquina pierda tracción. La transferencia de peso a las ruedas delanteras puede hacer que patine la máquina, con pérdida de frenado y de control de dirección. La máquina puede deslizarse incluso con las ruedas motrices inmovilizadas.
Retire o señale cualquier obstáculo, como zanjas, baches, surcos, montículos, rocas u otros peligros ocultos. La hierba alta puede ocultar obstáculos. Un terreno irregular puede hacer que la máquina vuelque.
Extreme las precauciones al trabajar con accesorios o aperos. Éstos pueden afectar a la estabilidad de la máquina y causar pérdidas de control. Siga las instrucciones sobre los contrapesos.
Si es posible, mantenga la carcasa bajada al suelo mientras trabaje en pendientes. La elevación de la carcasa mientras se trabaja en pendientes puede hacer que la máquina pierda estabilidad.

Ponga siempre el freno de estacionamiento cuando pare la máquina o cuando la deje desatendida.
Aparque la máquina en una superficie nivelada.


Important: Debe desplegar las carcasas laterales antes de poder engranar la TDF.
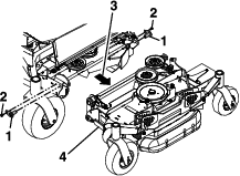
Retire el pasador y la chaveta que sujetan cada carcasa lateral en posición vertical y colóquelas en la posición de almacenamiento (Figura 18).

Asegúrese de que no hay nadie en las proximidades de las carcasas laterales.
Mantenga pulsada la parte inferior del interruptor de elevación de la carcasa; la carcasa central baja primero, luego las carcasas laterales.
El mando de control de las cuchillas (TDF) arranca y detiene las cuchillas del cortacésped y cualquier accesorio conectado.
Note: El uso del mando de control de las cuchillas (TDF) con el acelerador en la posición intermedia o menos producirá un desgaste excesivo en las correas de transmisión.


Important: No haga funcionar el motor de arranque durante más de 5 segundos seguidos. Si el motor no arranca, espere 15 segundos entre intentos. Si no se siguen estas instrucciones, puede quemarse el motor de arranque.
Note: Es posible que necesite realizar varios intentos para arrancar el motor por primera vez después de haber agregado combustible en un sistema de combustible vacío.

Los niños u otras personas podrían resultar lesionados si mueven o intentan operar la máquina mientras está desatendida.
Retire siempre la llave y ponga el freno de estacionamiento cuando deje la máquina sin supervisión.
Espere hasta que el símbolo de tiempo recomendado de enfriamiento del motor (Figura 22, D) desaparezca de la pantalla antes de apagar el motor.

Asegúrese de que no hay nadie en las proximidades de las carcasas laterales.
Mantenga pulsada la parte inferior del interruptor de elevación de la carcasa; la carcasa central baja primero, luego las carcasas laterales.
Aparque la máquina en una superficie nivelada, desengrane el mando de control de las cuchillas y ponga el freno de estacionamiento.
Pare el motor, retire la llave y espere a que se detengan todas las piezas en movimiento antes de abandonar el puesto del operador.
Retire el pasador y la chaveta del lugar de almacenamiento y fije cada carcasa lateral en posición vertical (Figura 23).


Las ruedas motrices giran de manera independiente, impulsadas por motores hidráulicos en cada eje. Un lado puede girar hacia atrás mientras el otro lado gira hacia adelante, haciendo que la máquina rote sobre su eje en lugar de trazar una curva. Esto mejora mucho la maniobrabilidad de la máquina, pero puede ser necesario un periodo de adaptación si no está familiarizado con este sistema.
El control del acelerador regula la velocidad del motor en rpm (revoluciones por minuto). Ponga el acelerador en posición RáPIDO para conseguir el mejor rendimiento. Siegue siempre con el acelerador en posición rápido.
La máquina puede girar muy rápidamente. Usted puede perder el control de la máquina y causar lesiones personales o daños a la máquina.
Extreme las precauciones al girar.
Reduzca la velocidad de la máquina antes de hacer giros cerrados.
Note: El motor se para si usted mueve el control de tracción con el freno de estacionamiento puesto.
Para detener la máquina, tire de las palancas de control de movimiento a la posición de PUNTO MUERTO.
Quite el freno de estacionamiento.
Mueva las palancas de control de movimiento a la posición central desbloqueada.
Para ir hacia adelante, empuje lentamente las palancas de control de movimiento hacia adelante (Figura 25).

Mueva las palancas de control de movimiento a la posición central desbloqueada.
Para ir hacia atrás, tire lentamente de las palancas de control de movimiento hacia atrás (Figura 26).

La altura de corte de la carcasa de corte puede ajustarse de 2.54 cm a 14 cm (1" a 5½") en incrementos de 6.4 mm (¼").
Aparque la máquina en una superficie nivelada, desengrane el mando de control de las cuchillas y ponga el freno de estacionamiento.
Presione la parte superior del interruptor de elevación de la carcasa para elevar la carcasa central y las carcasas laterales.
Pare el motor, retire la llave y espere a que se detengan todas las piezas en movimiento antes de abandonar el puesto del operador.
Ajuste la carcasa central mediante el procedimiento siguiente:
Retire el pasador de altura de corte de la placa de elevación de la carcasa, en el lado derecho de la carcasa central.
Introduzca el pasador de altura de corte en el taladro que corresponde a la altura de corte deseada.
Consulte las alturas de corte en la pegatina situada en la placa de ajuste de altura.
Para ajustar las carcasas laterales, realice el procedimiento siguiente:
Asegúrese de que las carcasas laterales están bloqueadas en su sitio.
Abra los bloqueos de leva situados en el canal de altura de corte de la carcasa lateral (Figura 27).

Retire el pasador de seguridad del pasador de altura de corte en los canales delantero y trasero.
Mueva la carcasa lateral a la altura deseada e instale los pasadores de ajuste de la altura de corte y los pasadores de seguridad (Figura 27).
Cierre el bloqueo de leva.
Repita este procedimiento en la otra carcasa lateral.
Si desea variar el intervalo de alturas de corte, ajuste las ruedas de ajuste delantera y trasera de la carcasa lateral como se indica a continuación:
Retire las fijaciones de montaje de la rueda de ajuste.
Coloque las ruedas de ajuste delantera y trasera en los taladros correspondientes (consulte la tabla siguiente, y la Figura 28) e instale las fijaciones de montaje.
| Posición de los taladros | Intervalo de alturas de corte |
| Taladro superior (-1 en la pegatina) | 25 a 89 mm (1 a 3½") |
| Taladro central (0 en la pegatina) | 51 a 114 mm (2 a 4½") |
| Taladro inferior (+1 en la pegatina) | 76 a 140 mm (3 a 5½") |

Repita este procedimiento en la otra carcasa lateral.
Para obtener la máxima flotación de la carcasa, instale los rodillos en el taladro inmediatamente inferior. Los rodillos deben mantener una altura sobre el suelo de 6 mm (¼"). No ajuste los rodillos para que aguanten el peso de la carcasa.
Aparque la máquina en una superficie nivelada.
Desengrane el mando de control de las cuchillas (TDF), ponga las palancas de control de movimiento en posición de BLOQUEO/PUNTO MUERTO, y ponga el freno de estacionamiento.
Pare el motor, retire la llave y espere a que se detengan todas las piezas en movimiento antes de abandonar el puesto del operador.
Después de ajustar la altura de corte, ajuste los rodillos protectores del césped retirando las fijaciones de montaje (Figura 29).

Coloque los rodillos en una de las posiciones ilustradas en la Figura 30.
Note: Los rodillos mantendrán un espacio de 19 mm (¾") entre la máquina y el suelo para minimizar daños en el césped y desgaste o daño en los rodillos. Para alturas de corte de más de 90 mm (3½"), utilice el taladro inferior. Los rodillos siguen siendo eficaces como protección del césped.

Apriete la contratuerca (⅜") a 41-47 N·m (30-35 pies-libra), como se muestra en la Figura 29.
Note: En la carcasa de 244 cm (96") hay 13 posiciones para el rodillo protector del césped (Figura 31).

Monte los patines en la posición inferior con alturas de corte de más de 51 mm (2"), y en la posición superior con alturas de corte de menos de 51 mm (2").
Ajuste los patines como se muestra en la Figura 32.

Si el motor se sobrecalienta, la TDF se desengrana, suena una alarma, y un gráfico de barras muestra la temperatura del motor. Para poder engranar la TDF, el motor debe enfriarse y usted debe parar manualmente la TDF y volver a engranarla.
Note: Si el nivel de refrigerante del motor está por debajo de la línea indicadora del depósito de expansión con el motor frío, el indicador de la temperatura del refrigerante puede no registrar correctamente la temperatura con el motor en marcha, y/o la alarma sonora puede no sonar si el motor se sobrecalienta.
Para aumentar al máximo la calidad de corte y la circulación de aire, trabaje con el motor en la posición de RáPIDO. Se requiere aire para cortar bien la hierba, así que no ponga la altura de corte tan baja como para rodear totalmente la carcasa de corte de hierba sin cortar. Trate siempre de tener un lado de la carcasa de corte libre de hierba sin cortar, para permitir la entrada de aire en la carcasa.
Corte la hierba algo más larga de lo habitual para asegurar que la altura de corte de la carcasa de corte no deje “calvas” en terrenos desiguales. Sin embargo, la altura de corte utilizada habitualmente suele ser la mejor. Si la hierba tiene más de 15 cm (6") de alto, es preferible cortar el césped dos veces para asegurar una calidad de corte aceptable.
Es mejor cortar solamente un tercio aproximadamente de la hoja de hierba. No se recomienda cortar más, a menos que la hierba sea escasa o al final del otoño, cuando la hierba crece más despacio.
Alterne la dirección de corte para mantener la hierba erguida. De esta forma también se ayuda a dispersar mejor los recortes sobre el césped y se conseguirá una mejor descomposición y fertilización.
La hierba crece a velocidades diferentes en diferentes épocas del año. Para mantener la misma altura de corte, corte el césped con más frecuencia durante la primavera. A medida que avanza el verano, la velocidad de crecimiento de la hierba decrece, por ello debe cortarse con menor frecuencia. Si no puede segar durante un período de tiempo prolongado, siegue primero con una altura de corte alta y, después de dos días, vuelva a segar con un ajuste más bajo.
Para mejorar la calidad de corte, utilice una velocidad de avance más baja en determinadas condiciones.
Al cortar césped de altura irregular, eleve la altura de corte para evitar arrancar el césped.
Si es necesario detener el avance de la máquina mientras se corta el césped, es posible que caiga un montón de recortes sobre el césped. Para evitar esto, diríjase con las cuchillas engranadas a una zona del césped que ya haya sido segada, o desengrane la carcasa de corte al desplazarse hacia adelante.
Limpie los recortes y la suciedad de los bajos de la carcasa de corte después de cada uso. Si se acumulan hierba y suciedad en el interior de la carcasa de corte, la calidad del corte llegará a ser insatisfactoria.
Mantenga las cuchillas afiladas durante toda la temporada de corte, ya que una cuchilla afilada corta limpiamente y sin rasgar o deshilachar las hojas de hierba. Si se rasgan o se deshilachan, los bordes de las hojas se secarán, lo cual retardará su crecimiento y favorecerá la aparición de enfermedades. Compruebe después de cada uso que las cuchillas están bien afiladas y que no están desgastadas o dañadas. Elimine cualquier mella con una lima, y afile las cuchillas si es necesario. Si una cuchilla está desgastada o deteriorada, sustitúyala inmediatamente por una cuchilla nueva genuina Toro.
Ponga el freno de estacionamiento, apague el motor, retire la llave y espere a que se detengan todas las piezas en movimiento antes de abandonar el puesto del operador. Deje que se enfríe la máquina antes de hacer trabajos de ajuste, mantenimiento, repostaje, limpieza o almacenamiento.
Limpie la hierba y los residuos de la unidad de corte, el silenciador, las transmisiones y el compartimento del motor para prevenir incendios. Limpie cualquier aceite o combustible derramado.
Cierre el combustible y retire la llave antes de almacenar o transportar la máquina.
Las manos pueden enredarse en los componentes giratorios de la transmisión, debajo de la carcasa del motor, lo que podría dar lugar a lesiones graves.
Pare el motor, retire la llave y espere a que se detengan todas las piezas móviles antes de acceder a las válvulas de liberación de las ruedas motrices.
El motor y las transmisiones hidráulicas pueden alcanzar temperaturas muy altas. El contacto con un motor caliente o una transmisión hidráulica caliente puede causar quemaduras graves.
Deje que se enfríen totalmente el motor y las transmisiones hidráulicas antes de acceder a las válvulas de liberación de las ruedas motrices.
La máquina podría desplazarse accidentalmente mientras las palancas de derivación están bloqueadas hacia adelante en la ranura, y causar lesiones a usted o a otras personas.
Bloquee las palancas de desvío hacia atrás después de mover la máquina.
Aparque la máquina en una superficie nivelada, desengrane el mando de control de las cuchillas y ponga el freno de estacionamiento.
Pare el motor, retire la llave y espere a que se detengan todas las piezas en movimiento antes de abandonar el puesto del operador.
Las válvulas de desvío de las ruedas motrices se utilizan para liberar el sistema de transmisión hidrostática, lo que le permite empujar la máquina sin poner en marcha el motor.
Gire las válvulas de desvío una vuelta en sentido antihorario para liberar el sistema; gire las válvulas de desvío en sentido horario para restablecer el sistema (Figura 33).
Important: No apriete demasiado. No remolque la máquina.

Utilice un remolque para cargas pesadas o un camión para transportar la máquina. Utilice una rampa de ancho completo. Asegúrese de que el remolque o el camión tenga todos los frenos y todas las luces y señalizaciones requeridos por la ley. Por favor, lea cuidadosamente todas las instrucciones de seguridad. El conocer esta información puede ayudar a evitarle lesiones a usted o a otras personas. Consulte en la normativa local los requisitos aplicables al remolque y al sistema de amarre.
Conducir en una calle o carretera sin señales de giro, luces, marcas reflectantes o un indicador de vehículo lento es peligroso y puede ser causa de accidentes que pueden provocar lesiones personales.
No conduzca la máquina en una calle o carretera pública.
El cargar la máquina en un remolque o un camión aumenta la posibilidad de un vuelco y podría causar lesiones graves o la muerte (Figura 34).
Utilice únicamente una rampa de ancho completo; no utilice rampas individuales para cada lado de la máquina.
No supere un ángulo de 15 grados entre la rampa y el suelo, o entre la rampa y el remolque o camión.
Asegúrese de que la rampa tiene una longitud de al menos cuatro veces la altura de la plataforma del remolque o del camión sobre el suelo. De esta forma se asegura que el ángulo de la rampa no supere los 15 grados en terreno llano.

El cargar la máquina en un remolque o un camión aumenta la posibilidad de un vuelco y podría causar lesiones graves o la muerte.
Extreme las precauciones al hacer funcionar la máquina en una rampa.
Suba la máquina por la rampa en marcha atrás y baje la máquina por la rampa conduciendo hacia adelante.
Evite acelerar o desacelerar bruscamente al conducir la máquina en una rampa, porque esto podría provocar un vuelco o una pérdida de control.
Si utiliza un remolque, conéctelo al vehículo que lo arrastra y conecte las cadenas de seguridad.
En su caso, conecte los frenos y las luces del remolque.
Baje la rampa, asegurándose de que el ángulo entre la rampa y el suelo no supera los 15 grados (Figura 34).
Suba la máquina por la rampa en marcha atrás (Figura 35).

Apague el motor, retire la llave y ponga el freno de estacionamiento.
Amarre la máquina junto a las ruedas giratorias delanteras y el bastidor trasero con correas, cadenas, cables o cuerdas (Figura 36). Consulte la normativa local respecto a los requisitos de amarre.

Si deja la llave en el interruptor, alguien podría arrancar el motor accidentalmente y causar lesiones graves a usted o a otras personas. Retire la llave del interruptor de encendido antes de realizar cualquier operación de mantenimiento.
Antes de abandonar el puesto del operador, haga lo siguiente:
Aparque la máquina en una superficie nivelada.
Desengrane las transmisiones.
Ponga el freno de estacionamiento.
Apague el motor y retire la llave.
Deje que los componentes de la máquina se enfríen antes de realizar tareas de mantenimiento.
No permita que personas que no hayan recibido formación realicen mantenimiento en la máquina.
Mantenga las manos y los pies alejados de las piezas en movimiento y las superficies calientes. Si es posible, no haga ajustes mientras el motor está funcionando.
Alivie con cuidado la tensión de aquellos componentes que tengan energía almacenada.
Compruebe frecuentemente el funcionamiento del freno de estacionamiento. Ajústelo y realice el mantenimiento cuando sea necesario.
No manipule nunca los dispositivos de seguridad. Compruebe regularmente que funcionan correctamente.
Limpie la hierba y los residuos de la unidad de corte, el silenciador, las transmisiones y el compartimento del motor para prevenir incendios.
Limpie cualquier derrame de aceite o combustible y retire cualquier residuo empapado en combustible.
No confíe en gatos hidráulicos o mecánicos para apoyar la máquina; apoye la máquina sobre gatos fijos cada vez que eleve la máquina.
Mantenga todas las piezas en buenas condiciones de uso y todas las fijaciones bien apretadas, especialmente las fijaciones de las cuchillas. Sustituya cualquier pegatina que esté desgastada o deteriorada.
Desconecte el cable del borne negativo de la batería antes de reparar la máquina.
Para asegurar un rendimiento óptimo, utilice únicamente piezas y accesorios genuinos de Toro. Las piezas de repuesto y accesorios de otros fabricantes podrían ser peligrosos, y su uso podría invalidar la garantía del producto.
| Intervalo de mantenimiento y servicio | Procedimiento de mantenimiento |
|---|---|
| Después de las primeras 100 horas |
|
| Después de las primeras 200 horas |
|
| Cada vez que se utilice o diariamente |
|
| Cada 50 horas |
|
| Cada 100 horas |
|
| Cada 200 horas |
|
| Cada 400 horas |
|
| Cada 800 horas |
|
| Cada 2000 horas |
|
| Cada mes |
|
| Cada año |
|
Important: Consulte los demás procedimientos de mantenimiento del manual del propietario del motor.
Si deja la llave en el interruptor, alguien podría arrancar el motor accidentalmente y causar lesiones graves a usted o a otras personas.
Apague el motor y retire la llave del interruptor antes de realizar cualquier operación de mantenimiento.
| Intervalo de mantenimiento y servicio | Procedimiento de mantenimiento |
|---|---|
| Cada 400 horas |
|
| Cada año |
|
Engrase con más frecuencia si la zona de trabajo tiene mucho polvo o arena.
Tipo de grasa: Grasa de litio Nº 2 o grasa de molibdeno
Aparque la máquina en una superficie nivelada, desengrane el mando de control de las cuchillas y ponga el freno de estacionamiento.
Pare el motor, retire la llave y espere a que se detengan todas las piezas en movimiento antes de abandonar el puesto del operador.
Limpie con un trapo los puntos de engrase.
Note: Asegúrese de rascar cualquier pintura de la parte delantera de los acoplamientos.
Conecte una pistola de engrasar al punto de engrase.
Bombee grasa hasta que empiece a rezumar grasa de los cojinetes.
Limpie cualquier exceso de grasa.
Consulte en la tabla siguiente los lugares y el calendario de lubricación.
| Tabla de lubricación: | |||
|---|---|---|---|
| Ubicación de los engrasadores | Bombas | Cantidad de lugares | Intervalo de mantenimiento |
| 1. TDF de la transmisión de la carcasa | 1 | 3 | Cada 50 horas |
| 2. Pivotes del tensor de la carcasa | 1 | 1 | Cada 400 horas o cada año |
| 3. Cojinetes de las ruedas giratorias | 0 | 2 | Cada año |
| 4. Pivotes de las ruedas giratorias | 0 | 2 | Cada 400 horas o cada año |
![]() |
| Intervalo de mantenimiento y servicio | Procedimiento de mantenimiento |
|---|---|
| Cada 50 horas |
|
Note: Para facilitar el acceso a las juntas cardán de la transmisión y a la junta deslizante acanalada, retire la chapa de suelo y baje del todo la carcasa de corte.
Aparque la máquina en una superficie nivelada, desengrane el mando de control de las cuchillas y ponga el freno de estacionamiento.
Pare el motor, retire la llave y espere a que se detengan todas las piezas en movimiento antes de abandonar el puesto del operador.
Limpie con un trapo los puntos de engrase.
Conecte una pistola de engrasar al punto de engrase.
Bombee grasa hasta que empiece a rezumar grasa de los cojinetes.
Limpie cualquier exceso de grasa.

| Intervalo de mantenimiento y servicio | Procedimiento de mantenimiento |
|---|---|
| Cada 100 horas |
|
Utilice aceite ligero o lubricante en spray para lubricar los pivotes de elevación de la carcasa.

| Intervalo de mantenimiento y servicio | Procedimiento de mantenimiento |
|---|---|
| Cada 200 horas |
|
| Cada año |
|
Aparque la máquina en una superficie nivelada, desengrane el mando de control de las cuchillas y ponga el freno de estacionamiento.
Pare el motor, retire la llave y espere a que se detengan todas las piezas en movimiento antes de abandonar el puesto del operador.
Retire el tapón guardapolvo y ajuste los pivotes de las ruedas; no coloque el tapón guardapolvo hasta que termine de engrasar; consulte Engrasado de la máquina.
Retire el tapón hexagonal.
Enrosque un engrasador en el orificio.
Bombee grasa en el engrasador hasta que rezume por el cojinete superior.
Retire el engrasador del orificio. Vuelva a colocar el tapón hexagonal y la tapa.
| Intervalo de mantenimiento y servicio | Procedimiento de mantenimiento |
|---|---|
| Cada año |
|
Aparque la máquina en una superficie nivelada, desengrane el mando de control de las cuchillas y ponga el freno de estacionamiento.
Pare el motor, retire la llave y espere a que se detengan todas las piezas en movimiento antes de abandonar el puesto del operador.
Eleve el cortacésped para facilitar el acceso.
Retire la rueda giratoria de la horquilla.
Retire los protectores de los retenes del cubo de la rueda.

Retire una tuerca espaciadora del eje de la rueda giratoria.
Note: Las tuercas espaciadoras llevan fijador de roscas para pegarlas al eje.
Retire el eje (con la otra tuerca espaciadora aún montada en el mismo) del conjunto de la rueda.
Retire los retenes haciendo palanca, e inspeccione los cojinetes en busca de señales de desgaste o daños; sustitúyalos si es necesario.
Llene los cojinetes con grasa de propósito general.
Introduzca un cojinete y un retén nuevo en la rueda.
Si en el conjunto del eje faltan ambas tuercas espaciadoras, aplique un fijador de roscas a una tuerca espaciadora y enrósquela en el eje con los segmentos planos hacia fuera.
Note: No enrosque la tuerca espaciadora completamente en el extremo del eje. Deje un espacio de 3 mm (⅛") aproximadamente entre la superficie exterior de la tuerca espaciadora y el extremo del eje, dentro de la tuerca).
Introduzca el eje con la tuerca montada en la rueda, en el lado que contiene el retén nuevo y el cojinete.
Con la cara abierta de la rueda hacia arriba, llene el interior de la rueda alrededor del eje con grasa de propósito general.
Introduzca el segundo cojinete y un retén nuevo en la rueda.
Aplique fijador de roscas a la segunda tuerca espaciadora y enrósquela en el eje con los segmentos planos hacia fuera.
Apriete la tuerca a 8–9 N·m (75–80 pulgadas-libra), aflójela, luego apriétela a 2–3 N·m (20–25 pulgadas-libra).
Note: Asegúrese de que el eje no sobresale de ninguna de las tuercas.
Instale los protectores de los retenes sobre el cubo de la rueda e introduzca la rueda en la horquilla.
Instale el perno de la rueda y apriete la tuerca del todo.
Important: Para evitar que se dañen el cojinete y el retén, compruebe el ajuste del cojinete a menudo. Gire la rueda. La rueda no debe girar libremente (más de 1–2 vueltas), ni tener holgura lateral. Si la rueda gira libremente, ajuste el apriete de la tuerca espaciadora hasta que quede ligeramente frenada. Aplique otra capa de fijador de roscas.
Mantenga las manos, los pies, la cara, otras partes del cuerpo y la ropa alejados del silenciador y de otras superficies calientes. Deje que se enfríen los componentes del motor antes de realizar cualquier tarea de mantenimiento.
No cambie la velocidad del regulador del motor ni haga funcionar el motor a una velocidad excesiva.
| Intervalo de mantenimiento y servicio | Procedimiento de mantenimiento |
|---|---|
| Cada 400 horas |
|
Aparque la máquina en una superficie nivelada, desengrane el mando de control de las cuchillas (TDF) y ponga el freno de estacionamiento.
Pare el motor, retire la llave y espere a que se detengan todas las piezas en movimiento antes de abandonar el puesto del operador.
Inspeccione la carcasa del limpiador de aire en busca de daños que pudieran causar una fuga de aire.
Cambie la carcasa del limpiador de aire si está dañada.
Compruebe el sistema de admisión de aire en busca de fugas, daños o abrazaderas sueltas.
Revise el filtro del limpiador de aire y el elemento de seguridad si aparece un aviso (Figura 40).
Important: No limpie con demasiada frecuencia el filtro de aire.

Asegúrese de que la tapa está bien asentada y que hace un buen sello con la carcasa del limpiador de aire.
Note: Si la junta de gomaespuma de la cubierta está dañada, reemplácela.
Important: Evite utilizar aire a alta presión, que podría empujar la suciedad a través del filtro al conducto de admisión.
Important: No limpie el filtro usado a fin de evitar daños al medio filtrante.
Important: No utilice un filtro dañado.
Important: No aplique presión al centro flexible del filtro.

| Intervalo de mantenimiento y servicio | Procedimiento de mantenimiento |
|---|---|
| Después de las primeras 200 horas |
|
| Cada vez que se utilice o diariamente |
|
| Cada 200 horas |
|
| Cada 400 horas |
|
| Cada año |
|
El motor se suministra con aceite en el cárter; no obstante, compruebe el nivel de aceite antes y después de arrancar el motor por primera vez. Compruebe el nivel de aceite antes de cada jornada de trabajo o cada vez que utilice la máquina.
Capacidad del cárter: 6.6 litros (7 cuartos US) con el filtro.
Aceite de motor preferido: Aceite de motor Toro Premium
Si utiliza un aceite alternativo, utilice un aceite de motor de alta calidad bajo en cenizas que cumpla o supere las especificaciones siguientes:
Categoría de servicio API: CJ-4 o superior
Categoría de servicio ACEA: E6
Categoría de servicio JASO: DH-2
Important: El uso de un aceite de motor que no tenga la clasificación API CJ-4 o superior, ACEA E6 o JASO DH-2 puede hacer que el filtro de partículas diésel se obture o puede provocar daños en el motor.
Use el siguiente grado de viscosidad del aceite del motor:
SAE10W-30 o 5W-30 (todas las temperaturas)
SAE 15W-40 (por encima de los 0 °F (-18 °C))
Note: Su Distribuidor Toro dispone de aceite de motor Toro Premium. Consulte el Catálogo de piezas o póngase en contacto con un distribuidor autorizado Toro para obtener los números de pieza.
Aparque la máquina en una superficie nivelada, desengrane el mando de control de las cuchillas (TDF) y ponga el freno de estacionamiento.
Pare el motor, retire la llave y espere a que se detengan todas las piezas en movimiento antes de abandonar el puesto del operador.
Abra el capó.
Compruebe el nivel de aceite del motor, según se muestra en Figura 42.

Si es posible, haga funcionar el motor justo antes de cambiar el aceite, porque el aceite templado fluye mejor y se lleva más contaminantes que el aceite frío.
Aparque la máquina en una superficie nivelada, desengrane el mando de control de las cuchillas (TDF) y ponga el freno de estacionamiento.
Pare el motor, retire la llave y espere a que se detengan todas las piezas en movimiento antes de abandonar el puesto del operador.
Abra el capó.
Cambie el aceite del motor, según se muestra en la Figura 43.

Sustituya el filtro de aceite del motor como se muestra en la Figura 44.

Llene el cárter de aceite; consulte Especificaciones de aceite del motor.
| Intervalo de mantenimiento y servicio | Procedimiento de mantenimiento |
|---|---|
| Cada 800 horas |
|
Compruebe la holgura de las válvulas del motor. Consulte el manual del propietario del motor.
En ciertas condiciones, el combustible es extremadamente inflamable y altamente explosivo. Un incendio o una explosión provocados por el combustible puede causarle quemaduras a usted y a otras personas así como daños materiales.
Consulte Seguridad en el manejo del combustible para obtener una lista completa de precauciones relacionadas con el sistema de combustible.
Los componentes del sistema de combustible están sometidos a alta presión. El uso de componentes incorrectos puede dar lugar a fallos del sistema, fugas de combustible y posible explosión.
Utilice únicamente tubos de combustible y filtros de combustible homologados.
| Intervalo de mantenimiento y servicio | Procedimiento de mantenimiento |
|---|---|
| Cada 50 horas |
|
Aparque la máquina en una superficie nivelada, desengrane el mando de control de las cuchillas y ponga el freno de estacionamiento.
Pare el motor, retire la llave y espere a que se detengan todas las piezas en movimiento antes de abandonar el puesto del operador.
Coloque un recipiente debajo del filtro de combustible/separador de agua.
Abra el tapón de vaciado del separador de agua aproximadamente una vuelta para que se vacíen el agua y otros contaminantes (Figura 45).

Cierre el tapón de vaciado cuando salga solamente combustible diésel.
Important: La presencia de agua u otros contaminantes en el combustible puede dañar la bomba de combustible y otros componentes del motor.
| Intervalo de mantenimiento y servicio | Procedimiento de mantenimiento |
|---|---|
| Cada 400 horas |
|

| Intervalo de mantenimiento y servicio | Procedimiento de mantenimiento |
|---|---|
| Cada 400 horas |
|
Compruebe que los tubos de combustible no están deteriorados, dañados o rozados, y que las conexiones no están sueltas.
Desconecte el cable del borne negativo de la batería antes de reparar la máquina.
Cargue la batería en una zona abierta y bien ventilada, lejos de chispas y llamas. Desenchufe el cargador antes de conectar o desconectar la batería. Lleve ropa protectora y utilice herramientas aisladas.
El electrolito de la batería contiene ácido sulfúrico, que es mortal si es ingerido y causa quemaduras graves.
No beba electrolito y evite el contacto con la piel, los ojos y la ropa. Lleve lentes de seguridad para proteger sus ojos, y guantes de goma para proteger sus manos.
| Intervalo de mantenimiento y servicio | Procedimiento de mantenimiento |
|---|---|
| Cada mes |
|
El dejar la batería sin recargar durante un tiempo significativo reduce su rendimiento y su vida útil. Para conservar un rendimiento y durabilidad óptimos, cargue la batería almacenada cuando la tensión en circuito abierto caiga hasta los 12.4 V.
Note: Para prevenir daños debidos a la congelación, cargue la batería completamente antes de su almacenamiento de invierno.
Compruebe la tensión de la batería con un voltímetro digital. Localice la lectura de tensión de la batería en la tabla siguiente y cargue la batería durante el intervalo de tiempo recomendado para obtener una tensión de 12.6 V o más.
Important: Asegúrese de que el cable negativo (–) de la batería está desconectado y que el cargador usado para cargar la batería tiene una potencia de salida de 16 V y 7 A o menos para evitar dañar la batería (consulte los ajustes recomendados para el cargador en la tabla).
| Lectura de tensión | Porcentaje de carga | Ajustes máximos del cargador | Tiempo de carga |
|---|---|---|---|
| 12.6 V o más | 100 % | 16 V/7 A | No requiere carga |
| 12.4 V a 12.6 V | 75% a 100% | 16 V/7 A | 30 minutos |
| 12.2 V a 12.4 V | 50% a 75% | 16 V/7 A | 1 hora |
| 12.0 V a 12.2 V | 25% a 50% | 14.4 V/4 A | 2 horas |
| 11.7 V a 12.0 V | 0% a 25% | 14.4 V/4 A | 3 horas |
| 11.7 V o menos | 0% | 14.4 V/2 A | 6 horas o más |
El proceso de carga de la batería produce gases que pueden explotar.
No fume nunca cerca de la batería, y mantenga alejados de la batería chispas y llamas.
Important: Mantenga siempre la batería completamente cargada (densidad de 1.265). Esto es especialmente importante para evitar daños a la batería cuando la temperatura está por debajo de los 0 °C (32 °F).
Asegúrese de que los tapones de llenado están instalados en la batería. Cargue la batería durante 10 a 15 minutos a 25–30 A o durante 30 minutos a 10 A.
Cuando la batería esté completamente cargada, desconecte el cargador de la toma de electricidad, luego desconecte los cables del cargador de los bornes de la batería (Figura 47).
Instale la batería en la máquina y conecte los cables de la batería.
Note: No haga funcionar la máquina con la batería desconectada; puede causar daños al sistema eléctrico.

Inspeccione los bornes de la batería descargada en busca de corrosión ("nieve" blanca, verde o azul).
Es necesario eliminarla antes del arranque con batería externa. Limpie y apriete las conexiones según sea necesario.
La corrosión y las conexiones sueltas pueden causar picos de voltaje no deseados en cualquier momento del procedimiento de arranque externo.
No intente arrancar el motor si los bornes de la batería están sueltos o corroídos, porque podría dañar el motor.
Cualquier intento de arrancar una batería agrietada, congelada, con bajo nivel de electrolito o que tenga una celda abierta o cortocircuitada podría provocar una explosión y causar lesiones personales graves.
No arranque una batería descargada si existe cualquiera de estas condiciones.
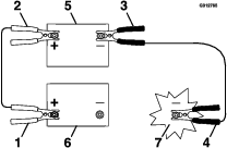
Asegúrese de que la batería externa es una batería de ácido-plomo de 12.6 V o más, y que está en buenas condiciones y completamente cargada. Utilice cables pasa-corriente de la sección correcta (4 a 6 AWG), que no sean demasiado largos a fin de reducir la caída de voltaje entre los dos sistemas. Asegúrese de que los cables están codificados por color o etiquetados con la polaridad correcta.
Una mala conexión (polaridad incorrecta) de los cables pasa-corriente puede dañar inmediatamente el sistema eléctrico.
Confirme la polaridad de los bornes de la batería y de los cables pasa-corriente antes de conectar las baterías.
Note: Las instrucciones siguientes son una adaptación de las Recomendaciones sobre Cables de Baterías Externas – Vehículos de superficie – SAE J1494 Rev. Dic. 2001 de la Sociedad de Ingenieros de Automoción (SAE – Society of Automotive Engineers).
Important: Asegúrese de que los tapones de ventilación están apretados y nivelados. Coloque un paño húmedo, si tiene uno, sobre los tapones de ventilación de ambas baterías. Asegúrese de que las máquinas no están en contacto entre sí y que los sistemas eléctricos de ambas están desconectados y son del mismo voltaje nominal. Estas instrucciones son aplicables únicamente a sistemas con negativo a tierra.
Conecte el cable positivo (+) al borne positivo (+) de la batería descargada que está conectado al motor de arranque o al solenoide (Figura 48).

Conecte el otro extremo del cable positivo al borne positivo de la batería externa.
Conecte el cable negativo (–) al otro borne (negativo) de la batería externa.
Haga la conexión final al bloque motor de la máquina que no arranca (no al borne negativo de la batería), en un punto alejado de la batería. Apártese de la máquina.
Arranque el vehículo y retire los cables en el orden inverso de la conexión (desconecte primero la conexión del cable negro al bloque motor).
El sistema eléctrico está protegido con fusibles. No requiere mantenimiento; no obstante, si se funde un fusible, compruebe que no hay avería ni cortocircuito en el componente/circuito.
Desenganche el capó del motor y levántelo para tener acceso al bloque de fusibles.
Para cambiar un fusible, tire del mismo para retirarlo.
Instale un fusible nuevo (Figura 49).

| Intervalo de mantenimiento y servicio | Procedimiento de mantenimiento |
|---|---|
| Cada vez que se utilice o diariamente |
|
Inspeccione el cinturón de seguridad en busca de señales de desgaste o cortes, y compruebe el funcionamiento del retractor y de la hebilla. Sustituya el cinturón de seguridad si está dañado.
Desengrane el mando de control de las cuchillas (TDF).
Conduzca hacia un lugar llana y abierta, y mueva las palancas de control de movimiento a la posición de BLOQUEO/PUNTO MUERTO.
Ponga la palanca del acelerador en un punto intermedio entre las posiciones de LENTO y RáPIDO.
Mueva ambas palancas de control de movimiento hacia adelante del todo hasta que toquen los topes en la ranura en T.
Compruebe hacia qué lado se desvía la máquina.
Ponga el freno de estacionamiento, apague el motor y retire la llave.
Ajuste las placas de tope según sea necesario.
Si la máquina se desvía hacia la derecha, afloje los pernos y ajuste la chapa del tope izquierdo hacia atrás en la ranura en T de la izquierda hasta que la máquina avance en línea recta (Figura 50).
Si la máquina se desvía hacia la izquierda, afloje los pernos y ajuste la chapa del tope derecho hacia atrás en la ranura en T de la derecha hasta que la máquina avance en línea recta (Figura 50).
Apriete la chapa del tope (Figura 50).

Alinee las palancas en el sentido adelante/atrás acercándolas a la posición de PUNTO MUERTO, y moviéndolas hasta que estén alineadas; luego apriete los pernos (Figura 51).

Si es necesario alinearlas, afloje los 2 pernos de montaje de la palanca de control de movimiento del lado que está mal alineado (Figura 52).

Mueva la palanca de control de movimiento hasta que coincida con la del otro lado.
Apriete los 2 pernos de montaje de la palanca de control de movimiento (Figura 52).
| Intervalo de mantenimiento y servicio | Procedimiento de mantenimiento |
|---|---|
| Cada 50 horas |
|
Especificación de la presión de aire de los neumáticos traseros: 1.24 bar (18 psi).
Note: Las ruedas giratorias son semineumáticas y no es necesario revisar la presión del aire.
Si la presión de los neumáticos es baja, se reduce la estabilidad en pendientes laterales. Esto podría causar un vuelco, que podría dar lugar a lesiones personales o la muerte.
No use los neumáticos con presiones menores que las recomendadas.
Compruebe la presión del aire de los neumáticos traseros. Añada o quite aire según sea necesario para establecer la presión correcta de aire de los neumáticos.
Important: Mantenga la presión de todos los neumáticos para asegurar una buena calidad de corte y un rendimiento correcto de la máquina.Compruebe la presión de todos los neumáticos antes de utilizar la máquina.

| Intervalo de mantenimiento y servicio | Procedimiento de mantenimiento |
|---|---|
| Después de las primeras 100 horas |
|
Apriete las tuercas de las ruedas a 115–142 N·m (85–105 pies-libra).
| Intervalo de mantenimiento y servicio | Procedimiento de mantenimiento |
|---|---|
| Cada 200 horas |
|
Aparque la máquina en una superficie nivelada, desengrane el mando de control de las cuchillas y ponga el freno de estacionamiento.
Pare el motor, retire la llave y espere a que se detengan todas las piezas en movimiento antes de abandonar el puesto del operador.
Retire el tapón guardapolvo de la rueda giratoria y apriete la contratuerca (Figura 54).
Apriete la contratuerca hasta que las arandelas de muelle estén planas, luego afloje ¼ de vuelta para establecer la pre-carga correcta de los cojinetes (Figura 54).
Important: Asegúrese de que las arandelas de muelle están correctamente instaladas, según se muestra en Figura 54.
Coloque el tapón anti-polvo (Figura 54).

La ingesta de refrigerante de motor puede provocar envenenamiento; manténgalo fuera del alcance de niños y animales domésticos.
Una descarga de refrigerante caliente bajo presión, o cualquier contacto con el radiador caliente y los componentes que lo rodean, pueden causar quemaduras graves.
Siempre deje que el motor se enfríe durante al menos 15 minutos antes de retirar el tapón del radiador.
Utilice un trapo al abrir el tapón del radiador, y ábralo lentamente para permitir la salida del vapor.
| Intervalo de mantenimiento y servicio | Procedimiento de mantenimiento |
|---|---|
| Cada vez que se utilice o diariamente |
|
Especificación del refrigerante: Solución al 50% de agua y anticongelante permanente de etilenglicol
Capacidad del sistema de refrigeración: 7.6 litros (8 cuartos US)
Aparque la máquina en una superficie nivelada, desengrane el mando de control de las cuchillas y ponga el freno de estacionamiento.
Pare el motor, retire la llave y espere a que se detengan todas las piezas en movimiento antes de abandonar el puesto del operador.
Abra el capó.
Compruebe el nivel de refrigerante en el depósito de expansión (Figura 55).
Note: El nivel del refrigerante debe estar entre las marcas en el lateral del depósito.

Si el nivel de refrigerante es bajo, retire el tapón del depósito de expansión y añada el refrigerante especificado (Figura 55).
Important: No llene demasiado.
Instale el tapón del depósito de expansión.
Cierre el capó.
| Intervalo de mantenimiento y servicio | Procedimiento de mantenimiento |
|---|---|
| Cada 50 horas |
|
Limpie el radiador para impedir que el motor se sobrecaliente.
Note: Si la carcasa de corte o el motor se paran debido al recalentamiento, compruebe que no haya una acumulación excesiva de residuos en el radiador.
Aparque la máquina en una superficie nivelada, desengrane el mando de control de las cuchillas y ponga el freno de estacionamiento.
Pare el motor, retire la llave y espere a que se detengan todas las piezas en movimiento antes de abandonar el puesto del operador.
Gire el capó hacia adelante.
Utilizando aire comprimido, elimine cualquier residuo de entre las aletas del radiador entero, soplando de arriba abajo y de abajo arriba.
Si aún quedan residuos, puede ser necesario utilizar agua de una manguera a baja presión.
Si el radiador está limpio, vaya al paso 7.
Cubra el motor con un trozo de cartón o con un plástico. Dirija un chorro de agua entre las aletas. Sople con aire a baja presión en ambos sentidos.
Note: Si quedan residuos, repita hasta que esté limpio.
Baje el capó.
Arranque el motor para asegurarse de que el ventilador funciona correctamente.
| Intervalo de mantenimiento y servicio | Procedimiento de mantenimiento |
|---|---|
| Cada 2000 horas |
|
Aparque la máquina en una superficie nivelada, desengrane el mando de control de las cuchillas y ponga el freno de estacionamiento.
Pare el motor, retire la llave y espere a que se detengan todas las piezas en movimiento antes de abandonar el puesto del operador.
Gire el capó hacia adelante.
Drene el refrigerante con el motor frío.
Retire el tapón del radiador, coloque un recipiente debajo del radiador, y retire el tapón de vaciado de la parte inferior del radiador.
Retire la manguera de refrigerante del enfriador de aceite y vacíe el refrigerante del bloque motor (Figura 56).

Instale los tapones y las mangueras de vaciado.
Llene el radiador con una mezcla al 50/50 de agua y anticongelante de etilenglicol.
Note: Se recomienda el uso del refrigerante Havoline® Xtended Life.
Deje sitio (unos 12.7 mm (½")) para la expansión. Añada la mezcla al 50% de refrigerante al depósito de expansión, en el lado izquierdo del motor, hasta que llegue a la línea marcada en el depósito.
Haga funcionar el motor hasta que se abra el termostato del motor y circule refrigerante por el núcleo del radiador.
A medida que se expulse aire del bloque del motor y descienda el nivel de refrigerante, añada más refrigerante al radiador.
Cuando el radiador esté totalmente lleno y no se pueda añadir más refrigerante, coloque el tapón del radiador con el motor todavía en marcha.
Asegúrese de que el tapón está totalmente estanco presionando firmemente hacia abajo mientras gira el tapón, hasta que haga tope. Una vez colocado el tapón, apague el motor.
| Intervalo de mantenimiento y servicio | Procedimiento de mantenimiento |
|---|---|
| Después de las primeras 100 horas |
|
| Cada 400 horas |
|
Compruebe que el freno de estacionamiento está correctamente ajustado. Realice este procedimiento también después de retirar o cambiar cualquier componente del freno.
Aparque la máquina en una superficie nivelada, desengrane el mando de control de las cuchillas y ponga el freno de estacionamiento.
Pare el motor, retire la llave y espere a que se detengan todas las piezas en movimiento antes de abandonar el puesto del operador.
Levante la parte trasera de la máquina y apóyela sobre gatos fijos.
Retire las ruedas traseras de la máquina.
Elimine cualquier suciedad de la zona de los frenos.
Libere las ruedas motrices; consulte Uso de las válvulas de desvío de las ruedas motrices.
Mida la longitud del conjunto de enganche (Figura 57).
Note: Si el conjunto de enganche está instalado en la posición delantera, la longitud debe ser de 219 mm (8⅝"); si está instalado en la posición trasera, la longitud debe ser de 232 mm (9⅛").

Mida la longitud del muelle (Figura 57).
Note: La medida debe ser de 95 mm (3¾").
Cuando obtenga la longitud correcta del muelle, compruebe si hay un espacio visible entre el soporte de giro y el resalte.
Quite el freno de estacionamiento y gire el cubo de la rueda a mano en ambos sentidos.
Note: El cubo de la rueda debe moverse libremente.
Si se necesita un espacio mayor o si el cubo de la rueda no se mueve libremente, haga lo siguiente:
Quite el freno de estacionamiento.
Desconecte y ajuste el acoplamiento trasero.
Acorte el acoplamiento para crear un espacio.
Alargue el acoplamiento para permitir que el cubo se mueva.
Conecte el acoplamiento trasero.
Ponga el freno de estacionamiento y compruebe el espacio.
Repita los pasos 10 a 12 hasta que obtenga un espacio visible y el cubo de la rueda gire libremente. Repita este procedimiento en el otro lado.
Note: El freno debe desactivarse totalmente cuando el freno está en la posición de liberado.
Gire el asa de liberación de las ruedas motrices a la posición de operación; consulte Uso de las válvulas de desvío de las ruedas motrices.
Instale los neumáticos traseros y apriete las tuercas de las ruedas a 115–142 N·m (85–105 pies-libra).
Retire los gatos fijos.
| Intervalo de mantenimiento y servicio | Procedimiento de mantenimiento |
|---|---|
| Cada 50 horas |
|
Cambie la correa si está desgastada. Las señales de una correa desgastada incluyen chirridos cuando la correa está en movimiento, patinaje de las cuchillas durante la siega, bordes deshilachados, o marcas de quemaduras o grietas.
Si hay chirridos cuando la correa está en movimiento, si las cuchillas patinan durante la siega, si los bordes de la correa están deshilachados, o si tiene marcas de quemaduras o grietas, la correa del cortacésped está desgastada. Cambie la correa si existe cualquiera de estas condiciones.
Aparque la máquina en una superficie nivelada, desengrane el mando de control de las cuchillas y ponga el freno de estacionamiento.
Pare el motor, retire la llave y espere a que se detengan todas las piezas en movimiento antes de abandonar el puesto del operador.
Baje el cortacésped a la posición de altura de corte de 76 mm (3").
Retire los 2 pasadores de seguridad de la cubierta exterior de la correa y retire la cubierta exterior (Figura 58).
Gire hacia arriba la cubierta interior de la correa (Figura 58).

Retire la chapa de suelo.
Utilizando una llave de carraca en el taladro cuadrado del brazo tensor, gire hacia atrás el brazo tensor para aliviar la tensión del muelle tensor (Figura 59).
Retire la correa de las poleas de la carcasa de corte (Figura 59).

Instale la correa nueva alrededor de las poleas de la carcasa de corte.
Instale las cubiertas de la correa y la chapa de suelo.
Repita este procedimiento con la correa de la otra carcasa lateral.
Si hay chirridos cuando la correa está en movimiento, si las cuchillas patinan durante la siega, si los bordes de la correa están deshilachados, o si tiene marcas de quemaduras o grietas, la correa del cortacésped está desgastada. Cambie la correa si existe cualquiera de estas condiciones.
Aparque la máquina en una superficie nivelada, desengrane el mando de control de las cuchillas y ponga el freno de estacionamiento.
Pare el motor, retire la llave y espere a que se detengan todas las piezas en movimiento antes de abandonar el puesto del operador.
Baje el cortacésped a la posición de altura de corte de 76 mm (3").
Retire las correas de las dos carcasas laterales; consulte Sustitución de las correas de las carcasas laterales.
Utilice una llave de carraca en el taladro cuadrado del brazo tensor para aliviar la tensión del muelle tensor (Figura 60).
Retire la correa de las poleas de la carcasa de corte (Figura 60).
Note: La correa se sale de la parte inferior de la polea de la caja de engranajes.

Instale la correa nueva alrededor de las poleas de la carcasa de corte.
Instale las correas de las dos carcasas laterales; consulte Sustitución de las correas de las carcasas laterales.
Instale las cubiertas de la correa y la chapa de suelo.
| Intervalo de mantenimiento y servicio | Procedimiento de mantenimiento |
|---|---|
| Cada 100 horas |
|
Aplique una fuerza de 44 N (10 libras) a la correa del alternador, en el punto intermedio entre las poleas.
Si la desviación no es de 10 mm (⅜"), afloje los pernos de montaje del alternador (Figura 61).

Aumente o reduzca la tensión de la correa del alternador.
Apriete los pernos de montaje del
Verifique de nuevo la desviación de la correa para asegurarse de que la tensión es la correcta.
Las palancas de control tienen dos ajustes de altura: alto y bajo. Retire los pernos para adaptar la altura al operador.
Aparque la máquina en una superficie nivelada, desengrane el mando de control de las cuchillas (TDF) y ponga el freno de estacionamiento.
Pare el motor, retire la llave y espere a que se detengan todas las piezas en movimiento antes de abandonar el puesto del operador.
Afloje los pernos y las tuercas con arandela prensada de las palancas (Figura 62).
Alinee las palancas en el sentido adelante/atrás acercándolas a la posición de PUNTO MUERTO, y moviéndolas hasta que estén alineadas; luego apriete los pernos (Figura 63).


Si los extremos de las palancas chocan entre sí, consulte Ajuste de los acoplamientos de control de movimiento.
Repita para ajustar las palancas de control.
Los acoplamientos de control de las bombas están situados en cada lado de la máquina, debajo del asiento. Gire la tuerca del extremo con una llave de ½" para hacer ajustes finos a fin de que la máquina no se desplace en punto muerto. Cualquier ajuste debe realizarse únicamente para la posición de punto muerto.
El motor debe estar en marcha y las ruedas motrices deben estar girando para ajustar el control de movimiento. El contacto con piezas en movimiento o superficies calientes puede causar lesiones personales.
Mantenga alejados de los componentes rotativos y de la superficies calientes los dedos, las manos y la ropa.
Aparque la máquina en una superficie nivelada, desengrane el mando de control de las cuchillas (TDF) y ponga el freno de estacionamiento.
Pare el motor, retire la llave y espere a que se detengan todas las piezas en movimiento antes de abandonar el puesto del operador.
Presione el pedal de elevación de la carcasa, retire el pasador de altura de corte y baje la carcasa de corte al suelo.
Levante la parte trasera de la máquina y apóyela sobre gatos fijos a una altura suficiente para permitir que las ruedas motrices giren libremente.
Retire la conexión eléctrica del interruptor de seguridad del asiento, situado debajo del cojín del asiento.
Note: El interruptor forma parte del conjunto del asiento.
Provisionalmente, instale un puente entre los terminales del conector del arnés de cableado principal.
Arranque el motor, hágalo funcionar a su velocidad máxima y quite el freno de estacionamiento.
Note: Antes de arrancar el motor, asegúrese de que el freno de estacionamiento está puesto y que las palancas de control de movimiento están hacia fuera. No es necesario que esté sentado en el asiento.
Haga funcionar la máquina durante al menos 5 minutos con las palancas de control de movimiento a velocidad máxima hacia adelante para que el fluido hidráulico alcance su temperatura normal de operación.
Note: Las palancas de control de movimiento deben estar en punto muerto mientras se realizan ajustes.
Ponga las palancas de control de movimiento en la posición de punto MUERTO.
Ajuste la longitud de las varillas de control de las bombas girando las tuercas dobles de la varilla en el sentido apropiado, hasta que las ruedas se muevan ligeramente en marcha atrás (Figura 64).

Mueva las palancas de control de movimiento a la posición de REVERSE (MARCHA ATRáS) y, aplicando una ligera presión a la palanca, deje que los muelles de marcha atrás devuelvan las palancas a punto muerto.
Note: Las ruedas deben dejar de girar o moverse muy lentamente en marcha atrás.
Pare la máquina.
Retire el puente del arnés de cables y enchufe el conector en el interruptor del asiento.
Retire los gatos fijos.
Eleve la carcasa e instale el pasador de altura de corte.
Compruebe que la máquina no se desplaza en punto muerto con el freno de estacionamiento quitado.
El perno de montaje superior del amortiguador puede ajustarse para obtener la resistencia de la palanca de control de movimiento deseada. Consulte las opciones de montaje en Figura 65.

Busque atención médica inmediatamente si el fluido hidráulico penetra en la piel. Cualquier fluido inyectado debe ser extraído quirúrgicamente por un médico en el espacio de pocas horas.
Asegúrese de que todas las mangueras y líneas de fluido hidráulico están en buenas condiciones de uso y que todos los acoplamientos y conexiones hidráulicos están apretados antes de aplicar presión al sistema hidráulico.
Mantenga el cuerpo y las manos alejados de fugas pequeñas o boquillas que expulsan fluido hidráulico a alta presión.
Utilice un cartón o un papel para buscar fugas hidráulicas.
Alivie de manera segura toda presión en el sistema hidráulico antes de realizar trabajo alguno en el sistema hidráulico.
Capacidad del depósito hidráulico: 15.1 l (16 cuartos US)
Fluido recomendado: Toro Premium Transmission/Hydraulic Tractor Fluid (Fluido para transmisiones/fluido hidráulico para tractores de alta calidad) (Disponible en recipientes de 19 litros (5 galones) o en bidones de 208 litros (55 galones). Consulte el Catálogo de piezas o póngase en contacto con un distribuidor autorizado Toro para obtener los números de pieza.
Fluidos alternativos: Si no está disponible el fluido Toro puede utilizarse fluido hidráulico Mobil® 424.
Note: Toro no asume responsabilidad alguna por los daños causados por sustituciones incorrectas.
Note: La mayoría de los fluidos hidráulicos son casi incoloros, por lo que es difícil detectar fugas. Está disponible un aditivo de tinte rojo para el aceite del sistema hidráulico en botellas de 20ml (⅔ oz fluida). Una botella es suficiente para 15 a 22 litros (4 a 6 galones) de fluido hidráulico. Solicite la pieza Nº 44-2500 a su distribuidor autorizado Toro.
| Intervalo de mantenimiento y servicio | Procedimiento de mantenimiento |
|---|---|
| Cada vez que se utilice o diariamente |
|
Compruebe el nivel del fluido hidráulico antes de arrancar el motor por primera vez y luego a diario.
Aparque la máquina en una superficie nivelada, desengrane el mando de control de las cuchillas y ponga el freno de estacionamiento.
Mueva las palancas de control de movimiento a la posición de BLOQUEO/PUNTO MUERTO y arranque el motor.
Note: Haga funcionar el motor a la velocidad más baja posible para purgar cualquier aire del sistema.
Important: No engrane la TDF.
Eleve la carcasa para extender los cilindros de elevación, pare el motor y retire la llave.
Levante el asiento para tener acceso al depósito de fluido hidráulico.
Retire el tapón del depósito hidráulico (Figura 66).

Retire la varilla y límpiela con un paño limpio (Figura 66).
Inserte la varilla en el cuello de llenado, retírela y compruebe el nivel de fluido (Figura 67).
Note: Si el nivel no está entre las muescas de la varilla, añada suficiente aceite hidráulico de alta calidad para que llegue a la zona de las muescas.
Important: No llene demasiado.

Vuelva a colocar la varilla y enrosque el tapón de llenado en el cuello de llenado con la presión de los dedos solamente.
Compruebe que no hay fugas en ningún manguito o acoplamiento hidráulico.
| Intervalo de mantenimiento y servicio | Procedimiento de mantenimiento |
|---|---|
| Después de las primeras 200 horas |
|
| Cada 400 horas |
|
| Cada 800 horas |
|
Desengrane la TDF, mueva las palancas de control de movimiento a la posición de BLOQUEO/PUNTO MUERTO, y ponga el freno de estacionamiento.
Mueva la palanca del acelerador a la posición de LENTO, pare el motor, retire la llave y espere a que se detengan todas las piezas en movimiento antes de abandonar el puesto del operador.
Levante el asiento.
Coloque un recipiente de vaciado grande debajo del depósito de fluido hidráulico, el alojamiento de la transmisión y los motores de rueda izquierdo y derecho (Figura 68).

Retire los tapones de vaciado de cada zona y deje que se drene el fluido hidráulico (Figura 68).
Limpie la zona alrededor del filtro de fluido hidráulico y retire el filtro (Figura 68).
Instale un filtro de fluido hidráulico nuevo, y gire el filtro en sentido horario hasta que la junta de goma entre en contacto con el adaptador del filtro; luego apriete el filtro entre ⅔ y ¾ de vuelta más.
Instale los 4 tapones de vaciado.
Note: Los tapones de drenaje de los motores de rueda son magnéticos; límpielos antes de instalarlos.
Retire el tapón del orificio de llenado situado en la parte superior de cada motor de rueda (Figura 69).
Llene cada motor de rueda con aproximadamente 1.4 litros (1.5 cuartos US) de fluido para transmisiones/fluido hidráulico para tractores Toro Premium.
Instale los tapones en los orificios de llenado.

Retire el tapón y la varilla del depósito de fluido hidráulico.
Añada 7.6 l (8 cuartos US) de fluido al depósito.
Levante la parte trasera de la máquina y apóyela sobre gatos fijos (u otro soporte equivalente) a una altura suficiente para permitir que las ruedas motrices giren libremente.
Arranque el motor y compruebe que no hay fugas de fluido.
Haga funcionar el motor durante unos cinco minutos, luego párelo.
Después de dos minutos, compruebe el nivel del fluido hidráulico; consulte Comprobación del nivel de fluido hidráulico.
Inspeccione periódicamente las cuchillas en busca de desgaste y daños.
Tenga cuidado al revisar las cuchillas. Envuelva las cuchillas o lleve guantes, y extreme las precauciones al realizar el mantenimiento de las cuchillas. Solo reemplace o afile las cuchillas; no las enderece ni las suelde nunca.
En máquinas con múltiples cuchillas, tenga cuidado puesto que girar una cuchilla puede hacer que giren otras cuchillas.
Sustituya cuchillas o pernos gastados o dañados en conjuntos completos para no desequilibrar la máquina.
Para garantizar una calidad de corte superior, mantenga afiladas las cuchillas. Para que el afilado y la sustitución sean más cómodos, conserve un stock de cuchillas de repuesto.
Aparque la máquina en una superficie nivelada, desengrane el mando de control de las cuchillas y ponga el freno de estacionamiento.
Pare el motor, retire la llave y espere a que se detengan todas las piezas en movimiento antes de abandonar el puesto del operador.
| Intervalo de mantenimiento y servicio | Procedimiento de mantenimiento |
|---|---|
| Cada vez que se utilice o diariamente |
|
Inspeccione los filos de corte (Figura 70).
Si los filos están romos o tienen muescas, retire la cuchilla y afílela; consulte Afilado de las cuchillas.
Inspeccione las cuchillas, especialmente en la parte curva.
Si observa fisuras, desgaste o la formación de una ranura en esta zona, instale de inmediato una cuchilla nueva (Figura 70).

Desengrane el mando de control de las cuchillas (TDF), ponga las palancas de control de movimiento en la posición de BLOQUEO/PUNTO MUERTO, y ponga el freno de estacionamiento.
Pare el motor, retire la llave y espere a que se detengan todas las piezas en movimiento antes de abandonar el puesto del operador.
Gire las cuchillas hasta que los extremos estén orientados hacia adelante y hacia atrás (Figura 71).
Mida desde una superficie nivelada hasta el filo de corte, posición A, de las cuchillas (Figura 71).

Gire hacia adelante los otros extremos de las cuchillas.
Mida desde una superficie nivelada hasta el filo de corte de las cuchillas en la misma posición que en el paso 4.
Note: La diferencia entre las dimensiones obtenidas en los pasos 4 y 5 no debe superar los 3 mm (⅛").
Note: Si esta dimensión es de más de 3 mm (⅛"), la cuchilla está doblada y debe ser cambiada.
Una cuchilla doblada o dañada podría romperse y podría causar graves lesiones o la muerte a usted o a otras personas.
Siempre sustituya una cuchilla doblada o dañada por una cuchilla nueva.
Nunca lime ni cree muescas afiladas en los bordes o en la superficie de la cuchilla.
Cambie las cuchillas si han golpeado un objeto sólido o si una cuchilla está desequilibrada o doblada.
Coloque una llave inglesa en la zona plana del eje o sujete el extremo de la cuchilla usando un trapo o un guante grueso.
Retire el perno de la cuchilla, el buje y la cuchilla del eje (Figura 72).

Utilice una lima para afilar el filo de corte en ambos extremos de la cuchilla (Figura 73).
Note: Mantenga el ángulo original.
Note: La cuchilla permanece equilibrada si se retira la misma cantidad de material de ambos bordes de corte.

Verifique el equilibrio de la cuchilla colocándola sobre un equilibrador de cuchillas (Figura 74).
Note: Si la cuchilla se mantiene horizontal, está equilibrada y puede utilizarse.
Note: Si la cuchilla no está equilibrada, rebaje algo el metal en la parte de la vela solamente con una lima (Figura 73).

Repita este procedimiento hasta que la cuchilla esté equilibrada.
Instale el buje a través de la cuchilla con la brida del buje en el lado inferior (lado del césped) de la cuchilla (Figura 75).

Instale el conjunto de buje/cuchilla en el eje (Figura 76).

Aplique lubricante o grasa de cobre a la rosca del perno de la cuchilla según sea necesario para evitar que se agarrote. Instale el perno de la cuchilla con los dedos solamente.
Coloque una llave inglesa en la zona plana del eje y apriete el perno de la cuchilla a 75–81 N∙m (55–60 pies-libra).
Note: Asegúrese de que la carcasa de corte está nivelada antes de ajustar la altura de corte (ADC).
Aparque la máquina en una superficie nivelada, desengrane el mando de control de las cuchillas y ponga el freno de estacionamiento.
Pare el motor, retire la llave y espere a que se detengan todas las piezas en movimiento antes de abandonar el puesto del operador.
Compruebe la presión de los neumáticos de las ruedas motrices.
Si es necesario, ajústela a 1.24 bar (18 psi).
Coloque el cortacésped en la posición de altura de corte de 102 mm (4'').
Eleve la carcasa central y pliegue las carcasas laterales presionando hacia abajo la parte trasera del interruptor de elevación de la carcasa. Mantenga presionado el interruptor hasta que ambas carcasas laterales estén totalmente plegadas.
Coloque el cortacésped en la posición de altura de corte de 102 mm (4'').
Abra los bloqueos de leva de las carcasas laterales derecha y izquierda (Figura 77).
Retire y guarde la trabilla de altura de corte de la carcasa lateral (Figura 77).

Introduzca el pasador de altura de corte en la posición de 102 mm (4") e instale la trabilla.
Cierre el bloqueo de leva de cada carcasa lateral.
Arranque el motor.
Note: El freno de estacionamiento debe estar puesto y las palancas de control de movimiento deben estar hacia fuera para poder arrancar el motor. No es necesario que el operador esté sentado en el asiento. Asegúrese de que no hay nadie en las proximidades de las carcasas laterales.
Mantenga pulsada la parte inferior del interruptor de elevación de la carcasa hasta que baje la carcasa central y se desplieguen las carcasas laterales completamente a la altura de corte correcta.
Pare el motor, retire la llave y espere a que se detengan todas las piezas en movimiento antes de abandonar el puesto del operador.
Mida desde la superficie nivelada hasta la punta delantera de las cuchillas derecha e izquierda de la carcasa central (Figura 78).
La distancia debe ser de 102 cm (4").

Para aumentar la altura de corte, gire el tornillo de ajuste en sentido horario; para reducir la altura, gírelo en sentido antihorario.
Afloje las contratuercas de la parte superior de cada pletina de ajuste de la carcasa. Gire la tuerca de ajuste del conjunto de elevación de la carcasa delantera para obtener la altura correcta para las puntas delanteras de las cuchillas izquierda y derecha de la carcasa central (Figura 79).
Mida la altura de la punta trasera.
Afine la posición de las tuercas de ajuste traseras según sea necesario. Puede utilizar el ajuste de un solo punto para aumentar las posibilidades de ajuste.
Mida hasta que los 4 lados tengan la altura correcta.
Apriete todas las tuercas de los brazos de elevación de la carcasa.
Si los 4 mecanismos de ajuste de la carcasa (Figura 79) no tienen holgura suficiente para lograr la altura de corte precisa con la inclinación necesaria, puede utilizarse el sistema de ajuste de un solo punto.
Para ajustar el sistema de un solo punto, primero afloje los pernos de montaje delantero y trasero de la placa de altura de corte (Figura 79)
Afine la posición de las tuercas de ajuste traseras según sea necesario. Puede utilizar el ajuste de un solo punto para aumentar las posibilidades de ajuste.

Si la carcasa está demasiado baja, apriete el perno del ajuste de un solo punto girándolo en el sentido de las agujas del reloj (Figura 80).
Si la carcasa está demasiado alta, afloje el perno del ajuste de un solo punto girándolo en el sentido contrario a las agujas del reloj. Afloje los pernos de montaje delantero y trasero de la placa de altura de corte. Afine la posición de las tuercas de ajuste traseras según sea necesario. Puede utilizar el ajuste de un solo punto para aumentar las posibilidades de ajuste.
Note: Apriete o afloje el perno lo suficiente para desplazar los pernos de montaje de la pletina de altura de corte al menos ⅓ del recorrido posible en las ranuras correspondientes. De esta manera, será posible ajustar algo más en sentido vertical los 4 acoplamientos de la carcasa.

Apriete los pernos de montaje delantero y trasero de la placa de altura de corte a 37 – 45 N∙m (27 – 33 pies-libra).
Mida desde la superficie nivelada hasta la punta delantera de la cuchilla de la carcasa lateral izquierda.
Note: La distancia debe ser de 102 cm (4").
Mida desde la superficie nivelada hasta la punta delantera de la cuchilla de la carcasa lateral derecha.
Note: La distancia debe ser de 102 cm (4").
Note: Al igual que la carcasa central, en la mayoría de las condiciones debe ajustar las puntas traseras de las cuchillas de las carcasas laterales hasta que estén 6.4 mm (¼") más altas que las puntas delanteras.
Las carcasas laterales derecha e izquierda incorporan mecanismos de ajuste de la altura de las cuchillas, con puntos de ajuste delanteros y traseros. Para ajustar la altura de las cuchillas de las carcasas laterales, primero afloje las tuercas de montaje delanteras y traseras de las pletinas de suspensión/altura de corte. Hay 4 posiciones (2 en cada lado del canal), como se muestra en la Figura 81.

Si la carcasa está demasiado baja, apriete el perno de ajuste de altura delantero (Figura 81) girando la tuerca inferior en sentido horario.
Si la carcasa está demasiado alta, afloje el perno de ajuste de altura delantero (Figura 81) girando la tuerca inferior en sentido antihorario. Afine la posición de las tuercas de ajuste traseras según sea necesario.
Ajuste la altura de la rueda trasera (Figura 81) hasta que la rueda trasera apenas toque el suelo con una presión mínima.
Mida la parte trasera de las cuchillas laterales. Si cualquiera de las cuchillas tiene una inclinación de menos de 1.5 mm (1/16"), eleve la parte trasera de la carcasa apretando los ajustes traseros izquierdo y derecho (Figura 81) hasta que las 4 cuchillas tengan una inclinación mínima de 1.5 mm (1/16"). Ajuste las ruedas laterales traseras hasta que apenas toquen el suelo con una presión mínima. Apriete las 4 posiciones de montaje traseras de las pletinas de suspensión (Figura 81).
Apriete las contratuercas delanteras y traseras de las pletinas de suspensión/altura de corte.
| Intervalo de mantenimiento y servicio | Procedimiento de mantenimiento |
|---|---|
| Cada 50 horas |
|
Utilice lubricante para engranajes sintético SAE 75W-90.
Aparque la máquina en una superficie nivelada y ponga el freno de estacionamiento.
Baje la carcasa de corte a la altura de corte de 25 mm (1").
Desengrane el mando de control de las cuchillas, apague el motor, retire la llave y espere a que se detengan todas las piezas en movimiento antes de abandonar el puesto del operador.
Levante el reposapiés para tener acceso a la parte superior de la carcasa de corte.
Retire la varilla/tapón de llenado de la parte superior de la caja de engranajes y compruebe que el lubricante está entre las marcas de la varilla (Figura 82).

Si el nivel de aceite es bajo, añada lubricante hasta que el nivel esté entre las marcas de la varilla.
Important: No llene en exceso la caja de engranajes; de hacerlo, la caja de engranajes puede sufrir daños.
| Intervalo de mantenimiento y servicio | Procedimiento de mantenimiento |
|---|---|
| Después de las primeras 200 horas |
|
| Cada 400 horas |
|
Si el aceite se contamina, póngase en contacto con su Distribuidor Toro, porque el sistema debe ser purgado. El aceite contaminado tiene un aspecto lechoso o negro en comparación con el aceite limpio.
Aparque la máquina en una superficie nivelada y ponga el freno de estacionamiento.
Baje la carcasa de corte a la altura de corte de 25 mm (1").
Desengrane el mando de control de las cuchillas, apague el motor, retire la llave y espere a que se detengan todas las piezas en movimiento antes de abandonar el puesto del operador.
Levante el reposapiés para tener acceso a la parte superior de la carcasa de corte.
Retire la varilla/tapón de llenado de la parte superior de la caja de engranajes y asegúrese de que el lubricante está entre las marcas de la varilla (Figura 82).
Extraiga el aceite a través del orificio de llenado usando un dispositivo aspirador, o retire la caja de engranajes de la carcasa y vierta el aceite en un recipiente de vaciado.
Instale la caja de engranajes (si se retiró para vaciar el aceite).
Añada aproximadamente 420 ml (14 oz fluidas) de lubricante, hasta que el nivel esté entre las marcas de la varilla.
Important: No llene en exceso la caja de engranajes; de hacerlo, la caja de engranajes puede sufrir daños.
| Intervalo de mantenimiento y servicio | Procedimiento de mantenimiento |
|---|---|
| Cada 100 horas |
|
Desengrane el mando de control de las cuchillas (TDF), ponga las palancas de control de movimiento en la posición de BLOQUEO/PUNTO MUERTO, y ponga el freno de estacionamiento.
Pare el motor, retire la llave y espere a que se detengan todas las piezas en movimiento antes de abandonar el puesto del operador.
Eleve la carcasa central y pliegue las carcasas laterales presionando hacia abajo el interruptor de elevación de la carcasa.
Mantenga presionado el interruptor hasta que ambas carcasas laterales estén totalmente plegadas.
Empuje sobre las esquinas delanteras de la carcasa, cerca de los bujes inferiores.
Si hay más de 3 mm (⅛") de movimiento, será necesario cambiar los bujes.
Desengrane el mando de control de las cuchillas (TDF), ponga las palancas de control de movimiento en la posición de BLOQUEO/PUNTO MUERTO, y ponga el freno de estacionamiento.
Pare el motor, retire la llave y espere a que se detengan todas las piezas en movimiento antes de abandonar el puesto del operador.
Retire los pasadores y las chavetas de la posición de almacenamiento de las carcasas laterales, y guárdelos.
Asegúrese de que no hay nadie en las proximidades de las carcasas laterales.
Mantenga pulsada la parte superior del interruptor de control de la carcasa; la carcasa central se elevará primero, luego las carcasas laterales.
Sujete cada carcasa lateral en posición vertical con los pasadores y las chavetas.
Afloje los pernos que fijan los pasadores de giro superiores a la carcasa, pero no retire los pernos (Figura 83).

Retire y guarde los pasadores y las chavetas de las carcasas laterales.
Retire el pasador de altura de corte de la placa de elevación de la carcasa, en el lado derecho de la carcasa central.
Baje las carcasas laterales, pero no las lleve a la posición de operación.
Retire y guarde los pasadores de seguridad del protector de la correa, el protector de la correa y la correa de ambas carcasas laterales.
Retire y guarde las chavetas de bloqueo y los pasadores de los cilindros que sujetan los extremos de los vástagos de los cilindros de plegado a las carcasas laterales (Figura 84).
Note: No mueva las carcasas laterales a la posición de operación para retirar los pasadores de los cilindros.

Retire y guarde los pernos que sujetan los pasadores de giro superiores a la carcasa, y luego retire los pasadores de giro (Figura 85).

Tire de la carcasa lateral hacia fuera para separarla de la carcasa central (Figura 85).
Retire los bujes con brida de los puntos de giro superiores y limpie el orificio (Figura 86).

Aplique un cordón fino de Loctite® 680 a toda la circunferencia del borde trasero de los bujes nuevos.
Introduzca los bujes nuevos en el orificio, golpeándolos suavemente, y asiéntelos correctamente.
Coloque un bloque de madera debajo del borde interior de la carcasa central para facilitar el trabajo en los bujes de los puntos de giro inferiores.
Retire y guarde los pernos de los puntos de giro inferiores (Figura 83 y Figura 86).
Retire y deseche el buje con brida de la parte delantera y trasera de la carcasa lateral, y limpie el orificio.
Aplique un cordón fino de Loctite® 680 a toda la circunferencia del borde trasero de los bujes nuevos.
Introduzca los bujes nuevos en el orificio, golpeándolos suavemente, y asiéntelos correctamente.
Instale los pasadores y los pernos inferiores en los puntos de giro inferiores de la carcasa, y apriételos a mano.
Para facilitar la instalación de las carcasas laterales, retire cuidadosamente el extremo expuesto del muelle que aplica presión a la parte trasera de la cubierta de la carcasa lateral (Figura 87).

Empuje la carcasa lateral izquierda hacia la carcasa central.
Alinee e instale los pasadores de giro superiores en la parte delantera y trasera de la carcasa, y sujételos con los pernos que se retiraron anteriormente (Figura 85).
Alinee el brazo del cilindro de elevación e instale el pasador, asegurándose de que la pestaña de bloqueo está alineada con el orificio correspondiente del soporte.
Instale el pasador de bloqueo para sujetarlo.
Conecte el muelle que se retiró en el paso 23, que aplica presión a la parte trasera de la cubierta de la carcasa lateral.
Instale las correas de las carcasas laterales.
Instale los protectores de las correas de las carcasas laterales y fíjelos con los pasadores de seguridad.
Eleve las carcasas laterales a la posición de TRANSPORTE y sujételas con los pasadores y las chavetas.
Instale el pasador de altura de corte.
| Intervalo de mantenimiento y servicio | Procedimiento de mantenimiento |
|---|---|
| Cada 200 horas |
|
Aparque la máquina en una superficie nivelada, desengrane el mando de control de las cuchillas y ponga el freno de estacionamiento.
Pare el motor, retire la llave y espere a que se detengan todas las piezas en movimiento antes de abandonar el puesto del operador.
Retire el tapón guardapolvo de la rueda giratoria y apriete la contratuerca (Figura 88).
Apriete la contratuerca hasta que las arandelas de muelle estén planas, luego afloje ¼ de vuelta para establecer la pre-carga correcta de los cojinetes (Figura 88).
Important: Asegúrese de que las arandelas de muelle están correctamente instaladas, según se muestra en Figura 88.
Coloque el tapón anti-polvo (Figura 88).

| Intervalo de mantenimiento y servicio | Procedimiento de mantenimiento |
|---|---|
| Cada vez que se utilice o diariamente |
|
Important: No utilice agua para limpiar el motor. Utilice aire comprimido a baja presión. Consulte el manual del propietario del motor.
Aparque la máquina en una superficie nivelada, desengrane el mando de control de las cuchillas (TDF) y ponga el freno de estacionamiento.
Pare el motor, retire la llave y espere a que se detengan todas las piezas en movimiento antes de abandonar el puesto del operador.
Abra el capó.
Limpie cualquier residuo de las rejillas del capó.
Limpie alrededor del volante, la culata, los inyectores y la bomba de los inyectores.
Elimine cualquier residuo de la zona del sistema de escape.
Limpie cualquier exceso de grasa o aceite de alrededor del motor y del escape.
| Intervalo de mantenimiento y servicio | Procedimiento de mantenimiento |
|---|---|
| Cada vez que se utilice o diariamente |
|
Aparque la máquina en una superficie nivelada, desengrane el mando de control de las cuchillas (TDF) y ponga el freno de estacionamiento.
Pare el motor, retire la llave y espere a que se detengan todas las piezas en movimiento antes de abandonar el puesto del operador.
Elimine cualquier acumulación de aceite, residuos o hierba en la máquina y la carcasa de corte, sobre todo debajo de las cubiertas de las correas de la carcasa, alrededor del depósito de combustible, y alrededor del motor y del sistema de escape.
Eleve la carcasa central y las carcasas laterales. Bloquee cada carcasa lateral en posición vertical.
Elimine cualquier acumulación de hierba de la parte inferior de la carcasa y del deflector de descarga.
El aceite de motor, las baterías, el fluido hidráulico y el refrigerante del motor son contaminantes medioambientales. Elimínelos de acuerdo con la normativa estatal y local.
Apague el motor, retire la llave y espere a que se detengan todas las piezas en movimiento antes de abandonar el puesto del operador. Deje que se enfríe la máquina antes de hacer trabajos de ajuste, mantenimiento, limpieza o almacenamiento.
No guarde la máquina o el combustible cerca de llamas, y no drene el combustible dentro de un edificio o dentro de un remolque cerrado.
No guarde la máquina o un recipiente de combustible en un lugar donde pudiera haber una llama desnuda, chispas o una llama piloto, por ejemplo en un calentador de agua u otro electrodoméstico.
Desengrane el mando de control de las cuchillas (TDF) y accione el freno de estacionamiento.
Pare el motor, retire la llave y espere a que se detengan todas las piezas en movimiento antes de abandonar el puesto del operador.
Retire los recortes de hierba, la suciedad y la mugre de las piezas externas de toda la máquina, especialmente el motor y el sistema hidráulico. Limpie la suciedad y la broza de la parte exterior del alojamiento de las aletas de la culata de cilindros del motor y del soplador.
Important: La máquina puede lavarse con un detergente suave y agua. No lave la máquina a presión. Evite el uso excesivo de agua, especialmente cerca del panel de control, el motor, las bombas hidráulicas y los motores eléctricos.
Compruebe el funcionamiento del freno de estacionamiento; consulte Ajuste del freno de estacionamiento.
Revise el limpiador de aire; consulte Mantenimiento del limpiador de aire.
Engrase la máquina; consulte Lubricación.
Cambie el aceite del cárter; consulte Mantenimiento del aceite de motor.
Compruebe la presión de los neumáticos; consulte Comprobación de la presión de los neumáticos.
Cambie los filtros hidráulicos; consulte Cambio del fluido hidráulico y del filtro.
Cargue la batería; consulte Cómo cargar la batería.
Rasque cualquier acumulación importante de hierba y suciedad de los bajos del cortacésped, luego lávelo con una manguera de jardín.
Note: Haga funcionar la máquina con el mando de control de las cuchillas (TDF) engranado y el motor en ralentí alto durante 2 a 5 minutos después del lavado.
Compruebe la condición de las cuchillas; consulte Mantenimiento de las cuchillas de corte.
Prepare la máquina para su almacenamiento cuando no la vaya a utilizar durante más de 30 días. Prepare la máquina para el almacenamiento de la manera siguiente:
Agregue un estabilizador/acondicionador a base de petróleo al combustible del depósito. Siga las instrucciones de mezcla del fabricante del estabilizador. No use un estabilizador a base de alcohol (etanol o metanol).
Note: Un estabilizador/acondicionador de combustible es más eficaz cuando se mezcla con combustible fresco y se utiliza en todo momento.
Haga funcionar el motor para distribuir el combustible con acondicionador por todo el sistema de combustible durante 5 minutos.
Pare el motor, deje que se enfríe y drene el depósito de combustible.
Arranque el motor y hágalo funcionar hasta que se pare.
Deseche el combustible adecuadamente. Recicle el combustible según la normativa local.
Important: No guarde combustible que contenga estabilizador/acondicionador durante más tiempo que el recomendado por el fabricante del estabilizador de combustible.
Revise y apriete todos los pernos, tuercas y tornillos. Repare o sustituya cualquier pieza dañada.
Pinte las superficies que estén arañadas o donde esté visible el metal. Puede adquirir la pintura en su Servicio Técnico Autorizado.
Guarde la máquina en un garaje o almacén seco y limpio. Retire la llave del interruptor y guárdela fuera del alcance de niños u otros usuarios no autorizados. Cubra la máquina para protegerla y para conservarla limpia.
| Problem | Possible Cause | Corrective Action |
|---|---|---|
| El motor de arranque no se engrana. |
|
|
| El motor no arranca, arranca con dificultad, o no sigue funcionando. |
|
|
| El motor pierde potencia. |
|
|
| El motor se sobrecalienta. |
|
|
| La máquina se desvía a la derecha o a la izquierda (con las palancas de control de movimiento totalmente hacia adelante). |
|
|
| No es posible conducir la máquina. |
|
|
| La máquina vibra de manera anormal. |
|
|
| La altura de corte no es homogénea. |
|
|
| Las cuchillas no giran. |
|
|
| El embrague no se engrana. |
|
|


