Kunnossapito
Note: Koneen vasen ja oikea puoli määritellään normaalista käyttöasennosta käsin.
Vaara
Jos kone nostetaan pelkän tunkin avulla leikkuuyksikön alla työskentelyä varten, tunkki voi kaatua, jolloin koneen alla olevat henkilöt ovat vaarassa jäädä leikkuupöydän alle puristuksiin.
Tue kone aina vähintään kahdella pukilla, kun leikkuupöytä on nostettu.
Kunnossapitotaulukko
| Huoltoväli | Huoltotoimenpide |
|---|---|
| 8 ensimmäisen käyttötunnin jälkeen |
|
| 25 ensimmäisen käyttötunnin jälkeen |
|
| Aina ennen käyttöä tai päivittäin |
|
| 50 käyttötunnin välein |
|
| 100 käyttötunnin välein |
|
Voitelu
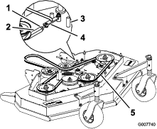
Kuva 6 esittää rasvauskohtien sijainnit koneessa.
Rasvatyyppi: litiumrasva nro 2 tai molybdeenirasva
-
Pysäköi kone tasaiselle alustalle, vapauta voimanulosotto ja kytke seisontajarru.
-
Sammuta moottori, irrota avain ja odota, että kaikki liikkuvat osat ovat pysähtyneet, ennen kuin poistut käyttäjän paikalta.
-
Puhdista rasvanipat liinalla. Raaputa rasvanippoihin mahdollisesti roiskunut maali pois.
-
Liitä voitelupistooli nippaan. Pumppaa rasvaa nippoihin, kunnes rasvaa alkaa tihkua laakereista.
-
Pyyhi pois liika rasva.
Kääntöpyörien laakerien voitelu
| Huoltoväli | Huoltotoimenpide |
|---|---|
| Aina ennen käyttöä tai päivittäin |
|
Rasvaa etupyörien laakerit ja etukarat (Kuva 6).
Leikkurin hihnan kiristinpyörän rasvaus
| Huoltoväli | Huoltotoimenpide |
|---|---|
| 50 käyttötunnin välein |
|
Rasvaa leikkurin hihnan kiristinpyörän varren nivelessä oleva nippa (Kuva 6).
Note: Irrota leikkuupöydän suojus, jotta pääset käsiksi leikkurin hihnan kiristinpyörän varren rasvanippaan.
Leikkuupöydän rasvaus
| Huoltoväli | Huoltotoimenpide |
|---|---|
| 100 käyttötunnin välein |
|
Rasvaa terän kytkennän (voimanulosotto) kulmavipu (Kuva 6).

Hihnan huolto
Hihnojen tarkistus
| Huoltoväli | Huoltotoimenpide |
|---|---|
| 50 käyttötunnin välein |
|
Kuluneen hihnan merkkejä ovat vinkuminen hihnan pyöriessä, terien luistaminen ruohoa leikattaessa, rispaantuneet reunat, palojäljet ja murtumat. Vaihda leikkurin hihna, jos jokin näistä tiloista ilmenee.
Leikkurin hihnan vaihto
-
Pysäköi kone tasaiselle alustalle, vapauta voimanulosotto ja kytke seisontajarru.
-
Sammuta moottori, irrota avain ja odota, että kaikki liikkuvat osat ovat pysähtyneet, ennen kuin poistut käyttäjän paikalta.
-
Irrota nupit ja leikkuupöydän hihnasuojus.
-
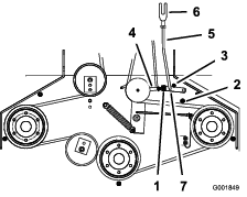
Irrota kiristinpyörä ja kulunut hihna (Kuva 7).
-
Asenna uusi leikkurin hihna.
-
Asenna kiristinpyörä.
-
Kytke teräkytkin (voimanulosotto) ja tarkista hihnan kireys; katso Leikkurin hihnan kireyden säätö.
Note: Oikea leikkurin hihnan kireys on 44–67 N, kun hihnan painuma hihnapyörien puolivälissä on 13 mm (Kuva 7).

Leikkurin hihnan kireyden säätö
Kireyden säätö
| Huoltoväli | Huoltotoimenpide |
|---|---|
| 8 ensimmäisen käyttötunnin jälkeen |
|
| 25 ensimmäisen käyttötunnin jälkeen |
|
| 50 käyttötunnin välein |
|
Important: Kun hihnan kireyttä tai jarruvivustoa säädetään, jarrua on säädettävä.
Important: Hihnan on oltava riittävän kireä, jotta se ei luista ruohon leikkauksen aikana raskaalla kuormituksella. Hihnan ylikiristäminen lyhentää karan laakerin käyttöikää, hihnan käyttöikää ja kiristinpyörän käyttöikää.
Hihnan on oltava riittävän kireä, jotta se ei luista ruohon leikkauksen aikana raskaalla kuormituksella. Ylikiristäminen lyhentää hihnan ja karan laakerin käyttöikää.
-
Pysäköi kone tasaiselle alustalle, vapauta voimanulosotto ja kytke seisontajarru.
-
Sammuta moottori, irrota avain ja odota, että kaikki liikkuvat osat ovat pysähtyneet, ennen kuin poistut käyttäjän paikalta.
-
Löysää vanttiruuvin lukkomutteria (Kuva 8).
-
Lisää hihnan kireyttä kääntämällä vanttiruuvia leikkuupöydän takaosaa kohti. Vähennä hihnan kireyttä kääntämällä vanttiruuvia leikkuupöydän etuosaa kohti (Kuva 8).
Note: Varmista, että vanttiruuvin molemmissa päissä olevat silmukkapultin kierteet ovat vähintään 8 mm kiinni.

-
Kytke voimanulosotto ja tarkasta hihnan kireys.
-
Jos vanttiruuvissa ei ole säätöä jäljellä ja hihna on yhä löysä, aseta takakiristinpyörä keskimmäiseen tai etummaiseen reikään (Kuva 9). Käytä reikää, jolla voidaan tehdä oikea säätö.
-
Kun kiristinpyörää siirretään, hihnaohjainta on siirrettävä. Siirrä hihnaohjain etuasentoon (Kuva 9).

-
Tarkista, että moottorin rungon alla oleva hihnaohjain on säädetty oikein (Kuva 10).
Note: Kun leikkurin hihna on kytkettynä, varmista, että hihnaohjaimen ja leikkurin hihnan välinen etäisyys on 19 mm (Kuva 10). Säädä leikkurin hihnaohjainta tarvittaessa. Kun ohjaimet on säädetty oikein, vapautettu hihna ei laahaa tai putoa hihnapyörästä.

-
Tarkista teräjarrun säätö; katso Teräjarrun säätö.
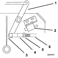
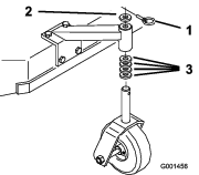
Voimanulosoton kytkentävivuston säätö
Voimanulosoton kytkentävivuston säätö sijaitsee moottorin leikkuupöydän vasemmanpuoleisen etukulman alla.
-
Pysäköi kone tasaiselle alustalle, vapauta voimanulosotto ja kytke seisontajarru.
-
Sammuta moottori, irrota avain ja odota, että kaikki liikkuvat osat ovat pysähtyneet, ennen kuin poistut käyttäjän paikalta.
-
Kytke voimanulosotto.
-
Säädä vivuston pituus niin, että kulmavivun alempi pää on lähellä mutta ei kosketa akselin kulmatukea (Kuva 11).

-
Varmista, että apuvarsi on leikkuupöydän taka-apuvarren pysäytintä vasten (Kuva 12).
-
Paina teräkytkimen nuppi (voimanulosotto) alas VAPAUTETTU-asentoon.
-
Apuvarren tulee koskettaa leikkuupöydän etuapuvarren pysäytintä. Jos se ei kosketa sitä, säädä kulmavipua niin, että se on lähempänä kulmatukea (Kuva 12).

-
Säädä apuvarren linkkiä irrottamalla sokka apuvarresta (Kuva 12).
-
Löysää haarukkapäätä vasten oleva mutteri (Kuva 11).
-
Irrota apuvarren linkki apuvarresta ja säädä pituutta kääntämällä linkkiä.
-
Asenna apuvarren linkki apuvarteen ja kiinnitä se sokalla (Kuva 12).
-
Tarkista, osuuko apuvarsi oikein pysäyttimiä vasten.
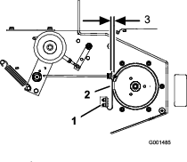
Voimanulosoton turvakytkimen säätö
-
Pysäköi kone tasaiselle alustalle, vapauta voimanulosotto ja kytke seisontajarru.
-
Sammuta moottori, irrota avain ja odota, että kaikki liikkuvat osat ovat pysähtyneet, ennen kuin poistut käyttäjän paikalta.
-
Vapauta voimanulosotto. Varmista, että apuvarsi on etuapuvarren pysäytintä vasten.
-
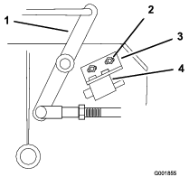
Säädä terän turvakytkintä tarvittaessa löysäämällä pultteja, joilla kytkimen kannatin on kiinnitetty (Kuva 13).
-
Siirrä asennuskannatinta, kunnes kulmavipu painaa mäntää 6 mm.
Varmista, että kulmavipu ei kosketa kytkimen runkoa, jotta kytkin ei vaurioidu (Kuva 13).
-
Kiristä kytkimen asennuskannatin.

Leikkuupöydän huolto
Terien turvallinen käyttö
Kulunut tai vaurioitunut terä voi rikkoutua ja pala voi sinkoutua käyttäjää tai ohikulkijaa päin, mikä voi aiheuttaa vakavan henkilövahingon tai kuoleman.
-
Terät on tarkistettava säännöllisesti liiallisen kulumisen ja vaurioiden varalta.
-
Ole varovainen, kun tarkastat teriä. Käytä käsineitä ja noudata varovaisuutta keloja huoltaessasi. Terät on vaihdettava; niitä ei saa suoristaa eikä hitsata.
-
Ole varovainen käsitellessäsi moniteräisiä koneita, sillä yhden terän kääntäminen saattaa kääntää myös muita teriä.
Leikkuuterien huolto
Terät on pidettävä terävinä, jotta leikkausjälki pysyy ensiluokkaisena. Jotta terien teroitus ja vaihto kävisi vaivattomasti, on hyvä pitää vaihtoteriä saatavilla.
Ennen terien tarkastusta tai huoltoa
-
Pysäköi kone tasaiselle alustalle, vapauta voimanulosotto ja kytke seisontajarru.
-
Sammuta moottori, irrota virta-avain ja irrota sytytystulppien johdot sytytystulpista.
Terien tarkastus
| Huoltoväli | Huoltotoimenpide |
|---|---|
| Aina ennen käyttöä tai päivittäin |
|
-
Tarkasta leikkuusärmät (Kuva 14).
-
Jos särmät eivät ole teräviä tai niissä on lovia, irrota terä ja teroita se. Katso kohta Terien teroitus.
-
Tarkasta terät, etenkin kupera alue.
-
Jos havaitset vähäisiäkään murtumisen, kulumisen tai urautumisen merkkejä tällä alueella, asenna uusi terä välittömästi (Kuva 14).

Taipuneiden terien tarkistus
-
Käännä teriä, kunnes päät osoittavat eteen- ja taaksepäin.
-
Mittaa vaakasuorasta pinnasta leikkuuterän leikkuusärmään (asento A) (Kuva 15).

-
Käännä terien vastakkaiset päät osoittamaan eteenpäin.
-
Mittaa vaakasuoralta pinnalta leikkuuterien leikkuusärmään samasta kohdasta kuin edellä vaiheessa 2.
Note: Vaiheiden 2 ja 4 välisten mittojen ero ei saa olla yli 3 mm.
Note: Jos ero on yli 3 mm, terä on vaihdettava, koska se on taipunut.
Terien irrotus
Vaihda terät, jos osut kiinteään esineeseen tai terät ovat epätasapainossa tai taipuneita. Käytä aina aitoja Toro-vaihtoteriä koneen parhaan suorituskyvyn ja turvallisuuden varmistamiseksi. Muiden valmistajien vaihtoterien käyttö saattaa aiheuttaa sen, että kone ei ole enää turvallisuusstandardien mukainen.
-
Pidä teräpulttia paikallaan kiintoavaimella.
-
Irrota mutteri, teräpultti, jousialuslaatta, terä, välikappaleet ja ohut aluslaatta karasta (Kuva 16).

Terien teroitus
-
Viilaa leikkuusärmä teräväksi terän molemmista päistä (Kuva 17).
Note: Säilytä alkuperäinen kulma.
Note: Terä säilyttää tasapainonsa, kun molemmista leikkuusärmistä poistetaan materiaalia yhtä paljon.

-
Tarkista terän tasapaino asettamalla se terän tasaimeen (Kuva 18).
Note: Jos terä pysyy vaaka-asennossa, se on tasapainossa ja sitä voidaan käyttää.
Note: Jos terä ei ole tasapainossa, viilaa sitä vähän vain siipialueelta (Kuva 17).

-
Toista, kunnes terä on tasapainossa.
Terien asennus
-
Asenna pultti, jousialuslaatta ja terä. Valitse oikea määrä välikappaleita leikkuukorkeudelle ja liu’uta pultti karaan (Kuva 16).
Important: Terän kaarevan puolen on osoitettava ylöspäin leikkuupöydän sisäpuolta kohti, jotta leikkuujäljestä tulee kunnollinen.
-
Asenna jäljellä olevat välikappaleet ja kiinnitä ne ohuella aluslaatalla ja mutterilla (Kuva 16).
-
Kiristä teräpultti momenttiin 75–80 N·m.
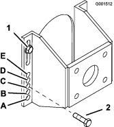
Teräjarrun säätö
-
Pysäköi kone tasaiselle alustalle, vapauta voimanulosotto ja kytke seisontajarru.
-
Sammuta moottori, irrota avain ja odota, että kaikki liikkuvat osat ovat pysähtyneet, ennen kuin poistut käyttäjän paikalta.
-
Säädä tarvittaessa jousen kiinnityspultteja niin, että teräjarrupala hankaa hihnapyörän uran molempia puolia vasten (Kuva 19).
-
Säädä terän jarrutangon päässä olevaa mutteria, kunnes mutterin ja välikappaleen välillä on 3–5 mm (Kuva 19).
-
Kytke terät. Varmista, että teräjarrupala ei enää kosketa hihnapyörän uraa.






