Underhåll
Note: Vänster och höger sida på maskinen är lika med förarens vänstra respektive högra sida vid normal körning.
Varning
Om du bara använder en domkraft för att lyfta upp maskinen när du ska arbeta under klippenhet kan domkraften välta och klippdäcket falla ned och krossa dig eller kringstående.
Säkra alltid maskinen med åtminstone två pallbockar när du lyfter upp klippdäcket.
Rekommenderat underhåll
| Underhållsintervall | Underhållsförfarande |
|---|---|
| Efter de första 8 timmarna |
|
| Efter de första 25 timmarna |
|
| Varje användning eller dagligen |
|
| Var 50:e timme |
|
| Var 100:e timme |
|
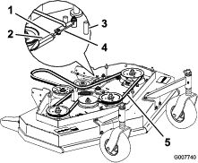
Smörjning
Använd Figur 6 för att lokalisera smörjpunkterna på maskinen.
Typ av fett: litium- eller molybdenfett nr 2
-
Ställ maskinen på ett plant underlag, koppla ur kraftuttaget och koppla in parkeringsbromsen.
-
Stäng av motorn, ta ut nyckeln och vänta tills alla rörliga delar har stannat innan du kliver ur förarsätet.
-
Torka av smörjnipplarna med en trasa. Skrapa av eventuell färg från nipplarnas framändar.
-
Sätt på en fettspruta på nippeln. Pumpa in fett i nipplarna tills det börjar tränga ut ur lagren.
-
Torka bort överflödigt fett.
Smörja lagren i svänghjulen och vanliga hjulen
| Underhållsintervall | Underhållsförfarande |
|---|---|
| Varje användning eller dagligen |
|
Smörj framhjulslagren och de främre spindlarna (Figur 6).
Smörja klipparremmens mellandrev
| Underhållsintervall | Underhållsförfarande |
|---|---|
| Var 50:e timme |
|
Smörj nippeln på svängtappen på gräsklipparens mellandrevsarm (Figur 6).
Note: Avlägsna klippardäckskåpan för att komma åt smörjnippeln på klippdäckets mellandrevsarm.
Smörja klippdäcket
| Underhållsintervall | Underhållsförfarande |
|---|---|
| Var 100:e timme |
|
Smörj knivinkopplingens (kraftuttagets) vinkelhävarm (Figur 6).

Underhålla remmarna
Kontrollera remmarna.
| Underhållsintervall | Underhållsförfarande |
|---|---|
| Var 50:e timme |
|
Kontrollera om remmarna gnisslar när de roterar, knivarna slirar vid gräsklippning, remkanterna är fransiga eller om det förekommer brännmärken och sprickor eftersom det är tecken på en sliten klipparrem. Byt ut klipparremmen om något av dessa tillstånd förekommer.
Byta ut klipparremmen
-
Ställ maskinen på ett plant underlag, koppla ur kraftuttaget och koppla in parkeringsbromsen.
-
Stäng av motorn, ta ut nyckeln och vänta tills alla rörliga delar har stannat innan du kliver ur förarsätet.
-
Avlägsna vreden och remskyddet från klippdäcket.
-
Ta bort mellandrevet och den slitna remmen (Figur 7).
-
Montera en ny klipparrem.
-
Montera mellandrevet.
-
Koppla in spaken till knivreglaget (kraftuttaget) och kontrollera remspänningen. Se Justera klipparremspänningen.
Note: Klipparens korrekta remspänning är 44–67 N med en remnedböjning på 13 mm halvvägs mellan remskivorna (Figur 7).

Justera klipparremspänningen
Justera spänningen
| Underhållsintervall | Underhållsförfarande |
|---|---|
| Efter de första 8 timmarna |
|
| Efter de första 25 timmarna |
|
| Var 50:e timme |
|
Important: När remspänningen eller bromslänkarna justeras behöver bromsen justeras.
Important: Remmen måste vara tillräckligt spänd för att inte slira under hård belastning i samband med gräsklippning. Om remmens spänns för hårt slits spindellagret, remmen och mellandrevet ut i förtid.
Remmen måste vara tillräckligt spänd för att inte slira under hård belastning i samband med gräsklippning, men inte för hårt spänd eftersom det gör att remmen och spindellagret slits ut i förtid.
-
Ställ maskinen på ett plant underlag, koppla ur kraftuttaget och koppla in parkeringsbromsen.
-
Stäng av motorn, ta ut nyckeln och vänta tills alla rörliga delar har stannat innan du kliver ur förarsätet.
-
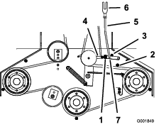
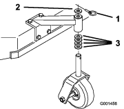
Lossa låsmuttern på spännmuttern (Figur 8).
-
Vrid spännmuttern mot klippdäckets bakände för att öka remspänningen. Vrid spännmuttern mot klippdäckets framände för att minska remspänningen (Figur 8).
Note: Se till att ögonbultens gängor i bägge ändar av spännmuttern griper in minst 8 mm.

-
Koppla in kraftuttaget och kontrollera remspänningen.
-
Om spännmuttern inte kan justeras ytterligare och remmen fortfarande är slack måste det bakre mellandrevet flyttas till mitthålet eller det främre hålet (Figur 9). Använd det hål som ger rätt justering.
-
När mellandrevet flyttas måste även remstyrningen flyttas. Flytta remstyrningen till det främre läget (Figur 9).

-
Kontrollera remstyrningen under motorramen med avseende på korrekt justering (Figur 10).
Note: När klipparremmen kopplas in ska avståndet mellan remstyrningen och klipparremmen vara 19 mm (Figur 10). Justera klipparens remstyrning efter behov. Den frånkopplade remmen ska inte slacka eller falla av remskivan när styrningarna är korrekt justerade.

-
Kontrollera knivbromsens justering, se Justera knivbromsen.
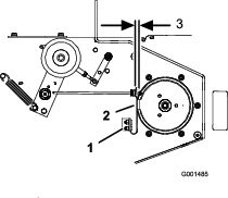
Justera kraftuttagets inkopplingslänkar
Kraftuttagets inkopplingslänk sitter under det främre nedre vänstra hörnet av motordäcket.
-
Ställ maskinen på ett plant underlag, koppla ur kraftuttaget och koppla in parkeringsbromsen.
-
Stäng av motorn, ta ut nyckeln och vänta tills alla rörliga delar har stannat innan du kliver ur förarsätet.
-
Aktivera kraftuttaget.
-
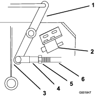
Justera länkens längd så att den nedre vinkelhävarmen precis går fri från axelns stödvinkel (Figur 11).

-
Se till att stödarmen ligger an mot det bakre stödarmsanslaget på klippdäcket (Figur 12).
-
Tryck ned knivreglageratten (kraftuttaget) till URKOPPLAT LäGE.
-
Stödarmen ska ligga an mot det främre stödarmsanslaget på däcket. Om den inte ligger an justerar du vinkelhävarmen så att den ligger närmare stödvinkeln (Figur 12).

-
Justera stödarmslänken genom att avlägsna hårnålssprinten från stödarmen (Figur 12).
-
Lossa muttern mot oket (Figur 11).
-
Avlägsna stödarmslänken från stödarmen och rotera länken för att justera längden.
-
Montera stödarmslänken i stödarmen och fäst den med hårnålssprinten (Figur 12).
-
Kontrollera att stödarmen slår emot anslagen korrekt.
Justera kraftuttagets säkerhetsbrytare
-
Ställ maskinen på ett plant underlag, koppla ur kraftuttaget och koppla in parkeringsbromsen.
-
Stäng av motorn, ta ut nyckeln och vänta tills alla rörliga delar har stannat innan du kliver ur förarsätet.
-
Koppla ur kraftuttaget. Se till att stödarmen ligger an mot det främre stödarmsanslaget.
-
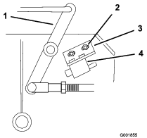
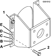
Justera vid behov knivsäkerhetsbrytaren genom att lossa skruvarna som håller brytarfästet på plats (Figur 13).
-
Flytta monteringsfästet tills vinkelhävarmen trycker ned kolven 6 mm.
Kontrollera att vinkelhävarmen inte vidrör brytarstommen eftersom det kan skada brytaren (Figur 13).
-
Dra åt brytarens monteringsfäste.

Klippdäcksunderhåll
Knivsäkerhet
En sliten eller skadad kniv kan gå sönder, och den trasiga delen kan slungas ut mot dig eller någon kringstående, vilket kan leda till allvarliga personskador och innebära livsfara.
-
Kontrollera om knivarna är slitna eller skadade med jämna mellanrum.
-
Var försiktig när du kontrollerar knivarna. Använd skyddshandskar och var försiktig när du utför underhåll på cylindrarna. Knivarna får endast bytas ut – de får aldrig rätas ut eller svetsas.
-
Var försiktig när en kniv roteras på maskiner med flera knivar, eftersom den kan få även andra knivar att börja rotera.
Serva knivarna
För bästa klippresultat ska knivarna hållas vassa. Ha extraknivar till hands för att lätt kunna slipa och byta ut dem.
Gör följande innan du kontrollerar eller servar knivarna
-
Ställ maskinen på ett plant underlag, koppla ur kraftuttaget och koppla in parkeringsbromsen.
-
Stäng av motorn, ta ut nyckeln och koppla bort tändkablarna från tändstiften.
Kontrollera knivarna
| Underhållsintervall | Underhållsförfarande |
|---|---|
| Varje användning eller dagligen |
|
-
Kontrollera eggarna (Figur 14).
-
Ta bort kniven och slipa den om eggarna är slöa eller har fått hack, se Slipa knivarna.
-
Kontrollera knivarna, särskilt den böjda delen.
-
Montera omedelbart en ny kniv om du upptäcker sprickor, slitage eller spårbildning i detta område (Figur 14).

Kontrollera om knivarna är böjda
-
Rotera knivarna tills ändarna är riktade framåt och bakåt.
-
Mät från ett jämnt underlag till eggen, läge A, på knivarna (Figur 15).

-
Rotera knivarnas motsatta ändar framåt.
-
Mät från ett jämnt underlag till knivarnas egg vid samma punkt som i steg 2 ovan.
Note: Skillnaden mellan måtten i steg 2 och 4 får inte överstiga 3 mm.
Note: Om detta mått överstiger 3 mm är kniven böjd och måste bytas ut.
Demontera knivarna
Byt knivarna om de har slagit i ett hårt föremål eller om de är obalanserade eller böjda. Använd alltid Toros originalknivar för att försäkra bästa möjliga prestanda och även fortsättningsvis hålla maskinen säker. Om du använder ersättningsknivar från andra tillverkare kan det resultera i att maskinen inte uppfyller gällande säkerhetsstandarder.
-
Håll fast knivbulten med en skiftnyckel.
-
Avlägsna muttern, knivbulten, den böjda brickan, kniven, distansbrickorna och den tunna brickan från spindeln (Figur 16).

Slipa knivarna
-
Slipa eggarna i båda ändar av kniven med en fil (Figur 17).
Note: Bibehåll ursprungsvinkeln.
Note: Kniven behåller balanseringen om samma mängd material avlägsnas från båda eggarna.

-
Kontrollera knivens balans med hjälp av en knivbalanserare (Figur 18).
Note: Om kniven stannar kvar i ett horisontellt läge är den i balans och kan användas.
Note: Om kniven inte är balanserad kan du fila bort lite metall från knivens segeldel (Figur 17).

-
Upprepa förfarandet tills kniven är balanserad.
Montera knivarna
-
Montera bulten, den böjda brickan och kniven. Välj lämpligt antal distansbrickor för klipphöjd och för in bulten i spindeln (Figur 16).
Important: Knivens böjda del måste alltid peka uppåt, mot klippdäckets insida, för ordentlig klippning.
-
Montera den eller de återstående distansbrickorna och säkra dem med en tunn bricka och en mutter (Figur 16).
-
Dra åt knivskruven till 75–80 Nm.
Justera knivbromsen
-
Ställ maskinen på ett plant underlag, koppla ur kraftuttaget och koppla in parkeringsbromsen.
-
Stäng av motorn, ta ut nyckeln och vänta tills alla rörliga delar har stannat innan du kliver ur förarsätet.
-
Justera om nödvändigt fjäderns fästbultar så att knivbromsbelägget ligger an mot båda sidor av remskivans spår (Figur 19).
-
Justera muttern i änden av knivbromsstången tills det är ett avstånd på 3–5 mm mellan muttern och distansbrickan (Figur 19).
-
Koppla in knivarna. Se till att knivbromsbelägget inte längre vidrör remskivans spår.






