De handsproeier is bedoeld als werktuig voor gazonsproeiers en voor gebruik door professionele bestuurders en voor commerciële toepassingen. Het systeem is met name ontworpen voor sproeien op goed onderhouden gazons in parken, golfbanen en sportvelden.
U kunt op www.Toro.com rechtstreeks contact met Toro opnemen om informatie over productveiligheid en accessoires of instructiemateriaal voor gebruikers te verkrijgen, een verkoper te vinden of uw product te registreren.
Controleer of er geen vloeistof in de machine zit. Als er chemische stoffen zijn gebruikt in de machine, moet u het systeem grondig spoelen met schoon water en het water daarna aftappen; raadpleeg de Gebruikershandleiding van de machine voor instructies.
Maak de minkabel van de accu los van de minpool van de accu.
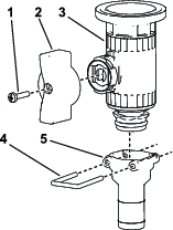
Benodigde onderdelen voor deze stap:
| Haak voor slang | 1 |
| Flensborgmoer (⅜") | 4 |
| Flensborgmoer (5/16") | 4 |
| Slotbout (⅜" x ¾") | 4 |
| Slotbout (5/16" x 1") | 4 |
| R-klem | 2 |
| Spuitpistoolbeugel | 1 |
Benodigde onderdelen voor deze stap:
| Vrouwelijke dop | 2 |
| Afsluitklep | 2 |
Verwijder de borgclip waarmee de actuator bevestigd is aan de verdelerklep voor de spuitboomklep of de mengklep.
Note: Knijp de 2 pennen van de borgclip samen terwijl u deze naar beneden drukt.
Note: Bewaar de actuator en de borgclip.

Verwijder de actuator uit de verdelerklep.
Verwijder de borgclips van de constructie voor het aanpassen/omleiden, de dop en de fitting en slang zoals wordt getoond in Figuur 4.
Note: U zult de dop niet gebruiken, maar bewaar de O-ring van de dop.

Draai de constructie voor het aanpassen/omleiden 180 graden zoals wordt getoond in Figuur 5.

Monteer de constructie voor het aanpassen/omleiden, de vrouwelijke dop, de O-ringen, de afsluitklep en de fitting en slang met behulp van de borgclips die u eerder hebt verwijderd, zoals wordt getoond in Figuur 6.

Verwijder de dop aan het uiteinde van het verdeelstuk en vervang hem door een vrouwelijke dop. Bevestig de dop met de borgclip.

Verwijder de borgclip waarmee de slang aan het uiteinde van het verdeelstuk is bevestigd.

Monteer de afsluitklep op de slang en de machine. Bevestig ze met de borgclips.

Benodigde onderdelen voor deze stap:
| Raadpleeg de tabel met onderdelen | 0 |
| Onderdeel | 5800 | 1750 | Workman | |||||
|---|---|---|---|---|---|---|---|---|
| Aantal | 2023 en eerder | 2024 en later zonder GeoLink | 2024 en later met GeoLink | 2023 en eerder | 2024 en later zonder GeoLink | 2024 en later met GeoLink | 2023 en eerder | 2024 en later |
| Regelklep | 1 | 1 | 1 | 1 | 1 | |||
| Regelklep (met flensdop) | 1 | 1 | 1 | |||||
| Vleugelhendel van regelklep | 1 | 1 | 1 | 1 | 1 | 1 | 1 | 1 |
| Rechte fitting | 1 | 1 | 1 | 1 | 1 | 1 | 1 | 1 |
| Klepbevestiging | 1 | 1 | 1 | 2 | 2 | 2 | ||
| Beugel van regelklep(2023) | 1 | |||||||
| Beugel van regelklep (met opening) | 1 | 1 | ||||||
| Beugel van regelklep(geen opening) | 1 | 1 | 1 | |||||
| Afsluitklep | 1 | 1 | 2 | 1 | 1 | |||
| Elleboogfitting van 90° | 1 | 1 | ||||||
| T-fitting | 1 | |||||||
| T-fitting van verdeelstuk | 1 | 1 | 1 | 1 | ||||
| Pakkingklem | 1 | 1 | 1 | |||||
| Bout (M6 X 12 mm) | 4 | 8 | 4 | 8 | 8 | 8 | ||
| Slotbout (¼-20" x ⅝") | 2 | 2 | ||||||
| Bout met zeskantige kop (¼-20" x ⅝") | 4 | 2 | 2 | |||||
| Borgmoer (¼") | 4 | 2 | 2 | 2 | 2 | |||
Monteer de groene vleugelhendel en de rechte fitting op de regelklep.

Verwijder de flensklem waarmee de dop en de koppeling bevestigd zijn aan de drukmeterpoort.

Verwijder de koppeling uit de dop.
Plaats de regelklep.
Monteer de koppeling in de open poort op de 90º-fitting.
Note: De poort in de zijkant van de 90°-fitting voor de Multi Pro 1750 en Multi Pro WM bevindt zich aan de voorzijde (niet afgebeeld) van de fitting.
Sluit de toevoerslang van de slanghaspel met een slangklem aan op de regelklep.
Maak de stekker met 3 contacten van de drukomzetter los.

Verwijder de flensklem waarmee de drukomzetter aan de 90°-fitting is bevestigd, en verwijder de drukomzetter, pakking en flensklem.

Verwijder de flensklem waarmee de 90°-fitting aan de 90°-fitting met een aansluiting voor de sensorbuis is bevestigd, en verwijder de 90°-fitting, pakking en flensklem.
Monteer de klepbevestiging op de regelklep; zie A in Figuur 14.

Monteer de klepbevestiging op de regelklep; gebruik hierbij de flenskopschroef en draai de schroef handmatig aan (B van Figuur 14).
Monteer de klepbevestiging op de beugel van de regelklep; gebruik hierbij de 4 bouten (6 x 12 mm) en 4 platte ringen; draai de bouten aan met een torsie van 10 tot 12 N·m.

Lijn de flens van de T-fitting uit met de flens van de regelklep.

Bevestig de T-fitting losjes aan de regelklep met een pakking en flensklem.
Lijn de flens van de drukomzetter uit met de flens van de T-fitting.

Monteer de drukomzetter op de T-fitting; gebruik hierbij een pakking en een flensklem, en draai de klem handmatig aan (Figuur 17).
Lijn de flens van de T-fitting uit met de flens van de 90°-fitting met een aansluiting voor de sensorbuis.

Bevestig de T-fitting en de 90°-fitting losjes met een pakking en een flensklem.
Note: Draai de beugel van de regelklep indien nodig om deze uit te lijnen met het oppervlak van de klepbevestiging.
Gebruik de beugel van de regelklep als sjabloon om de plaats af te tekenen van de gaten in de beugel op het oppervlak van de bevestigingsbeugel van het verdeelstuk.

Verwijder de klem, pakking en T-fitting met de flens van de 90°-fitting met een aansluiting voor de sensorbuis.
Maak met een centerpons gaten op de markeringen die u in stap 3 gemaakt hebt op de bevestigingsbeugel van het verdeelstuk.
Boor de 4 gaten die u in stap 5 gemaakt hebt in de bevestigingsbeugel van het verdeelstuk uit met een bit van 6 mm.

Lijn de flens van de T-fitting uit met de flens van de 90°-fitting met een aansluiting voor de sensorbuis.

Bevestig de T-fitting en de 90°-fitting losjes met een pakking en een flensklem.
Monteer de beugel van de regelklep op de bevestiging van het verdeelstuk; gebruik hierbij 4 bouten met zeskantige kop (¼" x ⅝") en 4 flensborgmoeren (6 mm); draai de bouten aan met een torsie van 10 tot 12 N·m.
Draai handmatig de flensklem aan waarmee de regelklep en de T-fitting bevestigd zijn, alsook de flensklem waarmee de T-fitting bevestigd is aan de 90°-fitting met een aansluiting voor de sensorbuis.
Sluit de stekker met 3 contacten van de drukomzetter aan.

Bevestig de regelklep aan de beugel met 4 bouten (M6)

Verwijder het aanwezige bevestigingsmateriaal zoals wordt getoond in Figuur 26.

Bevestig de beugel met het aanwezige bevestigingsmateriaal aan de machine.

Bevestig de bovenkant van de beugel met 4 bouten (M6).

De T-fitting van het verdeelstuk op de regelklep monteren.

Bevestig de regelklep op de beugel met 4 bouten (M6).

Monteer de klepbevestiging op de afsluitklep en bevestig deze aan de beugel met 4 bouten (M6).




Benodigde onderdelen voor deze stap:
| Spuitpistool | 1 |
| Rechte slangpilaar | 1 |
| Slangklem | 2 |
| Slang | 1 |
Note: Gebruik PTFE-tape om de tapse pijpdraadfittings af te dichten.
Koppel de rechte, geribde fitting met een slangklem aan op het vrije uiteinde van de toevoerslang van de slanghaspel.

Zet het uiteinde van de slang op de regelklep vast met een slangklem.

Wikkel het overtollige eind van de slang om de haak van de tank en plaats het spuitpistool in de beugel.
Sluit de minkabel van de accu aan op de accu.
Kalibreer de constructie voor het aanpassen/omleiden; raadpleeg de Gebruikershandleiding van uw machine.
Hydraulische vloeistof die onder druk staat, kan door de huid heen dringen en letsel veroorzaken.
Houd uw lichaam en handen uit de buurt van spuitmonden waaruit onder hoge druk vloeistof ontsnapt.
Richt de spuitmachine nooit op mensen of dieren.
Controleer of alle vloeistofslangen en leidingen in goede staat verkeren en alle aansluitingen en verbindingsstukken stevig vastzitten voordat u druk zet op het systeem.
U kunt lekken opsporen met behulp van karton of papier.
Voer alle druk in het systeem veilig af voordat u hieraan werkzaamheden gaat verrichten.
Waarschuw onmiddellijk een arts als er hydraulische vloeistof is geïnjecteerd in de huid.
Hete vloeistoffen en chemicaliën kunnen brandwonden of ander letsel veroorzaken.
Important: In sommige omstandigheden kan de hitte van de motor, de radiateur en de geluiddemper schade toebrengen aan het gras als de spuitmachine wordt gebruikt in een stationaire stand. De machine loopt stationair als u de spuitvloeistof in de tank mengt, handmatig spuit of een loopspuitboom gebruikt.
Neem de volgende voorzorgsmaatregelen:
Spuit nooit in een stationaire stand bij zeer hete en/of droge omstandigheden of als het gazon tijdens deze perioden meer te lijden kan hebben.
Parkeer nooit op het gazon als u spuit in de stationaire stand. Parkeer op een pad als dit mogelijk is.
Beperk zoveel mogelijk de tijd dat u de machine in de stationaire stand op een bepaald stuk van het gazon laat staan. Zowel de tijd als de temperatuur is van invloed op de mate waarin het gras wordt beschadigd.
Stel het motortoerental zo laag mogelijk af om de gewenste druk en stroom te verkrijgen. Dit beperkt de hitte die wordt ontwikkeld en de snelheid van de lucht die koelventilator voortbrengt.
Laat de hitte naar boven ontsnappen vanuit het motorcompartiment door het motorscherm/de stoel omhoog te zetten als de machine wordt gebruikt in de stationaire stand, zodat de hitte niet via de onderkant van de machine wordt afgevoerd. Raadpleeg de Gebruikershandleiding voor meer informatie over hoe u de stoel omhoog moet zetten.
Note: Leg een hittewerende deken onder de machine tijdens gebruik in de stationaire stand als extra bescherming tegen de hitte is gewenst. Neem contact op met een erkende Toro-dealer voor een hittewerende deken voor gazonspuitmachines van Toro.
Breng de machine tot stilstand, schakel de spuitbomen uit en stel de parkeerrem in werking.
Als u handmatig spuit terwijl u met de machine rijdt, bestaat de kans dat u de controle over de machine verliest. Dit kan lichamelijk of dodelijk letsel veroorzaken. Spuit daarom niet handmatig als u met de machine rijdt.
Controleer aan de achterkant van de machine of de trekkervergrendeling van het spuitpistool ingeschakeld is.
Draai de groene handgreep op de regelklep 90 graden.
Op de bestuurdersstoel schakelt u de pomp in werking.
Zet de hoofdspuitboom in de stand AAN.
Stel de motor in op het gewenste toerental en stel de toerentalvergrendeling van de neutraalstand in werking.
Important: Gebruik geen druk hoger dan 10,34 bar voor het spuitpistool.
Draai de groene handgreep op de regelklep 90 graden.
Richt het spuitpistool op een gebied waar u veilig kunt spuiten, ontgrendel de trekker en haal de trekker over totdat er helemaal geen spuitvloeistof meer in de slang zit. Vergrendel daarna de trekker.
Zet het spuitpistool terug in de houder.
Laat de motor opnieuw vrijlopen.
Zet de pomp af.
Important: Spoel het spuitpistool met schoon water bij de dagelijkse schoonmaakbeurt (raadpleeg de Gebruikershandleiding van de sproeier). Als u het spuitpistool niet naar behoren reinigt, kan dat een nadelig effect hebben op de prestaties en de duurzaamheid van het spuitpistool.
Gebruik de gebruiksdosisregelaar om de gewenste spuitdruk in te stellen.