Der Handsprühstab ist ein ausschließlich für ein Sprühgerät gedachtes Anbaugerät und sollte nur von geschulten Lohnarbeitern in gewerblichen Anwendungen eingesetzt werden. Es ist hauptsächlich für das Sprühen von Gras auf gepflegten Grünflächen in Parkanlagen, Golfplätzen, Sportplätzen und öffentlichen Anlagen gedacht.
Wenden Sie sich hinsichtlich Informationen zu Produkten und Zubehör sowie Angaben zu Ihrem örtlichen Vertragshändler oder zur Registrierung des Produktes direkt an Toro unter www.Toro.com.
Stellen Sie sicher, dass die Maschine keine Flüssigkeiten enthält. Wenn Chemikalien in der Maschine verwendet wurden, spülen Sie die Anlage gründlich mit sauberem Wasser durch, lassen Sie das Wasser dann ab. Weitere Anweisungen finden Sie in der Bedienungsanleitung des Fahrzeugs.
Klemmen Sie das Minuskabel vom Batteriepol ab.
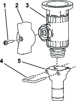
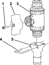
Für diesen Arbeitsschritt erforderliche Teile:
| Schlauchhaken | 1 |
| Sicherungsbundmutter (⅜") | 4 |
| Sicherungsbundmutter (5/16") | 4 |
| Schlossschraube (⅜" x ¾") | 4 |
| Schlossschraube (5/16" x 1") | 4 |
| R-Klemme | 2 |
| Spritzpistolenhalterung | 1 |
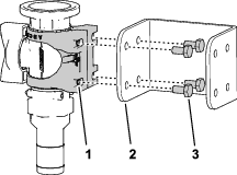
Für diesen Arbeitsschritt erforderliche Teile:
| Blinddeckel | 2 |
| Abstellventil | 2 |
Entfernen Sie den Halter, mit dem der Aktuator am Verteilerventil für das Abschnittventil oder das Rührwerkventil befestigt ist.
Note: Drücken Sie die zwei Schenkel des Halters zusammen und nach unten.
Note: Bewahren Sie den Aktuator und den Halter auf.

Nehmen Sie den Aktuator vom Verteilerventil ab.
Entfernen Sie die Halter, mit denen die Teile zur Einstellung des Überstromventils, die Abschlusskappe und das Anschlussstück sowie die Schlauchleitung befestigt sind, wie in Bild 4 abgebildet.
Note: Die Endkappe wird nicht eingesetzt, bewahren Sie den O-Ring auf der Kappe jedoch auf.

Drehen Sie die Baugruppe zur Einstellung des Überstromventils um 180 Grad, wie in Bild 5 abgebildet.

Befestigen Sie die Teile zur Einstellung des Überstromventils, den Blinddeckel, die O-Ringe, das Abstellventil und das Anschlussstück sowie den Schlauch mit den zuvor entfernten Haltern, wie in Bild 6 abgebildet.

Entfernen Sie die Endkappe am Ende des Verteilerventils und ersetzen Sie diese mit einem Blinddeckel. Sichern Sie die Kappe mit dem Halter.

Entfernen Sie den Halter, mit welcher der Schlauch am Ende des Verteilers befestigt ist.

Installieren Sie das Abstellventil an Schlauch und Maschine. Sichern Sie es mit den Haltern.

Für diesen Arbeitsschritt erforderliche Teile:
| Siehe die Teiletabelle | 0 |
| Teil | 5800 | 1750 | Workman | |||||
|---|---|---|---|---|---|---|---|---|
| Menge | Bis Baujahr 2023 | Ab Baujahr 2024 ohne GeoLink | Ab Baujahr 2024 mit GeoLink | Bis Baujahr 2023 | Ab Baujahr 2024 ohne GeoLink | Ab Baujahr 2024 mit GeoLink | Bis Baujahr 2023 | Ab Baujahr 2024 |
| Regelventil | 1 | 1 | 1 | 1 | 1 | |||
| Regelventil (mit Flanschendkappe) | 1 | 1 | 1 | |||||
| Flügelgriff des Regelventils | 1 | 1 | 1 | 1 | 1 | 1 | 1 | 1 |
| Gerades Anschlussstück | 1 | 1 | 1 | 1 | 1 | 1 | 1 | 1 |
| Ventilbefestigung | 1 | 1 | 1 | 2 | 2 | 2 | ||
| Regelventilhalterung (2023) | 1 | |||||||
| Regelventilhalterung (mit Bohrung) | 1 | 1 | ||||||
| Regelventilhalterung(Keine Bohrung) | 1 | 1 | 1 | |||||
| Kraftstoffhahn | 1 | 1 | 2 | 1 | 1 | |||
| 90-Grad-Winkelverschraubung | 1 | 1 | ||||||
| T-Anschlussstück | 1 | |||||||
| Verteiler-T-Stück | 1 | 1 | 1 | 1 | ||||
| Dichtungsklemme | 1 | 1 | 1 | |||||
| Schraube (M6 x 12 mm) | 4 | 8 | 4 | 8 | 8 | 8 | ||
| Schlossschraube (¼-20 x ⅝") | 2 | 2 | ||||||
| Sechskantschraube (¼-20 x ⅝") | 4 | 2 | 2 | |||||
| Sicherungsmutter (1/4") | 4 | 2 | 2 | 2 | 2 | |||
Montieren Sie den grünen Flügelgriff und das gerade Anschlussstück an das Regelventil.

Entfernen Sie die Flanschklemme, mit denen die Endkappe und die Kupplung an der Druckmanometer-Anschlussstelle befestigt sind.

Nehmen Sie die Kupplung von der Endkappe ab.
Bauen Sie die Regelventilbaugruppe ein.
Bauen Sie die Kupplung in den offenen Anschluss am 90-Grad-Anschlussstück ein.
Note: Die Anschlussstelle in der Seite des 90-Grad-Anschlussstücks für den Multi Pro 1750 und Multi Pro WM befindet sich auf der Vorderseite des Anschlussstücks (nicht abgebildet).
Schließen Sie den Zulaufschlauch der Schlauchtrommel mit einer Schlauchklemme am Regelventil an.
Ziehen Sie den 3-Buchsen-Stecker für den Druckwandler ab.

Entfernen Sie die Flanschklemme, mit der der Druckwandler am 90°-Anschlussstück befestigt ist, und nehmen Sie den Umwandler, die Dichtung und die Flanschklemme ab.

Entfernen Sie die Flanschklemme, mit der das 90°-Anschlussstück am 90°-Anschlussstück mit einem Anschluss für den Messschlauch befestigt ist, und nehmen Sie das 90°-Anschlussstück, die Dichtung und die Flanschklemme ab.
Befestigen Sie die Ventilhalterung am Regelventil, wie in A in Bild 14 abgebildet.

Befestigen Sie die Ventilbefestigung mit dem Bundbolzen (Nr. 6) am Regelventil und ziehen es mit der Hand an (B in Bild 14).
Befestigen Sie die Ventilbefestigung mit den vier Schrauben (6 mm x 12 mm) und vier Flachscheiben an der Regelventilhalterung; ziehen Sie die Schrauben mit 10–12 N·m an.

Fluchten Sie den Flansch des T-Anschlussstücks mit dem Flansch des Regelventils aus.

Befestigen Sie das T-Anschlussstück mit einer Dichtung und einer Flanschklemme lose am Regelventil.
Fluchten Sie den Flansch des Druckwandlers mit dem Flansch des T-Anschlussstücks aus.

Befestigen Sie den Druckwandler mit einer Dichtung und Flanschklemme am T-Anschlussstück und ziehen Sie die Klemme mit der Hand an (Bild 17).
Fluchten Sie den Flansch des T-Anschlussstücks mit dem Flansch des 90°-Anschlussstücks mit einem Anschluss für den Messschlauch aus.

Befestigen Sie das T-Anschlussstück und das 90°-Anschlussstück lose mit einer Dichtung und einer Flanschklemme.
Note: Drehen Sie die Halterung des Regelventils ggf. um es bündig mit der Oberfläche der Ventilbefestigung auszufluchten.
Verwenden Sie die Halterung des Regelventils als Schablone und markieren und bohren Sie die Löcher in die Halterung auf der Oberfläche der Verteilerbefestigung.

Entfernen Sie die Klemme, Dichtung, das T-Anschlussstück mit dem Flansch vom 90°-Anschlussstück mit einem Anschluss für den Messschlauch.
Stanzen Sie die Mitte der in Schritt 3 gemachten Markierung an der Verteilerbefestigung aus.
Bohren Sie vier 6 mm (¼") große Löcher an den in Schritt 5 ausgestanzten Markierungen in die Verteilerbefestigung.

Fluchten Sie den Flansch des T-Anschlussstücks mit dem Flansch des 90°-Anschlussstücks mit einem Anschluss für den Messschlauch aus.

Befestigen Sie das T-Anschlussstück und das 90°-Anschlussstück lose mit einer Dichtung und einer Flanschklemme.
Befestigen Sie die Halterung des Regelventils mit vier Sechskantschrauben (¼" x ⅝“) und vier Sicherungsbundmuttern (6 mm) an der Verteilerbefestigung; ziehen Sie die Schrauben mit 10–12 N·m an.
Ziehen Sie die Flanschklemme, mit der das Regelventil und das T-Anschlussstück befestigt sind, und die Flanschklemme, mit der das T-Anschlussstück am 90°-Anschlussstück mit einem Anschluss für den Messschlauch befestigt ist, lose mit der Hand an.
Schließen Sie den 3-Buchsenstecker für den Druckwandler an.

Befestigen Sie die Regelventilbaugruppe an die Halterung mit 4 Schrauben (M6)

Bauen Sie die vorhandenen Schrauben aus, wie in Bild 26 dargestellt.

Befestigen Sie die Halterung an die Maschine mit den vorhandenen Schrauben.

Befestigen Sie den oberen Teil der Halterung mit 4 Schrauben (M6).

Bauen Sie das T-Anschlussstück der Verteilerbaugruppe auf das Regelventil ein.

Befestigen Sie die Baugruppe an der Halterung mit 4 Schrauben (M6).

Montieren Sie die Ventilbefestigung auf das Abstellventil und befestigen Sie diese an der Halterung mit 4 Schrauben (M6).




Für diesen Arbeitsschritt erforderliche Teile:
| Spritzpistole | 1 |
| Gezahntes, gerades Anschlussstück | 1 |
| Schlauchklemme | 2 |
| Schlauch | 1 |
Note: Dichten Sie die Rohrgewinde-Anschlussstücke mit PTFE-Band ab.
Befestigen Sie das gerade, gezahnte Anschlussstück mit einer Schlauchklemme am offenen Ende des Zulaufschlauchs der Schlauchtrommel.

Befestigen Sie das Schlauchende am Regelventil mit einer Schlauchklemme.

Wickeln Sie den Schlauch um die Haken am Behälter und bewahren Sie die Spritzpistole in der Pistolenhalterung auf.
Schließen Sie das Minuskabel an die Batterie an.
Kalibrieren Sie die Baugruppe zur Einstellung des Überstromventils. Beachten Sie hierbei die Bedienungsanleitung der Maschine.
Unter Druck austretende Flüssigkeit kann unter die Haut dringen und Verletzungen verursachen.
Halten Sie Ihren Körper und Ihre Hände von Düsen fern, aus denen Flüssigkeit unter hohem Druck ausgestoßen wird.
Richten Sie das Sprühgerät nicht auf Personen oder Tiere.
Stellen Sie sicher, dass alle Flüssigkeitsschläuche und -leitungen in gutem Zustand und Anschlüsse und Armaturen fest angezogen sind, bevor Sie die Anlage unter Druck stellen.
Gehen Sie Lecks nur mit Pappe oder Papier nach.
Lassen Sie den Druck von der Anlage ab, bevor Sie Arbeiten vornehmen.
Suchen Sie beim Einspritzen unter die Haut sofort einen Arzt auf.
Heiße Flüssigkeiten und Chemikalien können zu Verbrennungen oder Verletzungen führen.
Important: Manchmal kann die Wärme vom Motor, dem Kühler und Auspuff das Gras beschädigen, wenn Sie das Sprühfahrzeug stationär einsetzen. Stationärer Einsatz umfasst im Behälter umzurühren, die Handspritzpistole zu benutzen oder einen handgeführten Ausleger zu betätigen.
Befolgen Sie die nachstehenden Sicherheitsvorkehrungen:
Vermeiden Sie ein stationäres Sprühen, wenn es sehr heiß und/oder trocken ist, da Rasenflächen zu diesen Zeitpunkten mehr gestresst sind.
Vermeiden Sie ein Parken auf der Rasenfläche, wenn Sie stationär sprühen. Parken Sie, falls möglich, auf einem Weg.
Minimieren Sie die Dauer, für die das Gerät über einem bestimmten Bereich der Grünfläche eingeschaltet ist. Sowohl die Dauer als auch die Temperatur wirken sich darauf aus, wie stark der Rasen beschädigt ist.
Stellen Sie die Motordrehzahl so niedrig wie möglich ein, um den gewünschten Druck und Durchfluss zu erreichen. Dies verringert die Wärmeentwicklung und die Luftgeschwindigkeit des Kühllüfters.
Lassen Sie Wärme nach oben vom Motorraum entweichen, indem Sie das Motorschutzblech bzw. den Sitz während des stationären Einsatzes anheben, und dadurch die Wärme nicht unter dem Fahrzeug herausgedrückt wird. Weitere Informationen zum Hochklappen des Sitzes finden Sie in der Bedienungsanleitung.
Note: Verwenden Sie beim stationären Einsatz ein Wärmeschutzblech unter dem Fahrzeug, wenn Sie einen zusätzlichen Wärmeschutz wünschen. Ein Wärmeschutzblech für Sprühfahrzeuge erhalten Sie von Ihrem offiziellen Toro-Vertragshändler.
Halten Sie die Maschine an, schalten Sie die Ausleger ab und aktivieren Sie die Feststellbremse.
Wenn Sie fahren und die Spritzpistole einsetzen, können Sie die Kontrolle verlieren. Dies kann zu schweren oder tödlichen Verletzungen führen. Setzen Sie die Spritzpistole nicht beim Fahren ein.
Stellen Sie am Heck der Maschine sicher, dass die Abzugsperre an der Spritzpistole arretiert ist.
Drehen Sie den grünen Griff am Steuerventil um 90 Grad.
Schalten Sie an der Bedienerstellung die Pumpe ein.
Schalten Sie den Hauptausleger in die EIN-Stellung.
Stellen Sie die Motordrehzahl auf den gewünschten Wert ein und aktivieren Sie die Motorsperre für die Leerlaufgeschwindigkeit.
Important: Die Druckeinstellung sollte bei Verwendung der Spritzpistole nicht über 10,34 bar liegen.
Drehen Sie den grünen Griff am Steuerventil um 90 Grad.
Richten Sie die Spritzpistolendüse auf einen Bereich, in dem Sie sicher spritzen können. Lösen Sie die Abzugsperre und ziehen Sie am Abzug, bis die ganze Flüssigkeit aus dem Schlauch ausgetreten ist. Aktivieren Sie dann die Abzugsperre.
Stecken Sie die Spritzpistole in den Halter.
Bringen Sie den Motor wieder auf die Leerlaufgeschwindigkeit.
Stellen Sie die Pumpe ab.
Important: Stellen Sie sicher, dass Sie die Spritzpistole mit Frischwasser bei den täglichen Reinigungsarbeiten durchspülen (siehe Bedienungsanleitung des Sprühfahrzeugs). Wenn Sie die Spritzpistole nicht richtig reinigen, kann die Leistung und die Zuverlässigkeit der Spritzpistole abnehmen.
Stellen Sie den gewünschten Druck mit dem Dosierungsschalter ein.