Wartung
Empfohlener Wartungsplan
| Wartungsintervall | Wartungsmaßnahmen |
|---|---|
| Nach 10 Betriebsstunden |
|
| Nach 250 Betriebsstunden |
|
| Alle 50 Betriebsstunden |
|
| Alle 200 Betriebsstunden |
|
Warnung:
Wenn Sie den Zündschlüssel im Zündschloss stecken lassen, könnte eine andere Person den Motor versehentlich anlassen und Sie und Unbeteiligte schwer verletzen.
Ziehen Sie den Schlüssel aus dem Zündschloss, bevor Sie Wartungsarbeiten durchführen.
Schmierung
Einfetten und Schmieren der Maschine
| Wartungsintervall | Wartungsmaßnahmen |
|---|---|
| Alle 50 Betriebsstunden |
|
Note: Weitere Informationen zu den entsprechenden Schmiernippeln finden Sie in der Bedienungsanleitung Ihrer Maschine.
-
Parken Sie die Maschine auf einer ebenen Fläche, kuppeln Sie die Zapfwelle aus und aktivieren Sie die Feststellbremse.
-
Stellen Sie vor dem Verlassen des Fahrersitzes den Motor ab, ziehen den Schlüssel ab und warten, bis alle beweglichen Teile zum Stillstand gekommen sind.
-
Reinigen Sie die Schmiernippel mit einem Lappen.
Note: Kratzen Sie bei Bedarf Lack vorne von den Nippeln ab.
-
Stecken Sie eine Fettspritze auf jeden Nippel und pumpen Sie solange Fett in die Nippel, bis das Fett aus den Lagern austritt.
-
Wischen Sie überflüssiges Fett ab.
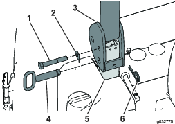
Warten der elektrischen Anlage
Important: Wenn Sie an der Elektrik arbeiten, klemmen Sie immer die Batteriekabel (zuerst das Minuskabel (-)) ab, um eine Beschädigung der elektrischen Leitungen durch Kurzschlüsse zu vermeiden.
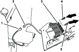
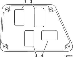
Prüfen der Sicherungen
Anweisungen für die Sicherungen finden Sie in der Bedienungsanleitung, die der Kabine beilag.
Wenn die Maschine elektrische Probleme hat, prüfen Sie die Sicherungen. Nehmen Sie jede Sicherung einzeln aus dem Sicherungskasten und prüfen Sie, ob die Sicherung offen (durchgebrannt) ist. Wenn Sie eine Sicherung ersetzen müssen, verwenden Sie immer Sicherungen desselben Typs und derselben Spannung , sonst könnte die Elektroanlage beschädigt werden.
Note: Wenn eine Sicherung oft durchbrennt, haben Sie möglicherweise einen Kurzschluss in der Elektroanlage. Sie sollten sie von einem qualifizierten Kundendienstmechaniker warten lassen.
Warten des Antriebssystems
Prüfen des Reifendrucks
| Wartungsintervall | Wartungsmaßnahmen |
|---|---|
| Alle 50 Betriebsstunden |
|
Important: Prüfen Sie den Druck in den Reifen, bevor Sie die Maschine einsetzen.
Stellen Sie sicher, dass der Reifendruck 2,41 bar ist, siehe Bild 131.
Note: Ein ungleicher Reifendruck kann zu einem Verlust des Antriebs führen. Bei einem Verlust des Antriebs kann der Reifendruck auf 3,45 bar erhöht werden, um die Kettenspannung zu erhöhen.

Kabinenwartung
Reinigung der Kabine
Important: Passen Sie in der Nähe von Kabinendichtungen und Lampen auf (Bild 132).Halten Sie bei der Verwendung eines Hochdruckreinigers das Strahlrohr mindestens 0,6 m von der Maschine entfernt. Verwenden Sie keinen Hochdruckreiniger direkt an Kabinendichtungen oder unter dem hinteren Überhang.

Reinigen der Luftfilter
| Wartungsintervall | Wartungsmaßnahmen |
|---|---|
| Nach 250 Betriebsstunden |
|
-
Nehmen Sie die Daumenschrauben und Gitter vom internen Kabinenfilter und den hinteren Kabinenfiltern ab (Bild 133 und Bild 134).


-
Blasen Sie saubere, ölfreie Druckluft durch die Filter, um sie zu reinigen.
Important: Wenn ein Filter ein Loch, Riss oder andere Schäden hat, wechseln Sie ihn aus.
-
Setzen Sie die Filter und Gitter ein und befestigen Sie diese mit den Daumenschrauben.





















































































































