តំហែទាំ
ប្រើជើងទម្រនៅពេលផ្អៀងផ្នែកកាត់
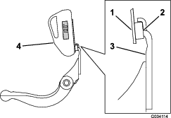
នៅពេលដែលផ្នែកកាត់ត្រូវបានផ្អៀងដើម្បីបែរមុខទៅរកឃ្លុបកាំបិត/ដុំរមូរ ត្រូវទល់ផ្នែកខាងក្រោយនៃផ្នែកកាត់ដោយប្រើជើងទម្រ (ដែលបានផ្គត់ផ្គង់ជាមួយផ្នែកទាញ) ដើម្បីធានាថាខ្ចៅនៅផ្នែកចុងខាងក្រោយនៃរបាឃ្លុបដែលលៃតម្រូវវីសមិននៅឈប់ស្ងៀមនៅលើផ្ទៃការងារ (រូបភាព 20)។

ការដាក់ប្រេងរំអិលផ្នែកកាត់
ផ្នែកកាត់នីមួយៗមានគ្រឿងបង្គុំលាបខ្លាញ់ចំនួន 5 (រូបភាព 21) ដែលត្រូវតែបានដាក់ប្រេងរំអិលឲ្យបានទៀងទាត់ដោយប្រើខ្លាញ់លីចូមលេខ 2 ។
មានចំណុចដាក់ប្រេងរំអិលចំនួន 2 នៅលើរ៉ូឡូខាងមុខ រ៉ូឡូខាងក្រោយ និងចំនួន 1 នៅកន្លាស់របស់ម៉ូទ័រដុំរមូរ។
Note: ការដាក់ប្រេងរំអិលផ្នែកកាត់ភ្លាមៗ ក្រោយពីការលាងសម្អាតជួយបន្សុទ្ធទឹកចេញពីបាដាង ហើយបង្កើនអាយុកាលរបស់បាដាង។
-
ជូតសម្អាតគ្រឿងបង្គុំលាបខ្លាញ់នីមួយៗដោយប្រើក្រណាត់ស្អាត។
-
លាបខាញ់រហូតទាល់តែខាញ់ស្អាតចេញពីសៀលរបស់រ៉ូឡូ និងសន្ទះសង្គ្រោះបាដាង។
-
ជូតសម្អាតខ្លាញ់ដែលលើសចេញ។

ការសង្កត់សង្គ្រោះដុំរមូរ
ដុំរមូរថ្មីមានប្រវែងទទឹងដីពី 1.3 ទៅ 1.5 មម និងការសង្កត់សង្គ្រោះ 30° ។
នៅពេលដែលទទឹងដីមានទំហំធំជាង 3 mm អនុវត្តដូចខាងក្រោម៖
-
អនុវត្តការសង្កត់សង្គ្រោះ 30° នៅលើផ្លែកាំបិតរបស់ដុំរមូរទាំងអស់រហូតដល់ទទឹងដីមានទំហំ 1.3 mm (រូបភាព 22 និង រូបភាព 23) ។


-
សង្កត់បង្វិលដុំរមូរដើម្បីសម្រេចបាន <0.025 mm អស់ដុំរមូរ។
Note: នេះបណ្តាលឲ្យទទឹងដីកើនឡើងបន្តិចបន្តួច។
Note: ដើម្បីពង្រីកភាពជាប់បានយូរនៃគែមនៃដុំរមូរ និងឃ្លុប កាំបិត—បន្ទាប់ពីបានសំលៀងដុំរមូរ និងឃ្លុបកាំបិត—សូមពិនិត្យមើលទំនាក់ទំនងរវាងដុំរមូរ និងឃ្លុបកំបិតម្តងទៀត បន្ទាប់ពីបានកាត់ 2 វាលហើយ ដោយសារគែមដែលគ្រោមនោះនឹងត្រូវដកចេញ ដែលបង្កើតឲ្យមានការសម្អាតមិនត្រឹមត្រូវពីដុំរមូរ ទៅឃ្លុបកាំបិត ដូច្នេះហើយធ្វើឲ្យវាឆាប់រេចរិល។
ការជួសជុលឃ្លុបកាំបិត
ដែនកំណត់សេវាកម្មឃ្លុបកាំបិតមានរាយនៅក្នុងគំនូសតាងដូចខាងក្រោម។
Important: ការប្រតិបត្តិការផ្នែកកាត់ដោយប្រើឃ្លុបកាំបិតក្រោមដែនកំណត់សេវាកម្មជួសជុលអាចនឹងបណ្ដាលឲ្យលេចរូបរាងមិនល្អក្រោយពេលកាត់ និងកាត់បន្ថយភាពត្រឹមត្រូវនៃរចនាសម្អ័ន្ធរបស់ឃ្លុបកាំបិតសម្រាប់ផលប៉ះពាល់។
| គំនូសតាងដែនកំណត់សេវាម្មឃ្លុបកាំបិត | ||||
| ឃ្លុបកាំបិត | គ្រឿង | កម្ពស់មាត់ឃ្លុបកាំបិត * | ដែនកំណត់សេវាម្ម * | មុំសង្កត់ មុំខាងលើ/ខាងមុខ |
| EdgeMax® HOC ទាប (ម៉ូដែល 03641) | 137-6093 | 5.6 mm | 6.4-12.7 mm | 10°/5° |
| HOC ទាប (ម៉ូដែល 03643) | 110-4084 | 5.6 mm | 4.8 mm | 10°/5° |
| EdgeMax ពង្រីក® HOC ទាប (ស្រេចចិត្ត) | 119-4280 | 5.6 mm | 4.8 mm | 10°/10° |
| HOC ទាបដែលបានពង្រីក (ស្រេចចិត្ត) | 120-1640 | 5.6 mm | 4.8 mm | 10°/10° |
| EdgeMax® (ម៉ូដែល 03638 និង 03639) | 137-6094 | 6.9 mm | 4.8 mm | 10°/5° |
| ស្តង់ដារ (ស្រេចចិត្ត) | 108-9096 | 6.9 mm | 4.8 mm | 10°/5° |
| ភារកិច្ចធ្ងន់ (ស្រេចចិត្ត) | 110-4074 | 9.3 mm | 4.8 mm | 10°/5° |
មុំសំលៀងផ្នែកខាងលើនិងខាងមុខនៃឃ្លុបកាំបិតដែលបានណែនាំ (រូបភាព 24)

Note: រាល់ខ្នាតកម្រិតសេវាកម្មនៃឃ្លុបកាំបិតសំដៅទៅផ្នែកខាងក្រោមនៃឃ្លុបកាំបិត (រូបភាព 25)

ការពិនិត្យមុំសំលៀងផ្នែកខាងលើ
មុំដែលអ្នកប្រើក្នុងការសំលៀងឃ្លុបកាំបិតរបស់អ្នកគឺពិតជាសំខាន់ណាស់។
ប្រើឧបករណ៍បង្ហាញមុំ (គ្រឿងបន្លាស់ Toro លេខ 131-6828) និងទម្រឧបករណ៍បង្ហាញមុំ (គ្រឿងបន្លាស់ Toro លេខ 131-6829) ដើម្បីពិនិត្យមុំដែលប្រដាប់សំលៀងរបស់អ្នកបង្កើត ហើយបន្ទាប់មកលៃតម្រូវចំពោះភាពមិនត្រឹមត្រូវណាមួយរបស់ប្រដាប់សំលៀង។
-
ដាក់ឧបករណ៍បង្ហាញមុំនៅលើផ្នែកខាងក្រោមនៃឃ្លុបកាំបិតដូចបានបង្ហាញក្នុង រូបភាព 26។

-
ប៉ះប៊ូតុង Alt Zero នៅលើឧបករណ៍បង្ហាញមុំ។
-
ដាក់ទម្រឧបករណ៍បង្ហាញមុំនៅលើជាយរបស់ឃ្លុបកាំបិត ដើម្បីឲ្យជាយមេដែកពាក់ជាប់ជាយរបស់ឃ្លុបកាំបិត(រូបភាព 27)។
Note: បន្ទះបង្ហាញឌីជីថលគួរតែអាចមើលឃើញពីផ្នែកដូចគ្នាអំឡុងជំហាននេះ ដូចដែលវានៅក្នុងជំហាន 1។

-
ដាក់ឧបករណ៍បង្ហាញមុំនៅលើទម្រដូចបានបង្ហាញនៅក្នុង រូបភាព 27។
Note: នេះជាមុំដែលប្រដាប់សំលៀងរបស់អ្នកបង្កើតឡើង ហើយគួរតែស្ថិតក្នុងមុំ 2° នៃមុំសំលៀងផ្នែកខាងលើដែលបានណែនាំ។
ការជួសជុលរបាឃ្លុប
ការដករបាឃ្លុបចេញ
-
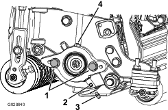
មួលវីសលៃតម្រូវរបាឃ្លុបច្រាសទ្រនិចនាឡិកាដើម្បីដកឃ្លុបកាំបិតចេញពីដុំរមូរ (រូបភាព 28)។

-
មួលខ្ចៅសម្ពាធរឺស័រចេញរហូតទាល់តែរ៉ងលែងសង្កត់នឹងរបាឃ្លុប (រូបភាព 28)។
-
នៅផ្នែកនីមួយៗរបស់គ្រឿងចក្រ សូមបន្ធូរខ្ចៅដែលភ្ជាប់ប៊ូឡុងរបាឃ្លុប (រូបភាព 29)។

-
ដកប៊ូឡុងរបាឃ្លុបនីមួយៗ ដើម្បីឲ្យរបាឃ្លុបត្រូវបានទាញចុះក្រោម និងដកចេញពីប៊ូឡុងរបស់គ្រឿងចក្រ (រូបភាព 29)។
Note: មានរ៉ងនីឡុងចំនួន 2 និងរ៉ងដែកដែលបានបោះត្រាចំនួន 1 នៅលើចុងនីមួយៗរបស់របាឃ្លុប (រូបភាព 30)។

ការដំឡើងរបាឃ្លុប
-
ដំឡើងរបាឃ្លុប ការកំណត់ទីតាំងត្រចៀកទម្រចន្លោះរ៉ងនិងឧបករណ៍លៃតម្រូវរបាឃ្លុប។
-
ភ្ជាប់របាឃ្លុបទៅបន្ទះចំហៀងនីមួយៗដោយប្រើប៊ូឡុងរបាឃ្លុប (ខ្ចៅនៅលើប៊ូឡុង) និងរ៉ងទាំង 6 ។
Note: កំណត់ទីតាំងរ៉ងនីឡុងនៅផ្នែកនីមួយៗរបស់ទ្រនាប់បន្ទះចំហៀង។ ដាក់រ៉ងដែកខាងក្រៅរ៉ងនីឡុងនីមួយៗ (រូបភាព 30)។
-
មួលប៊ូឡុងរបាឃ្លុបពី 37 ទៅ 45 N∙m ។
Note: រឹតបន្តឹងខ្ចៅរហូតទាល់តែរ៉ងដែកខាងក្រៅឈប់វិល ហើយចលនាខាងចុងត្រូវបានដកចេញ ប៉ុន្តែហាមរឹតបន្តឹងឬបំផ្លាតបន្ទះចំហៀងឲ្យតឹងឬផ្លាតជ្រុល។ រ៉ងនៅខាងក្នុងអាចនឹងមានចន្លោះ។
-
រឹតបន្តឹងខ្ចៅសម្ពាធរឺស័ររហូតទាល់តែរឺស័រធ្លាក់ស្រុត បន្ទាប់មកមួលចេញកន្លះជុំ (រូបភាព 31)។

ការដំឡើងឃ្លុបកាំបិត
-
កោសបំបាត់ស្នាមច្រេះ ស្នាមដាច់ និងស្នាមច្រេះចេញពីផ្ទៃរបារឃ្លុប ហើយលាបប្រេងមួយស្រទាប់ស្ដើងទៅផ្ទៃរបារឃ្លុប។
-
សម្អាតក្រឡាវីស។
-
លាបសមាសធាតុការពារការស្អិតជាប់ទៅវីស ហើយដំឡើងឃ្លុបកាំបិតទៅរបាឃ្លុបដូចខាងក្រោម (រូបភាព 32)៖

-
សំលៀងឃ្លុបកាំបិត។
ការជួសជុលឧបករណ៍លៃតម្រូវពីរចំណុច HD (DPA)
-
ដកគ្រឿងបន្លាស់ទាំងអស់ចេញ (សូមអាន សេចក្ដីណែនាំអំពីការដំឡើង សម្រាប់ឃីត HD DPA និង រូបភាព 34)។
-
លាបសមាសធាតុការពារការស្អិតជាប់ទៅផ្នែកខាងក្នុងនៃតំបន់ទ្រនាប់នៅលើតួកណ្ដាលរបស់ផ្នែកកាត់ (រូបភាព 34)។
-
តម្រង់កូនសោនៅលើទ្រនាប់ក្បាលភ្ជាប់ទៅនឹងរន្ធនៅក្នុងតួ ហើយដំឡើងទ្រនាប់ (រូបភាព 34)។
-
ដំឡើងរ៉ងអង្កាញ់ទៅលើឡាបឧបករណ៍លៃតម្រូវ ហើយរំកិលឡាបឧបករណ៍លៃតម្រូវទៅក្នុងទ្រនាប់ក្បាលភ្ជាប់នៅក្នុងតួរបស់ផ្នែកកាត់ (រូបភាព 34)។
-
ភ្ជាប់ឡាបឧបករណ៍លៃតម្រូវដោយប្រើរ៉ងសំប៉ែត និងខ្ចៅខ្ទាស់ (រូបភាព 34)។
-
មួលខ្ចៅខ្ទាស់ពី 20 ទៅ 27 N∙m ។
Note: ឡាបឧបករណ៍លៃតម្រូវរបាឃ្លុបមានក្រឡាដៃឆ្វេង។

-
ដាក់សមាសធាតុប្រឆាំងនឹងការចាប់យកទៅអំបោះរបស់វីសនៃប្រដាប់លៃតម្រូវរបាឃ្លុប ដែលសាកសមទៅនឹងដងនៃប្រដាប់លៃតម្រូវ។
-
ស៊កអំបោះរបស់វីសនៃប្រដាប់លៃតម្រូវរបាឃ្លុបទៅដងនៃប្រដាប់លៃតម្រូវ។
-
ដំឡើងធូរៗនូវ រ៉ងរឹង រឺស្ស័រ និងខ្ចៅបន្តឹងរឺស្ស័រទៅលើវីសនៃប្រដាប់លៃតម្រូវ។
-
ដំឡើងរបាឃ្លុប ដែលកំណត់ទីតាំងត្រចៀកចាប់រវាងរ៉ង និងប្រដាប់លៃតម្រូវរបាឃ្លុប។
-
រឹតរបាឃ្លុបទៅនឹងបន្ទះចំហៀងនីមួយៗជាមួយប៊ូឡុងរបាឃ្លុប (ខ្ចៅនៅលើប៊ូឡុង) និងរ៉ងចំនួន 6 ។
Note: កំណត់ទីតាំងរ៉ងនីឡុងនៅផ្នែកនីមួយៗរបស់ទ្រនាប់បន្ទះចំហៀង។
-
ដាក់រ៉ងដែកខាងក្រៅរ៉ងនីឡុងនីមួយៗ (រូបភាព 34)។
-
មួលប៊ូឡុងរបាឃ្លុបពី 37 ទៅ 45 N∙m ។
-
រឹតបន្តឹងខ្ចៅខ្ទាស់រហូតដល់រ៉ងដែកខាងក្រៅឈប់វិល និងចំណុចម៉ាកេត្រូវបានដកចេញ ប៉ុន្តែហាមរឹតបន្តឹងខ្លាំងពេកដែលធ្វើឲ្យបន្ទះចំហៀងផ្លាតចេញ។
Note: រ៉ងនៅផ្នែកខាងក្នុងប្រហែលជាមានគម្លាត (រូបភាព 34)។
-
រឹតបន្តឹងខ្ចៅនៅលើគ្រឿងផ្គុំនៃប្រដាប់លៃតម្រូវរបាឃ្លុបរហូតទាល់តែរឺស្ស័របណ្ណែន ត្រូវបានណែនយ៉ាងពេញលេញ បន្ទាប់មកបន្ធូរខ្ចៅកន្លះជុំ (រូបភាព 34)។
-
អនុវត្តទម្រង់ការនេះឡើងវិញនៅលើផ្នែកខាងចុងនៃផ្នែកកាត់ផ្សេងទៀត។
-
លៃតម្រូវឃ្លុបកាំបិតទៅនឹងដុំរមូរ សូមអាន ការលៃតម្រូវដងកាំបិតទៅដុំរមូរ។
ការជួសជុលរ៉ូឡូ
កញ្ចប់ប្រដាប់ប្រដារបង្កើតរ៉ូឡូឡើងវិញ (គ្រឿងបន្លាស់លេខ 114-5430) និងកញ្ចប់ឧបករណ៍បង្កើតរ៉ូឡូឡើងវិញ (គ្រឿងបន្លាស់លេខ 115-0803) (រូបភាព 35) អាចរកបានសម្រាប់ការបម្រើសេវាកម្មរ៉ូឡូ។ កញ្ចប់ប្រដាប់ប្រដារបង្កើតរ៉ូឡូឡើងវិញដាក់បញ្ចូលនូវរាល់បាដាង ខ្ចៅបាដាង សៀលខាងក្នុង និងសៀលខាងក្រៅដើម្បីបង្កើតរ៉ូឡូឡើងវិញ។ កញ្ចប់ឧបករណ៍បង្កើតរ៉ូឡូឡើងវិញដាក់បញ្ចូលនូវរាល់ឧបករណ៍ និងសេចក្ដីណែនាំអំពីការដំឡើងតម្រូវឱ្យមានការបង្កើតរ៉ូឡូឡើងវិញដោយប្រើកញ្ចប់ប្រដាប់ប្រដារបង្កើតរ៉ូឡូឡើងវិញ។ សូមអានសៀវភៅរាយឈ្មោះគ្រឿងបន្លាស់របស់អ្នក ឬទាក់ទងអ្នកចែកចាយផលិតផល Toro ដែលមានការអនុញ្ញាតសម្រាប់ជំនួយ។



ដែលមានន័យថា ប្រុងប្រយ័ត្ន
ព្រមាន ឬគ្រោះថ្នាក់—សេចក្ដីណែនាំអំពីសុវត្ថិភាពផ្ទាល់ខ្លួន។
ការខកខានក្នុងការគោរពតាមការណែនាំទាំងនេះអាចបណ្ដាលឲ្យរងរបួសដល់រាងកាយ
ឬការស្លាប់។

















