전동 호스 릴 키트는 잔디 살포용 차량 전용 부착 장치이며 전문 작업자가 상업용으로 사용해야 합니다. 주로 공원, 골프 코스, 경기장, 상업지 등의 관리가 잘 된 잔디에서 살포 작업을 하도록 설계되었습니다.
이 정보를 주의 깊게 읽고 제품을 제대로 조작 및 유지관리하는 방법과 부상 및 제품 손상을 방지하는 방법에 대해 익히십시오. 사용자는 제품을 제대로 안전하게 조작해야 할 책임이 있습니다.
안전 요령, 교육 자료, 액세서리 정보 등의 자세한 정보를 찾거나 판매점 위치를 찾거나 제품을 등록하는 경우 www.Toro.com을 방문하십시오.
서비스, Toro 순정 부품 또는 추가 정보가 필요하면 지정 서비스점이나 Toro 고객 서비스에 연락하여 제품의 모델 번호와 일련 번호를 알려 주십시오. 그림 1은 제품의 모델 번호와 일련번호의 위치를 보여 줍니다. 마련된 빈칸에 이 번호를 적어 두십시오.
Important: 모바일 기기에서는 일련번호 데칼(장착한 경우)의 QR 코드를 스캔하여 보증, 부품 및 기타 제품 정보에 액세스할 수 있습니다.

Note: 이 제품은 모든 관련 유럽 지침을 준수합니다. 자세한 내용은 이 간행물의 뒷면에 나오는 조입 선언(Declaration of Incorporation, DOI)을 참조하십시오.정상 운전 위치에서 장비의 좌측과 우측을 판단하십시오.
Important: 이 키트를 설치하려면 테프론 테이프가 필요합니다. 조립 전에 피팅의 나사산에 테이프를 감습니다. 방수 밀봉하기 위해 피팅의 베이스에서 팁까지 나사산을 감아야 합니다.
Important: 이 키트를 설치할 때 식물유 등 비석유 기반 윤활유가 필요합니다.
운전자나 소유자가 부적절하게 사용하거나 유지관리하면 부상을 당할 수 있습니다. 부상 위험을
줄이려면 여기에 나와 있는 안전 지침을 따르고 주의, 경고 또는 위험과 같은 개인 안전 지침을 의미하는 안전 경고 기호(
)에 항상 주의를 기울이십시오. 이 지침을
따르지 않으면 부상하거나 사망할 수 있습니다.
또한, 차량 사용 설명서의 안전 및 조작 지침을 읽어보십시오.
핸드 스프레이어를 사람이나 동물 쪽으로 향하게 하지 마십시오. 고압 유체는 피부에 침투하거나 심각한 부상을 입힐 수 있으며 신체가 절단되거나 사망에 이를 수 있습니다. 또한, 고온의 액체 및 화학물질은 화상이나 부상을 유발할 수 있습니다. 신체 일부가 스프레이액에 접촉되면 즉시 주사된 액체 부상에 대해 잘 아는 의사의 진료를 받아야 합니다.
스프레이 노즐 앞에 손이나 신체 일부를 노출하지 마십시오.
작업 현장을 떠날 때 장비에 압력을 가한 상태로 두지 마십시오.
호스, 트리거 잠금장치, 노즐 또는 기타 부품이 손상되거나 누락되면 핸드 스프레이어를 사용하지 마십시오.
호스, 피팅, 또는 기타 부품에서 누출이 발생하면 핸드 스프레이어를 사용하지 마십시오.
전력선 근방에 살포하지 마십시오.
핸드 스프레이어를 살포하면서 운전하지 마십시오.
핸드 스프레이어로 화학 약품을 살포할 때에는 화학 방호복, 보호 안경, 마스크, 고무신, 보호 장갑을 착용하십시오.
가시성이 좋고 기상 상태가 적절한 경우에만 장비를 운전하십시오. 번개가 칠 위험이 있는 상태에서는 장비를 운전하지 마십시오.
화학물질은 유해하며 신체 부상을 유발할 수 있습니다.
화학물질을 취급하기 전에 화학물질 라벨의 지침을 숙독하고 제조사의 모든 권장 사항 및 주의 사항을 따르십시오.
화학물질이 피부에 닿지 않게 하십시오. 피부와 접촉하면 비누와 깨끗한 물로 접촉 부위를 철저히 씻으십시오.
화학물질 제조사가 권장한 보안경 및 기타 보호장비를 착용하십시오.
스프레이어 탱크를 비웁니다.
스프레이어 탱크를 청소하고 헹굽니다. 장비에 대한 사용 설명서를 참조하십시오.
장비를 평지에 주차하고, 주차 브레이크를 체결하고, 펌프를 끄고, 엔진을 끄고, 키를 뺀 다음 모든 움직임이 멈출 때까지 기다립니다.
배터리 음극 케이블을 분리합니다.
배터리 양극 케이블을 분리합니다.
이 절차를 수행하는 데 필요한 부품:
| 와이어 하니스 | 1 |
| 스위치 | 1 |
| 방수 캡 및 너트 | 1 |
| 소형 R-클램프 | 1 |
| 플랜지 너트(⅜ 인치) | 1 |
| 캐리지 볼트 | 1 |
| 가융 링크와이어 하니스(108-9455) | 1 |
| 릴레이(99- 7435) | 1 |
| 푸시인 패스너 | 1 |
스위치의 2중 블레이드 커넥터에 와이어 하니스의 커넥터 2개를 연결합니다(그림 7).
앞에서 제거한 볼트를 사용하여 콘솔 암에 제어판 커버를 고정합니다.
Note: 앞에서 제거한 차동 잠금 로드의 노브를 장착합니다.
컨트롤 암의 후방 하단에 있는 메인 와이어 하니스의 호스 릴 플러그에 가장 근방에 있는 커넥터를 연결합니다.
릴레이에 그 다음 커넥터를 끼우고(그림 7) 릴레이를 기존 릴레이 근처의 프레임 외부 구멍에 장착합니다.
가융 링크를 배터리 양극(+) 단자에 부착된 적색 와이어에 연결합니다(그림 7).
와이어 하니스의 음극(-) 연결부를 배터리 음극(-) 단자에 연결합니다.
와이어 하니스의 최고 말단을 퓨즈 블록 접지부에 연결합니다(그림 7).

이 절차를 수행하는 데 필요한 부품:
| 호스 릴 프레임 | 1 |
| 볼트 (5/16) | 10 |
| 플랜지 너트(5/16 인치) | 10 |
| 스위블 플레이트 | 1 |
| 호스 릴 | 1 |
| 대형 캐리지 볼트 | 4 |
| 플랜지 너트(⅜ 인치) | 4 |
| 손잡이 | 1 |
| 머드 실드 | 1 |
| 스프링 클립 | 1 |
| 록너트 | 2 |
| 소형 캐리지 볼트 | 2 |
| 대형 R-클램프 | 2 |
| 스프레이 건 브래킷 | 1 |
| 스페이서 | 2 |
| 자동 태핑 나사 | 2 |
| 스러스트 와셔 | 1 |
| 스냅 링 | 1 |
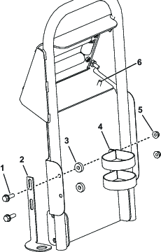
그림 8와 같이 4개의 볼트(5/16 인치) 및 4개의 플랜지 너트(5/16 인치)를 사용하여 호스 링 프레임을 장비 측면에 장착합니다.

4개의 캐리지 볼트 및 4개의 플랜지 너트(⅜ 인치)를 사용하여 호스 릴 바닥에 스위블 플레이트를 부착합니다(그림 9).

호스 릴 프레임의 구멍을 향해 스위블 플레이트를 올려 놓습니다 (그림 9).
Note: 용이한 설치를 위해 스위블 잠금장치를 좌측으로 옮깁니다.
호스 릴 프레임의 하부에서 스러스트 와셔 및 스냅 링을 스위블 플레이트의 포스트에 부착합니다(그림 10).

4개의 볼트(5/16 인치)로 스위블 플레이트에 핸들을 느슨하게 장착합니다(그림 11).

5 단계에서 설치한 볼트 및 4개의 플랜지 볼트(5/16 인치)를 사용하여 스위블 플레이트에서 머드 실드 및 핸들을 부착합니다(그림 11).
2개의 자동 태핑 나사를 사용하여 머드 실드 상단을 핸들에 고정합니다(그림 12).

그림 12과 같이 스프레이 건 홀더를 머드 실드에 부착합니다.
와이어 하니스를 호스 릴에 연결합니다.
Note: 달리 명시되지 않는 한 분리된 모든 부품을 보관하십시오.
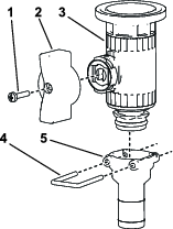
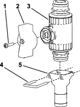
섹션 밸브 또는 교반 밸브에 대해 액추에이터를 매니폴드 밸브에 고정하는 리테이너를 제거합니다(그림 13).
Note: 2개의 리테이너 레그를 꽉 쥐고 아래로 당기십시오.
Note: 액추에이터 및 리테이너를 보관하십시오.

매니폴드 밸브에서 액추에이터를 제거합니다.
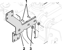
그림 14과 같이 붐 바이패스 밸브 클러스터 어셈블리, 엔드 캡, 피팅 및 호스 어셈블리를 고정하는 리테이너를 분리합니다.
Important: 장비에 GeoLink가 장착된 경우, 양측의 밸브 클러스터에 대해 이 작업을 수행하십시오.
Note: 메일 캡은 사용하지 않지만 캡에 있는 O-링은 보관하십시오.

현재 좌측 및 우측 노브 설정을 적어서 기록해둡니다.
Important: 장비에 GeoLink가 설치된 경우, 모든 노브 설정을 기록합니다.
그림 15과 같이 붐 바이패스 밸브 클러스터를 180° 돌립니다.

좌측 및 우측 노브를 이전 설정으로 조정합니다.
Important: 장비에 GeoLink가 설치된 경우, 모든 노브을 이전 설정을 조정합니다.
그림 16과 같이 앞에서 제거한 리테이너를 사용하여 붐 밸브 클러스터를 장착합니다.

이 절차를 수행하는 데 필요한 부품:
| 플랜지 제어 밸브 | 1 |
| 윙 핸들 | 2 |
| 핸들 나사(6-32 x 5/8 인치) | 2 |
| 밸브 마운트 | 2 |
| 90° 엘보우 | 1 |
| 플랜지 클램프 | 1 |
| 개스킷 | 1 |
| 피팅 캡(1/2 인치) | 2 |
| 직선형 피팅 | 1 |
| 리테이너 | 3 |
| 직선형 제어 밸브 | 2 |
| 제어 밸브 브래킷(일련번호 415399999 이전 버전) | 1 |
| 플랜지 헤드 볼트(1/4 x ⅝ 인치) | 2 |
| 록너트(¼ 인치) | |
| 제어 밸브 브래킷(일련번호 415400000 이상 버전) | 1 |
| 제어 밸브 브래킷(GeoLink를 장착한 일련번호 415400000 이후 버전) | 1 |
| T-매니폴드 | 1 |
| 캐리지 볼트(1/4 x 5/8 인치) | 2 |
| 볼트(M6 x 12 mm) | 8 |
| 호스 릴 공급 호스 | 1 |
| 호스 클램프 | 1 |
Note: 달리 명시되지 않는 한 분리된 모든 부품을 보관하십시오.
그림 17과 같이 플랜지 헤드 볼트(1/4 x 5/8 인치) 2개를 사용하여 밸브 마운트 프레임에 제어 밸브 브래킷을 장착합니다.

그림 18과 같이 제어 밸즈에 빨간색 윙 핸들을 조립합니다.

그림 19의 A에 표시된 대로 제어 밸브에 밸브 마운트를 조립합니다.

플랜지 헤드 나사(#6)로 제어 밸브에 밸브 마운트를 고정하고, 손으로 나사를 고정합니다(그림 19의 B).
그림 20과 같이 볼트(M6) 4개로 제어 밸브 브래킷에 제어 밸브 어셈블리를 장착합니다.

앞에서 제거한 O-링 및 리테이너로 붐 밸브에 제어 밸브 어셈블리를 고정합니다(그림 21).
그림 21과 같이 앞에서 제거한 리테이너를 사용하여 제어 밸브에 캡(1/2 인치), O-링, 피팅, 호스 어셈블리를 장착합니다.

이전에 제거한 리테이너를 사용하여 매니폴드 밸브에 그림 13에서 제거한 액추에이터를 장착합니다.
커플러에서 압력 센스 호스를 제거합니다.
그림 22에 표시된 대로 리테이너를 사용하여 플랜지 제어 밸브에 녹색의 와이어 핸들과 직선형 피팅을 조립합니다.

압력 게이지 포트의 캡과 커플러를 분리합니다(그림 23).

그림 23와 같이 제어 밸브 어셈블리를 수직으로 설치합니다.
90° 피팅의 열린 포트에 커플러를 설치합니다(그림 23).
Note: 캡을 폐기해도 됩니다.
커플러로 압력 센스 호스를 연결합니다.
호스 클램프를 사용하여 수직 제어 밸브에 탱크 공급 호스를 연결합니다.
호스 클램프를 사용하여 직선형 피팅에 호스 릴 공급 호스의 열린 단부를 고정합니다.
그림 24와 같이 호스 릴 공급 호스를 배선하고 호스 클램프로 호스 릴에 부착합니다.
Note: 탱크 세척 키트를 설치했다면 호스 펌프 뒤로 호스를 배선합니다.

이전에 제거한 리테이너를 사용하여 매니폴드 밸브에 그림 13에서 제거한 액추에이터를 장착합니다.
그림 25과 같이 플랜지 헤드 볼트(1/4 x 5/8 인치) 2개와 록너트(1/4 인치)를 사용하여 밸브 마운트 프레임에 제어 밸브 브래킷을 장착합니다.

직선형 제어 밸브에 빨간색 윙 핸들을 조립합니다.

그림 27의 A에 표시된 대로 직선형 제어 밸브에 밸브 마운트를 조립합니다.
플랜지 헤드 나사(#6)로 제어 밸브에 밸브 마운트를 고정하고, 손으로 나사를 고정합니다(그림 27의 B).

그림 28과 같이 나사(M6) 4개로 제어 밸브 브래킷 상단에 제어 밸브 어셈블리를 장착합니다.

그림 29과 같이 앞에서 제거한 O-링 및 리테이너로 붐 밸브에 제어 밸브 어셈블리를 고정합니다.
그림 29과 같이 앞에서 제거한 리테이너를 사용하여 제어 밸브에 캡(1/2 인치), O-링, 피팅, 호스 어셈블리를 장착합니다.

밸브 섹션 단부에서 피팅 캡과 커플러를 고정하는 리테이너를 분리합니다(그림 30).
9단계에서 사용된 리테이너를 사용하여 밸브 섹션 단부에 포함된 T-매니폴드를 설치합니다.
9 단계에서 설치한 T-매니폴드 측면에 피팅 캡을 장착합니다.

그림 31에 표시된 대로 리테이너를 사용하여 직선형 제어 밸브에 다른 직선형 피팅을 조립합니다.

호스 릴 공급 호스를 직선형 피팅 바닥에 연결합니다.
포함된 리테이너를 사용하여 T-매니폴드 바닥에 직선형 피팅을 포함한 제어 밸브 어셈블리를 연결합니다(그림 32).
그림 32과 같이 볼트(M6) 4개로 제어 밸브 브래킷 바닥에 제어 밸브 어셈블리를 장착합니다.

호스 클램프를 사용하여 수직 제어 밸브에 탱크 공급 호스를 연결합니다.
호스 클램프를 사용하여 직선형 피팅에 호스 릴 공급 호스의 열린 단부를 고정합니다.
그림 33와 같이 호스 릴 공급 호스를 배선하고 호스 클램프로 호스 릴에 부착합니다.
Note: 탱크 세척 키트를 설치했다면 호스 펌프 뒤로 호스를 배선합니다.

이전에 제거한 리테이너를 사용하여 매니폴드 밸브에 그림 13에서 제거한 액추에이터를 장착합니다.
그림과 같이 플랜지 헤드 볼트(1/4-20 x 5/8 인치) 2개와 록너트(1/4-20 인치)를 사용하여 밸브 마운트 프레임에 제어 밸브 브래킷을 장착합니다.

밸브 섹션 단부에서 피팅 캡과 커플러를 고정하는 리테이너를 분리합니다(그림 35).
3 단계에서 제거한 리테이너를 사용하여 밸브 섹션 단부에 키트 T-매니폴드를 설치합니다.

직선형 제어 밸브 그림 36에 녹색 윙 핸들을 조립합니다.

그림 37의 A에 표시된 대로 직선형 제어 밸브에 밸브 마운트를 조립합니다.
플랜지 헤드 나사(#6)로 제어 밸브에 밸브 마운트를 고정하고, 손으로 나사를 고정합니다(그림 37의 B).

호스 클램프를 사용하여 직선형 피팅에 호스 릴 공급 호스를 고정합니다.
그림 38와 같이 리테이너로 T-피팅에 제어 밸브 어셈블리를 고정합니다.

4개의 플랜지 헤드 볼드(M6 x 12 mm)로 제어 밸브 브래킷에 밸브 마운트를 조립하고, 10~12 N∙m 토크로 볼트를 조입니다.

A에 표시된 대로 제어 밸브에 밸브 마운트를 조립합니다.
B에 표시된 대로 플랜지 헤드 나사(#6)로 제어 밸브에 밸브 마운트를 고정하고, 손으로 나사를 고정합니다.

그림 41과 같이 밸브 클러스터에 제어 밸브 어셈블리를 설치합니다.

그림 42과 같이 나사(M6) 4개로 제어 밸브 브래킷 상단에 제어 밸브 어셈블리를 장착합니다.

앞에서 제거한 리테이너를 사용하여 제어 밸브에 캡(1/2 인치), O-링, 피팅, 호스 어셈블리를 장착합니다.
매니폴드 단부에 호스를 고정하는 리테이너를 제거합니다.

호스 및 장비에 차단 밸브를 설치합니다. 리테이너로 밸브를 고정합니다.

호스 클램프를 사용하여 수직 제어 밸브에 탱크 공급 호스를 연결합니다.
그림과 같이 호스 릴 공급 호스를 배선하고 호스 클램프로 호스 릴에 부착합니다.

Note: 탱크 세척 키트를 설치했다면 호스 펌프 뒤로 호스를 배선합니다.
이 절차를 수행하는 데 필요한 부품:
| 피팅 포함 긴 호스 | 1 |
| 스프레이 건 | 1 |
| 플라스틱 호스 클램프 | 1 |
2개의 케이블 타이로 와이어 하니스를 공급 호스에 묶습니다.
긴 호스의 호스 피팅 나사산에 Teflon® 테이프를 부착하고, 릴의 연결 튜브에 피팅을 설치합니다(그림 46).

스프레이 건의 피팅에 긴 호스의 다른 편을 연결합니다(그림 47).

플라스틱 호스 클램프로 호스 끝을 고정합니다.
배터리에 양극 배터리 와이어를 연결합니다.
배터리에 음극 배터리 와이어를 연결합니다.
호스 감기 버튼을 누르고 릴에 호스를 조심스럽게 조정하여 호스가 양측에 균등하게 감기도록 합니다.
되감는 동안 호스 및 릴에 손, 느슨한 옷, 긴 머리카락, 장신구가 감겨 부상을 당할 수 있습니다.
되감는 동안 릴 및 호스에 손을 대지 마십시오.
느슨한 옷이나 장신구를 착용하지 마시고, 긴 머리카락을 묶으십시오.
가압된 액체는 피부에 침투하여 부상을 입힐 수 있습니다.
고압의 오일이 분출되는 노즐 근처에 손이나 신체가 놓이지 않게 하십시오.
스프레이어를 사람이나 동물 쪽으로 향하지 마십시오.
시스템에 압력을 가하기 전에 모든 액체 호스 및 라인의 상태가 양호하고 모든 커넥터 및 피팅이 단단히 조여 있는지 확인하십시오.
판지나 종이를 사용하여 누출 부위를 찾으십시오.
작업을 하는 경우 먼저 시스템의 모든 압력을 배출하십시오.
액체가 피부에 침투하면 즉시 의사의 진료를 받으십시오.
뜨거운 액체와 화학물질은 화상을 유발하거나, 기타 피해를 입힐 수 있습니다.
Important: 항상 사용 후 즉시 스프레이어를 비우고 청소하십시오. 청소하지 않으면 화학물질이 건조된 후 라인에 쌓여 펌프 및 다른 부품이 막힐 수 있습니다.
모든 스프레이 작업 후 각 스프레이 시스템을 청소하십시오. 스프레이 시스템을 적절하게 청소하는 방법:
3개의 별도 린스를 사용하십시오.
헹굴 때마다 최소 50 갤런을 사용하십시오.
화학물질 제조사가 권장하는 세제 및 중화제를 사용하십시오.
최종 헹굼에는 깨끗한 물을 사용하십시오(세제 또는 중화제 아님).
장비를 정지시키고, 붐을 잠그고, 주차 브레이크를 겁니다.
핸드 스프레이어를 사용하는 중 운전하면 제어를 하지 못해 부상을 당하거나, 사망에 이를 수 있습니다. 운전하는 중에는 핸드 스프레이어를 작동하지 마십시오.
장비 뒤에서 스프레이 건의 트리거 잠금장치를 잠갔는지 확인합니다.
제어 밸브의 녹색 핸들을 90°로 돌립니다.
작동 위치에서 펌프를 켭니다.
마스터 붐을 ON(켬) 위치로 전환합니다.
원하는 속도로 엔진을 설정한 다음 엔진 속도 잠금장치를 중립으로 놓습니다.
Important: 핸드 스프레이어를 1034 kPa 이상의 압력으로 설정하지 마십시오.
릴에서 원하는 길이로 호스를 잡아당깁니다.
Important: 스프레이 건으로 호스를 당기지 마십시오. 항상 호스를 잡고 직접 당기십시오. 건으로 호스를 잡아당기면 건의 피팅이 파손되어 호스가 손상될 수 있습니다.
트러거 잠금장치를 해제합니다.
스프레이 건 노즐을 살포할 구역으로 향하고 트리거를 당깁니다.
작업을 완료한 후 트리거를 놓고 트리거 잠금장치를 설정합니다.
릴에서 호스가 몇 피트 정도 나올 때까지 호스 릴의 되감기 버튼을 누릅니다.
Note: 스프레이어 콘솔의 감독관 키가 잠금 해제 위치에 있을 때에만 호스 릴 되감기 버튼을 사용해야 합니다.
되감는 동안 호스 및 릴에 손, 느슨한 옷, 긴 머리카락, 장신구가 감겨 부상을 당할 수 있습니다.
되감는 동안 릴 및 호스에 손을 대지 마십시오.
느슨한 옷이나 장신구를 착용하지 마시고, 긴 머리카락을 묶으십시오.
제어 밸브의 녹색 핸들을 90°로 돌립니다.
스프레이 건 노즐을 살포해도 안전한 구역으로 향하고, 트러거 잠금장치를 해제하고, 모든 잔여 액체가 호스에서 나올 때까지 트리거를 당긴 다음 트러거 잠금장치를 채웁니다.
릴 후방의 홀더에 스프레이 건을 다시 걸어놓습니다.
엔진을 공회전 속도로 되돌립니다.
펌프를 정지합니다.
Important: 일상 청소 과정에서 깨끗한 새 물로 스프레이 건을 세척하십시오(스프레이어 사용 설명서를 참조하십시오). 스프레이 건을 적절하게 청소하지 않으면 성능이 저하되고 호스 릴 키트 및 스프레이 건의 신뢰도가 감소합니다.
속도 스위치를 사용하여 원하는 kPa로 설정합니다.