| Intervalo de mantenimiento y servicio | Procedimiento de mantenimiento |
|---|---|
| Cada vez que se utilice o diariamente |
|
Esta máquina es una máquina multiuso, diseñada para ser usada por operadores profesionales contratados en aplicaciones comerciales. Está diseñado principalmente para segar césped bien mantenido en parques, campos de golf, campos deportivos y zonas comerciales. El uso de este producto para otros propósitos que los previstos podría ser peligroso para usted y para otras personas.
Lea este manual detenidamente para aprender a utilizar y mantener correctamente su producto, y para evitar lesiones y daños al producto. Usted es responsable de utilizar el producto de forma correcta y segura.
Visite www.Toro.com para buscar materiales de formación y seguridad o información sobre accesorios, para localizar un distribuidor o para registrar su producto.
Cuando necesite asistencia técnica, piezas genuinas Toro o información adicional, póngase en contacto con un Servicio Técnico Autorizado o con Asistencia al Cliente de Toro, y tenga a mano los números de modelo y serie de su producto. La Figura 1 identifica la ubicación de los números de serie y de modelo en el producto. Escriba los números en el espacio provisto.
Important: Con su dispositivo móvil, puede escanear el código QR de la calcomanía del número de serie (en su caso) para acceder a información sobre la garantía, las piezas, y otra información sobre el producto.

Este manual identifica peligros potenciales y contiene mensajes de seguridad identificados por el símbolo de alerta de seguridad (Figura 2), que señala un peligro que puede causar lesiones graves o la muerte si usted no sigue las precauciones recomendadas.

Este manual utiliza 2 palabras para resaltar información. Importante llama la atención sobre información mecánica especial, y Nota resalta información general que merece una atención especial.
Este producto cumple todas las directivas europeas aplicables; si desea más detalles, consulte la Declaración de Conformidad (Declaration of Conformity/DOC) de cada producto.
El uso o la operación del motor en cualquier terreno forestal, de monte o cubierto de hierba a menos que el motor esté equipado con parachispas (conforme a la definición de la sección 4442) mantenido en buenas condiciones de funcionamiento, o haya sido fabricado, equipado y mantenido para la prevención de incendios, constituye una infracción de la legislación de California (California Public Resource Code Section 4442 o 4443).
El manual del propietario del motor adjunto ofrece información sobre las normas de la U.S. Environmental Protection Agency (EPA) y de la California Emission Control Regulation sobre sistemas de emisiones, mantenimiento y garantía. Puede solicitarse un manual nuevo al fabricante del motor.
CALIFORNIA
Advertencia de la Propuesta 65
Es sabido por el Estado de California que los gases de escape de los motores diesel y algunos de sus componentes causan cáncer, defectos congénitos y otros peligros para la reproducción.
Los bornes, terminales y otros accesorios de la batería contienen plomo y compuestos de plomo, productos químicos reconocidos por el Estado de California como causantes de cáncer y daños reproductivos. Lávese las manos después de manejar el material.
El uso de este producto puede provocar la exposición a sustancias químicas que el Estado de California considera causantes de cáncer, defectos congénitos u otros trastornos del sistema reproductor.
Este producto es capaz de amputar manos y pies y de lanzar objetos al aire. Siga siempre todas las instrucciones de seguridad con el fin de evitar lesiones personales graves.
Lea y comprenda el contenido de este Manual del operador antes de arrancar el motor.
Dedique toda su atención al manejo de la máquina. No realice ninguna actividad que pudiera distraerle; de lo contrario, pueden producirse lesiones o daños materiales.
No haga funcionar la máquina si no están colocados y funcionando todos los protectores y dispositivos de seguridad de la máquina.
Mantenga las manos y los pies alejados de las piezas en movimiento. Manténgase alejado del orificio de descarga.
Mantenga a transeúntes y niños alejados de la zona de trabajo. Nunca permita a los niños utilizar la máquina.
Apague el motor, retire la llave y espere a que se detenga todo movimiento antes de abandonar el puesto del operador. Deje que se enfríe la máquina antes de hacer trabajos de ajuste, mantenimiento, limpieza o almacenamiento.
El uso o mantenimiento incorrecto de esta máquina puede
causar lesiones. Para reducir el peligro de lesiones, cumpla estas
instrucciones de seguridad y preste atención siempre al símbolo
de alerta de seguridad
, que significa: Cuidado, Advertencia o Peligro
— instrucción relativa a la seguridad personal. El incumplimiento
de estas instrucciones puede dar lugar a lesiones personales e incluso
la muerte.
![]() |
Las calcomanías de seguridad e instrucciones están a la vista del operador y están ubicadas cerca de cualquier zona de peligro potencial. Sustituya cualquier calcomanía que esté dañada o que falte. |




































Note: Los lados derecho e izquierdo de la máquina se determinan desde la posición normal del operador.
Engrase la máquina antes del uso; consulte Lubricación.
Important: Si la máquina no es engrasada correctamente habrá fallos prematuros de piezas críticas.
Compruebe la presión de los neumáticos; consulte Comprobación de la presión de los neumáticos.
Important: Mantenga la presión correcta en todos los neumáticos para asegurar una buena calidad de corte y un rendimiento correcto de la máquina. No use los neumáticos con presiones menores que las recomendadas.
Compruebe el nivel de aceite del motor; consulte Comprobación del nivel de aceite del motor.
Compruebe el nivel de fluido hidráulico; consulte Comprobación del fluido hidráulico.
Compruebe el sistema de refrigeración; consulte Comprobación del sistema de refrigeración.
Compruebe el aceite del engranaje planetario; consulte Comprobación del aceite de la transmisión planetaria.
Compruebe el lubricante del eje trasero; consulte Comprobación del lubricante del eje trasero.
Compruebe el lubricante de la caja de engranajes del eje trasero; consulte Comprobación del lubricante de la caja de engranajes del eje trasero.
Piezas necesarias en este paso:
| Pegatina del año de fabricación | 1 |
En máquinas que requieran cumplimiento CE, instale la pegatina del año de fabricación incluida en las piezas sueltas y el kit CE, que se vende por separado (Figura 3).

Note: Los lados derecho e izquierdo de la máquina se determinan desde la posición normal del operador.

Para detener la máquina, reduzca la presión sobre el pedal de tracción y deje que vuelva a su posición central (Figura 4).
Hay 2 pedales de freno que accionan frenos de rueda individuales para ayudar en los giros y en el aparcamiento, y para mejorar la tracción en pendientes de través. Un enganche conecta los pedales para el transporte y para su uso como freno de estacionamiento (Figura 4).
El enganche de bloqueo de los pedales conecta los pedales para poner el freno de estacionamiento (Figura 4).
Empuje la palanca de inclinación del volante hacia abajo para mover el volante a la posición deseada, luego suelte la palanca para bloquear el ajuste (Figura 4).
Para poner el freno de estacionamiento, conecte los dos pedales entre sí con el seguro de bloqueo situado detrás de los pedales, y presione hacia abajo sobre el seguro del freno de estacionamiento mientras pisa los pedales de freno (Figura 4). Para quitar el freno de estacionamiento, pise los pedales de freno y el seguro se liberará, dejando que los pedales vuelvan a la posición de "quitado". Asegúrese de que los pedales se han retraído del todo después de quitar el freno de estacionamiento.
El interruptor de encendido (Figura 5) tiene tres posiciones: DESCONECTADO, CONECTADO/PRECALENTAMIENTO y ARRANQUE.

El interruptor de velocidad del motor (Figura 5) permite cambiar la velocidad del motor de dos maneras. Toque momentáneamente el interruptor para aumentar o reducir la velocidad del motor en incrementos de 100 rpm. Mantenga pulsado el interruptor para cambiar automáticamente a ralentí alto o bajo, dependiendo del extremo del interruptor que se presione.
El interruptor de la TDF tiene dos posiciones: HACIA FUERA (ARRANQUE) y HACIA DENTRO (PARADA). Tire hacia fuera del mando de la TDF para engranar las cuchillas de la carcasa de corte. Empuje el mando hacia dentro para desengranar las cuchillas de la carcasa de corte (Figura 5).
El interruptor (Figura 5) permite aumentar la gama de velocidad para el transporte de la máquina. Para cambiar entre las gamas de velocidad Alta y Baja, eleve las unidades de corte, desengrane la TDF y el control de crucero, ponga el pedal de tracción en la posición de PUNTO MUERTO y conduzca la máquina a baja velocidad.
Note: Las unidades de corte no están operativas, y no pueden ser bajadas desde la posición de transporte cuando el interruptor está en la gama alta.
Los interruptores de elevación elevan y bajan las unidades de corte (Figura 5). Presione los interruptores hacia adelante para bajar las unidades de corte y hacia atrás para elevar las unidades de corte. Al arrancar la máquina, con las unidades de corte bajadas, presione hacia abajo el interruptor de elevación para dejar que las unidades de corte floten y sieguen.
Note: Las unidades de corte no pueden bajarse en la gama de velocidad alta, y no pueden elevarse o bajarse a menos que el operador esté en el asiento con el motor en marcha. Las unidades de corte también pueden bajarse con la llave en la posición de CONECTADO y el operador en el asiento.
El interruptor del control de crucero bloquea la posición del pedal para mantener la velocidad de avance deseada (Figura 6). Presione la parte trasera del mando para desactivar el control de crucero, la parte intermedia para activar el control de crucero y la parte delantera para establecer la velocidad de avance deseada.
Note: Otras maneras de liberar el pedal son pisar cualquiera de los pedales de freno o poner el pedal de tracción en la posición de marcha atrás durante un segundo.

El enchufe eléctrico se utiliza para alimentar accesorios eléctricos opcionales (Figura 6).
Mueva la palanca de ajuste del asiento, situada en el lado izquierdo del asiento, hacia fuera, deslice el asiento hasta la posición deseada y suelte la palanca para fijar el asiento en esa posición (Figura 7).

Gire el pomo para ajustar el ángulo del reposabrazos.
Note: El pomo de ajuste está situado debajo del reposabrazos.
Mueva la palanca para ajustar el ángulo del respaldo (Figura 7).
El indicador de peso indica si el asiento está ajustado para el peso del operador (Figura 7). Ajuste la altura situando la suspensión dentro de la zona verde.
Utilice esta palanca para ajustar el asiento según el peso del operador (Figura 7). Tire de la palanca hacia arriba para aumentar la presión del aire, o empújela hacia abajo para reducir la presión del aire. El ajuste es correcto cuando el indicador de peso está en la zona verde.

El control de la recirculación del aire ajusta la cabina para que recircule el aire en la cabina o se introduzca en la cabina aire del exterior (Figura 8).
Recircule el aire cuando tenga puesto el aire acondicionado.
Aspire el aire cuando utilice el calentador o el ventilador.
Gire el mando de control del ventilador para regular la velocidad del ventilador (Figura 8).
Gire el mando de control de la temperatura para regular la temperatura de aire de la cabina (Figura 8).
Utilice este interruptor para activar o desactivar el limpiaparabrisas (Figura 8).
Utilice este interruptor para encender y apagar el aire acondicionado (Figura 8).
Levante los cierres para abrir el parabrisas (Figura 9). Presione hacia dentro el cierre para bloquear el parabrisas en la posición de ABIERTO. Tire hacia abajo y hacia fuera del enganche para cerrar y bloquear el parabrisas.

Levante los cierres para abrir la ventanilla trasera. Presione hacia dentro el cierre para bloquear la ventanilla en la posición de ABIERTO. Tire hacia abajo y hacia fuera del enganche para cerrar y bloquear la ventanilla (Figura 9).
Important: Cierre la ventanilla trasera antes de abrir el capó para evitar dañar el capó o la ventanilla trasera.
La pantalla LCD del InfoCenter (Figura 5) muestra información sobre la máquina, como por ejemplo el estado operativo, diferentes diagnósticos y otra información sobre la máquina.
Las pantallas mostradas dependen de los botones seleccionados. El propósito de cada botón puede variar dependiendo de lo que se necesite en cada momento.
Note: Las especificaciones y diseños están sujetos a modificación sin previo aviso.

| Descripción | Referencia en la Figura 10 | Dimensión o peso | |
| Altura con cabina | G | 237 cm (93½") | |
| Altura con barra antivuelco | I | 218 cm (86") | |
| Longitud total | F | 342 cm (135") | |
| Longitud para almacenamiento o transporte | E | 338 cm (133") | |
| Anchura de corte | |||
| total | C | 335 cm (132") | |
| unidad de corte delantera | 157 cm (62") | ||
| unidad de corte lateral | 107 cm (42") | ||
| unidad de corte delantera y una unidad de corte lateral | 246 cm (97") | ||
| Anchura total | |||
| unidades de corte bajadas | D | 345 cm (136") | |
| unidades de corte elevadas (posición de transporte) | B | 183 cm (73") | |
| Distancia entre ejes | H | 141 cm (55½") | |
| Distancia entre ruedas (centro a centro de los neumáticos) | |||
| delante | A | 114 cm (45") | |
| detrás | J | 107 cm (42") | |
| Altura sobre el suelo | 17 cm (6½") | ||
| Peso neto con cabina | 2159 kg (4759 libras) | ||
| Peso neto con barra antivuelco | 2159 kg (4759 libras) | ||
Está disponible una selección de aperos y accesorios homologados por Toro que pueden utilizarse con la máquina a fin de potenciar y aumentar sus prestaciones. Póngase en contacto con su Servicio Técnico Autorizado o con su distribuidor autorizado Toro, o visite www.Toro.com para obtener una lista de todos los aperos y accesorios homologados.
Para asegurar un rendimiento óptimo y mantener la certificación de seguridad de la máquina, utilice solamente piezas y accesorios genuinos Toro. Las piezas de repuesto y accesorios de otros fabricantes podrían ser peligrosos, y su uso podría invalidar la garantía del producto.
Note: Los lados derecho e izquierdo de la máquina se determinan desde la posición normal del operador.
No deje nunca que la máquina sea utilizada o reparada por niños o por personas que no hayan recibido la formación adecuada al respecto. La normativa local puede imponer límites sobre la edad del operador. El propietario es responsable de proporcionar formación a todos los operadores y mecánicos.
Familiarícese con la operación segura del equipo, los controles del operador y las señales de seguridad.
Apague el motor, retire la llave y espere a que se detenga todo movimiento antes de abandonar el puesto del operador. Deje que la máquina se enfríe antes de hacer trabajos de ajuste, mantenimiento, limpieza o almacenamiento.
Sepa cómo parar rápidamente la máquina y el motor.
Compruebe que los controles de presencia del operador, los interruptores de seguridad y los protectores están instalados y que funcionan correctamente. No utilice la máquina si no funcionan correctamente.
Antes de segar, inspeccione siempre la máquina para asegurarse de que las cuchillas, los pernos de las cuchillas y los conjuntos de corte están en buenas condiciones de uso. Sustituya cuchillas o pernos gastados o dañados en conjuntos completos para no desequilibrar la máquina.
Inspeccione el área donde se va a utilizar la máquina y retire cualquier objeto que la máquina podría lanzar al aire.
Este producto genera un campo electromagnético. Si usted lleva un dispositivo médico electrónico implantable, consulte a su profesional sanitario antes de utilizar este producto.
Extreme las precauciones al manejar el combustible. Es inflamable y sus vapores son explosivos.
Apague todo cigarrillo, cigarro, pipa u otra fuente de ignición.
Utilice solamente un recipiente de combustible homologado.
No retire el tapón de combustible ni llene el depósito de combustible si el motor está en marcha o está caliente.
No añada ni drene combustible en un lugar cerrado.
No guarde la máquina o un recipiente de combustible en un lugar donde pudiera haber una llama desnuda, chispas o una llama piloto, por ejemplo en un calentador de agua u otro electrodoméstico.
Si derrama combustible, no intente arrancar el motor; evite crear fuentes de ignición hasta que los vapores del combustible se hayan disipado.
Antes de arrancar el motor y utilizar la máquina, compruebe el nivel de aceite de motor en el cárter; consulte Comprobación del nivel de aceite del motor.
Antes de arrancar el motor y utilizar la máquina, compruebe el sistema de refrigeración; consulte Comprobación del sistema de refrigeración.
Antes de arrancar el motor y utilizar la máquina, compruebe el sistema hidráulico; consulte Comprobación del fluido hidráulico.
Utilice únicamente combustible diésel o combustible biodiésel limpio y nuevo con contenido sulfúrico bajo o ultrabajo (<15 ppm). El número mínimo de cetanos debe ser de 40. Compre el combustible en cantidades que puedan ser consumidas en 180 días para asegurarse de que el combustible es nuevo.
Capacidad del depósito de combustible: 79 litros (21 galones US)
Utilice combustible diésel tipo verano (Nº 2-D) en temperaturas superiores a -7 °C (20 °F) y tipo invierno (Nº 1-D o mezcla de Nº 1-D/2-D) en temperaturas inferiores a -7 °C (20 °F). El uso de combustible tipo invierno a bajas temperaturas proporciona un punto de inflamación menor y características de flujo en frío que facilitarán el arranque y reducirán la obturación del filtro del combustible.
El uso de combustible tipo verano con temperaturas por encima de los -7 °C (20 °F) contribuirá a alargar la vida útil de la bomba de combustible y a incrementar la potencia en comparación con el combustible tipo invierno.
Important: No utilice queroseno o gasolina en lugar de combustible diésel. El incumplimiento de esta precaución dañará el motor.
Esta máquina también puede utilizar una mezcla de combustible biodiésel de hasta B20 (20% biodiésel, 80% petrodiésel). La porción de petrodiésel debe ser bajo o ultrabajo en azufre. Tome las siguientes precauciones:
La parte de biodiésel del combustible deberá cumplir con la especificación ASTM D6751 o EN 14214.
La composición de la mezcla de combustible debe cumplir ASTM D975 o EN 590.
Las superficies pintadas pueden ser dañadas por mezclas de combustible biodiésel.
Utilice B5 (contenido de biodiésel del 5 %) o mezclas menores cuando hace frío.
Vigile los retenes, las mangueras y las juntas que estén en contacto con el combustible, ya que pueden degradarse con el paso del tiempo.
Es previsible la obturación del filtro del combustible durante un tiempo tras pasarse a las mezclas de biodiésel.
Póngase en contacto con su distribuidor si desea más información sobre el biodiésel.

Llene el depósito hasta una distancia de 6 a 13 mm (¼" a ½") por debajo del borde superior del depósito, no del cuello de llenado, con combustible diésel nº 2-D.
Note: Si es posible, llene el depósito de combustible después de cada uso; de esta manera se minimiza la acumulación de condensación dentro del depósito de combustible.
| Intervalo de mantenimiento y servicio | Procedimiento de mantenimiento |
|---|---|
| Cada vez que se utilice o diariamente |
|
Si la presión de los neumáticos es baja, se reduce la estabilidad en pendientes laterales. Esto podría causar un vuelco, que podría dar lugar a lesiones personales o la muerte.
No subinfle los neumáticos.
La presión correcta de los neumáticos es de 1.72-2.07 bar (25-30 psi).
Important: Mantenga la presión recomendada de todos los neumáticos para asegurar una buena calidad de corte y un rendimiento correcto de la máquina. No use los neumáticos con presiones menores que las recomendadas.Compruebe la presión de todos los neumáticos antes de utilizar la máquina.

| Intervalo de mantenimiento y servicio | Procedimiento de mantenimiento |
|---|---|
| Después de la primera hora |
|
| Después de las primeras 10 horas |
|
| Cada 200 horas |
|
Apriete las tuercas de las ruedas a 115–136 N·m (85 – 100 pies-libra) en el orden indicado en la Figura 13 y la Figura 14.


Si no se mantienen correctamente apretadas las tuercas de las ruedas podrían producirse lesiones personales.
Apriete las tuercas de las ruedas al par de torsión correcto.
Para evitar lesiones o la muerte en caso de un vuelco: mantenga la barra antivuelco en posición elevada y bloqueada y utilice el cinturón de seguridad.
Asegúrese de que el asiento está sujeto con el cierre del asiento.
No hay protección contra vuelcos cuando la barra antivuelco está bajada.
No utilice la máquina en terrenos desiguales o en pendientes con la barra antivuelco bajada.
Baje la barra antivuelco únicamente cuando sea imprescindible.
No use el cinturón de seguridad si la barra antivuelco está bajada.
Conduzca lentamente y con cuidado.
Eleve la barra antivuelco tan pronto como haya espacio suficiente.
Compruebe cuidadosamente que hay espacio suficiente antes de conducir por debajo de cualquier objeto en alto (por ejemplo, ramas, portales, cables eléctricos) y no entre en contacto con ellos.
Important: Utilice siempre el cinturón de seguridad cuando la barra antivuelco está en posición elevada. No utilice el cinturón de seguridad cuando la barra antivuelco está bajada.
Important: Baje la barra anti-vuelco únicamente cuando sea necesario.
Important: Asegúrese de que el asiento está sujeto con el cierre del asiento.


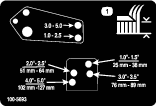
La altura de corte puede ajustarse de 25 a 127 mm (1" a 5") en incrementos de 13 mm (½"). Para ajustar la altura de corte en la unidad de corte delantera, coloque los ejes de las ruedas giratorias en los orificios superiores o inferiores de las horquillas, añada o retire el mismo número de espaciadores de las horquillas, y fije la cadena trasera en el orificio deseado.
Aparque la máquina en una superficie nivelada.
Arranque el motor y eleve las unidades de corte para modificar la altura de corte.
Apague el motor, ponga el freno de estacionamiento y retire la llave del interruptor de encendido después de elevar la unidad de corte.
Coloque los ejes de las ruedas giratorias en el mismo orificio en todas las horquillas.

Note: Cuando se utiliza el ajuste de altura de corte de 64 mm (2½") o más, instale el perno del eje en el orificio inferior de la horquilla de la rueda giratoria para evitar una acumulación de hierba entre la rueda y la horquilla. Cuando se utilizan alturas de corte de menos de 64 mm (2½") y se detecta una acumulación de hierba, cambie el sentido de avance de la máquina para arrastrar y eliminar los recortes de la zona de la rueda/horquilla.
Retire el casquillo tensor del husillo y deslice el husillo fuera del brazo de la rueda giratoria (Figura 17).
Coloque los 2 suplementos en el eje de la cuchilla de la misma forma que en la instalación original.
Note: Estos suplementos son necesarios para obtener el mismo nivel en toda la anchura de las unidades de corte. Coloque la número adecuado de espaciadores de 13 mm (½") (consulte la tabla siguiente) en el eje para conseguir la altura de corte deseada, luego coloque la arandela en el eje.
Consulte la tabla siguiente para determinar la combinación de espaciadores necesaria para cada ajuste (Figura 18):

Inserte el eje por el brazo de la rueda giratoria delantera e instale los suplementos (igual que en la instalación original) y los demás espaciadores en el eje.
Coloque el casquillo tensor para fijar el conjunto.
Retire el pasador de horquilla y el pasador que fijan las cadenas de ajuste de la altura de corte a la parte trasera de la unidad de corte (Figura 19).

Monte las cadenas de altura de corte en el orificio de altura de corte deseado con el pasador de horquilla y la chaveta (Figura 20).

Note: Cuando se usen alturas de corte de 25 mm (1"), 38 mm (1½"), o 51 mm (2"), mueva los patines y las ruedas niveladoras a la posición más alta.
Para ajustar la altura de corte de las unidades de corte laterales, añada o retire el mismo número de espaciadores de las horquillas de las ruedas giratorias, coloque los ejes de las ruedas giratorias en los orificios de altura de corte alta o baja en las horquillas y fije los brazos de pivote en los orificios del soporte de altura de corte seleccionados.
Coloque los ejes de las ruedas giratorias en el mismo orificio en todas las horquillas (Figura 21 y Figura 23).
Retire el casquillo tensor del husillo y deslice el husillo fuera del brazo de la rueda giratoria (Figura 21).

Coloque los 2 suplementos en el eje de la cuchilla de la misma forma que en la instalación original. Estos suplementos son necesarios para obtener el mismo nivel en toda la anchura de las unidades de corte. Coloque el número adecuado de espaciadores de 13 mm (½") (consulte la tabla siguiente) en el husillo para conseguir la altura de corte deseada, luego coloque la arandela en el husillo.
Note: Estos suplementos son necesarios para obtener el mismo nivel en toda la anchura de las unidades de corte. Coloque la número adecuado de espaciadores de 13 mm (½") (consulte la tabla siguiente) en el eje para conseguir la altura de corte deseada, luego coloque la arandela en el eje.
Consulte la tabla siguiente para determinar la combinación de espaciadores necesaria para cada ajuste (Figura 22).

Inserte el eje por el brazo de la rueda giratoria delantera e instale los suplementos (igual que en la instalación original) y los demás espaciadores en el eje.
Retire la chaveta y los pasadores de los brazos de pivote de las ruedas giratorias (Figura 23).
Gire la varilla tensora para elevar o bajar el brazo de pivote hasta que los orificios estén alineados con los orificios seleccionados del soporte de ajuste de la altura de corte en el bastidor de la carcasa de corte (Figura 23 y Figura 24).


Introduzca los pasadores de horquilla e instale las chavetas.
Gire la varilla tensora en sentido antihorario (con los dedos solamente) para tensar el ajuste.
Retire los pasadores de horquilla y las chavetas que fijan los acoplamientos de los amortiguadores a los soportes de la carcasa de corte (Figura 25).
Important: No debe ajustarse nunca la longitud del acoplamiento del amortiguador. La distancia entre los centros de los orificios debe ser de 13.7 cm (5⅜").

Alinee los orificios de los acoplamientos de los amortiguadores con los orificios seleccionados del soporte de altura de corte en el bastidor de la carcasa de corte y coloque los pasadores de horquilla y las chavetas (Figura 26).

Monte los patines en la posición inferior cuando utilice alturas de corte de más de 64 mm (2½") y en la posición superior con alturas de corte de menos de 64 mm (2½").
Note: Cuando los patines se desgastan, puede pasarlos al lado opuesto del cortacésped dándoles la vuelta. Esto permite usar los patines durante más tiempo antes de cambiarlos.
Ajuste los patines (Figura 27).
Important: Apriete el tornillo delantero de cada patín a 9–11 N·m (80–100 pulgadas-libra).

Los rodillos de la unidad de corte deben montarse en la posición inferior cuando se utilizan alturas de corte de más de 64 mm (2½"), y en la posición superior con alturas de corte de menos de 64 mm (2½").

Debido a diferencias en la condición del césped y en los ajustes de contrapeso de la unidad de tracción, conviene segar una zona de césped de prueba y comprobar el aspecto de la hierba antes de empezar la siega formal.
Ajuste todas las unidades de corte a la altura de corte deseada; consulte Ajuste de la altura de corte.
Compruebe la presión de los neumáticos delanteros y traseros y ajústela a 1.72-2.07 bar (25-30 psi).
Compruebe la presión de aire de los neumáticos de todas las ruedas giratorias de la unidad de corte y ajústela a 3.45 bar (50 psi).
Compruebe las presiones de carga y contrapeso con el motor a velocidad de RALENTí ALTO, usando los puntos de prueba hidráulicos.
Note: Ajuste el contrapeso a 22.41 bar (325 psi).
Compruebe que las cuchillas no están dobladas; consulte Verificación de la rectilinealidad de las cuchillas.
Corte la hierba en una zona de prueba para determinar si todas las unidades de corte están a la misma altura.
Si es necesario ajustar aún más las carcasas de corte, busque una superficie plana usando una regla de 2 m (6') o más.
Para facilitar la medición del plano de las cuchillas, eleve la altura de corte a 7.6-10.1 cm (3"-4"); consulte Ajuste de la altura de corte.
Baje las unidades de corte sobre la superficie plana y retire las cubiertas de la parte superior de las unidades de corte.
Afloje la tuerca que sujeta la polea tensora, para aliviar la tensión en la correa de cada unidad de corte.
Note: Conviene utilizar la herramienta Toro (Pieza Nº 121-3874) para apretar el tapón tensor.
Gire la cuchilla de cada eje hasta que los extremos estén orientados hacia adelante y hacia atrás.
Mida desde el suelo hasta la punta delantera del filo de corte.
Ajuste los suplementos de 3 mm (⅛") de las horquillas de las ruedas giratorias delanteras hasta que la altura de corte se corresponda con la marca de la pegatina (Figura 29); consulte Ajuste de la altura de corte.

Gire la cuchilla de cada eje hasta que los extremos estén orientados hacia adelante y hacia atrás.
Mida desde el suelo hasta la punta delantera del filo de corte.
Ajuste los suplementos de 3 mm (⅛") de las horquillas de las ruedas giratorias delanteras hasta que la altura de corte se corresponda con la marca de la pegatina (Figura 30).
Note: Para el eje de la cuchilla exterior solamente, consulte Ajuste de la altura de corte.

Alinee de lado a lado la cuchilla del eje exterior de cada unidad de corte lateral.
Note: Mida desde el suelo hasta la parte delantera del filo de corte de ambas unidades, y compare las dimensiones. La diferencia entre las medidas debe ser de 3 mm (⅛") o menos. No haga ningún ajuste ahora mismo.
Alinee de lado a lado la cuchilla del eje interior de la unidad de corte lateral y del eje exterior correspondiente de la unidad de corte delantera.
Note: Mida desde el suelo hasta la punta del filo de corte en el borde interior de la unidad de corte lateral hasta el borde exterior de la unidad de corte delantera, y compare. La medida en la carcasa de corte lateral no debe variar en más de 3 mm (⅛") de la unidad de corte delantera.
Note: Las ruedas giratorias de las tres unidades de corte deben permanecer en el suelo con el contrapeso aplicado.
Note: Si es necesario efectuar algún ajuste para que coincida el corte entre las unidades de corte delantera y laterales, realice los ajustes en las unidades de corte laterales solamente.
Si el borde interior de la unidad de corte lateral está demasiado alto respecto al borde exterior de la unidad de corte delantera, retire un suplemento de la parte inferior del brazo interior delantero de la rueda giratoria en la unidad de corte lateral (Figura 30).
Note: Vuelva a comprobar la medida entre los bordes exteriores de ambas unidades de corte laterales y desde el borde interior de la unidad de corte lateral hasta el borde exterior de la unidad de corte delantera.
Si el borde interior sigue estando demasiado alto, retire otro suplemento de la parte inferior del brazo interior delantero de la rueda giratoria de la unidad de corte lateral y un suplemento del brazo exterior delantero de la rueda giratoria de la unidad de corte lateral.
Si el borde interior de la unidad de corte lateral está demasiado bajo respecto al borde exterior de la unidad de corte delantera, añada un suplemento a la parte inferior del brazo interior delantero de la rueda giratoria en la unidad de corte lateral.
Note: Vuelva a comprobar la distancia entre los bordes exteriores de ambas unidades de corte laterales y desde el borde interior de la unidad de corte lateral hasta el borde exterior de la unidad de corte delantera.
Si el borde interior sigue estando demasiado bajo, añada otro suplemento a la parte inferior del brazo interior delantero de la rueda giratoria de la unidad de corte lateral y añada un suplemento al brazo exterior delantero de la rueda giratoria de la unidad de corte lateral.
Una vez que la altura de corte coincida en los bordes de las unidades de corte delantera y laterales, compruebe que la inclinación de la carcasa de corte lateral sigue siendo de 8-11 mm (5/16"-7/16").
Note: Ajuste según sea necesario.
| Intervalo de mantenimiento y servicio | Procedimiento de mantenimiento |
|---|---|
| Cada vez que se utilice o diariamente |
|
La máquina tiene interruptores de seguridad en el sistema eléctrico. Estos interruptores deshabilitan la unidad de tracción o la TDF cuando usted se levanta del asiento. Si desengrana la TDF y pone el freno de estacionamiento antes de levantarse del asiento, el motor sigue funcionando.
Conduzca la máquina lentamente a una zona amplia y despejada. Baje la carcasa de corte, apague el motor y ponga el freno de estacionamiento.
Siéntese en el asiento y pise el pedal de tracción. Intente arrancar el motor. El motor no debe arrancar. Si el motor arranca, hay un problema con los interruptores de seguridad que debe ser corregido antes de empezar la operación.
Siéntese en el asiento, arranque el motor y engrane la TDF. Siéntese en el asiento con la TDF engranada, y luego levántese del asiento. La TDF debe desengranarse después de una breve demora. Si la TDF permanece engranada, hay un problema con los interruptores de seguridad que debe ser corregido antes de utilizar la máquina.
Siéntese en el asiento, ponga el freno de estacionamiento y arranque el motor. Mueva el pedal de tracción fuera de la posición de PUNTO MUERTO. El InfoCenter debe mostrar "tracción no permitida", y la máquina no debe moverse. Si el motor gira, hay un problema con los interruptores de seguridad que debe ser corregido antes de empezar a utilizar la máquina.
Siéntese en el asiento y ajuste el retrovisor para obtener la mejor visibilidad por la ventanilla trasera (Figura 31). Tire de la palanca hacia atrás para inclinar el espejo a fin de reducir los reflejos deslumbrantes.
Siéntese en el asiento y pida a alguien que le ayude a ajustar los retrovisores laterales para obtener la mejor visibilidad por el costado de la máquina (Figura 31).

Afloje las tuercas de montaje y posicione cada faro para que apunte directamente hacia adelante.
Note: Apriete la tuerca de montaje justo lo suficiente para sujetar el faro.
Coloque una chapa metálica plana sobre la cara del faro.
Coloque un transportador de ángulos magnético sobre la chapa.
Sujetando el conjunto, incline el faro cuidadosamente 3° hacia abajo, luego apriete la tuerca.
Repita el procedimiento en el otro faro.
Cuando la máquina está en el modo silencioso, el nivel de presión sonora en el puesto del operador es inferior a 80 dBA, con un factor K de 1.0 dBA, cuando se evalúa de acuerdo con la norma EN ISO 5395:2013-1 Anexo F.
Póngase en contacto con un distribuidor autorizado de Toro para ajustar el software de la máquina y activar el modo silencioso.
| Cuchilla atómica | Cuchilla de vela plana | Cuchilla de vela estándar | Cuchilla de vela media | |
| Condiciones del césped | Húmedo, pegajoso y crecimiento de primavera | Césped ligero o escaso | Corte normal | Todas las condiciones hasta crecimiento denso |
| Mulching de hojas | Funciona bien | No usar | Funciona bien | Funciona bien |
| Ventajas | Menos elevación, disgrega las acumulaciones de recortes | No crea mucho flujo de aire en césped polvoriento, arenoso y escaso | Buen rendimiento en general | Más elevación y menos turbulencias que la cuchilla estándar, en general bien |
| Desventajas | Menos elevación y menos dispersión en condiciones pesadas | No se recomienda en condiciones de normales a pesadas |
La pantalla muestra información sobre la máquina, como por ejemplo el estado operativo, diferentes diagnósticos y otra información sobre la máquina. Hay varias pantallas diferentes. Puede cambiar entre las pantallas en cualquier momento pulsando cualquiera de los botones de la pantalla y luego seleccionando la tecla de flecha correspondiente.

Note: El propósito de cada botón puede variar dependiendo de lo que se necesite en cada momento. El icono de cada botón indica su función en cada momento.
![]() | Horímetro |
![]() | Ocultar fallo |
![]() | Ajustes del tope virtual del pedal |
![]() | Las bujías están activadas. |
![]() | El operador debe sentarse en el asiento. |
![]() | El freno de estacionamiento está puesto. |
![]() | Temperatura del refrigerante del motor (°C o °F) |
![]() | Tracción o Pedal de tracción |
![]() | El control de crucero está activado. |
![]() | La toma de fuerza está deshabilitada. |
![]() | La TDF está engranada. |
![]() | Batería |
![]() | Nivel de combustible |
![]() | Advertencia |
![]() | Activo |
![]() | Inactivo |
![]() | Anterior |
![]() | Siguiente |
![]() | Las unidades de corte se están elevando. |
![]() | Las unidades de corte se están bajando. |
![]() | Pantalla anterior |
![]() | Rápido |
![]() | Lento |
![]() | Aumentar valor |
![]() | Reducir valor |
![]() | Menú |
![]() | Desplazamiento hacia arriba/hacia abajo |
![]() | Desplazamiento hacia la izquierda/hacia la derecha |
![]() | Bloqueado |
![]() | Contraseña PIN |
Para entrar en el sistema de menús del InfoCenter, pulse el botón de acceso a los menús en la pantalla principal. Aparecerá el menú principal. Las tablas siguientes contienen un resumen de las opciones disponibles en cada menú:
| Menú principal - Elemento del menú | Descripción |
| Fallos | El menú Fallos contiene una lista de los fallos recientes de la máquina. Consulte el Manual de mantenimiento o póngase en contacto con su distribuidor Toro autorizado si desea más información sobre el menú Fallos y la información que contiene. |
| Mantenimiento | El menú Mantenimiento contiene información sobre la máquina, como por ejemplo contadores de horas de uso y otros datos similares. |
| Diagnósticos | El menú Diagnósticos muestra el estado de cada interruptor y sensor de la máquina y de la salida de cada control. Puede utilizar esta información para identificar y resolver algunos problemas, puesto que indica rápidamente qué controles de la máquina están ACTIVADOS O ENCENDIDOS, y cuáles están DESACTIVADOS O APAGADOS. |
| Settings (Ajustes) | El menú Settings (Ajustes) permite personalizar y modificar las variables de configuración de la pantalla. |
Ajustes de la máquina![]() | El menú Ajustes de la máquina permite ajustar el ralentí automático, la velocidad, el sistema Smart Power, la alarma de marcha atrás y los umbrales del sensor de pendientes. |
| Acerca de | El menú Acerca de muestra el número de modelo, el número de serie y la versión del software de su máquina. |
| Menú de mantenimiento – Elemento del menú | Descripción |
| Hours | Muestra el número total de horas de operación de la máquina, el motor y la TDF, así como el número de horas de transporte y el mantenimiento previsto. |
| Counts | Muestra los diferentes contadores de la máquina. |
| Regeneración DPF | La opción de regeneración del filtro de partículas diésel (DPF) y los submenús del DPF. |
| Inversión del ventilador | Permite iniciar un ciclo de inversión del sentido de giro del ventilador. |
Régimen de combustible ![]() | Indica el consumo medio de combustible. |
Pedal de tracción ![]() | Indica los valores de calibración del pedal de tracción y permite calibrar el pedal de tracción. |
| Diagnósticos - Elemento del menú | Descripción |
| Carcasa izquierda | Indica las entradas y salidas de estos componentes. |
| Carcasa central | |
| Carcasa derecha | |
| Pedal de tracción | |
| Tracción | |
| Intervalo alto/bajo | |
| TDF | |
| Motor | |
| CruceroControl | |
| Kit de luces |
| Ajustes - Elemento de Menú | Descripción |
| Introducir PIN | Permite que una persona (superintendente/mecánico) autorizada por su compañía acceda a los menús protegidos con código PIN. |
Ajustes protegidos ![]() | Permite que una persona autorizada por la empresa con el código PIN pueda acceder a los ajustes protegidos. |
Restaurar valores predeterminados ![]() | Reinicia los ajustes con los valores predeterminados. |
| Retroiluminación | Controla el brillo de la pantalla LCD. |
| Idioma | Controla el idioma utilizado en el InfoCenter. |
| Font Size (Tamaño de fuente) | Controla el tamaño de la fuente en la pantalla. |
| Unidades | Controla las unidades utilizadas en el InfoCenter (imperial o métrico). |
Note: El menú Ajustes de la máquina sólo aparece cuando se introduce el PIN.
Ajustes de la máquina - Elemento del menú![]() | Descripción |
Ralentí automático ![]() | Controla la cantidad de tiempo permitido antes de poner el motor en ralentí cuando la máquina no se está usando. |
Velocidad de siega ![]() | Controla la velocidad máxima en modo de siega (gama baja). |
Velocidad de transporte ![]() | Controla la velocidad máxima de transporte (intervalo alto). |
Smart Power![]() | Activa y desactiva el Smart Power. |
Alarma de marcha atrás ![]() | Indica que hay una alarma de marcha atrás instalada. |
Sensor de pendientes instalado ![]() | Indica que hay un sensor de pendientes instalado. |
| Acerca de – Elemento del menú | Descripción |
| Modelo | Muestra el número de modelo de la máquina. |
| NS | Muestra el número de serie de la máquina. |
| Rev S/W | Indica la revisión de software del controlador principal. |
| Fase V | Muestra Yes o No (sí/no), dependiendo del motor. |
XDM-2700 ![]() | Indica la revisión de software del InfoCenter |
CAN ![]() | Indica el estado del bus de comunicaciones de la máquina |
S/W Rev-S ![]() | Indica la versión de software del controlador secundario. |
Protegido
en menús protegidos – accesible solo al introducir el
PIN
Algunas opciones de configuración operativa pueden modificarse en el menú SETTINGS (Ajustes) del InfoCenter. Para bloquear estos ajustes, utilice el PROTECTED MENU (Menú Protegido).
Note: Su distribuidor programa la contraseña inicial en el momento de la entrega de la máquina.
Note: El código PIN predeterminado de fábrica para su máquina es 0000 o 1234.Si cambió su código PIN y olvidó el código, póngase en contacto con su distribuidor autorizado Toro para obtener ayuda.
En MAIN MENU (menú principal), vaya al menú SETTINGS (Ajustes) y pulse el botón Seleccionar (Figura 33).

En el menú SETTINGS (Ajustes), vaya a ENTER PIN (Introducir PIN) y pulse el botón Seleccionar (Figura 34A).

Para introducir el código PIN, presione los botones de navegación Arriba/Abajo hasta que aparezca el primer dígito correcto y, a continuación, pulse el botón de navegación Derecha para desplazarse al dígito siguiente (Figura 34B y Figura 34C). Repita este paso hasta que haya introducido el último dígito.
Pulse el botón Seleccionar.
Note: Si la pantalla acepta el código PIN y el menú
protegido está desbloqueado, se muestra la palabra
en la esquina superior
derecha de la pantalla.
Para bloquear el menú Protegido, gire el interruptor de encendido a la posición OFF (Desconectado) y luego a la posición ON (Conectado).
En SETTINGS (Ajustes), vaya a PROTECT SETTINGS (Proteger configuración).
Para ver y modificar los ajustes sin introducir un
código PIN, utilice el botón Seleccionar para cambiar PROTEGER CONFIGURACIóN a
(Desactivado).
Para ver y modificar los ajustes con un código
PIN, utilice el botón Seleccionar para cambiar PROTECT SETTINGS (Proteger configuración) a
(Activado), introduzca
el código PIN y gire la llave del interruptor de encendido
a la posición de OFF (Desconectado)
y luego a la posición de ON (Conectado).
El temporizador de mantenimiento programado reinicia a cero las horas restantes para el siguiente mantenimiento después de realizar un procedimiento de mantenimiento programado.
En AJUSTES, vaya a INTRODUCIR PIN y pulse el botón Seleccionar.
Introduzca el PIN; consulte Acceso a menús protegidos.
En SERVICE (Mantenimiento), vaya a HOURS (Horas) y pulse el botón Seleccionar.
Desplácese hacia abajo a SERVICE DUE (Mantenimiento pendiente).
Note: Si hay mantenimiento pendiente, aparece NOW (Ahora) junto a SERVICE DUE (Mantenimiento pendiente).
Resalte el intervalo de mantenimiento y pulse el botón Seleccionar.
Note: El intervalo de mantenimiento (250 horas, 500 horas, etc.) está situado junto al SERVICE DUE (Mantenimiento pendiente). Service interval (intervalo de mantenimiento) es un elemento de menú protegido.
Cuando aparezca la pantalla RESET SERVICE TIMER? (¿Resetear temporizador de mantenimiento?), pulse el botón Seleccionar para contestar SÍ o el botón Atrás para contestar NO.
Después de seleccionar YES (Sí) la pantalla de intervalos se borra, y vuelve luego a las selecciones Service Hours (Horas de mantenimiento).
En el menú Ajustes, vaya a Ralentí automático.
Pulse el botón interior derecho o izquierdo para cambiar el tiempo de ralentí automático, entre DESACTIVADO, 8 s, 10 s, 15 s, 20 s y 30 s.
En el menú Configuración, vaya a Velocidad de siega y pulse el botón derecho.
Utilice el botón interior derecho para aumentar la velocidad máxima de siega (50 %, 75 % o 100 %).
Utilice el botón interior izquierdo para reducir la velocidad máxima de siega (50 %, 75 %, o 100 %).
Pulse el botón izquierdo para salir.
En el menú Configuración, vaya a Velocidad de transporte, y pulse el botón derecho.
Utilice el botón interior derecho para aumentar la velocidad máxima de siega (50 %, 75 % o 100 %).
Utilice el botón interior izquierdo para reducir la velocidad máxima de siega (50 %, 75 %, o 100 %).
Pulse el botón izquierdo para salir.
Cuando termine con el Menú Protegido, pulse el botón izquierdo para salir al Menú Principal, luego pulse el botón izquierdo para salir al Menú Marcha.
En SETTINGS (Ajustes), vaya a SMART POWER.
Pulse el botón de navegación Derecha para cambiar entre ON (Activado) y OFF (Desactivado).

Rojo intermitente — fallo activo
Rojo fijo — aviso activo
Verde fijo — operación normal
Verde intermitente—actualizando código
El propietario/operador puede prevenir, y es responsable de cualquier accidente que pueda provocar lesiones personales o daños materiales.
Lleve ropa adecuada, incluyendo guantes, protección ocular, pantalón largo, calzado resistente y antideslizante y protección auricular. Si tiene el pelo largo, recójaselo, y no lleve joyas o prendas sueltas.
No utilice la máquina si está enfermo, cansado, o bajo la influencia de alcohol o drogas.
Dedique toda su atención al manejo de la máquina. No realice ninguna actividad que pudiera distraerle; de lo contrario, pueden producirse lesiones o daños materiales.
Antes de arrancar el motor, asegúrese de que todas las transmisiones están en punto muerto, que el freno de estacionamiento está puesto y que usted se encuentra en el puesto del operador.
No lleve pasajeros en la máquina y mantenga a otras personas y niños fuera de la zona de trabajo.
Utilice la máquina únicamente con buena visibilidad para evitar agujeros o peligros ocultos.
Evite segar hierba mojada. Una tracción reducida podría hacer que la máquina se deslice.
Mantenga las manos y los pies alejados de las piezas en movimiento. Manténgase alejado del orificio de descarga.
Mire hacia atrás y hacia abajo antes de poner marcha atrás para asegurarse de que el camino está despejado.
Tenga cuidado al acercarse a esquinas ciegas, arbustos, árboles u otros objetos que puedan dificultar su visión.
Pare las cuchillas siempre que no esté segando.
Pare la máquina, retire la llave y espere a que se detengan todas las piezas en movimiento antes de inspeccionar el accesorio después de golpear un objeto o si se produce una vibración anormal en la máquina. Haga todas las reparaciones necesarias antes de volver a utilizar la máquina.
Vaya más despacio y tenga cuidado al girar y al cruzar calles y aceras con la máquina. Ceda el paso siempre.
Desengrane la transmisión de la unidad de corte, apague el motor, retire la llave y espere a que se detenga todo movimiento antes de ajustar la altura de corte (a menos que pueda ajustarla desde la posición del operador).
Haga funcionar el motor únicamente en zonas bien ventiladas. Los gases de escape contienen monóxido de carbono, que es letal si se inhala.
No deje nunca desatendida la máquina si está funcionando.
Antes de abandonar el puesto del operador, haga lo siguiente:
Aparque la máquina en una superficie nivelada.
Desengrane la TDF y baje los accesorios.
Ponga el freno de estacionamiento.
Apague el motor y retire la llave.
Espere a que se detenga todo movimiento.
Utilice la máquina únicamente con buena visibilidad. No haga funcionar la máquina cuando hay riesgo de tormentas eléctricas.
No use la máquina como un vehículo de remolque.
Utilice solamente accesorios, aperos y piezas de repuesto homologados por Toro.
Utilice el control de crucero (si está instalado) únicamente cuando pueda utilizar la máquina en una zona abierta, llana y libre de obstáculos, y donde la máquina pueda desplazarse a una velocidad constante sin interrupción.
El ROPS es un dispositivo de seguridad integrado y eficaz.
No retire ninguno de los componentes del ROPS de la máquina.
Asegúrese de que el cinturón de seguridad está sujeto a la máquina.
Tire del cinturón sobre el regazo y conéctelo a la hebilla en el otro lado del asiento.
Para desabrochar el cinturón de seguridad, sujete el cinturón, pulse el botón de la hebilla para soltar el cinturón y guié el cinturón hasta el orificio de recogida automática. Asegúrese de que puede desabrochar rápidamente el cinturón de seguridad en caso de emergencia.
Verifique con atención si hay obstrucciones en alto y evite el contacto con ellas.
Mantenga el ROPS en condiciones seguras de funcionamiento, inspeccionándolo periódicamente en busca de daños y manteniendo bien apretados todos los herrajes de montaje.
Si algún componente del ROPS está dañado, sustitúyalo. No lo repare ni lo cambie.
Una cabina instalada por Toro es una barra antivuelco.
Lleve puesto siempre el cinturón de seguridad.
Mantenga una barra antivuelco plegable en posición elevada y bloqueada, y lleve puesto el cinturón de seguridad cuando utilice la máquina con la barra antivuelco en posición elevada.
Baje una barra antivuelco plegable temporalmente solo cuando sea necesario. No lleve el cinturón de seguridad cuando la barra antivuelco está plegada hacia abajo.
Sepa que no hay protección contra vuelcos cuando una barra antivuelco plegada está en posición de bajada.
Compruebe la zona que segará y nunca pliegue hacia abajo una barra antivuelco plegable en zonas de pendientes, taludes o agua.
Las pendientes son una de las principales causas de accidentes por pérdida de control y vuelcos, que pueden causar lesiones graves o la muerte. Usted es responsable de la seguridad cuando trabaja en pendientes. El uso de la máquina en cualquier pendiente exige un cuidado especial.
Evalúe las condiciones del lugar de trabajo para determinar si es seguro trabajar en la pendiente con la máquina; puede ser necesario realizar un estudio detallado de la zona. Utilice siempre el sentido común y el buen juicio al realizar este estudio.
Revise las instrucciones que aparecen a continuación sobre la operación de la máquina en pendientes y sobre la manera de determinar si la máquina puede utilizarse en las condiciones reinantes en ese día y lugar de trabajo en concreto. Los cambios de terreno pueden necesitar un cambio en el modo de operación de la máquina en pendientes.
Evite arrancar, parar o girar la máquina en cuestas o pendientes. Evite hacer cambios bruscos de velocidad o de dirección. Haga los giros lentamente y poco a poco.
No utilice la máquina en condiciones que puedan comprometer la tracción, la dirección o la estabilidad de la máquina.
Retire o señale obstrucciones como terraplenes, baches, surcos, montículos, rocas u otros peligros ocultos. La hierba alta puede ocultar las obstrucciones. Un terreno irregular puede hacer que la máquina vuelque.
Tenga en cuenta que conducir en hierba mojada, atravesar pendientes empinadas, o bajar cuestas puede hacer que la máquina pierda tracción. La transferencia de peso a las ruedas delanteras puede hacer que patine la máquina, con pérdida de frenado y de control de dirección.
Extreme las precauciones cuando utilice la máquina cerca de terraplenes, fosas, taludes, obstáculos de agua u otros obstáculos. La máquina podría volcar repentinamente si una rueda pasa por el borde de un terraplén o fosa, o si se socava un talud. Establezca una zona de seguridad entre la máquina y cualquier obstáculo.
Identifique cualquier obstáculo situado en la base de la pendiente. Si hay obstáculos, siegue la pendiente con una máquina manual de empuje.
Si es posible, mantenga la(s) unidad(es) de corte bajada(s) al suelo mientras trabaje en pendientes. Elevar la(s) unidad(es) de corte mientras se trabaja en pendientes puede hacer que la máquina pierda estabilidad.
Extreme las precauciones cuando utilice sistemas de recogida de hierba u otros accesorios. Éstos pueden afectar a la estabilidad de la máquina y causar pérdidas de control.
Practique la conducción de la máquina, porque tiene una transmisión hidrostática y sus características pueden ser diferentes de otras máquinas de mantenimiento de césped. Algunos puntos a tener en cuenta durante la operación de la unidad de tracción, la unidad de corte u otros accesorios son que la transmisión, la velocidad del motor y la carga sobre las cuchillas o sobre otros accesorios afectan al rendimiento de la máquina.
Con el sistema Smart Power™ de Toro, no tiene que estar pendiente del sonido del motor para controlar su velocidad en condiciones de carga pesada. El sistema Smart Power evita que el motor se ahogue en condiciones de siega difíciles, al controlar automáticamente la velocidad de la máquina y optimizar el rendimiento de corte.
Puede utilizar los frenos para ayudar a girar la máquina. No obstante, utilícelos con cuidado, sobre todo en hierba blanda o húmeda, porque se puede desgarrar el césped accidentalmente. Otra ventaja de los frenos es la de mantener la tracción. Por ejemplo, en ciertas condiciones de pendiente, la rueda que está ‘cuesta arriba’ resbala y pierde la tracción. Si esto ocurre, pise el pedal de freno de esa rueda de forma gradual e intermitente hasta que la rueda que está ‘cuesta arriba’ deje de resbalar. Esto aumenta la tracción en la rueda que está 'cuesta abajo'.
La tracción asistida es automática y no requiere la intervención del operador. Si una rueda empieza a patinar, el caudal se divide automáticamente entre las ruedas delanteras y traseras para minimizar el patinaje y la pérdida de tracción.
Antes de parar el motor, desengrane todos los controles y ponga el acelerador en la posición de LENTO. Al mover el acelerador a LENTO se reducen las altas revoluciones del motor, el ruido y las vibraciones. Gire la llave a la posición de APAGADO para apagar el motor. Retire la llave si va a abandonar el puesto del operador.
Antes de transportar la máquina, eleve las unidades de corte y fije los cierres de transporte (Figura 36).

Arranque el motor y déjelo funcionar a velocidad de RALENTí MEDIO hasta que se caliente. Mueva el interruptor de velocidad del motor a RALENTí ALTO, eleve las unidades de corte, quite el freno de estacionamiento, pise el pedal de tracción hacia adelante y conduzca con cuidado a un espacio abierto.
Practique la conducción hacia adelante y hacia atrás, y el arranque y la parada de la máquina. Para detener la máquina, levante el pie del pedal de tracción y déjelo volver a PUNTO MUERTO, o pise el pedal de marcha atrás.
Note: Al bajar una pendiente, posiblemente tenga que pisar el pedal de marcha atrás para parar.
Practique la conducción alrededor de obstáculos con las unidades de corte elevadas y bajadas. Tenga cuidado al conducir entre objetos para no dañar la máquina ni las unidades de corte.
Siempre conduzca lentamente en terrenos irregulares.
Si hay un obstáculo en su camino, eleve las unidades de corte para segar alrededor del mismo.
Cuando transporte la máquina de una zona de trabajo a otra, eleve totalmente las unidades de corte, desengrane la TDF, pulse el interruptor de segar/transportar a la posición de TRANSPORTE y ponga el acelerador en posición de RáPIDO.
El sistema de contrapeso mantiene una contrapresión hidráulica en los cilindros de elevación de la carcasa. Esta presión mejora la tracción al transferir el peso de la unidad de corte a las ruedas de tracción del cortacésped. La presión de contrapeso se ajusta en fábrica para proporcionar un equilibrio óptimo entre aspecto después del corte y tracción en la mayoría de las condiciones de césped.
Una reducción de la presión de contrapeso puede producir una mayor estabilidad en la unidad de corte, pero puede reducir la tracción. Un aumento de la presión de contrapeso puede aumentar la tracción, pero puede dar lugar a un peor aspecto después del corte. Consulte las instrucciones del Manual de mantenimiento de la unidad de tracción si desea ajustar la presión de contrapeso.
Important: En situaciones de frenado de emergencia, levante el pie del pedal de tracción y pise los pedales de freno.
En la gama de velocidad baja solamente, puede usar los frenos de forma individual para girar o para mejorar la tracción. Realice lo siguiente al utilizar los frenos individualmente:
Desconecte el enganche de bloqueo de los pedales (Figura 4).
Para hacer un giro asistido, pise el pedal de freno correspondiente al lado hacia el cual desea girar. Esto permite realizar giros más cerrados.
Note: Utilice los frenos individuales con cuidado, sobre todo en hierba blanda o húmeda, porque el césped se puede desgarrar de forma accidental.
Para tracción asistida, aplique una ligera presión al pedal de freno correspondiente al neumático delantero que patina. Por ejemplo, en ciertas condiciones de pendiente, la rueda que está ‘cuesta arriba’ resbala y pierde la tracción. Si esto ocurre, pise el pedal de freno de esa rueda de forma gradual e intermitente hasta que la rueda que está ‘cuesta arriba’ deje de resbalar. Esto aumenta la tracción en la rueda que está 'cuesta abajo'.
Con Smart Power, el operador no tiene que escuchar la velocidad del motor en condiciones de mucha carga. El sistema Smart Power evita que el motor se ahogue en condiciones de siega difíciles, al controlar automáticamente la velocidad de la máquina y optimizar el rendimiento de corte.
Note: De forma predeterminada, la función Smart Power está ACTIVADA.
La velocidad del ventilador de la máquina es controlada por la temperatura del fluido hidráulico y la temperatura del refrigerante del motor. Cuando el fluido hidráulico o el refrigerante alcanza una temperatura determinada, se inicia automáticamente un ciclo de inversión del ventilador. En este ciclo el chorro de aire expulsa los residuos de la rejilla trasera y baja la temperatura del refrigerante del motor y del fluido hidráulico.
Puede completar un ciclo de inversión manual pulsando simultáneamente los botones derecho e izquierdo del InfoCenter. Se recomienda invertir manualmente el ventilador antes de abandonar la zona de trabajo, o de entrar en el taller o el almacén.
La máquina está dotada de ralentí automático, que pone el motor automáticamente en ralentí si no se utilizan ninguna de las funciones siguientes durante un periodo de tiempo predeterminado, establecido anteriormente en el InfoCenter.
El pedal de tracción está en la posición de PUNTO MUERTO.
La TDF esté desengranada.
Ninguno de los interruptores de elevación de los brazos está activado.
Si se activa cualquiera de estas funciones, la máquina recupera automáticamente la posición anterior del acelerador.
El interruptor del control de crucero bloquea la posición del pedal para mantener la velocidad de avance deseada. Presione la parte trasera del mando para desactivar el control de crucero, la parte intermedia para activar el control de crucero y la parte delantera para establecer la velocidad de avance deseada.
Note: Otras maneras de liberar el pedal son pisar cualquiera de los pedales de freno o poner el pedal de tracción en la posición de MARCHA ATRáS durante un segundo.
Important: El sistema de combustible se purga automáticamente si se produce alguna de las situaciones siguientes:
Arranque inicial de una máquina nueva.
El motor se ha parado debido a falta de combustible.
Después de que se haya realizado cualquier operación de mantenimiento en los componentes del sistema de combustible.
Retire el pie del pedal de tracción y asegúrese de que el pedal esté en posición de punto muerto. Asegúrese de que el freno de estacionamiento está puesto.
Ponga el interruptor de velocidad del motor en la posición de RALENTí BAJO.
Gire la llave a la posición de MARCHA.
Note: Se encenderá el indicador de la bujía.
Cuando se atenúe el indicador de la bujía, gire la llave a la posición de ARRANQUE. Suelte la llave inmediatamente cuando el motor arranque y deje que vuelva a la posición de MARCHA.
Important: No haga funcionar el motor de arranque durante más de 30 segundos cada vez, o puede producirse un fallo prematuro en el motor de arranque. Si el motor no arranca en 30 segundos, ponga la llave en la posición de DESCONECTADO, compruebe los controles y los procedimientos, espere 30 segundos más y repita el procedimiento de arranque.
Deje que el motor se caliente a velocidad media (sin carga), luego mueva el control del acelerador a la posición deseada.
Important: Deje que el motor funcione en ralentí durante 5 minutos antes de apagarlo después de funcionar a carga máxima. Si no lo hace, puede dañar el turboalimentador.
Important: Deje que el motor funcione en ralentí durante 5 minutos antes de pararlo después de funcionar a carga máxima. Esto permite que se enfríe el turboalimentador antes de que se apague el motor. El no hacer esto puede causar problemas con el turboalimentador.
Note: Siempre baje las unidades de corte al suelo después de aparcar la máquina. Esto alivia la carga hidráulica del sistema, evita desgastar las piezas del sistema y también impide que se bajen accidentalmente las unidades de corte.
Mueva el control del acelerador hacia atrás a la posición de LENTO.
Mueva el interruptor de la TDF a la posición de DESENGRANADO.
Ponga el freno de estacionamiento.
Gire la llave de encendido a la posición de DESCONECTADO.
Retire la llave de contacto para evitar un arranque accidental.
El interruptor de velocidad del motor permite cambiar la velocidad del motor de 2 maneras. Mediante golpecitos rápidos en el interruptor, la velocidad del motor puede ser aumentada o reducida en incrementos de 100 rpm. Si se mantiene presionado el interruptor, el motor pasa automáticamente a ralentí ALTO o BAJO, dependiendo de la zona del interruptor que se presione.
Supervisor (menú Protegido)
Esta función permite que el supervisor establezca la velocidad máxima de siega (gama baja), en incrementos de 5% entre el 30% y el 100%.
Consulte en Ajuste de la velocidad máxima de siega permitida el procedimiento de ajuste de la velocidad de siega.
Operador
Esta función permite al operador ajustar la velocidad
máxima de siega (gama baja), dentro de los límites establecidos
por el supervisor. Pulse el botón central (icono
) de la pantalla principal
o de inicio del InfoCenter para ajustar la velocidad.
Note: Al cambiar entre las gamas alta y baja, los ajustes se transfieren basados en el ajuste anterior. Los ajustes se reinician cuando se apaga la máquina.
Note: Esta función también pueden utilizarse conjuntamente con el control de crucero.
Supervisor (menú Protegido)
Esta función permite que el supervisor establezca la velocidad máxima de transporte (gama alta), en incrementos de 5% entre el 30% y el 100%.
Consulte en Ajuste de la velocidad máxima de transporte permitida el procedimiento de ajuste de la velocidad de transporte.
Operador
Esta función permite al operador ajustar la velocidad
máxima de transporte (gama alta), dentro de los límites
establecidos por el supervisor. Pulse el botón central (icono
) de la pantalla principal
o de inicio del InfoCenter para ajustar la velocidad.
Note: Al cambiar entre las gamas alta y baja, los ajustes se transfieren basados en el ajuste anterior. Los ajustes se reinician cuando se apaga la máquina.
Note: Esta función también pueden utilizarse conjuntamente con el control de crucero.
Cambie los patrones de siega a menudo para minimizar los problemas de acabado causados por la siega repetitiva en un solo sentido.
Consulte la Guía de solución de problemas con el aspecto después del corte (Aftercut Appearance Troubleshooting Guide), disponible en www.toro.com.
Para empezar a cortar, engrane las unidades de corte, y acérquese lentamente a la zona de siega.
Para lograr un corte en línea recta y un rayado profesional que es deseable para algunas aplicaciones, busque un árbol u otro objeto distante y conduzca directamente hacia él.
En cuanto las unidades de corte delanteras lleguen al borde de la zona de siega, gire en forma de lágrima para alinearse rápidamente para la siguiente pasada.
Es posible equipar las unidades de corte con deflectores de mulching. Los deflectores funcionan bien cuando el césped es segado regularmente, evitando cortar más de 25 mm (1") de hierba en cada sesión de corte. Cuando se corta una cantidad excesiva de hierba con los deflectores de mulching instalados, el aspecto después del corte puede deteriorarse y se necesita más potencia para cortar la hierba. Los deflectores de mulching también funcionan bien cuando se trata de picar hojas en el otoño.
No corte más de 25 mm (1") aproximadamente, o 1/3 de la hoja de hierba. Si la hierba es excepcionalmente densa y frondosa, es posible que tenga que elevar la altura de corte.
Una cuchilla afilada corta limpiamente sin desgarrar o picar las hojas de hierba, que es lo que haría una cuchilla sin filo. Si se rasgan o se deshilachan, los bordes de las hojas se secarán, lo que retardará su crecimiento y favorecerá la aparición de enfermedades. Asegúrese de que la cuchilla está en buenas condiciones y que la vela está completa.
Asegúrese de que las cámaras de corte están en buenas condiciones. Enderece cualquier componente de la cámara que esté doblado para asegurar un espacio correcto entre las puntas de la cuchilla y la cámara.
Después de segar, lave a fondo la máquina con una manguera de jardín sin boquilla para evitar una presión excesiva de agua que podría contaminar y dañar juntas y cojinetes. Asegúrese de mantener el radiador y el enfriador de aceite libres de suciedad y recortes de hierba. Después de su limpieza, inspeccione la máquina en busca de posibles fugas de fluido hidráulico, o daños o desgaste en los componentes mecánicos e hidráulicos, y compruebe asimismo que las cuchillas de la unidad de corte estén afiladas.
Apague el motor, retire la llave y espere a que se detenga todo movimiento antes de abandonar el puesto del operador. Deje que se enfríe la máquina antes de hacer trabajos de ajuste, mantenimiento, limpieza o almacenamiento.
Para ayudar a prevenir incendios, asegúrese de que las unidades de corte, las transmisiones, los silenciadores, las rejillas de refrigeración y el compartimento del motor están libres de acumulaciones de hierba y residuos. Limpie cualquier aceite o combustible derramado.
Si las unidades de corte están en la posición de transporte, use el bloqueo mecánico positivo (si está disponible) antes de dejar la máquina desatendida.
Espere a que se enfríe el motor antes de guardar la máquina en un recinto cerrado.
Retire la llave y cierre el combustible (en su caso) antes de almacenar o transportar la máquina.
No guarde nunca la máquina o un recipiente de combustible en un lugar donde pudiera haber una llama desnuda, chispas o una llama piloto, por ejemplo en un calentador de agua u otro electrodoméstico.
Realice el mantenimiento de los cinturones de seguridad y límpielos cuando sea necesario.
En una emergencia, la máquina puede desplazarse hacia adelante accionando la válvula auxiliar de la bomba hidráulica de desplazamiento variable y empujando o remolcando la máquina.
Important: No empuje ni remolque la máquina a más de 3-4.8 km/h (2-3 mph). Si se empuja o remolca a una velocidad mayor, pueden producirse daños internos en la transmisión.Las válvulas de alivio debe estar abiertas antes de empujar o remolcar la máquina.
Levante el asiento y localice las válvulas de desvío, que están situadas debajo de la parte delantera del depósito de combustible (Figura 37).

Gire cada válvula 3 vueltas en sentido antihorario para abrirla y dejar pasar el fluido internamente.
Note: No abrir más de 3 vueltas. Puesto que el fluido se desvía, la máquina puede ser movida lentamente sin dañar la transmisión.
Empuje o remolque la máquina.
Termine de empujar o remolcar la máquina y cierre las válvulas de desvío. Apriete la válvula a 70 N∙m (52 pies-libra).
Important: Asegúrese de que la válvula de desvío está cerrada antes de arrancar el motor. Si se hace funcionar el motor con la válvula de desvío abierta, se recalienta la transmisión.
Important: Si es necesario empujar o remolcar la máquina en marcha atrás, desactive la válvula de retención del distribuidor de transmisión a cuatro ruedas.Para desactivar la válvula de retención, conecte un conjunto de manguera al orificio de prueba de presión de tracción hacia atrás (situado en el hidrostato) y al orificio situado entre los orificios M8 y P2 del distribuidor de tracción trasera (situado detrás de la rueda delantera). El conjunto de manguera consta de una manguera (Pieza Nº 95-8843), 2 conectores (Pieza Nº 95-0985) y 2 acoplamientos hidráulicos (Pieza Nº 340-77).
Los gatos mecánicos o hidráulicos pueden no aguantar el peso de la máquina y dar lugar a lesiones graves.
Utilice gatos fijos para apoyar la máquina.
No utilice gatos hidráulicos.
Existen puntos de apoyo para gatos en la parte delantera y en la parte trasera de la máquina.
En el bastidor, en el interior de cada rueda motriz delantera.
En el centro del eje trasero
Retire la llave y cierre el combustible (en su caso) antes de almacenar o transportar la máquina.
Extreme las precauciones al cargar o descargar la máquina en/desde un remolque o un camión.
Utilice rampas de ancho completo para cargar la máquina en un remolque o un camión.
Amarre la máquina firmemente.
Existen puntos de amarre en las partes delantera y trasera de la máquina (Figura 38).
Note: Utilice correas con homologación DOT de las características apropiadas en las cuatro esquinas para amarrar la máquina.
2 en la parte delantera de la plataforma del operador
Parachoques trasero

Important: Consulte los procedimientos adicionales de mantenimiento del manual del propietario del motor.
Note: Descargue una copia gratuita del esquema eléctrico o hidráulico en www.Toro.com y busque su máquina en el enlace Manuales de la página de inicio.
Note: Los lados derecho e izquierdo de la máquina se determinan desde la posición normal del operador.
Antes de abandonar el puesto del operador, haga lo siguiente:
Aparque la máquina en una superficie nivelada.
Desengrane la TDF y baje los accesorios.
Ponga el freno de estacionamiento.
Apague el motor y retire la llave.
Espere a que se detenga todo movimiento.
Lleve ropa adecuada, incluyendo protección ocular, pantalón largo y calzado resistente y antideslizante. Mantenga las manos, los pies, las joyas y el pelo largo alejados de las piezas en movimiento.
Si deja la llave en el interruptor, alguien podría arrancar el motor accidentalmente y causar lesiones graves a usted o a otras personas. Retire la llave del interruptor de encendido antes de realizar cualquier operación de mantenimiento.
Deje que los componentes de la máquina se enfríen antes de realizar tareas de mantenimiento.
Si las unidades de corte están en la posición de transporte, utilice el bloqueo mecánico positivo (en su caso) antes de dejar la máquina desatendida.
Si es posible, no realice tareas de mantenimiento con el motor en marcha. Manténgase alejado de las piezas en movimiento.
Haga funcionar el motor únicamente en zonas bien ventiladas. Los gases de escape contienen monóxido de carbono, que es letal si se inhala.
Apoye la máquina sobre caballetes cada vez que trabaje debajo de la máquina.
Alivie con cuidado la tensión de aquellos componentes que tengan energía almacenada.
Mantenga todas las piezas de la máquina en buenas condiciones de funcionamiento y todos los herrajes bien apretados, especialmente los de los accesorios de las cuchillas.
Sustituya cualquier pegatina que esté desgastada o deteriorada.
Para asegurar un rendimiento óptimo y seguro de la máquina, utilice solamente piezas genuinas Toro. Las piezas de repuesto de otros fabricantes podrían ser peligrosas, y su uso podría invalidar la garantía del producto.
| Intervalo de mantenimiento y servicio | Procedimiento de mantenimiento |
|---|---|
| Después de la primera hora |
|
| Después de las primeras 10 horas |
|
| Después de las primeras 50 horas |
|
| Después de las primeras 200 horas |
|
| Cada vez que se utilice o diariamente |
|
| Cada 25 horas |
|
| Cada 50 horas |
|
| Cada 100 horas |
|
| Cada 200 horas |
|
| Cada 250 horas |
|
| Cada 400 horas |
|
| Cada 500 horas |
|
| Cada 800 horas |
|
| Cada 1000 horas |
|
| Cada 2000 horas |
|
| Antes del almacenamiento |
|
| Cada 2 años |
|
Si deja la llave en el interruptor, alguien podría arrancar el motor accidentalmente y causar lesiones graves a usted o a otras personas.
Retire la llave del interruptor antes de realizar cualquier operación de mantenimiento.
Duplique esta página para su uso rutinario.
| Elemento a comprobar | Para la semana de: | ||||||
|---|---|---|---|---|---|---|---|
| lunes | martes | miércoles | jueves | viernes | sábado | domingo | |
| Compruebe el funcionamiento de los interruptores de seguridad. | |||||||
| Compruebe el funcionamiento de los frenos. | |||||||
| Compruebe el nivel de aceite del motor. | |||||||
| Compruebe el nivel de fluido del sistema de refrigeración. | |||||||
| Drene el separador de agua/combustible. | |||||||
| Compruebe el filtro de aire, la tapa del filtro y la válvula de alivio | |||||||
| Compruebe que no hay ruidos extraños en el motor.1 | |||||||
| Compruebe que el radiador y la rejilla están libres de residuos | |||||||
| Compruebe que no hay ruidos extraños de operación. | |||||||
| Compruebe el nivel del aceite del sistema hidráulico. | |||||||
| Compruebe que las mangueras hidráulicas no están dañadas. | |||||||
| Compruebe que no hay fugas de fluidos. | |||||||
| Compruebe el nivel de combustible. | |||||||
| Comprobación de la presión de los neumáticos. | |||||||
| Compruebe el funcionamiento de los instrumentos. | |||||||
| Compruebe el ajuste de altura de corte. | |||||||
| Lubrique todos los puntos de engrase.2 | |||||||
| Limpie la máquina. | |||||||
| Retoque cualquier pintura dañada. | |||||||
|
1Compruebe la bujía y las boquillas de los inyectores en caso de dificultad para arrancar, exceso de humo o funcionamiento irregular. 2Inmediatamente después de cada lavado, aunque no corresponda a los intervalos citados. |
|||||||
Important: Consulte los procedimientos adicionales de mantenimiento del manual del propietario del motor.
| Inspección realizada por: | ||
| Elemento | Fecha | Información |
Desenganche y levante el capó.
Retire el pasador que fija el pivote del capó a los soportes (Figura 39).

Deslice el capó hacia la derecha, levante el otro lado y tire para liberarlo de los soportes.
Note: Siga el procedimiento en orden inverso para instalar el capó.
| Intervalo de mantenimiento y servicio | Procedimiento de mantenimiento |
|---|---|
| Cada 50 horas |
|
| Cada 500 horas |
|
La máquina tiene engrasadores que debe lubricar regularmente con grasa de litio no. 2. También lubrique la máquina inmediatamente después de cada lavado.
La posición de los engrasadores y las cantidades necesarias son:
Casquillos de los pivotes de los ejes delantero y trasero (2) (Figura 40)
Articulaciones esféricas del cilindro de dirección (2) (Figura 41)
Articulaciones esféricas de las bielas (2) (Figura 41)
Casquillos de los pivotes de dirección (2) (Figura 41).Lubrique el engrasador superior del pivote de dirección cada año (2 aplicaciones).


Casquillo del eje de la horquilla de la rueda giratoria (1) (Figura 46)
Cojinetes del eje de la cuchilla (2 en cada lado) – situados debajo de la polea
Casquillo del pivote del brazo tensor (1) – situado en el brazo tensor

Apague el motor y retire la llave antes de comprobar el aceite o añadir aceite al cárter.
No cambie la velocidad del regulador ni haga funcionar el motor a una velocidad excesiva.
Utilice aceite de motor de alta calidad y con bajo contenido de cenizas que cumpla o supere las siguientes especificaciones:
Categoría de servicio API: CJ-4 o superior
Categoría de servicio ACEA: E6
Categoría de servicio JASO: DH-2
Important: El uso de aceite de motor que no sea API CJ-4 o superior, ACEA E6 o JASO DH-2 puede hacer que el filtro de partículas diésel se tape o puede provocar daños al motor.
Use el siguiente grado de viscosidad del aceite del motor:
Aceite preferido: SAE 15W-40 (más de -18 °C/0 ° F)
Aceite alternativo: SAE 10W-30 o 5W-30 (todas las temperaturas)
Su distribuidor autorizado Toro dispone de aceite para motores Toro Premium, de viscosidad 15W-40 o 10W-30. Consulte los números de pieza en el Catálogo de piezas.
| Intervalo de mantenimiento y servicio | Procedimiento de mantenimiento |
|---|---|
| Cada vez que se utilice o diariamente |
|
El motor se suministra con aceite en el cárter; no obstante, debe comprobarse el nivel de aceite antes y después de arrancar el motor por primera vez.
Important: Compruebe el aceite del motor todos los días. Si el nivel de aceite del motor está por encima de la marca Lleno de la varilla, el aceite puede diluirse con combustible.Si el nivel de aceite del motor está por encima de la marca Lleno cambie el aceite.
El mejor momento para comprobar el aceite del motor es cuando el motor está frío, antes de arrancarlo al principio de la jornada. Si ya se ha arrancado, deje que el aceite se drene al cárter durante al menos 10 minutos antes de comprobar el nivel. Si el nivel del aceite está en o por debajo de la marca Añadir de la varilla, añada aceite hasta que el nivel llegue a la marca Lleno.No llene el motor demasiado de aceite.
Important: Mantenga el nivel de aceite del motor entre los límites superior e inferior de la varilla; el motor puede fallar si lo hace funcionar con demasiado o demasiado poco aceite.
Compruebe el nivel de aceite del motor; consulte la Figura 51.

Note: Cuando cambie a un aceite diferente, drene todo el aceite antiguo del cárter antes de añadir aceite nuevo.
Aproximadamente 5.7 litros (6 cuartos de galón US) con el filtro.
| Intervalo de mantenimiento y servicio | Procedimiento de mantenimiento |
|---|---|
| Cada 250 horas |
|
Arranque el motor y déjelo funcionar durante 5 minutos para que el aceite se caliente.
Con la máquina estacionada sobre una superficie nivelada, apague el motor, retire la llave y espere a que se detengan todas las piezas en movimiento antes de abandonar el puesto del operador.
Cambie el aceite del motor y el filtro (Figura 52).

Añada aceite al cárter.
Ajuste el temporizador de mantenimiento previsto en el InfoCenter; consulte Ajuste del temporizador de mantenimiento programado.
| Intervalo de mantenimiento y servicio | Procedimiento de mantenimiento |
|---|---|
| Cada vez que se utilice o diariamente |
|
| Cada 50 horas |
|
| Cada 400 horas |
|
Inspeccione la carcasa del limpiador de aire en busca de daños que pudieran causar una fuga de aire. Cámbielo si está dañado. Compruebe todo el sistema de admisión en busca de fugas, daños o abrazaderas sueltas.
Revise el filtro del limpiador de aire únicamente cuando el indicador de mantenimiento (Figura 53) lo requiera. El cambiar el filtro antes de que sea necesario sólo aumenta la posibilidad de que entre suciedad en el motor al retirar el filtro.

Important: Asegúrese de que la tapa está bien asentada y que hace un buen sello con la carcasa del limpiador de aire.
Cambie el limpiador de aire (Figura 54).

Note: No limpie el elemento usado porque puede dañarse el medio filtrante.
Important: No intente nunca limpiar el filtro de seguridad (Figura 55). Sustituya el filtro de seguridad después de cada tres revisiones del filtro primario.

Reinicie el indicador (Figura 53) si se ve rojo.
| Intervalo de mantenimiento y servicio | Procedimiento de mantenimiento |
|---|---|
| Cada 1000 horas |
|
| Antes del almacenamiento |
|
Además de los intervalos de mantenimiento citados, vacíe y limpie el depósito si se contamina el sistema de combustible o antes de almacenar la máquina durante un periodo de tiempo prolongado. Utilice combustible limpio para enjuagar el depósito.
| Intervalo de mantenimiento y servicio | Procedimiento de mantenimiento |
|---|---|
| Cada 400 horas |
|
Compruebe que los tubos de combustible no están deteriorados o dañados y que las conexiones no están sueltas.
| Intervalo de mantenimiento y servicio | Procedimiento de mantenimiento |
|---|---|
| Cada vez que se utilice o diariamente |
|
| Cada 400 horas |
|
Realice el mantenimiento del separador de agua como se muestra en Figura 56.
Después de cambiar el separador de agua, gire la llave a CONECTADO durante 10 segundos, pero no arranque el motor. Gire la llave a desconectado y repita esto 2 veces más.

| Intervalo de mantenimiento y servicio | Procedimiento de mantenimiento |
|---|---|
| Cada 400 horas |
|
Limpie la zona alrededor de la cabeza del filtro de combustible (Figura 57).

Retire el filtro y limpie la superficie de montaje de la cabeza del filtro (Figura 57).
Lubrique la junta del filtro con aceite de motor limpio; consulte el manual del propietario del motor si necesita más información.
Instale el cartucho filtrante seco a mano hasta que la junta entre en contacto con la cabeza del filtro, luego gírelo media vuelta más.
Arranque el motor y compruebe que no hay fugas de combustible alrededor de la cabeza del filtro.
Desconecte la batería antes de reparar la máquina. Desconecte primero el terminal negativo y por último el positivo. Conecte primero el terminal positivo y por último el negativo.
Cargue la batería en una zona abierta y bien ventilada, lejos de chispas y llamas. Desenchufe el cargador antes de conectar o desconectar la batería. Lleve ropa protectora y utilice herramientas aisladas.
| Intervalo de mantenimiento y servicio | Procedimiento de mantenimiento |
|---|---|
| Cada 25 horas |
|
Important: Antes de efectuar soldaduras en la máquina, desconecte el cable negativo de la batería para evitar daños al sistema eléctrico.
Note: Compruebe la condición de la batería cada semana o cada 50 horas de operación. Mantenga limpios los bornes y toda la plataforma de la batería, porque una batería sucia se descargará lentamente. Para limpiar la batería, lave toda la plataforma con una solución de bicarbonato y agua. Enjuague con agua clara. Aplique una capa de grasa Grafo 112X (N.º de Pieza Toro 505-47) o de vaselina a los conectores de los cables y a los bornes de la batería para evitar la corrosión.
Abra la tapa de la batería, situada en el lado de la cubierta (Figura 58).
Note: Presione hacia abajo sobre la superficie plana situada encima de la tapa de la batería para facilitar la apertura de la tapa (Figura 58).


Retire la cubierta de goma del borne positivo e inspeccione la batería.
Los bornes de la batería o una herramienta metálica podrían hacer cortocircuito si entran en contacto con los componentes metálicos, causando chispas. Las chispas podrían hacer explotar los gases de la batería y causar lesiones personales.
Al retirar o colocar la batería, no deje que los bornes toquen ninguna parte metálica de la máquina.
No deje que las herramientas metálicas hagan cortocircuito entre los bornes de la batería y las partes metálicas de la máquina.
Un enrutado incorrecto de los cables de la batería podría dañar la máquina y los cables, causando chispas. Las chispas podrían hacer explotar los gases de la batería y causar lesiones personales.
Desconecte siempre el cable negativo (negro) de la batería antes de desconectar el cable positivo (rojo).
Conecte siempre el cable positivo (rojo) de la batería antes de conectar el cable negativo (negro).
Aplique una capa de grasa Grafo 112X (Nº de Pieza Toro 505-47), de vaselina o de grasa ligera a ambas conexiones de la batería para evitar la corrosión.
Deslice la cubierta de goma sobre el borne positivo.
Cierre la tapa de la batería.
Los fusibles de la unidad de tracción están situados debajo de la tapa del panel eléctrico (Figura 60, Figura 61 y Figura 62).
Retire los 2 tornillos que sujetan la tapa del panel eléctrico al bastidor, y retire la tapa (Figura 60).



Los fusibles de la cabina están situados en la caja de fusibles del techo de la cabina (Figura 63 y Figura 64).
Note: Modelo con cabina solamente


| Intervalo de mantenimiento y servicio | Procedimiento de mantenimiento |
|---|---|
| Cada 400 horas |
|
Utilice lubricante para engranajes SAE 85W-140 de alta calidad.
Con la máquina en una superficie nivelada, coloque la rueda con un tapón de verificación en la posición de las 12 y el otro en la posición de las 3 (Figura 66).

Retire el tapón de la posición de las 3 (Figura 66).
Note: El aceite debe llegar a la parte inferior del orificio del tapón de verificación.
Si el nivel de aceite es bajo, retire el tapón de la posición de las 12 y añada aceite hasta que empiece a salir del orificio en la posición de las 3.
Coloque ambos tapones.
| Intervalo de mantenimiento y servicio | Procedimiento de mantenimiento |
|---|---|
| Después de las primeras 50 horas |
|
| Cada 800 horas |
|
Utilice un lubricante para engranajes SAE 85W-140 de alta calidad.
Con la máquina en una superficie nivelada, coloque una rueda de manera que uno de los tapones de verificación esté en la posición más baja (posición de las 6) (Figura 67).

Coloque un recipiente debajo del cubo planetario, retire el tapón y deje que se drene el aceite.
Coloque un recipiente debajo del alojamiento del freno, retire el tapón y deje que se drene el aceite (Figura 68).

Cuando el aceite se haya drenado completamente de ambos lugares, instale el tapón en el alojamiento del freno.
Gire la rueda hasta que el orificio abierto del planetario esté en la posición de las doce.
Por el orificio abierto, llene lentamente la transmisión planetaria con 0.65 L (22 onzas fluidas) de lubricante para engranajes SAE 85W-140 de alta calidad.
Important: Si se llena la transmisión planetaria antes de haber agregado 0.65 L (22 onzas fluidas) de aceite, espere una hora o instale el tapón y desplace la máquina unos 3 metros (10') para distribuir el aceite por la sistema de frenado. Luego, retire el tapón y añada el aceite restante.
Vuelva a colocar el tapón.
Repita este procedimiento en el otro conjunto de engranaje planetario/freno.
| Intervalo de mantenimiento y servicio | Procedimiento de mantenimiento |
|---|---|
| Cada 400 horas |
|
El eje trasero está lleno de lubricante para engranajes SAE 85W-140. La capacidad es de 2.4 litros (80 onzas fluidas). Compruebe diariamente que no existen fugas.
Coloque la máquina en una superficie nivelada.
Retire un tapón de verificación de un extremo del eje y asegúrese de que el lubricante llega al borde inferior del orificio (Figura 69).
Note: Si el nivel es bajo, retire el tapón de llenado y añada suficiente lubricante para que el nivel llegue al borde inferior de los orificios de los tapones de verificación.

| Intervalo de mantenimiento y servicio | Procedimiento de mantenimiento |
|---|---|
| Cada 400 horas |
|
La caja de engranajes está llena de lubricante para engranajes SAE 85W-140. La capacidad es de 0.5 litros (16 onzas fluidas). Compruebe diariamente que no existen fugas.
Coloque la máquina en una superficie nivelada.
Retire el tapón de verificación/llenado del lado izquierdo de la caja de engranajes y asegúrese de que el lubricante llega al borde inferior del orificio (Figura 70).
Note: Si el nivel es bajo, añada suficiente lubricante para que el nivel llegue al borde inferior del orificio.

| Intervalo de mantenimiento y servicio | Procedimiento de mantenimiento |
|---|---|
| Después de las primeras 200 horas |
|
| Cada 800 horas |
|
Coloque la máquina en una superficie nivelada.
Limpie la zona alrededor de los tres tapones de vaciado, uno en cada extremo y uno en el centro (Figura 71).
Retire los tapones de verificación para facilitar el vaciado del aceite.
Retire el tapón de vaciado y deje fluir el aceite a los recipientes.

Limpie la zona alrededor del tapón de vaciado en la parte inferior de la caja de engranajes (Figura 72).
Retire el tapón de vaciado de la caja de engranajes y deje fluir el aceite en un recipiente.
Note: Retire el tapón de llenado para facilitar el vaciado del aceite.

Añada suficiente aceite para que el nivel llegue a la parte inferior de los orificios de verificación; consulte Comprobación del lubricante del eje trasero.
Coloque los tapones.
| Intervalo de mantenimiento y servicio | Procedimiento de mantenimiento |
|---|---|
| Cada 800 horas |
|
Mida la distancia entre centros (a la altura del eje) en la parte delantera y trasera de los neumáticos de dirección.
Note: La distancia delantera debe ser de 6 mm (¼") menos que la trasera.
Para ajustar, afloje las abrazaderas en ambos extremos de las bielas.
Gire el extremo de la biela para mover la parte delantera del neumático hacia dentro o hacia fuera.
Apriete las abrazaderas de las bielas cuando el ajuste sea correcto.
La ingesta de refrigerante de motor puede provocar envenenamiento; manténgalo fuera del alcance de niños y animales domésticos.
Una descarga de refrigerante caliente bajo presión, o cualquier contacto con el radiador caliente y los componentes que lo rodean, pueden causar quemaduras graves.
Siempre deje que el motor se enfríe durante al menos 15 minutos antes de retirar el tapón del radiador.
Utilice un trapo al abrir el tapón del radiador, y ábralo lentamente para permitir la salida del vapor.
No haga funcionar la máquina sin que las cubiertas estén colocadas.
Mantenga alejados del ventilador y del eje de transmisión en movimiento los dedos, las manos y la ropa suelta.
El depósito de refrigerante se llena en fábrica con una solución al 50 % de agua y refrigerante de etilenglicol de larga duración.
Important: Utilice solamente refrigerantes comerciales que cumplan las especificaciones relacionadas en la Tabla de estándares de refrigerantes de larga vida.No utilice refrigerante IAT (tecnología de ácido inorgánico) convencional (verde) en su máquina. No mezcle refrigerante convencional con refrigerante de larga duración.
|
Tipo de refrigerante de etilenglicol |
Tipo de inhibidor de corrosión |
|
Anticongelante de larga duración |
Tecnología de ácido orgánico (OAT) |
|
Important: No confíe en el color del refrigerante para identificar la diferencia entre refrigerante IAT (tecnología de ácido inorgánico) convencional (verde) y refrigerante de larga duración.Los fabricantes de refrigerante pueden teñir los refrigerantes de larga duración con uno de los siguientes colores: rojo, rosa, naranja, amarillo, azul, verde azulado, violeta o verde. Utilice refrigerante que cumpla las especificaciones de la Tabla de estándares de refrigerantes de larga duración. |
|
|
ATSM International |
SAE International |
|
D3306 y D4985 |
J1034, J814, y 1941 |
Important: La concentración del refrigerante debe ser una mezcla al 50 % de refrigerante y agua.
Preferencia: Al hacer la mezcla a partir de un refrigerante concentrado, mézclelo con agua destilada.
Alternativa a la preferencia: Si no se dispone de agua destilada, utilice un refrigerante premezclado en lugar de un concentrado.
Requisito mínimo: Si no dispone de agua destilada ni tampoco de refrigerante premezclado, mezcle refrigerante concentrado con agua potable limpia.
| Intervalo de mantenimiento y servicio | Procedimiento de mantenimiento |
|---|---|
| Cada vez que se utilice o diariamente |
|
Compruebe el nivel de refrigerante al principio de cada jornada de trabajo. La capacidad del sistema es de 8.5 litros (9 cuartos de galón US).
Los ventiladores y las correas de transmisión, al girar, pueden causar lesiones personales.
No utilice la máquina sin tener colocados los protectores.
Mantenga alejados del ventilador y del eje de transmisión en movimiento los dedos, las manos y la ropa suelta.
Apague el motor y retire la llave antes de realizar cualquier tarea de mantenimiento.
Retire cuidadosamente el tapón del radiador y el tapón del depósito de expansión (Figura 73).
Compruebe el nivel de refrigerante del radiador.
Note: El radiador debe llenarse hasta la parte superior del cuello de llenado, y el depósito de expansión debe llenarse hasta la marca Full (lleno).

Si el nivel de refrigerante es bajo, añada una solución al 50% de agua y anticongelante de etilenglicol.
Important: No use agua sola o refrigerantes a base de alcohol/metanol, porque pueden causar daños.
Instale el tapón del radiador y el tapón del depósito de expansión.
| Intervalo de mantenimiento y servicio | Procedimiento de mantenimiento |
|---|---|
| Cada 100 horas |
|
| Cada 2 años |
|
Limpie cualquier suciedad del radiador/enfriador de aceite cada día. Limpie con más frecuencia en condiciones de mucho polvo o suciedad.
La máquina está equipada con un sistema de ventilador hidráulico que invierte su dirección de forma automática (o manual) para reducir la acumulación de residuos en el enfriador de aceite/radiador y la rejilla. Aunque este sistema puede reducir el tiempo necesario para limpiar el radiador/enfriador de aceite, no elimina la necesidad de limpieza rutinaria. Todavía es necesario limpiar e inspeccionar periódicamente el radiador y el enfriador de aceite.
Apague el motor, retire la llave y levante el capó.
Limpie a fondo la zona del motor, retirando todos los residuos.
Limpie a fondo ambos lados de la zona del radiador/enfriador de aceite con aire comprimido (Figura 74).
Note: Empezando en la parte del ventilador, sople los residuos hacia la parte trasera. Luego, limpie desde atrás, soplando los residuos hacia adelante. Repita este procedimiento varias veces hasta que haya eliminado todos los residuos.
Important: Si se limpia el radiador/enfriador de aceite con agua, pueden producirse una corrosión prematura y daños en los componentes.

Cierre el capó.
Ajuste los frenos de servicio si el pedal de freno tiene más de 25 mm (1") de holgura, o si los frenos no funcionan eficazmente. La holgura es la distancia que recorre el pedal de freno antes de notarse una resistencia de frenado.
Desenganche el bloqueo de los pedales de freno para que ambos pedales funcionen de forma independiente.
Para reducir la holgura de los pedales de freno, apriete los frenos como se indica a continuación:
Afloje la tuerca delantera del extremo roscado del cable de freno (Figura 75).

Apriete la tuerca trasera para mover el cable hacia atrás hasta que los pedales de freno tengan una holgura de 13 mm – 25 mm (½" – 1").
Apriete las tuercas delanteras una vez que los frenos estén ajustados correctamente.
| Intervalo de mantenimiento y servicio | Procedimiento de mantenimiento |
|---|---|
| Después de las primeras 10 horas |
|
| Cada 100 horas |
|
Una tensión correcta de la correa permite una desviación de 10 mm (⅜") al aplicar una fuerza de 44 N·m (10 pies-libra) a la correa, en el punto intermedio entre las poleas.
Si la desviación no es de 10 mm (⅜"), afloje los pernos de montaje del alternador (Figura 76).
Note: Aumente o reduzca la tensión de la correa del alternador y apriete los pernos. Verifique de nuevo la desviación de la correa para asegurarse de que la tensión es la correcta.

| Intervalo de mantenimiento y servicio | Procedimiento de mantenimiento |
|---|---|
| Después de las primeras 10 horas |
|
| Cada 100 horas |
|
Una tensión correcta de la correa permite una desviación de 10 mm (⅜") al aplicar una fuerza de 44 N·m (10 pies-libra) a la correa, en el punto intermedio entre las poleas.
Si la desviación no es de 10 mm (⅜"), afloje el perno de montaje de la polea tensora (Figura 76).
Note: Aumente o reduzca la tensión de la correa del compresor y apriete el perno. Verifique de nuevo la desviación de la correa para asegurarse de que la tensión es la correcta.
| Intervalo de mantenimiento y servicio | Procedimiento de mantenimiento |
|---|---|
| Después de las primeras 10 horas |
|
| Cada 50 horas |
|
Cuando está correctamente tensado, la longitud en el interior del muelle de extensión (entre ganchos) debe ser de 8.3-9.5 cm (3¼"-3¾") aproximadamente. Una vez que haya obtenido la tensión correcta del muelle, ajuste el perno de tope (perno de cuello cuadrado) hasta que quede aproximadamente 2-5 mm (0.065"-0.185") de holgura entre la cabeza del perno y el brazo tensor (Figura 77).
Note: Asegúrese de que la correa está colocada en el lado del muelle de la guía de la correa (Figura 77).

| Intervalo de mantenimiento y servicio | Procedimiento de mantenimiento |
|---|---|
| Cada 800 horas |
|
La correa de transmisión de las cuchillas, tensada por la polea tensora tensada con muelle, es muy resistente. No obstante, después de muchas horas de uso la correa mostrará señales de desgaste. Las señales de desgaste de la correa incluyen chirridos cuando la correa está en rotación, patinaje de las cuchillas durante la siega, bordes deshilachados, quemaduras y grietas. Cambie la correa si existe cualquiera de estas condiciones.
Baje la unidad de corte al suelo del taller, retire las cubiertas de las correas de la parte superior de la unidad de corte y aparte las cubiertas.
Afloje el perno de ojal para poder retirar el muelle de extensión (Figura 77).
Afloje la tuerca con arandela prensada que fija el perno de tope a la pestaña de montaje, y aparte la polea tensora de la correa para aliviar la tensión de la correa (Figura 77).
Note: Desenrosque la tuerca lo suficiente para permitir que el brazo tensor pase por el perno de tope.
Note: Si se desmonta alguna vez el perno de tope de la pletina de montaje, asegúrese de reinstalarlo en un orificio que permita que la cabeza del perno de tope quede alineada con el brazo tensor.
Retire los pernos que sujetan el motor hidráulico a la unidad de corte (Figura 78).

Retire el motor de la unidad de corte y póngalo encima de la unidad de corte.
Retire la correa gastada de las poleas de los ejes y de la polea tensora.
Pase la correa nueva alrededor de las poleas de los ejes y del conjunto de la polea tensora.
Vuelva a colocar el motor hidráulico en la unidad de corte después de colocar la correa en las poleas. Monte el motor en la unidad de corte con los pernos que retiró anteriormente.
Note: Asegúrese de que la correa está colocada en el lado del muelle de la guía de la correa (Figura 77).
Conecte el muelle de extensión (Figura 77) al perno de ojal y tense la correa de la siguiente manera:
Cuando está correctamente tensado, la longitud en el interior del muelle de extensión (entre ganchos) debe ser de 8.3-9.5 cm (3¼"-3¾") aproximadamente.
Una vez que haya obtenido la tensión correcta del muelle, ajuste el perno de tope (perno de cuello cuadrado) hasta que quede aproximadamente 2-5 mm (0.065"-0.185") de holgura entre la cabeza del perno y el brazo tensor.
Busque atención médica inmediatamente si el fluido hidráulico penetra en la piel. Cualquier fluido inyectado debe ser extraído quirúrgicamente por un médico en el espacio de pocas horas.
Asegúrese de que todas las mangueras y líneas de fluido hidráulico están en buenas condiciones de uso y que todos los acoplamientos y conexiones hidráulicos están apretados antes de aplicar presión al sistema hidráulico.
Mantenga el cuerpo y las manos alejados de fugas pequeñas o boquillas que expulsan fluido hidráulico a alta presión.
Utilice un cartón o un papel para buscar fugas hidráulicas.
Alivie de manera segura toda presión en el sistema hidráulico antes de realizar trabajo alguno en el sistema hidráulico.
El depósito se llena en fábrica con fluido hidráulico de alta calidad. Compruebe el nivel del fluido hidráulico antes de arrancar el motor por primera vez y luego a diario; consulte Comprobación del fluido hidráulico.
Fluido hidráulico recomendado: Fluido hidráulico Toro PX Extended Life; disponible en recipientes de 19 litros (5 galones US) o en bidones de 208 litros (55 galones US).
Note: Una máquina que utiliza el fluido de recambio recomendado requiere cambios menos frecuentes de fluido y filtro.
Fluidos hidráulicos alternativos: Si no está disponible el fluido hidráulico Toro PX Extended Life, puede utilizar otro fluido hidráulico convencional a base de petróleo cuyas especificaciones estén dentro de los intervalos citados para todas las propiedades de materiales siguientes y que cumpla las normas industriales vigentes. No utilice fluido sintético. Consulte a su distribuidor de lubricantes para identificar un producto satisfactorio.
Note: Toro no asume ninguna responsabilidad por los daños producidos por las sustituciones indebidas, por lo que debe utilizar únicamente productos de fabricantes reputados que respalden sus recomendaciones.
| Propiedades de materiales: | ||
| Viscosidad, ASTM D445 | cSt a 40 °C (104 °F) 44 a 48 | |
| Índice de viscosidad ASTM D2270 | 140 o más | |
| Punto de descongelación, ASTM D97 | -37 °C a -45 °C (-34 °F a -49 °F) | |
| Especificaciones industriales: | Eaton Vickers 694 (I-286-S, M-2950-S/35VQ25 o M-2952-S) | |
Note: La mayoría de los fluidos hidráulicos son casi incoloros, por lo que es difícil detectar fugas. Está disponible un aditivo de tinte rojo para el fluido hidráulico, en botellas de 20 ml (0.67 onzas fluidas). Una botella es suficiente para 15–22 litros (4–6 galones US) de fluido hidráulico. Solicite la pieza N.º 44-2500 a su distribuidor autorizado Toro.
Important: El fluido hidráulico biodegradable sintético Toro Premium es el único fluido biodegradable sintético homologado por Toro. Este fluido es compatible con los elastómeros usados en los sistemas hidráulicos de Toro, y es apropiado para un amplio intervalo de temperaturas. Este fluido es compatible con fluidos minerales convencionales, pero para obtener la máxima biodegradabilidad y rendimiento es necesario purgar el sistema hidráulico completamente de fluido convencional. Su distribuidor autorizado Toro dispone de este aceite en recipientes de 19 litros (5 galones US) o en bidones de 208 litros (55 galones US).
| Intervalo de mantenimiento y servicio | Procedimiento de mantenimiento |
|---|---|
| Cada vez que se utilice o diariamente |
|
Coloque la máquina en una superficie nivelada, baje las unidades de corte, apague el motor y retire la llave del interruptor de encendido.
Compruebe el nivel de fluido hidráulico (Figura 79).

| Intervalo de mantenimiento y servicio | Procedimiento de mantenimiento |
|---|---|
| Cada 800 horas |
|
| Cada 2000 horas |
|
| Cada 2 años |
|
Si el fluido hidráulico se contamina, el sistema hidráulico debe ser purgado. El fluido contaminado tiene un aspecto lechoso o negro en comparación con el fluido limpio. Póngase en contacto con su distribuidor Toro autorizado si necesita ayuda.
Aparque la máquina en una superficie nivelada, baje las unidades de corte, apague el motor y retire la llave.
Retire el tapón de vaciado de la parte inferior delantera del depósito y deje fluir el fluido hidráulico en un recipiente grande.
Instale y apriete el tapón cuando el fluido hidráulico se haya drenado.
Llene el depósito (Figura 80) con fluido hidráulico; consulte Comprobación del fluido hidráulico.
Important: Utilice solamente los fluidos hidráulicos especificados. Otros fluidos causan daños en el sistema.

Instale el tapón del radiador, arranque el motor y utilice todos los controles hidráulicos para distribuir el fluido hidráulico por todo el sistema.
Note: Compruebe que no hay fugas; luego apague el motor.
Verifique el nivel de aceite y añada suficiente para que el nivel llegue a la marca LLENO de la varilla.
Note: No llene demasiado.
| Intervalo de mantenimiento y servicio | Procedimiento de mantenimiento |
|---|---|
| Cada 800 horas |
|
| Cada 1000 horas |
|
Utilice los siguientes filtros de recambio Toro:
Pieza Nº 94-2621 para la parte trasera (unidad de corte) de la máquina
Pieza Nº 75-1310 para la parte delantera (carga) de la máquina
Important: El uso de cualquier otro filtro puede anular la garantía de algunos componentes.
Coloque la máquina en una superficie nivelada, baje las unidades de corte, ponga los frenos de estacionamiento, apague el motor y retire la llave del interruptor.
Cambie los filtros hidráulicos (Figura 81).

Arranque el motor y déjelo funcionar durante unos 2 minutos para purgar el aire del sistema; luego apague el motor y compruebe que no hay fugas.
| Intervalo de mantenimiento y servicio | Procedimiento de mantenimiento |
|---|---|
| Cada 2 años |
|
Las fugas de fluido hidráulico bajo presión pueden penetrar en la piel y causar lesiones.
Busque atención médica inmediatamente si el fluido hidráulico penetra en la piel.
Asegúrese de que todas las mangueras y líneas de fluido hidráulico están en buenas condiciones de uso, y que todos los acoplamientos y conexiones hidráulicos están apretados, antes de aplicar presión al sistema hidráulico.
Mantenga el cuerpo y las manos alejados de fugas pequeñas o boquillas que expulsan fluido hidráulico a alta presión.
Utilice un cartón o un papel para buscar fugas hidráulicas.
Alivie de manera segura toda presión en el sistema hidráulico antes de realizar trabajo alguno en el sistema hidráulico.
Inspeccione a diario las líneas y mangueras hidráulicas para comprobar que no tienen fugas, que no están torcidas, que los soportes no están sueltos, y que no hay desgaste, elementos sueltos, o deterioro causado por agentes ambientales o químicos. Haga todas las reparaciones necesarias antes de operar la máquina.
El punto de prueba de contrapeso se utiliza para probar la presión del circuito de contrapeso (Figura 82). La presión de contrapeso recomendada es de 22.41 bar (325 psi). Para ajustar la presión de contrapeso, afloje la contratuerca, gire el tornillo de fijación (Figura 82) en sentido horario para aumentar la presión, o en sentido antihorario para reducir la presión, y apriete la contratuerca. Para comprobar la presión, el motor debe estar en marcha, y la carcasa de corte bajada y en la posición de flotación.
Note: Las ruedas giratorias de las tres unidades de corte deben permanecer en el suelo mientras se ajusta el contrapeso y con el contrapeso aplicado.

Note: Aunque no es necesario para los procedimientos de mantenimiento normal, es posible pivotar (girar) la unidad de corte delantera hacia arriba a la posición vertical.
Eleve un poco del suelo la unidad de corte delantera, ponga el freno de estacionamiento, apague el motor y retire la llave.
Retire la chaveta y el pasador que fijan el cierre de transporte de la carcasa a la placa del cierre, y gire el cierre hacia la parte trasera de la carcasa.
Retire el pasador de horquilla y el pasador que fijan las cadenas de ajuste de la altura de corte a la parte trasera de la unidad de corte.
Arranque el motor, eleve lentamente la unidad de corte delantera, apague el motor y retire la llave.
Agarre la parte delantera de la unidad de corte y levántela hasta que esté en posición vertical.
Sujetando la unidad de corte en posición vertical, coloque el extremo del cable sobre el pasador del brazo de elevación de la unidad de corte y fíjelo con la chaveta (Figura 83).

Con la ayuda de otra persona, sujete la unidad de corte en posición vertical, retire el pasador de horquilla que sujeta el cable, y retire éste del pasador.
Gire la unidad de corte hacia abajo.
Guarde el cable debajo de la plataforma del operador.
Siéntese en el asiento, arranque el motor y baje lentamente la unidad de corte hasta que casi toque el suelo.
Apague el motor, espere a que se detengan todas las piezas en movimiento y retire la llave.
Fije las cadenas de altura de corte a la parte trasera de la unidad de corte.
Gire el cierre de transporte hacia arriba a su posición y fíjelo con el pasador y la chaveta.
La inclinación de la unidad de corte es la diferencia de altura de corte entre la parte delantera del plano de la cuchilla a la parte trasera del mismo. Toro recomienda una inclinación de las cuchillas de 8-11 mm (5/16"-7/16"). Es decir, la parte trasera del plano de la cuchilla está entre 8 y 11 mm (5/16" y 7/16") más alta que la parte delantera.
Coloque la máquina en una superficie nivelada en el suelo del taller.
Ajuste la unidad de corte a la altura de corte deseada.
Gire una cuchilla hasta que apunte hacia adelante.
Usando una regla corta, mida desde el suelo hasta la punta delantera de la cuchilla.
Gire el extremo de la cuchilla hacia atrás, y mida desde el suelo hasta el extremo de la cuchilla.
Reste la dimensión delantera a la dimensión trasera para calcular la inclinación de la cuchilla.
Afloje las contratuercas en la parte superior o inferior del perno en U de la cadena de altura de corte (Figura 84).
Ajuste el otro juego de tuercas para elevar o bajar la parte trasera de la unidad de corte y obtener la inclinación correcta de la carcasa de corte.
Apriete las contratuercas.

| Intervalo de mantenimiento y servicio | Procedimiento de mantenimiento |
|---|---|
| Cada 800 horas |
|
Retire el casquillo tensor del husillo y deslice el husillo fuera del brazo de la rueda giratoria (Figura 85).
Note: Coloque los suplementos, según sea necesario, para elevar o bajar la rueda giratoria y obtener la inclinación correcta de la unidad de corte.

Coloque el casquillo tensor.
Los brazos de las ruedas giratorias tienen casquillos colocados a presión en las partes superior e inferior del tubo, que se desgastarán después de muchas horas de uso. Para comprobar los casquillos, mueva la horquilla hacia delante y hacia atrás y de un lado a otro. Si el husillo tiene holgura dentro de los casquillos, cambie los casquillos.
Eleve la unidad de corte hasta las ruedas queden levantadas del suelo y apóyela sobre bloques para que no pueda caerse.
Retire el casquillo tensor, el/los suplemento(s) y la arandela de empuje de la parte superior del husillo de la rueda giratoria.
Retire el husillo del tubo de montaje.
Note: Deje la arandela de empuje y el/los suplemento(s) en la parte inferior del husillo.
Inserte un botador fino en la parte superior o inferior del tubo de montaje y dé golpes hasta retirar el casquillo del tubo (Figura 86).

Retire el otro casquillo del tubo.
Limpie el interior de los tubos para eliminar toda suciedad.
Aplique grasa al interior y al exterior de los casquillos nuevos.
Usando un martillo y una chapa plana, coloque los casquillos nuevos en el tubo de montaje.
Inspeccione el husillo de la rueda giratoria para ver si está desgastado, y cámbielo si está dañado.
Inserte el husillo de la rueda giratoria por los casquillos y el tubo de montaje.
Coloque la arandela de empuje y el/los espaciador(es) en el husillo e instale el casquillo tensor en el husillo para retener todas las piezas.
| Intervalo de mantenimiento y servicio | Procedimiento de mantenimiento |
|---|---|
| Cada 800 horas |
|
Retire la contratuerca del perno que sujeta el conjunto de la rueda giratoria entre la horquilla (Figura 87) o al brazo de pivote (Figura 88).
Note: Sujete la rueda giratoria y retire el perno de la horquilla o del brazo de pivote.


Retire el cojinete de la rueda y deje que se caiga el suplemento del cojinete (Figura 87 y Figura 88).
Retire el cojinete del otro lado de la rueda.
Compruebe el desgaste de los cojinetes, el espaciador y el interior de la rueda y cambie cualquier pieza que estuviera dañada.
Para ensamblar la rueda giratoria, coloque el cojinete en el cubo de la rueda.
Note: Al instalar los cojinetes, empuje en el anillo de rodadura exterior de los mismos.
Desplace el suplemento del cojinete en el cubo de la rueda, y coloque el otro cojinete en la parte abierta del cubo de la rueda para fijar el suplemento dentro del cubo.
Instale el conjunto de la rueda giratoria entre la horquilla y fíjelo con el perno y la contratuerca.
Inspeccione periódicamente las cuchillas, para asegurarse de que no están desgastadas ni dañadas.
Tenga cuidado al comprobar las cuchillas. Envuelva las cuchillas o lleve guantes, y extreme las precauciones al realizar el mantenimiento de las cuchillas. Solo reemplace o afile las cuchillas; no las enderece ni las suelde nunca.
En máquinas con múltiples cuchillas, tenga cuidado puesto que girar una cuchilla puede hacer que giren otras cuchillas.
Después de golpear un objeto extraño, inspeccione la máquina y repare cualquier daño antes de arrancar y utilizar el equipo. Apriete las tuercas de todas las poleas de los ejes de las cuchillas a entre 176 – 203 N·m (130 – 150 pies-libra).
Coloque la máquina en una superficie nivelada, eleve la unidad de corte, accione el freno de estacionamiento, ponga el pedal de tracción en PUNTO MUERTO, asegúrese de que el mando de la TDF está en la posición de DESENGRANADO, apague el motor y retire la llave de encendido.
Note: Bloquee la unidad de corte para evitar que se caiga accidentalmente.
Gire la cuchilla hasta que los extremos estén orientados hacia adelante y hacia atrás, y mida desde el interior de la unidad de corte al filo de corte en la parte delantera de la cuchilla (Figura 89).
Note: Anote esta dimensión.

Gire el otro extremo de la cuchilla hacia adelante, y mida entre la unidad de corte y el filo de corte de la cuchilla, en la misma posición que en el paso 2.
Note: La diferencia entre las dimensiones obtenidas en los pasos 2 y 3 no debe superar los 3 mm (⅛"). Si esta dimensión es superior a 3 mm (⅛"), la cuchilla está doblada y debe ser cambiada; consulte .Retirada e instalación de las cuchillas de la unidad de corte
Cambie la cuchilla si ha golpeado un objeto sólido, si está desequilibrada o si está doblada. Utilice siempre piezas de repuesto genuinas de Toro para garantizar la seguridad y un rendimiento óptimo.
Estacione la máquina en una superficie nivelada, eleve la unidad de corte a la posición de transporte, ponga el freno de estacionamiento, apague el motor y retire la llave.
Note: Apoye o inmovilice la unidad de corte para evitar que se caiga accidentalmente.
Sujete el extremo de la cuchilla usando un paño o un guante grueso.
Retire del eje de la cuchilla el perno de la cuchilla, el protector de césped y la cuchilla (Figura 90).

Instale la cuchilla, el protector de césped y el perno de la cuchilla, y apriete el perno a 115–149 N∙m (85–110 pies-libra).
Important: La parte curva de la cuchilla debe apuntar hacia el interior de la unidad de corte para asegurar un corte correcto.
Note: Después de golpear un objeto extraño, apriete todas las tuercas de las poleas de los ejes de las cuchillas a 115–149 N∙m (85–110 pies-libra).
Tanto el filo de corte como la vela, que es la parte inclinada hacia arriba frente al filo de corte, contribuyen a una buena calidad de corte.
Mantenga las cuchillas afiladas durante toda la temporada de siega. Con unas cuchillas afiladas se obtiene un corte limpio de la hierba sin rasgar o deshilachar las hojas.
Inspeccione las cuchillas en busca de desgaste o daños. La vela levanta y endereza la hoja de hierba para producir un corte uniforme, y con el uso se va desgastando.
Aparque la máquina en una superficie nivelada, eleve la unidad de corte, accione el freno de estacionamiento, ponga el pedal de tracción en PUNTO MUERTO, ponga el mando de la TDF en la posición de DESENGRANADO, apague el motor y retire la llave del interruptor de encendido.
Examine cuidadosamente los extremos de corte de la cuchilla, sobre todo en el punto de reunión entre la parte plana y la parte curva de la cuchilla (Figura 91).
Note: Puesto que la arena y cualquier material abrasivo pueden desgastar el metal que conecta las partes curva y plana de la cuchilla, compruebe la cuchilla antes de utilizar el cortacésped. Si se aprecia desgaste (Figura 91), cambie la cuchilla.

Inspeccione los filos de corte de todas las cuchillas, y afílelos si están romos o tienen mellas (Figura 92).
Note: Afile únicamente la parte superior del filo y mantenga el ángulo de corte original para asegurar un filo correcto (Figura 92). La cuchilla permanece equilibrada si se retira la misma cantidad de material de ambos filos de corte.

Note: Retire las cuchillas y afílelas con una muela. Después de afilar los filos de corte, instale la cuchilla con el protector de césped y el perno de la cuchilla; consulte Retirada e instalación de las cuchillas de la unidad de corte.
Si hay desajustes entre las cuchillas de una sola unidad de corte, la hierba tendrá un aspecto rayado después de la siega. Puede corregir este problema asegurándose de que las cuchillas están rectas.
Aparque la máquina en una superficie nivelada.
Eleve la altura de corte a la posición más alta; consulte Ajuste de la altura de corte.
Baje la unidad de corte sobre la superficie plana y retire las cubiertas de la parte superior de la unidad de corte.
Afloje la tuerca que sujeta la polea tensora, para aliviar la tensión en la correa.
Gire la cuchilla hasta que los extremos estén orientados hacia adelante y hacia atrás, y mida desde el suelo hasta el extremo delantero del filo de corte. Recuerde esta dimensión.
Gire la misma cuchilla de manera que el otro extremo apunte hacia adelante, y mida de nuevo. La diferencia entre las dimensiones no debe superar los 3 mm (⅛"). Si esta dimensión es de más de 3 mm (⅛"), cambie la cuchilla porque está doblada. Mida todas las cuchillas.
Compare las medidas de las cuchillas exteriores con las de la cuchilla central.
Note: La cuchilla central no debe estar más de 10 mm (⅜") más baja que las cuchillas exteriores. Si la cuchilla central está más de 10 mm (⅜") más baja que las cuchillas exteriores, vaya al paso 8 y añada suplementos entre el alojamiento del eje y la parte inferior de la unidad de corte.
Retire los pernos, las arandelas planas, las arandelas de freno y las tuercas del eje exterior en la zona donde debe añadir los suplementos.
Note: Para elevar o bajar la cuchilla, añada un suplemento (Pieza Nº 3256-24) entre el alojamiento del eje y la parte inferior de la unidad de corte. Siga comprobando la alineación de las cuchillas y añada suplementos hasta que los extremos de las cuchillas den las dimensiones requeridas.
Important: No utilice más de tres suplementos en un solo orificio. Utilice un número decreciente de suplementos en orificios adyacentes si se añade más de un suplemento a un orificio determinado.
Ajuste la polea tensora e instale las cubiertas de las correas.
Important: Tenga cuidado alrededor de las juntas y las luces de la cabina (Figura 93). Si utiliza un lavador a presión, mantenga la vara del lavador a al menos 0.6 m (2 pies) alejada de la máquina. No use el lavador a presión directamente en las luces y las juntas de la cabina, o debajo de voladizos traseros.

| Intervalo de mantenimiento y servicio | Procedimiento de mantenimiento |
|---|---|
| Cada 250 horas |
|
Retire los tornillos y las rejillas del filtro que está en el interior de la cabina y del filtro que está detrás de la cabina (Figura 94 y Figura 95).


Limpie los filtros con aire comprimido limpio y libre de aceite.
Important: Si cualquiera de los dos filtros está agujereado, desgarrado o tiene otros desperfectos, cámbielo.
Instale los filtros y la rejilla con los tornillos de apriete manual.
El propósito del prefiltro de la cabina es evitar que entren residuos grandes como hierba y hojas en los filtros de la cabina.
Baje la tapa de la rejilla.
Limpie el filtro con agua.
Note: No utilice un sistema de lavado a alta presión.
Important: Si el filtro está agujereado, desgarrado o tiene otros desperfectos, cámbielo.
Deje que el prefiltro se seque antes de instalarlo en la máquina.
Gire la rejilla del filtro sobre las pestañas hasta que el cierre se enganche en el soporte (Figura 96).

| Intervalo de mantenimiento y servicio | Procedimiento de mantenimiento |
|---|---|
| Cada 250 horas |
|
Desconecte el cable de cada ventilador.

Retire los 2 pomos y el conjunto de ventilador.
Abra los 4 cierres del conjunto de aire acondicionado y retire la rejilla.

Retire los filtros de aire (ver Figura 95).
Limpie el conjunto de aire acondicionado.
Instale los filtros de aire, la rejilla y el conjunto de ventilador (Figura 95, Figura 97 y Figura 98).
Conecte el cable de cada ventilador (Figura 97).
Apague el motor, retire la llave y espere a que se detenga todo movimiento antes de abandonar el puesto del operador. Deje que se enfríe la máquina antes de hacer trabajos de ajuste, mantenimiento, limpieza o almacenamiento.
No guarde la máquina o un recipiente de combustible en un lugar donde pudiera haber una llama desnuda, chispas o una llama piloto, por ejemplo en un calentador de agua u otro electrodoméstico.
Important: No utilice agua salobre o reciclada para limpiar la máquina.
Limpie a fondo la unidad de tracción, las unidades de corte y el motor.
Compruebe la presión de los neumáticos. Infle todos los neumáticos de la unidad de tracción a 0.83–1.03 bar (12–15 psi).
Compruebe que todos los herrajes están bien apretados; apriételos si es necesario.
Engrase todos los puntos de engrase y de pivote. Limpie cualquier exceso de lubricante.
Lije suavemente y aplique pintura de retoque a cualquier zona pintada que esté rayada, desbastada u oxidada. Repare cualquier desperfecto de la carrocería.
Preparación de la batería y los cables:
Retire los terminales de los bornes de la batería.
Note: Desconecte siempre primero el terminal negativo y por último el positivo. Conecte primero el terminal positivo y luego el negativo.
Limpie la batería, los terminales y los bornes con un cepillo de alambre y una solución de bicarbonato.
Aplique una capa de grasa Grafo 112X (Pieza Nº 505-47) o de vaselina a los terminales de los cables y a los bornes de la batería para evitar la corrosión.
Recargue la batería lentamente durante 24 horas cada 60 días para evitar el sulfatado de plomo de la batería.
Vacíe el aceite de motor del cárter y vuelva a colocar el tapón de vaciado.
Retire y deseche el filtro de aceite. Instale un filtro de aceite nuevo.
Vuelva a llenar el cárter con la cantidad estipulada de aceite de motor.
Gire la llave en el interruptor a la posición CONECTADO, arranque el motor y déjelo funcionar a velocidad de ralentí durante aproximadamente 2 minutos.
Gire la llave a la posición DESCONECTADO.
Vacíe completamente todo el combustible del depósito, de los tubos y del filtro de combustible/separador de agua.
Enjuague el depósito de combustible con combustible diésel limpio y nuevo.
Apriete todos los elementos del sistema de combustible.
Realice una limpieza y un mantenimiento completos del conjunto del limpiador de aire.
Selle la entrada del limpiador de aire y la salida del tubo de escape con cinta impermeabilizante.
Compruebe la protección anticongelante y rellene en caso de necesidad según la temperatura mínima prevista en su región.