Important: Ön Tampon Demiri Kitini (Model 07145) bu kitle birlikte kullanamaz veya monte edemezsiniz.
Note: Makinenin sağ ve sol taraflarını, normal çalışma konumuna göre belirleyin.
Makineyi düz bir zemine park edin.
Park frenini etkinleştirin.
Motoru kapatın ve anahtarı çıkarın.

Koltuk grubunu, ileri doğru iterek yükseltilmiş konuma getirin.
Koltuk grubunu pimlerin dışına doğru kaydırın ve yukarı kaldırın (Şekil 2).

Akülerin bağlantısını ayırın; makinenizin Kullanma Kılavuzuna bakın.
Note: Akülerin bağlantısı ayırma prosedürünü harfiyen uygulayın. Ana eksi akü kablosunu (siyah) ayırın, ardından ana artı akü kablosunu (kırmızı) ayırın.
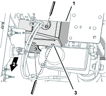
Şarj cihazını ve şarj cihazı kablosunu şarj cihazı braketinden (Şekil 5) çıkarın.

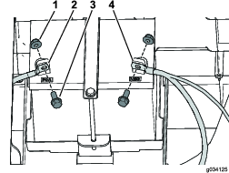
Şarj cihazı braketini sol yan panele (Şekil 6) sabitleyen 4 torks başlı vidayı (M6,0 x 22 mm) sökün.

Sol yan paneldeki 4 torks başlı vidayı (M6,0 x 22 mm) sökün ve çıkarın (Şekil 7).

5 adımını sağ tarafta da tekrarlayın.
Havalandırma borusunu ve yakıt hattını yakıt deposundan ayırın (Şekil 8).
Bazı koşullarda, yakıt aşırı derecede yanıcı ve patlayıcıdır. Benzinin yanması veya patlaması sizi ve başkalarını yakabilir, maddi hasar verebilir.
Yakıt deposundaki yakıtı motor soğukken boşaltın. Bu işlemi açık havada yapın. Dökülen yakıtı silerek giderin.
Yakıtla çalışırken asla sigara içmeyin ve alevlerden veya kıvılcımların yakıt buharlarını tutuşturabileceği yerlerden uzak durun.
Bastırma düzeneğini sol yan panele sabitleyen 2 vidayı sökün ve bastırma düzeneğini çıkarın (Şekil 8).
Yakıt deposunu yakıt deposu tepsisine sabitleyen flanşlı cıvatayı sökün ve yakıt deposunu çıkarın (Şekil 8).

Sol yan paneldeki 6 torks başlı vidayı (M6,0 x 22 mm) sökün ve yan paneli çıkarın (Şekil 9).

Eksi (-) akü kablosunu ve ardından artı (+) akü kablosunu Şekil 10 ile gösterildiği gibi aküden ayırın.

Akü tepsisini şasiye sabitleyen 2 flanş başlı cıvatayı (5/16 x ¾ inç) ve sağ yan paneli sabitleyen 4 torks başlı vidayı (M6,0 x 22 mm) sökün ve sağ yan paneli (Şekil 11) çıkarın.
Note: Akü, Şekil 11 ile gösterildiği gibi sağ yan panel ile birlikte çıkar.


Her bir kauçuk kapaktaki 10 plastik perçini ve kablo bağını sökün ve kauçuk kapakları çıkarın (Şekil 13).

Bu prosedür için gerekli parçalar:
| Zemin köşebendi | 2 |
| Flanş başlı cıvatalar (5/16 x 1 inç) | 20 |
| Flanşlı kilit somunu (5/16 inç) | 20 |

Zemin köşebendini makineye şu şekilde hizalayın:
Zemin köşebendinin flanşlarını makinenin yan şasi kanalına, ön zemin kanalına ve arka şasi kanalına hizalayın (Şekil 15).
Zemin köşebendini zemine paralel hizalayın (Şekil 15).

Zemin köşebendini yan şasi kanalına ve zemin kanallarına kelepçeleyin.
Zemin köşebendini şablon olarak kullanarak, yan şasi kanalı ve zemin kanalları (Şekil 15, Şekil 16ve Şekil 17) üzerindeki delik konumlarını işaretleyin.


Zemin köşebendini makineden sökün.
Şasi Kanallarının Delinmesi bölümünde 3. adımda yaptığınız 10 işareti nokta zımbasıyla delin.

Yan kanalları ve zemin kanallarını 8 mm’lik matkap ucuyla (Şekil 18) nokta zımbası işaretlerinden delin.
Zemin köşebendi için 1 ile 6 arası adımları makinenin diğer tarafında da tekrarlayın.
Zemin köşebendindeki delikleri yan kanallarda ve zemin kanallarında açtığınız deliklerle hizalayın (Şekil 19).

Zemin köşebendini Şekil 19 ile gösterildiği gibi 10 flanş başlı cıvata (5/16 x 1 inç) ve 10 flanş kilit somunu (5/16 inç) ile yan kanallara ve zemin kanallarına monte edin.
Flanş başlı cıvataları ve flanşlı kilit somunlarını 19,8 ila 25,4 N∙m torkla sıkın.
Zemin köşebendi için 2 ile 3 arası adımları makinenin diğer tarafında da tekrarlayın.
Bu prosedür için gerekli parçalar:
| Sol ROPS braketi | 1 |
| Sağ ROPS braketi | 1 |
| Flanş başlı cıvata (½ x 3 inç) | 6 |
| Düz rondela (½ inç) | 10 |
| Kilit somunu (½ inç) | 6 |
| Denge çubuğu | 1 |
| Flanş başlı cıvata (½ x 3½ inç) | 4 |
| Kilit somunu (½ inç) | 4 |
| Kablo bağı | 2 |
| Plastik perçin | 4 |
Elektrikli bir makinenin şasisinin sağ tarafında delik açarken dikkatli olun.
Çok fazla delerseniz, akülere ve diğer bileşenlere zarar verebilirsiniz.
Bir ROPS braketini, Şekil 20 ile gösterildiği gibi, koltuk tabanının arkasındaki 2 delikle ve şasi rayının ön tarafına doğru olan delikle hizalayın.

Bir kelepçe kullanarak ROPS braketini yerine sabitleyin.
ROPS braketi (Şekil 20) üzerindeki delik konumlarını işaretleyin.
Kılavuz olarak bir ROPS braketi kullanarak şasiye 3 delik (13,5 mm) açın (Şekil 21).

Bu işlemi diğer taraf için de tekrarlayın.
Kauçuk kapakları Şekil 22 ile gösterilen ölçüleri kullanarak kesin.
Note: Kauçuk kapaktaki kesikler ROPS braketlerinin takılması için yer sağlar.

Her bir kauçuk kapağı, daha önce çıkarılan 10 plastik perçini ve bir kablo bağını (Şekil 23) kullanarak takın.
Note: Daha önce çıkarılan perçinler hasarlı veya eksikse, bunları bu kitle birlikte verilen perçinlerle değiştirin.

Yan panelleri Şekil 24 ile gösterilen ölçüleri kullanarak kesin.

Şekil 25 ile gösterildiği gibi 3 flanş başlı cıvata (½ x 3 inç), 5 düz rondela (½ inç) ve 3 kilit somunu (½ inç) kullanarak bir ROPS braketi takın.
Note: 2 düz rondelayı (½ inç) Şekil 25 ile gösterildiği gibi dış tarafa taktığınızdan emin olun.

3 flanşlı cıvatayı (½ x 2 inç) 94 ila 108 N∙m torkla sıkın
Bu işlemi diğer taraf için de tekrarlayın.
Denge çubuğunun 1 tarafını Şekil 26 ile gösterildiği gibi 2 flanş başlı cıvata (½ x 3½ inç) ve 2 kilit somunu (½ inç) kullanarak bir ROPS braketine sabitleyin.

2 flanşlı cıvatayı (½ x 3½ inç) 94 ila 108 N∙m torkla sıkın.
Bu işlemi diğer taraf için de tekrarlayın.
Bu prosedür için gerekli parçalar:
| Emniyet kemeri | 2 |
| Koltuk kilit mandalı | 2 |
| Altıgen cıvata (7/16 x 1 inç) | 4 |
| Düz rondela (7/16 inç) | 8 |
| Kilit somunu (7/16 inç) | 4 |
Elektrikli Makinelerde
Önceden çıkarılmış 4 torks başlı vidayı (M6,0 x 22 mm) kullanarak, sol yan paneli Şekil 7 ile gösterildiği gibi takın.
Önceden çıkarılmış 4 torks başlı vidayı (M6,0 x 22 mm) kullanarak, şarj braketini Şekil 6 ile gösterildiği gibi sol yan panele sabitleyin.
Şarj cihazını ve şarj cihazı kablosunu şarj cihazı braketine (Şekil 5) sabitleyin.
1 adımını sağ tarafta da tekrarlayın.
Benzinli Makinelerde
Önceden çıkarılmış torks başlı vidaları (M6,0 x 22 mm) kullanarak, her bir yan paneli Şekil 9 ve Şekil 11 ile gösterildiği gibi takın.
Daha önce söktüğünüz flanşlı cıvatayı kullanarak yakıt deposunu depo tepsisine sabitleyin (Şekil 8).
Daha önce söktüğünüz 2 vidayı kullanarak bastırma düzeneğini sol yan panele sabitleyin (Şekil 8).
Havalandırma borusunu ve yakıt hattını yakıt deposuna bağlayın (Şekil 8).
Bir altıgen başlı cıvata (7/16 x 1 inç), 2 düz rondela (7/16 inç) ve bir kilit somunu (7/16 inç) kullanarak, bir koltuk kilit mandalını Şekil 27 ile gösterildiği gibi takın.

Altıgen cıvatayı (7/16 x 1 inç) 68 ila 81 N∙m torkla sıkın.
Diğer koltuk kilit mandalını takmak için 1. ve 2. adımları tekrarlayın.
Bir altıgen başlı cıvata (7/16 x 1 inç), 2 düz rondela (7/16 inç) ve bir kilit somunu (7/16 inç) kullanarak, bir emniyet kemerini Şekil 28 ile gösterildiği gibi takın.

Altıgen cıvatayı (7/16 x 1 inç) 68 ila 81 N∙m torkla sıkın.
Diğer emniyet kemerini takmak için 4. ve 5. adımları tekrarlayın.
Bu prosedür için gerekli parçalar:
| Sol ön cam desteği | 1 |
| Sağ ön cam desteği | 1 |
| Ön destek | 1 |
| Arka tente desteği | 1 |
| Sol, ön montaj braketi | 1 |
| Sağ, ön montaj braketi | 1 |
| Sol, arka montaj braketi | 1 |
| Sağ, arka montaj braketi | 1 |
| Sol, arka köşe sacı | 1 |
| Sağ, arka köşe sacı | 1 |
| Sol, ön köşe sacı | 1 |
| Sağ, ön köşe sacı | 1 |
| Ön çapraz bağ | 1 |
| Çapraz bağlantı borusu | 2 |
| Flanşlı somun (5/16 inç) | 30 |
| Somun (¼ inç) | 2 |
| Altıgen başlı, flanşlı cıvata (¼ x 1½ inç) | 2 |
| Taşıyıcı cıvata (5/16 x 1¾ inç) | 16 |
| Altı köşe flanşlı cıvata (5/16 x 1 inç) | 2 |
| Taşıyıcı cıvata (5/16 x 2¾ inç) | 6 |
| Taşıyıcı cıvata (5/16 x 1 inç) | 4 |
Note: Talimatlarda belirtilen durumlar haricinde hiçbir bağlantı elemanını sıkmayın.
Şekil Şekil 29 ile gösterilen ebatları kullanarak, makinenin sağ ve sol taraflarındaki zemin levhasının dış kısmında 2 adet delik (5/16 inç) açın.

Şekil Şekil 30 ile gösterilen ebatları kullanarak, makinenin sağ ve sol taraflarındaki ayaklıkların dış kısmında 1 adet delik (5/16 inç) açın.

Sol ve sağ ön cam desteklerinin orta braketini, açtığınız deliklerde (Şekil 31) 2 altı köşe flanşlı cıvata (5/16 x 1 inç) ve 2 somun (5/16 inç) kullanarak makineye sabitleyin.

Sol ve sağ ön cam desteklerinin alt braketini, 1. adımda (Şekil 32) açtığınız deliklerde 4 taşıyıcı cıvata (5/16 x 1 inç) ve 4 flanşlı somun (5/16 inç) kullanarak makineye sabitleyin.

2 taşıyıcı cıvata (5/16 x 2¾ inç) ve 2 flanşlı somun (5/16 inç) kullanarak, arka tente desteğini ve arka siperi denge çubuğuna (Şekil 33) sabitleyin.

4 taşıyıcı cıvata (5/16 x 2¾ inç) ve 4 somun (5/16 inç) kullanarak, arka montaj braketlerini ve arka köşe saclarını denge çubuğuna (Şekil 34) sabitleyin.

2 taşıyıcı cıvata (5/16 x 2¾ inç) ve 2 somun (5/16 inç) kullanarak, arka siperi denge çubuğuna (Şekil 34) sabitleyin.
4 taşıyıcı cıvata (5/16 x 1¾ inç) ve 4 flanşlı somun (5/16 inç) kullanarak, çapraz bağlantı borularını arka montaj braketlerine ve arka köşe saclarına gevşek bir şekilde, Şekil 35 ile gösterildiği gibi takın.

Ön montaj braketlerini ve ön köşe saclarını çapraz bağlantı borularına ve ön cam desteklerine Şekil 35 ile gösterildiği gibi 8 taşıyıcı cıvata (5/16 x 1¾ inç) ve 8 flanşlı somunu (5/16 inç) kullanarak gevşek bir şekilde takın.
Ön çapraz bağlantısını ön montaj braketlerine ve arka köşe saclarına Şekil 36 ile gösterildiği gibi takın 4 taşıyıcı cıvata (5/16 x 1¾ inç) ve 4 flanşlı somun (5/16 inç) kullanarak gevşek bir şekilde takın.

2 altıgen başlı flanş cıvata (¼ x 1½ inç) ve 2 somun (¼ inç) kullanarak, ön desteği ön çapraz bağlantıya (Şekil 37) sabitleyin.

Tüm gevşek bağlantı elemanlarını sıkın.
Koltuk grubunu pimlerin üzerine doğru kaydırın ve koltuk grubunu indirin (Şekil 65).

Bu prosedür için gerekli parçalar:
| Sağ kapı tertibatı | 1 |
| Sol kapı tertibatı | 1 |
| Kapı ipi | 2 |
| Sağ kapı menteşesi | 2 |
| Sol kapı menteşesi | 2 |
| Taşıyıcı cıvata (5/16 x 2¾ inç) | 4 |
| Omuz cıvatası (5/16 x ½ inç) | 4 |
| Ara parça | 4 |
| Flanşlı somun (5/16 inç) | 8 |
Aşağıdaki adımları gerçekleştirirken Şekil 39‘a bakın.
4 taşıyıcı cıvata (5/16 x 2¾ inç) ve 4 flanşlı somun (5/16 inç) kullanarak, sol ve sağ kapı menteşelerini denge çubuğuna sabitleyin.
Note: Bu donanım aynı zamanda arka siperin sağ ve sol taraflarını denge çubuğuna sabitler.
Her kapı menteşesine bir ara parça yerleştirin.
Her kapı menteşesine ince bir tabaka gres yağı sürün.
Kapıları kapı menteşeleri üzerine kaydırarak her bir kapı tertibatını takın.
Note: Kapılardan her birinin serbestçe sallandığından emin olun. Kapı mandalı pimini, kapı mandalı kolunda ortalanacak şekilde ayarlayın
4 omuz cıvatası (5/16 x ½ inç) ve 4 flanşlı somun (5/16 inç) kullanarak, kapı iplerini, kapı tertibatlarına ve çapraz bağlantı borularına sabitleyin.

Kaputun her iki tarafındaki kauçuk kaput mandallarının kolunu yukarı kaldırın (Şekil 40).

Kaputu ileri döndürün.
Kaputu alttan desteklerken, pivot mandalını içeri doğru itin ve kaputun çatal pimi mandaldan kurtulana kadar kaputu arkaya doğru hareket ettirin (Şekil 41).

3. adımı kaportanın diğer tarafında da tekrarlayın.
Kaputu makineden çıkarın.
Tamponu alttan desteklerken, tamponu tampon bağlantılarına ve far braketlerine sabitleyen 8 flanş başlı cıvatayı sökün (Şekil 42)

Tamponu makineden çıkarın.
Bu prosedür için gerekli parçalar:
| Far koruyucu | 2 |
| Flanşlı cıvata (5/16 x ⅝ inch) | 4 |
Makine kablo demetinin 2 soketli konnektörünü farın arkasındaki 2 pimli konnektörden (Şekil 43) sökün.
Note: Montaj için klipsleri saklayın.

3 far ayar somunundan 3 klipsi çıkarın ve farı far braketinden (Şekil 43) sökün.
Far montaj braketlerinde, far koruyucu için montaj delikleri olup olmadığına bakın.
Far montaj braketlerinde montaj delikleri yoksa, Şekil 44 ile gösterilen ölçümleri kullanarak, far montaj braketlerinin her birinde 2’şer adet 11 mm’lik delik açın.

Far koruyucuları Şekil 45 ile gösterildiği gibi farların üzerine monte edin.

3 far ayar somununu far montaj braketindeki deliklerden geçirin ve somunları 2. adımda çıkardığınız klipslerle (Şekil 43) sabitleyin.

Makine kablo demetinin 2 soketli konnektörünü, farın (Şekil 46) arkasındaki 2 pimli konnektöre bağlayın.
Far koruyucuyu 4 flanşlı cıvata (5/16 x ⅝ inç) ile far montaj braketlerine (Şekil 45) sabitleyin.

Bu prosedür için gerekli parçalar:
| Top toplayıcı montajı düzeneği | 1 |
| Alt braket | 1 |
| Flanşlı cıvata (⅜ x 1 inç) | 14 |
| Flanşlı kilit somunu (⅜ inç) | 14 |
Top toplayıcı montaj düzeneğini Şekil 48 ile gösterildiği gibi tampon desteğine monte edin.

Alt braketi, 4 flanş cıvatası (⅜ x 1 inç) ve 4 flanş kilit somunu (⅜ inç) ile top toplayıcı yuvasına (Şekil 49) gevşek bir şekilde monte edin.

Alt braketin en arka kenarını orta kanal plakasındaki (Şekil 50) erişim açıklığının kenarıyla hizalayın.

Alt braketin 4 delik konumunu, Şekil 50 ile gösterildiği gibi orta kanal plakası üzerinde işaretleyin.
4 flanşlı cıvatayı (⅜ x 1 inç), 4 flanşlı kilit somununu (⅜ inç) ve alt braketi top toplayıcı yuvasından (Şekil 49) sökün.
Adım 4'te orta kanal plakası üzerinde yaptığınız 4 işareti nokta zımbasıyla delin.
Şekil 51 ile gösterildiği gibi, orta kanal plakasında 6. adımda yaptığınız nokta zımbası işaretlerinde 10 mm’lik 4 delik açın.

Alt braketi, top toplayıcı yuvasını ve orta kanal plakasını 8 flanşlı cıvata (⅜ x 1 inç) ve 8 flanşlı kilit somunu (⅜ inç) ile Şekil 52 ile gösterildiği gibi gevşek bir şekilde monte edin.

Alt braketin 6 delik konumunu orta kanal plakası üzerinde, Şekil 53, Şekil 54 ve Şekil 55 ile gösterildiği gibi işaretleyin.



8 flanşlı cıvatayı (⅜ x 1 inç), 8 flanşlı kilit somununu (⅜ inç), alt braketi ve bilyeli toplayıcı yuvasını makineden sökün (Şekil 52).
2. adımda orta kanal plakası üzerinde yaptığınız 6 işareti nokta zımbasıyla delin.
4. adımda orta kanal plakasında yaptığınız nokta zımbası işaretlerinde 10 mm’lik 6 delik açın.

Tamponun arka tarafında, basık orta alanda tamponun alt kısmının 1 inç yukarısını Şekil 60 ile gösterildiği gibi işaretleyin.

Top toplayıcı montaj düzeneği için boşluk oluşturmak üzere işaretlenen alanı kesin.
Tamponu, Şekil 42 ile gösterildiği gibi tampon ve far yuvası ile hizalanacak şekilde alttan destekleyin.
Tamponu, Kaput ve Tamponun Çıkarılması bölümünde çıkartılan 8 flanş başlı cıvatayı kullanarak takın.
Kaputun ön tarafı öne doğru döndürülmüşken, Kaput ve Tamponun Çıkarılması bölümünde Şekil 41 ile gösterildiği gibi, kaputun önündeki bir çatal pimi karşılık gelen yaylı mandalla hizalayın.
Çatal pimi, pivot mandal tarafından sabitleneceği şekilde çentiğin içine kaydırın.
2. adımı kaportanın diğer tarafında da tekrarlayın.
Kaputu indirin ve Şekil 40 ile gösterildiği gibi kaputun her iki yanındaki lastik mandallarla sabitleyin.
Bu prosedür için gerekli parçalar:
| Ön Cam | 1 |
| Omuz cıvatası (5/16 x 1¾ inç) | 8 |
| Altıgen başlı, flanşlı cıvata (¼ x 1½ inç) | 5 |
| Kauçuk burç | 16 |
| Yedek rondela | 8 |
| Ön cam destek tertibatı | 1 |
| Ön cam braketi | 1 |
| Somun (5/16 inç) | 8 |
| Somun (¼ inç) | 5 |
Ön cam braketini ön cam destek grubuna (Şekil 61) sabitlemek için 1 altıgen başlı flanş cıvata (¼ x 1½ inç) ve 1 somun (¼ inç) kullanın.

Ön cam destek grubunu sağ ve sol ön cam desteklerine (Şekil 61) sabitlemek için 4 altıgen başlı flanş cıvata (¼ x 1½ inç) ve 4 somun (¼ inç) kullanın.
Ön camı 8 omuz cıvatası (5/16 x 1¼ inç), 8 yedek rondela, 16 kauçuk burç ve 8 somun (5/16 inç) ile Şekil 62 ile gösterildiği gibi takın.

Bu prosedür için gerekli parçalar:
| Kilit pimi | 2 |
| Baskı pulu | 4 |
| Pim koruması | 2 |
| Sıkma somunu | 2 |
Mandal pimini ve pim korumasını Şekil 63 ile gösterildiği gibi montaj braketindeki açıklıkla hizalayın.
Mandal pimini (ilk önce pullar olmadan) pim korumasına (Şekil 63) yerleştirin.
Note: Mandal pimi kapı mandalında ortalanmamışsa, baskı pullarından 1 veya 2 tane ekleyin. Mandal pimini kapı kolu mandalına hizalamak için baskı pullarını kullanın.

Mandal pimini ve sıkma somununu montaj braketindeki (Şekil 63) açıklığın arka tarafına hizalayın.
Sıkma somununu mandal pimi üzerine elle sıkın (Şekil 63).
Bu prosedür için gerekli parçalar:
| Güneşlik | 1 |
| Klips | 2 |
| Conta pulu | 4 |
| Altı köşe flanşlı cıvata (¼ x 1 inç) | 4 |
| Sürtünme pulu | 2 |
| Plastik pul | 4 |
| Flanş burcu | 2 |
Şekil 64 ile gösterildiği gibi 2 klips, 2 conta pulu ve 2 altı köşe flanşlı cıvata (¼ x 1 inç) kullanarak güneşliği ön plakalara takın.
Important: Takmadan önce altı köşe flanşlı cıvatalara diş kilitleme bileşiği uygulayın.

Güneşliği 2 altı köşe flanşlı cıvata (¼ x 1 inç), 2 conta pulu, 2 sürtünme pulu, 4 plastik pul ve 2 flanş burcu (Şekil 65) kullanarak arka çapraz bağlantıya takın.
Important: Takmadan önce altı köşe flanşlı cıvatalara diş kilitleme bileşiği uygulayın.
Important: Plastik pulların güneşliğin üst ve alt kısmına takıldığından emin olun; bu, güneşliğin zarar görmesini önler.

Elektrikli Makinelerde
Aküyü bağlayın; makinenizin Kullanma Kılavuzuna bakın.
Note: Akülerin bağlama prosedürünü harfiyen uygulayın. Ana artı akü kablosunu (kırmızı) bağlayın, ardından ana eksi akü kablosunu (siyah) bağlayın.
Benzinli Makinelerde
Yan Panellerin Çıkarılması bölümünde Şekil 11ile gösterildiği gibi, önceden çıkarılmış 2 flanş başlı cıvatayı (5/16 x ¾ inç) kullanarak akü tabanını sağ tarafa sabitleyin.
Artı (+) akü kablosunu cıvata ve somunu (Şekil 10) kullanarak aküye bağlayın.
Eksi (-) akü kablosunu cıvata ve somunu (Şekil 10) kullanarak aküye bağlayın.