Voir le Manuel de l'utilisateur de la machine.
Garez la machine sur une surface plane et horizontale, et serrez le frein de stationnement.
Coupez le moteur, retirez la clé et débranchez la batterie ; voir le Manuel de l'utilisateur de la machine.
Déposez le récepteur de navigation, l’antenne et les supports de la machine.



Pièces nécessaires pour cette opération:
| Récepteur de navigation | 1 |
| Support de récepteur (Multi Pro 5800) | 1 |
| Support de récepteur (Multi Pro 1750) | 1 |
| Boulons (M5) | 4 |
| Rondelle | 4 |
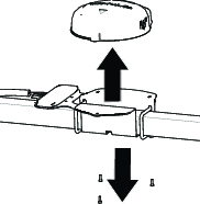
Fixez le récepteur sur son support à l'aide de 4 boulons (M5) et 4 rondelles.
Note: Vérifiez que les flèches sont dirigées vers l'avant de la machine.

Placez la flèche sur le support du récepteur en face du centre de l'arceau de sécurité et fixez l'ensemble sur la structure ROPS à l'aide des 4 étriers filetés et contre-écrous retirés précédemment.

Fixez le récepteur sur son support à l'aide de 4 boulons (M5) et 4 rondelles.
Note: Vérifiez que les flèches sont dirigées vers l'avant de la machine.

Pièces nécessaires pour cette opération:
| Adaptateur de faisceau | 1 |
Acheminez la branche de 302 cm du faisceau de données de navigation et électrique le long du tube droit de la structure ROPS, en orientant le connecteur à 12 douilles (gris) et le connecteur à 12 douilles (noir) vers le haut et le récepteur de navigation.
Branchez les 2 connecteurs sur la face allongée du connecteur à 12 douilles du faisceau de données étiqueté avec les 2 fentes de connexion dans le faisceau adaptateur.

Branchez le faisceau adaptateur dans le récepteur.
Pièces nécessaires pour cette opération:
| Support d'antenne | 1 |
| Antenne à gain élevé (vendues séparément) | 1 |
Montez le support de l'antenne de modem sur l'arceau de sécurité.


Nettoyez les traces de graisse ou d'huile sur la surface de montage de l'antenne.
Retirez la pellicule de protection du revêtement adhésif double face et collez l'antenne sur son support.


Fixez l'antenne et le faisceau sur le support avec 3 attache-câbles.

Placez l'antenne à gain élevé sur l'arceau de sécurité.


Faites passer les faisceaux d'antenne du modem sur la droite, le long de l'arceau de sécurité.


Faites descendre le faisceau vers l'avant.

Faites passer les faisceaux d'antenne du modem sur la droite, le long de l'arceau de sécurité.

Faites descendre le faisceau vers l'avant.
Pièces nécessaires pour cette opération:
| Support de l'écran | 1 |
| Boulon (5/16" x ¾") | 4 |
| Écrou (5/16") | 4 |
Déposez l’écran et le support à rotule existants

Montez le support sur la planche de bord avec les 4 boulons (5/16" x ¾") et fixez-le sur la plaque de renfort avec 4 écrous à (5/16").

Fixez légèrement la plaque de renfort à l'aide des 2 vis à tête tronconique cruciforme (¼" x 1") et du contre-écrou à embase (¼") retirés précédemment.
Serrez les boulons à embase, les vis à tête tronconique cruciforme et les contre-écrous à embase à un couple de 11,63 à 14,35 N·m.
Pièces nécessaires pour cette opération:
| Écran d'affichage | 1 |
| Support à rotule | 1 |
| Bras de l'écran | 1 |
Engagez la rotule de l'écran et le support à rotule situé sur la machine dans le bras de l'écran.

Ajustez la position de l'écran pour qu'il soit visible par l'utilisateur de la machine, et serrez le bouton du bras de l'écran à la main.
Pièces nécessaires pour cette opération:
| Faisceau de données du modem – 300 cm | 1 |
Vissez le connecteur du faisceau du modem dans l'écran.

Faites passer le câble de données du modem dans le compartiment de rangement.
Acheminez le câble de données du modem le long du faisceau de la machine et à travers le passe-câble du plancher.

Fixez le câble de données du modem sur le faisceau de la machine avec 4 attache-câbles.
Au bas de la machine, acheminez le câble de données du modem vers l'arrière, le long du faisceau de la machine.

À l'arrière du radiateur, acheminez le câble de données du modem vers le haut.

Fixez le câble de données du modem sur le faisceau de la machine avec 4 attache-câbles.
Acheminez le câble de données du modem le long du faisceau d'alimentation du modem, puis faites-le ressortir sur le côté droit de la machine, et entre le support du réservoir de carburant et l'aile avant droite.


Acheminez le faisceau de données du modem le long du faisceau de données de l'écran.
Acheminez le faisceau de données du modem sous le tube de support amortisseur de la machine.
Acheminez le faisceau de données du modem en travers de l'arrière des relais et vers le bas.

Placez le connecteur à 4 broches étiqueté du faisceau de données du modem près des 4 connecteurs du faisceau d'antenne du modem, comme montré.

Pièces nécessaires pour cette opération:
| Modem CL-55 | 1 |
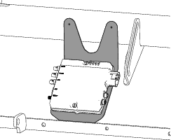
Fixez le modem sur le support à l'aide de 2 boulons (nº 10 x 1¾"), 2 rondelles et 2 contre-écrous (nº 10).

Placez le support du modem devant le panneau droit du boîtier du siège, par dessus la tête des boulons.
Important: Veillez à faire passer les faisceaux dans le support du modem.

Retirez la fixation enfichable qui maintient le faisceau de câblage de la machine sur le support de la béquille.

Fixez le modem sur le support à l'aide de 2 boulons (nº 10-24 x 1⅜") et 2 écrous (nº 10-24).

Placez le support du modem sous le support de la béquille et derrière la bride du cadre de la machine.

Branchez le connecteur coaxial du faisceau d'antenne du modem étiqueté dans la prise coaxiale du modem CL-55 étiquetée WIFI/BT, et serrez le connecteur coaxial.

Insérez le connecteur enfichable coaxial bleu du faisceau d'antenne du modem étiqueté dans le connecteur du modem CL-55 étiqueté jusqu'à ce que les connecteurs s'enclenchent solidement l'un dans l'autre.
Insérez le connecteur enfichable coaxial violet du faisceau d'antenne du modem étiqueté dans le connecteur du modem CL-55 étiqueté jusqu'à ce que les connecteurs s'enclenchent solidement l'un dans l'autre.
Insérez le connecteur enfichable coaxial rouge du faisceau d'antenne du modem étiqueté LTE-2 dans le connecteur du modem CL-55 étiqueté 4G DIV jusqu'à ce que les connecteurs s'enclenchent solidement l'un dans l'autre.
Branchez le connecteur à 4 broches du faisceau de données du modem étiqueté sur le connecteur à 4 douilles (non marqué) du modem CL-55, et serrez l'écrou moleté du connecteur.

Branchez le connecteur à 18 douilles du faisceau d'alimentation du modem étiqueté sur le connecteur à 18 broches du modem CL-55.
Rebranchez la batterie ; voir le Manuel de l'utilisateur de la machine.
Tournez la clé en position CONTACT.
Vérifiez que les composants suivants indiquent qu'ils sont alimentés :
Console de commande – affiche graphiques et texte

Récepteur satellite – le témoin PWR s'allume

Modem – les LED s'allument


Contrôleur de section automatique – le témoin d'éTAT s'allume

Tournez la clé de contact à la position ARRêT.
Vérifiez que l'alimentation est coupée pour les composants suivants :
Console de commande
Récepteur satellite
Contrôleur de section automatique
Voir le Guide du logiciel pour la version 5.02 et les suivantes.