Consulte el Manual del operador de la máquina.
Aparque la máquina en una superficie nivelada y ponga el freno de estacionamiento.
Apague el motor, retire la llave y desconecte la batería; consulte el Manual del operador.
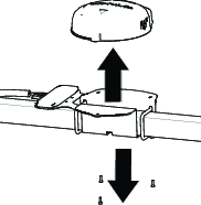
Retire el receptor de navegación, la antena y los soportes de la máquina.



Piezas necesarias en este paso:
| Receptor de navegación | 1 |
| Soporte del receptor (Multi Pro 5800) | 1 |
| Soporte del receptor (Multi Pro 1750) | 1 |
| Pernos(M5) | 4 |
| Arandela | 4 |
Fije el receptor al soporte del receptor con 4 pernos (M5) y 4 arandelas.
Note: Asegúrese de que ambas flechas apuntan hacia la parte delantera de la máquina.

Alinee la flecha en el soporte del receptor con el medio de la barra antivuelco y fije el conjunto en el ROPS con los 4 pernos en U y las contratuercas que retiró anteriormente.

Fije el receptor al soporte del receptor con 4 pernos (M5) y 4 arandelas.
Note: Asegúrese de que ambas flechas apuntan hacia la parte delantera de la máquina.

Piezas necesarias en este paso:
| Adaptador del arnés | 1 |
Enrute la rama de 302 cm del arnés eléctrico y de datos de navegación a lo largo del tubo del ROPS derecho con el conector hembra de 12 vías (gris) y el conector hembra de 12 vías (negro) arriba, hacia el receptor de navegación.
Conecte los 2 conectores del lado largo del conector hembra de 12 vías del arnés de cables con la etiqueta con las 2 ranuras de conector en el arnés del adaptador.

Enchufe el arnés del adaptador en el receptor.
Piezas necesarias en este paso:
| Soporte de antena | 1 |
| Antena de alta ganancia (se vende por separado) | 1 |
Instale el soporte de la antena de módem a la barra antivuelco.


Limpie cualquier grasa o aceite de la superficie del soporte de antena.
Retire el reverso del revestimiento adhesivo de doble cara y pegue la antena al soporte.


Fije la antena y el arnés de cables al soporte con 3 bridas para cable.

Coloque la antena de alta ganancia en la barra antivuelco.


Enrute los arneses de antena de módem a la derecha, a lo largo de la barra antivuelco.


Enrute el arnés hacia abajo y hacia delante.

Enrute los arneses de antena de módem a la derecha, a lo largo de la barra antivuelco.

Enrute el arnés hacia abajo y hacia delante.
Piezas necesarias en este paso:
| Soporte de pantalla | 1 |
| Perno (5/16" x ¾") | 4 |
| Tuerca (5/16") | 4 |
Retire el soporte de pivote de bola y la pantalla existentes.

Monte el soporte en el panel de instrumentos con los 4 pernos (5/16" x ¾") y sujételo a la pletina de refuerzo con 4 tuercas (5/16").

Monte provisionalmente la pletina de refuerzo con los 2 tornillos Phillips de cabeza redonda (¼" x 1") y la contratuerca con arandela prensada (¼") que retiró anteriormente.
Apriete los pernos con arandela prensada, los tornillos Phillips de cabeza redonda y la contratuerca con arandela prensada a entre 1163 y 1435 N∙cm.
Piezas necesarias en este paso:
| Pantalla | 1 |
| Soporte de bola | 1 |
| Brazo de pantalla | 1 |
Conecte el acoplamiento de bola de la pantalla y el soporte de bola de la máquina al brazo largo de la pantalla.

Ajuste la pantalla de manera que quede visible desde la posición del operador de la máquina y apriete el pomo del brazo de la pantalla a mano.
Piezas necesarias en este paso:
| Arnés de datos del módem – 300 cm | 1 |
Atornille el conector del arnés del módem en la pantalla.

Enrute el cable de datos del módem a través del compartimiento de almacenamiento.
Enrute el cable de datos del módem a lo largo del arnés de cables de la máquina y a través del anillo de goma en la chapa del suelo.

Fije el cable de datos del módem en los arneses de cable de la máquina con 4 bridas para cable.
En la parte inferior de la máquina, enrute el cable de datos del módem hacia atrás, a lo largo del arnés de cables de la máquina.

En el lateral trasero del radiador, enrute el cable de datos del módem hacia arriba.

Fije el cable de datos del módem en los arneses de cable de la máquina con 4 bridas para cable.
Enrute el cable de datos del módem a lo largo del arnés de alimentación del módem, fuera del lado derecho de la máquina, y entre el soporte del depósito de combustible y el guardabarros delantero derecho.


Enrute el arnés de datos del módem a lo largo del arnés de datos de la pantalla.
Enrutado del arnés de datos del módem bajo el tubo del amortiguador de la máquina
Enrute el arnés de datos del módem a través de la parte trasera de los relés y hacia abajo.

Alinee el conector de 4 pines con la etiqueta del arnés de datos del módem junto a los 4 conectores del arnés de la antena del módem, tal y como se muestra.

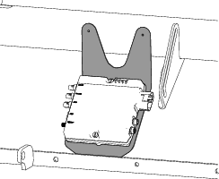
Piezas necesarias en este paso:
| Módem CL-55 | 1 |
Fije el módem al soporte con 2 pernos (n.º 10 x 1¾"), 2 espaciadores y 2 contratuercas (n.º 10)

Coloque el soporte del módem en el panel de la caja del asiento derecho sobre los cabezales de los pernos.
Important: Asegúrese de que los arneses de cables estén enrutados dentro del soporte del módem.

Retire la fijación a presión que fija el arnés de cables de la máquina al soporte de la varilla de sujeción.

Fije el módem al soporte con 2 pernos (n.º 10-24 x 1⅜") y 2 tuercas (n.º 10-24).

Coloque el soporte del módem bajo el soporte de la varilla de sujeción y detrás de la brida del bastidor de la máquina.

Enchufe el conector coaxial del arnés de la antena del módem con la etiqueta en el puerto coaxial del módem CL-55 con la marca WIFI/BT y apriete el conector coaxial.

Enchufe el conector a presión coaxial azul del arnés de la antena del módem con la etiqueta en el conector del módem CL-55 marcado , hasta que los conectores se enganchen con seguridad.
Enchufe el conector a presión coaxial violeta del arnés de la antena del módem con la etiqueta en el conector del módem CL-55 marcado , hasta que los conectores se enganchen con seguridad.
Enchufe el conector a presión coaxial rojo del arnés de la antena del módem con la etiqueta LTE-2 en el conector del módem CL-55 marcado 4G DIV, hasta que los conectores se enganchen con seguridad.
Enchufe el conector de 4 pines del arnés de datos del módem con la etiqueta en el conector hembra de 4 vías (sin marcar) del módem CL-55 y apriete la tuerca moleteada del conector de 4 pines.

Enchufe el conector hembra de 18 vías del arnés de alimentación del módem con la etiqueta en el conector de 18 pines del módem CL-55.
Conecte la batería; consulte el Manual del operador de su máquina.
Gire la llave de contacto a la posición de CONECTADO.
Compruebe que cada uno de los siguientes componentes indica que recibe alimentación:
Consola de control – muestra gráficos y texto

Receptor de satélite – se enciende el indicador PWR

Módem – se encienden los indicadores LED.


Controlador automático de secciones — se enciende el indicador de ESTADO

Gire la llave de contacto a la posición de DESCONECTADO.
Compruebe que los componentes siguientes no reciben corriente:
Consola de control
Receptor de satélite
Controlador automático de secciones
Consulte la Guía de software de la versión 5.02 y posteriores.