Dette sæt til en håndsprøjtstav er en særlig anordning til et sprøjtekøretøj, som bør bruges af professionelle, ansatte operatører til kommercielle anvendelser. Den er primært beregnet til sprøjtning af græs på velholdte plæner i parker, golfbaner, på sportsbaner og kommercielle områder.
Du kan kontakte Toro direkte på www.Toro.com for at få materialer om produktsikkerhed og oplæring i betjening, oplysninger om tilbehør, hjælp til at finde en forhandler eller for at registrere dit produkt.
Sørg for, at der ikke er nogen form for væske i maskinen. Hvis der har været anvendt kemikalier i maskinen, skal systemet skylles grundigt med rent vand. Aftap derefter vandet. Se instruktionerne i maskinens Betjeningsvejledning.
Afbryd batteriets minuspol fra batteriet.
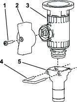
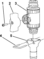
Dele, der skal bruges til dette trin:
| Slangekrog | 1 |
| Flangelåsemøtrik (3/8 tomme) | 4 |
| Flangelåsemøtrik (5/6 tomme) | 4 |
| Bræddebolt (3/8 x 3/4 tomme) | 4 |
| Bræddebolt (5/16 x 1 tomme) | 4 |
| R-klemme | 2 |
| Sprøjtepistolsbeslag | 1 |
Dele, der skal bruges til dette trin:
| Hundæksel | 2 |
| Afbryderventil | 2 |
Fjern den holder, der fastgør aktuatoren til manifoldventilen for sektionsventilen eller omrøringsventilen.
Note: Tryk de 2 ben på holderen sammen, imens du trykker den ned.
Note: Gem aktuatoren og holderen.

Fjern aktuatoren fra manifoldventilen.
Fjern holderne, der holder omløbsjusteringen, endedækslet og fittings- og slangeenheden, som vist i Figur 4.
Note: Endedækslet skal ikke anvendes, men gem O-ringen på dækslet.

Drej omløbsjusteringen 180 grader som vist i Figur 5.

Monter omløbsjusteringen, hundækslet, O-ringene, afbryderventilen og fitting- og slangeenheden med de holdere, der blev fjernet tidligere, som vist i Figur 6.

Fjern endedækslet på enden af manifolden, og udskift den med et hundæksel. Fastgør dæksler med holderen.

Fjern holderen, der fastgør slangen til enden af manifolden.

Monter afbryderventilen på slangen og maskinen. Fastgør den med holderne.

Dele, der skal bruges til dette trin:
| Se tabellen over dele | 0 |
| Del | 5800 | 1750 | Workman | |||||
|---|---|---|---|---|---|---|---|---|
| Ant. | 2023 og tidligere | 2024 og senere uden GeoLink | 2024 og senere med GeoLink | 2023 og tidligere | 2024 og senere uden GeoLink | 2024 og senere med GeoLink | 2023 og tidligere | 2024 og senere |
| Kontrolventil | 1 | 1 | 1 | 1 | 1 | |||
| Kontrolventil (med flangeendedæksel) | 1 | 1 | 1 | |||||
| Kontrolventilens vingehåndtag | 1 | 1 | 1 | 1 | 1 | 1 | 1 | 1 |
| Lige fitting | 1 | 1 | 1 | 1 | 1 | 1 | 1 | 1 |
| Ventilbeslag | 1 | 1 | 1 | 2 | 2 | 2 | ||
| Kontrolventilens beslag (2023) | 1 | |||||||
| Kontrolventilens beslag (med hul) | 1 | 1 | ||||||
| Kontrolventilens beslag(intet hul) | 1 | 1 | 1 | |||||
| Afbryderventil | 1 | 1 | 2 | 1 | 1 | |||
| 90-grader-knærør | 1 | 1 | ||||||
| T-beslag | 1 | |||||||
| Manifoldt-stykke | 1 | 1 | 1 | 1 | ||||
| Pakningsklemme | 1 | 1 | 1 | |||||
| Bolt (M6 x 12 mm) | 4 | 8 | 4 | 8 | 8 | 8 | ||
| Bræddebolt (¼-20" x ⅝") | 2 | 2 | ||||||
| Sekskantbolt (¼-20" x ⅝") | 4 | 2 | 2 | |||||
| Låsemøtrik (¼") | 4 | 2 | 2 | 2 | 2 | |||
Monter det grønne vingehåndtag og den lige fitting på kontrolventilen.

Fjern den flangeklemme, der fastgør endedækslet og koblingsenheden på trykmålerporten.

Afmonter koblingsenheden fra endedækslet.
Montering af kontrolventilenheden.
Monter koblingen i den åbne port på fittingen på 90 grader.
Note: Porten i siden af 90-grader-fittingen til Multi Pro 1750 og Multi Pro WM findes på frontsiden (ikke vist) af fittingen.
Tilslut slangetromlens forsyningsslange til kontrolventilen ved hjælp af en slangeklemme.
Frakobl konnektoren med tre sokler til tryktransduceren.

Fjern den flangeklemme, der fastgør tryktransduceren til 90° fittingen, og fjern transduceren, pakningen og flangeklemmen.

Fjern den flangeklemme, der fastgør 90° fittingen til 90°-fittingen med en konnektor til sensorrøret, og fjern 90° fittingen, pakningen og flangeklemmen.
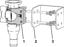
Monter ventilbeslaget på kontrolventilen som vist i A i Figur 14.

Fastgør ventilbeslaget på kontrolventilen med flangehovedskruen (nr. 6), og stram skruen med håndkraft (B i Figur 14).
Monter ventilbeslaget på kontrolventilens beslag med de 4 bolte (6 x 12 mm) og fire flade spændeskiver, og tilspænd boltene til et moment på 10 til 12 Nm.

Ret flangen på T-fittingen ind efter flangen på kontrolventilen.

Fastgør T-fittingen på kontrolventilen med en pakning og flangeklemme.
Ret flangen på tryktransduceren ind efter flangen på T-fittingen.

Monter tryktransduceren på T-beslaget med en pakning og flangeklemme, og stram klemmen med håndkraft (Figur 17).
Ret flangen på T-fittingen ind efter flangen på 90° fittingen med en konnektor til sensorrøret.

Monter T-fittingen og 90° fittingen løst med en pakning og en flangeklemme.
Note: Drej kontrolventilens beslag efter behov, indtil det flugter med overfladen på ventilbeslaget.
Brug kontrolventilens beslag som skabelon, og marker placeringen af hullerne i beslaget på overfladen af manifoldbeslaget.

Fjern klemmen, pakningen, T-fittingen med flangen fra 90° fittingen med en konnektor til sensorrøret.
Udstans mærkerne på manifoldbeslaget, som du lavede i trin 3.
Bor 4 huller 6 mm (1/4 tomme) ind i manifoldbeslaget ved udstansningsmærkerne, som du lavede i trin 5.

Ret flangen på T-fittingen ind efter flangen på 90° fittingen med en konnektor til sensorrøret.

Monter T-fittingen og 90° fittingen løst med en pakning og en flangeklemme.
Monter kontrolventilens beslag på manifolden med 4 sekskantbolte (¼" x ⅝") og 4 flangelåsemøtrikker (6 mm), og tilspænd boltene med et moment på 10 til 12 Nm.
Stram (med håndkraft) den flangeklemme, der fastgør kontrolventilen og T-fittingen, og den flangeklemme, der fastgør T-fittingen på 90° fittingen med en konnektor til sensorrøret.
Tilslut konnektoren med tre sokler til tryktransduceren.

Fastgør kontrolventilenheden til beslaget med 4 bolte (M6)

Fjern de eksisterende fastgørelsesanordninger som vist i Figur 26.

Fastgør beslaget til maskinen med eksisterende fastgørelsesanordninger.

Fastgør toppen af beslaget med 4 bolte (M6).

Monter manifoldens T-fittingenhed på kontrolventilen.

Fastgør enheden på beslaget med 4 bolte (M6).

Monter ventilbeslaget på afbryderventilen, og fastgør det til beslaget med 4 bolte (M6).




Dele, der skal bruges til dette trin:
| Sprøjtepistolsamling | 1 |
| Lige fitting med modhage | 1 |
| Slangeklemme | 2 |
| Slange | 1 |
Note: Brug PTFE-tapen til at forsegle koniske rørgevindfittings.
Fastgør den lige fitting med modhage til den åbne ende af slangetromlens forsyningsslange ved hjælp af en slangeklemme.

Fastgør enden af slangen på kontrolventilen med en slangeklemme.

Vikl overskydende slange rundt om krogene på tanken og placér sprøjtepistolen i beslaget.
Slut den negative batteriledning til batteriet.
Kalibrer omløbsjusteringen. Se maskinens betjeningsvejledning.
Væske under tryk kan trænge ind i huden og dermed forårsage personskader.
Hold kroppen og hænderne væk fra dyser, der sprøjter væske ud under højt tryk.
Ret ikke sprøjten mod personer eller dyr.
Sørg for, at alle slanger og rør til væske er i god stand, og at alle forbindelser og fittings er stramme, før der sættes tryk på systemet.
Brug pap eller papir til at finde eventuelle lækager.
Tag hele trykket af systemet, før der udføres arbejde på det.
Søg straks lægehjælp, hvis der sprøjtes væske ind under huden.
Varme væsker og kemikalier kan forårsage forbrændinger eller anden personskade.
Important: Under visse forhold er der risiko for, at varme fra motoren, køleren og lydpotten beskadiger græsset, når sprøjten betjenes, mens maskinen står stille. Stillestående tilstande omfatter tankomrøring, håndsprøjtning eller ved brug af en bom til manuel sprøjtning.
Træf følgende forholdsregler:
Undgå at sprøjte, mens maskinen står stille, når det er meget varmt og/eller meget tørt, da plænen kan være under større belastning i sådanne perioder.
Undgå at parkere på plænen under sprøjtning. Parker på en sti, når det er muligt.
Minimer det tidsrum maskinen kører på det samme stykke plæne. Omfanget af beskadigelsen af græsset påvirkes både af, hvor lang tid maskinen står stille, og temperaturen.
Brug en så lav motorhastighed som muligt til at opnå det ønskede tryk og den ønskede stråle. Derved minimeres den frembragte varme og lufthastigheden fra ventilatoren.
Lad varmen slippe væk i opadgående retning fra motorrummet ved at hæve motorafskærmningen/sædet under sprøjtning, når maskinen står stille, i stedet for at tvinge varmen ud under køretøjet. Se betjeningsvejledningen for at få yderligere oplysninger om, hvordan sædet hæves.
Note: Brug et varmebeskyttelsestæppe under køretøjet, hvis du ønsker yderligere beskyttelse mod varmen. Kontakt din autoriserede Toro-forhandler for at få et sæt med varmebeskyttelsestæppe til plænesprøjter.
Stands maskinen, afbryd bommene, og aktiver parkeringsbremsen.
Kørsel, mens håndsprøjten anvendes, kan medføre, at man mister herredømmet over køretøjet, og resultere i personskade eller død. Brug ikke håndsprøjten under kørsel.
På maskinens bagende skal du sørge for, at aftrækkerlåsen på sprøjtepistolen er låst.
Drej det grønne håndtag på kontrolventilen 90 grader.
Slå pumpen til på førersædet.
Skift hovedbommen til positionen ON (tændt).
Indstil motoren til den ønskede hastighed, og aktiver låsekontakten til neutral motorhastighed.
Important: Benyt ikke en trykværdi over 10,34 bar med håndsprøjten.
Drej det grønne håndtag på kontrolventilen 90 grader.
Ret sprøjtepistolens dyse mod et område, hvor det er sikkert at sprøjte, slå aftrækkerlåsen fra, og tryk på aftrækkeren, indtil al tilbageværende væske er ude af slangen. Slå derefter aftrækkerlåsen til igen.
Sæt sprøjtepistolen tilbage i holderen.
Lad motoren køre i tomgang igen.
Stop pumpen.
Important: Sørg for at skylle sprøjtepistolen med friskt, rent vand under din daglige rutinemæssige rengøring (se sprøjtens betjeningsvejledning). Hvis sprøjtepistolen ikke rengøres grundigt, kan det forringe sprøjtepistolens funktionalitet og pålidelighed.
Brug doseringskontakten til at indstille det ønskede sprøjtetryk.