Refer to the Operator’s Manual for your machine.
Park the machine on a level surface and engage the parking brake.
Shut off the engine, remove the key, and disconnect the battery; refer to your machine Operator’s Manual.
Remove the navigation receiver, antenna, and brackets from your machine.



Parts needed for this procedure:
| Navigation receiver | 1 |
| Receiver mount (Multi Pro 5800) | 1 |
| Receiver mount (Multi Pro 1750) | 1 |
| Bolts (M5) | 4 |
| Washer | 4 |
Secure the receiver to the receiver mount using 4 bolts (M5) and 4 washers.
Note: Ensure that both arrows are pointing toward the front of the machine.

Line up the arrow on the receiver mount with the middle of the roll bar and secure the assembly onto the ROPS using the previously removed 4 U-bolts and locknuts.

Secure the receiver to the receiver mount using 4 bolts (M5) and 4 washers.
Note: Ensure that both arrows are pointing toward the front of the machine.

Parts needed for this procedure:
| Harness adapter | 1 |
Route the 302 cm (119 inches) branch of the navigation-data and electrical harness along the right ROPS tube with the 12-socket connector (gray) and 12-socket connector (black) up toward the navigation receiver.
Connect the 2 connectors at the long face of the 12-socket connector of the data harness labeled with the 2 connector slots into the adapter harness.

Plug the adapter harness into the receiver.
Parts needed for this procedure:
| Antenna mount | 1 |
| High gain antenna (sold separately) | 1 |
Install the modem antenna bracket to the roll bar.


Clean any grease or oil from the antenna mount surface.
Remove the backing from the double sided adhesive liner and adhere the antenna to the mount.


Secure the antenna and wire harness to the mount with 3 cable ties.

Place the high gain antenna on the roll bar.


Route the modem-antenna harnesses to the right, along the roll bar.


Route the harness down and forward.

Route the modem-antenna harnesses to the right, along the roll bar.

Route the harness down and forward.
Parts needed for this procedure:
| Display bracket | 1 |
| Bolt (5/16 x 3/4 inches) | 4 |
| Nut (5/16 inch) | 4 |
Remove the existing display and ball pivot mount.

Assemble the bracket to the dash with the 4 bolts (5/16 x 3/4 inch) and secure it to the stiffener plate with 4 nuts (5/16 inch).

Loosely assemble stiffener plate with the 2 previously removed Phillips panhead screw (1/4 x 1 inch) and flange locknut (1/4 inch).
Torque the flange-head bolts, Phillips panhead screws, and flange locknut to 1163 to 1435 N∙cm (103 to 127 in-lb)
Parts needed for this procedure:
| Display | 1 |
| Ball mount | 1 |
| Display arm | 1 |
Assemble the ball fitting of the display and the ball mount on the machine to the long display arm.

Adjust the display so that it is viewable from the machine operator’s position and tighten the display arm knob by hand.
Parts needed for this procedure:
| Modem data harness—300 cm (118 inches) | 1 |
Screw the modem harness connector into the display.

Route the modem data cable through the storage compartment.
Route the modem data cable along the wire harness of the machine, and through the grommet in the floor plate.

Secure the modem data cable to the machine wire harnesses with 4 cable ties.
At the bottom of the machine, route the modem data cable rearward, along the wire harness of the machine.

At the rear side of the radiator, route the modem data cable upward.

Secure the modem data cable to the machine wire harnesses with 4 cable ties.
Route the modem data cable along the modem power harness, out the right side of the machine, and between the fuel tank bracket and the right, front fender.


Route the modem data harness along the data harness for the display.
Route the modem data harness under the shock-support tube of the machine
Route the modem data harness across the back if the relays and down.

Align the 4-pin connector labeled of the modem data harness near the 4 connectors for the modem-antenna harness as shown.

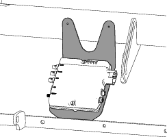
Parts needed for this procedure:
| CL-55 modem | 1 |
Secure the modem to the bracket using 2 bolts (#10 x 1-3/4 inch), 2 spacers, and 2 locknuts (#10)

Place the modem bracket to the right seat-box panel over the bolt heads.
Important: Ensure that the wire harnesses are routed within the modem bracket.

Remove the push-in fastener that secures the wire harness of the machine to the prop-rod bracket.

Secure the modem to the bracket using 2 bolts (#10-24 x 1-3/8 inches) and 2 nuts (#10-24).

Place the modem bracket under the prop-rod bracket and behind the flange of the machine frame.

Plug the coaxial connector of the modem-antenna harness labeled into the coaxial port of the CL-55 modem marked WIFI/BT, and tighten the coaxial connector.

Plug the blue coaxial push-in connector of the modem-antenna harness labeled into the connector of the CL-55 modem marked , until the connectors latch securely.
Plug the violet coaxial push-in connector of the modem-antenna harness labeled into the connector of the CL-55 modem marked , until the connectors latch securely.
Plug the red coaxial push-in connector of the modem-antenna harness labeled LTE-2 into the connector of the CL-55 modem marked 4G DIV, until the connectors latch securely.
Plug the 4-pin connector of the modem data harness labeled into the 4-socket connector (unmarked) of the CL-55 modem, and tighten the knurled nut of the 4-pin connector.

Plug the 18-socket connector of the modem power harness labeled into the 18-pin connector of the CL-55 modem.
Connect the battery; refer to your machine Operator’s Manual.
Turn the ignition key to the ON position.
Verify that the following components indicate that each receives power:
Control console—displays graphics and text

Satellite receiver—the PWR indicator illuminates

Modem—the LED indicators illuminate.


Automatic section controller—the STATUS indicator illuminates

Turn the ignition key to the OFF position.
Verify that power is shut off at the following components:
Control console
Satellite receiver
Automatic section controller
Refer to the Software Guide for version 5.02 and up.