| Intervalo de mantenimiento y servicio | Procedimiento de mantenimiento |
|---|---|
| Cada vez que se utilice o diariamente |
|
Este cortacésped manual de cuchillas rotativas está diseñado para ser usado por usuarios domésticos. Está diseñado principalmente para segar césped bien mantenido en zonas verdes residenciales. El uso de este producto para otros propósitos que los previstos podría ser peligroso para usted y para otras personas.
Lea este manual detenidamente para aprender a utilizar y mantener correctamente su producto, y para evitar lesiones y daños al producto. Usted es el responsable de utilizar el producto de forma correcta y segura.
Visite www.Toro.com para más información, incluyendo consejos de seguridad, materiales de formación, información sobre accesorios, para localizar un distribuidor o para registrar su producto.
Asegúrese de registrar su máquina en www.Toro.com/register. Si se registra, podremos enviarle una notificación en caso de una posible retirada del producto. Sus datos de registro nunca se venden ni se comparten con terceros. Para evitar derroches y ayudar al medio ambiente, su compra no incluye conducto de descarga (la mayoría de los clientes prefiere reciclar o recoger los recortes de césped). Puede solicitar un conducto de descarga al registrar su producto en www.Toro.com/register. Simplemente marque la casilla correspondiente en el formulario de registro online, y Toro le enviará un conducto de descarga sin coste adicional alguno. La fecha de envío del conducto de descarga dependerá de las existencias disponibles en cada momento.
Cuando necesite asistencia técnica, piezas genuinas Toro o información adicional, póngase en contacto con un Servicio Técnico Autorizado o con Asistencia al Cliente Toro, y tenga a mano los números de modelo y serie de su producto. Figura 1 identifica la ubicación de los números de modelo y serie en el producto. Escriba los números en el espacio provisto.
Important: Con su dispositivo móvil, puede escanear el código QR de la pegatina del número de serie (en su caso) para acceder a información sobre la garantía, las piezas, y otra información sobre el producto.

El símbolo de alerta de seguridad (Figura 2) que aparece en este manual y en la máquina identifica mensajes de seguridad importantes que usted debe observar para evitar accidentes.

El símbolo de alerta de seguridad aparece encima de información que le alerta ante acciones o situaciones inseguras, y va seguido de la palabra PELIGRO, ADVERTENCIA, o CUIDADO.
PELIGRO: Indica una situación peligrosa inminente, que si no se evita, causará la muerte o lesiones graves.
ADVERTENCIA indica una situación potencialmente peligrosa que si no se evita, podría causar la muerte o lesiones graves.
CUIDADO: Indica una situación potencialmente peligrosa que si no se evita, podría causar lesiones menores o moderadas.
Este manual utiliza dos palabras más para resaltar información. Importante llama la atención sobre información mecánica especial, y Nota resalta información general que merece una atención especial.
El uso o la operación del motor en cualquier terreno forestal, de monte o cubierto de hierba a menos que el motor esté equipado con parachispas (conforme a la definición de la sección 4442) mantenido en buenas condiciones de funcionamiento, o que el motor haya sido fabricado, equipado y mantenido para la prevención de incendios, constituye una infracción de la legislación de California (California Public Resource Code Section 4442 o 4443).
El manual del propietario del motor adjunto ofrece información sobre las normas de la Agencia de protección ambiental de EUA (U.S. Environmental Protection Agency/EPA) y de la Norma de control de emisiones de California (California Emission Control Regulation) sobre sistemas de emisiones, mantenimiento y garantía. Puede solicitarse un manual nuevo al fabricante del motor.
Par bruto o neto: el par bruto o neto de este motor fue calculada por el fabricante del motor con arreglo a lo estipulado en el documento J1940 o J2723 de la Society of Automotive Engineers (Sociedad de Ingenieros del Automóvil – SAE). Debido a que el motor está configurado para cumplir los requisitos de seguridad, emisiones y operación, su potencia real en este tipo de cortacésped será significativamente menor. Consulte la información del fabricante del motor incluida con la máquina.
CALIFORNIA
Advertencia de la Propuesta 65
Los gases de escape de este producto contienen productos químicos que el Estado de California sabe que causan cáncer, defectos congénitos u otros peligros para la reproducción.
Los bornes, terminales y otros accesorios de la batería contienen plomo y compuestos de plomo, productos químicos reconocidos por el Estado de California como causantes de cáncer y daños reproductivos. Lávese las manos después de manejar el material.
El uso de este producto puede provocar la exposición a sustancias químicas que el Estado de California considera causantes de cáncer, defectos congénitos u otros trastornos del sistema reproductor.
Este producto es capaz de amputar manos y pies y de lanzar objetos al aire. Siga siempre todas las instrucciones de seguridad con el fin de evitar lesiones personales graves o la muerte.
Antes de arrancar el motor, lea, comprenda y siga las instrucciones y advertencias de este Manual del operador y las que están colocadas en la máquina y en los accesorios.
No coloque las manos o los pies cerca de piezas móviles o debajo de la máquina. No se acerque a los orificios de descarga.
No haga funcionar la máquina si no están colocados y funcionando todos los protectores y dispositivos de seguridad de la máquina.
Mantenga a transeúntes y niños alejados de la zona de trabajo. No permita que la máquina sea utilizada por niños. Sólo permita que manejen la máquina personas responsables, formadas, familiarizadas con las instrucciones y físicamente capaces de utilizar la máquina.
Pare la máquina, apague el motor, retire el botón de arranque eléctrico (si está instalado), y espere a que se detengan todas las piezas en movimiento antes de realizar tareas de mantenimiento, repostar o desatascar la máquina.
El uso o mantenimiento incorrecto de esta máquina puede
causar lesiones. Para reducir el peligro de lesiones, cumpla estas
instrucciones de seguridad y preste atención siempre al símbolo
de alerta de seguridad
, que significa: Cuidado, Advertencia o Peligro
– instrucción relativa a la seguridad personal. El incumplimiento
de estas instrucciones puede dar lugar a lesiones personales o la
muerte.
![]() |
Las pegatinas de seguridad e instrucciones están a la vista del operador y están ubicadas cerca de cualquier zona de peligro potencial. Sustituya cualquier pegatina que esté dañada o que falte. |







Important: Retire y deseche la hoja protectora de plástico que cubre el motor, y cualquier otro plástico o envoltura de la máquina.
Important: Para evitar un arranque accidental, no inserte el botón de arranque eléctrico en el arrancador eléctrico (si está instalado) hasta que vaya a arrancar el motor.


Important: Para arrancar el motor de forma segura y fácil cada vez que utilice la máquina, instale la cuerda de arranque en la guía de la cuerda.

Important: Si el nivel de aceite del motor es demasiado bajo o demasiado alto y usted arranca el motor, puede dañar el motor.



| Modelo | Peso | Longitud | Anchura | Altura |
|---|---|---|---|---|
| 21564 | 41 kg | 154 cm | 58 cm | 115 cm |
| (90 libras) | (60.6") | (23") | (45.3") |
Está disponible una selección de aperos y accesorios homologados por Toro que pueden utilizarse con la máquina a fin de potenciar y aumentar sus prestaciones. Póngase en contacto con su Servicio Técnico Autorizado o distribuidor autorizado Toro o visite www.Toro.com para obtener una lista de todos los aperos y accesorios homologados.
Para asegurar un rendimiento óptimo y mantener la certificación de seguridad de la máquina, utilice solamente piezas y accesorios genuinos Toro. Las piezas de recambio y accesorios de otros fabricantes podrían ser peligrosos, y su uso podría invalidar la garantía del producto.
Note: Los lados derecho e izquierdo de la máquina se determinan desde la posición normal del operador.
Siempre apague la máquina, retire el botón de arranque eléctrico (si está instalado), espere a que se detengan todas las piezas en movimiento y deje que el motor se enfríe antes de realizar trabajos de ajuste, mantenimiento o limpieza, o de almacenar la máquina.
Familiarícese con la operación segura del equipo, los controles del operador y las señales de seguridad.
Compruebe que todos los protectores y dispositivos de seguridad, como por ejemplo deflectores y/o recogedores, están colocados y que funcionan correctamente.
Inspeccione siempre la máquina para asegurarse de que las cuchillas y los pernos de las cuchillas no están desgastados o dañados.
Inspeccione el área donde se va a utilizar la máquina, y retire cualquier objeto que pudiera interferir con el funcionamiento de la máquina o que pudiera ser arrojado por la máquina.
Un contacto con la cuchilla en movimiento causará lesiones graves. No ponga los dedos debajo de la carcasa.
El combustible es extremadamente inflamable y altamente explosivo. Un incendio o una explosión provocados por el combustible puede causarle quemaduras a usted y a otras personas así como daños materiales.
Para evitar que una carga estática incendie el combustible, coloque el recipiente y/o la máquina directamente sobre el suelo antes de repostar, no en un vehículo o sobre otro objeto.
Llene el depósito de combustible en el exterior, en una zona abierta y con el motor frío. Limpie cualquier combustible derramado.
No maneje combustible si está fumando, ni cerca de una llama desnuda o chispas.
No retire el tapón de combustible ni añada combustible al depósito si el motor está caliente o en marcha.
Si se derrama combustible, no intente arrancar el motor. Evite crear una fuente de ignición hasta que los vapores del combustible se hayan disipado.
Almacene el combustible en un recipiente homologado y manténgalo fuera del alcance de los niños.
El combustible es dañino o mortal si es ingerido. La exposición a largo plazo a los vapores puede causar lesiones y enfermedades graves.
Evite la respiración prolongada de los vapores.
Mantenga las manos y la cara alejadas de la boquilla y de la abertura del depósito de combustible.
Mantenga alejado el combustible de los ojos y la piel.
| Tipo | Gasolina sin plomo |
| Octanaje mínimo | 87 (US) o 91 (RON; fuera de los Estados Unidos) |
| Etanol | No más del 10% por volumen |
| Metanol | Ninguna |
| MTBE (éter metil tert-butílico) | Menos del 15% por volumen |
| Aceite | No añadir al combustible |
Utilice solamente combustible limpio y fresco (no más de 30 días de antigüedad) de origen acreditado.
Important: Para reducir los problemas de arranque, añada estabilizador/acondicionador al combustible fresco, siguiendo las indicaciones del fabricante del estabilizador/acondicionador de combustible.
Consulte el manual del propietario del motor si desea más información.
Llene el depósito de combustible como se muestra en la Figura 9.

| Intervalo de mantenimiento y servicio | Procedimiento de mantenimiento |
|---|---|
| Cada vez que se utilice o diariamente |
|
Important: Si el nivel de aceite del motor es demasiado bajo o demasiado alto y usted arranca el motor, puede dañar el motor.

Usted puede elevar o bajar el manillar hasta una posición que le sea cómoda. Consulte la Figura 11 durante este procedimiento.
Gire las palancas de bloqueo del manillar.
Afloje las tuercas para que el perno de cuello cuadrado pueda desplazarse a la posición superior o inferior.
Mueva el manillar a la posición superior o inferior.
Apriete las tuercas.
Bloquee las palancas en esa posición

Al ajustar las palancas de altura de corte, podría tocar una cuchilla en movimiento con las manos, lo que podría causarle graves lesiones.
Apague el motor, retire el botón de arranque eléctrico (si está instalado) y espere a que se detengan todas las piezas en movimiento antes de ajustar la altura de corte.
No ponga los dedos debajo de la carcasa al ajustar la altura de corte.
Si el motor ha estado en marcha, el silenciador estará muy caliente y puede causarle quemaduras.
Manténgase alejado del silenciador si éste está caliente.
Ajuste la altura de corte según desee. Ajuste las cuatro ruedas a la misma altura de corte (Figura 12).

Lleve ropa adecuada, incluyendo protección ocular, pantalón largo, calzado resistente y antideslizante, y protección auricular. Si tiene el pelo largo, recójaselo, y no lleve joyas o prendas sueltas.
Dedique toda su atención al manejo de la máquina. No realice ninguna actividad que pudiera distraerle; de lo contrario, podrían producirse lesiones o daños materiales.
No utilice la máquina si está enfermo, cansado, o bajo la influencia de alcohol o drogas.
La cuchilla está muy afilada; cualquier contacto con la cuchilla puede causar lesiones personales graves. Apague el motor, retire el botón de arranque eléctrico (si está instalado) y espere a que se detengan todas las piezas en movimiento antes de abandonar el puesto del operador.
Cuando suelta la barra de control de la cuchilla, el motor debe pararse y la cuchilla debe detenerse en 3 segundos o menos. Si no, deje de usar la máquina inmediatamente y póngase en contacto con un Servicio Técnico Autorizado.
Mantenga a otras personas fuera de la zona de trabajo. Mantenga a los niños pequeños alejados de la zona de trabajo y bajo la atenta mirada de un adulto responsable que no sea el operador de la máquina. Pare la máquina si alguien entra en la zona.
Antes de desplazar la máquina hacia atrás, mire siempre hacia abajo y hacia atrás.
Utilice la máquina únicamente con buena visibilidad y en condiciones meteorológicas apropiadas. No use la máquina cuando hay riesgo de rayos.
La hierba mojada o las hojas mojadas pueden causarle graves lesiones si usted resbala y toca la cuchilla. Evite segar en condiciones húmedas.
Extreme la precaución al acercarse a esquinas ciegas, arbustos, árboles u otros objetos que puedan taparle la vista.
No dirija el material de descarga hacia nadie. Evite descargar material contra una pared u otra obstrucción; el material podría rebotar hacia usted. Pare la cuchilla o las cuchillas al cruzar superficies de grava.
Esté alerta a agujeros, surcos, montículos, rocas u otros objetos ocultos. Los terrenos irregulares pueden hacer que usted pierda el equilibrio o resbale.
Si la máquina golpea un objeto o empieza a vibrar, apague inmediatamente el motor, retire el botón de arranque eléctrico (si está instalado), espere a que se detengan todas las piezas en movimiento, y desconecte el cable de la bujía antes de examinar la máquina en busca de daños. Haga todas las reparaciones necesarias antes de volver a utilizar la máquina.
Antes de abandonar el puesto del operador, apague el motor, retire el botón de arranque eléctrico (si está instalado) y espere a que se detengan todas las piezas en movimiento.
Si el motor ha estado en marcha, estará caliente y puede causarle quemaduras graves. Manténgase alejado del motor caliente.
Haga funcionar el motor únicamente en zonas bien ventiladas. Los gases de escape contienen monóxido de carbono, que es un veneno inodoro y mortal.
Inspeccione frecuentemente los componentes del recogedor y del conducto de descarga para comprobar que no están desgastados o deteriorados, y sustitúyalos con piezas genuinas Toro cuando sea necesario.
Siegue de través las cuestas y pendientes, nunca hacia arriba o hacia abajo. Extreme las precauciones al cambiar de dirección en cuestas o pendientes.
No siegue pendientes y cuestas excesivamente empinadas. Si no pisa firme, puede resbalar y caerse.
Extreme las precauciones al segar cerca de terraplenes, fosas o taludes.
Puede arrancar el motor usando el botón de arranque eléctrico (si está instalado) o el arrancador de retroceso.
Sujete la barra de control de las cuchillas contra el manillar (Figura 13, A).
Si se ha retirado el botón de arranque eléctrico, introdúzcalo en el arrancador eléctrico (Figura 13, B).
Presione el botón de arranque eléctrico hasta que el motor arranque (Figura 13, C).
Note: Si la máquina no arranca después de varios intentos, póngase en contacto con el Servicio Técnico Autorizado.

Sujete la barra de control de las cuchillas contra el manillar (Figura 14, A).
Tire del arrancador de retroceso (Figura 14, B).
Note: Cuando tire del arrancador de retroceso, tire suavemente hasta que note resistencia; luego tire con fuerza. Deje que la cuerda vuelva lentamente al manillar.
Note: Si la máquina no arranca después de varios intentos, póngase en contacto con el Servicio Técnico Autorizado.

Para activar el sistema de autopropulsión, simplemente camine con las manos sobre el manillar superior y los codos junto al cuerpo, y la máquina mantendrá automáticamente su misma velocidad (Figura 15).

Note: Si la máquina no rueda libremente hacia atrás después de usar la autopropulsión, deténgase, deje las manos en su sitio, y deje que la máquina ruede unos centímetros hacia adelante para desengranar la transmisión de las ruedas. También puede intentar poner la mano sobre el manillar metálico situado justo debajo del manillar superior y empujar la máquina hacia adelante unos centímetros/pulgadas. Si la máquina no rueda fácilmente hacia atrás, póngase en contacto con el Servicio Técnico Autorizado.
| Intervalo de mantenimiento y servicio | Procedimiento de mantenimiento |
|---|---|
| Cada vez que se utilice o diariamente |
|
Para parar el motor, suelte la barra de control de la cuchilla.
Note: Retire el botón de arranque eléctrico (si está instalado) antes de dejar la máquina desatendida.
Important: Cuando suelta la barra de control de la cuchilla, el motor debe pararse y la cuchilla debe detenerse en 3 segundos o menos. Si no se paran, deje de usar la máquina inmediatamente y póngase en contacto con un Servicio Técnico Autorizado.
Su máquina viene preparada de fábrica para reciclar los recortes de hierba y hojas y devolverlos al césped.
Si la bolsa de recogida está montada en la máquina, retírela antes de reciclar los recortes. Consulte Retirada del recogedor.
Utilice el recogedor si desea recoger los recortes de hierba y hojas del césped.
Si la bolsa de recogida está desgastada, pueden arrojarse pequeñas piedras y otros residuos similares hacia usted o hacia otras personas, provocando lesiones personales graves o la muerte.
Compruebe frecuentemente la bolsa de recogida. Si está dañada, instale una bolsa de recambio Toro nueva.
Las cuchillas están muy afiladas; cualquier contacto con las cuchillas puede causar lesiones personales graves.
Apague la máquina y espere a que se detengan todas las piezas en movimiento antes de abandonar el puesto del operador.
Apague la máquina y espere a que se detengan todas las piezas en movimiento.
Levante y sujete el deflector trasero (Figura 16, A).
Retire el tapón de descarga trasera presionando el enganche hacia dentro con el dedo pulgar y extrayendo el tapón de la máquina (Figura 16, B y C).
Inserte los extremos de la varilla del recogedor en las muescas de la base del manillar, y mueva el recogedor hacia adelante y hacía atrás para verificar que los extremos de la varilla están asentados en el fondo de cada muesca (Figura 16, D).
Baje el deflector trasero hasta que descanse sobre el recogedor.

La máquina puede arrojar recortes de hierba y otros objetos por cualquier hueco que haya en la carcasa de la máquina. Los objetos arrojados con suficiente fuerza podrían causar lesiones personales graves o la muerte a usted o a otras personas.
Después de retirar el recogedor, no arranque nunca la máquina sin tener instalado en la máquina el tapón de descarga.
No abra nunca el deflector trasero de la máquina con la máquina en marcha.
Apague la máquina y espere a que se detengan todas las piezas en movimiento.
Eleve el deflector trasero.
Retire la varilla de la bolsa de recogida de las muescas de la base del manillar.
Instale el tapón de descarga.
Baje el deflector trasero.
Inspeccione la zona en la que va a utilizar la máquina y retire cualquier objeto que pudiera ser arrojado por la máquina.
Evite golpear objetos sólidos con la cuchilla. No siegue nunca por encima de objeto alguno.
Si la máquina golpea un objeto o empieza a vibrar, apague inmediatamente el motor, espere a que se detengan todas las piezas en movimiento, retire el botón de arranque eléctrico (si está instalado), desconecte el cable de la bujía e inspeccione la máquina en busca de daños.
Para obtener el mejor rendimiento, instale una cuchilla nueva Toro antes de que empiece la temporada de siega, o cuando sea necesario.
Corte solamente un tercio de la hoja de hierba cada vez. No corte a menos de 51 mm (2") a menos que la hierba sea escasa, o a finales del otoño cuando el ritmo de crecimiento de la hierba empieza a decaer.
Cuando corte hierba de más de 15 cm (6") de alto, siegue primero usando la altura de corte más alta y camine despacio, luego siegue de nuevo a una altura menor para obtener el mejor aspecto del césped. Si la hierba es demasiado larga, puede atascar la máquina y hacer que se cale el motor.
La hierba mojada y las hojas mojadas tienden a pegarse al suelo, y pueden atascar la máquina o hacer que se cale el motor. Evite segar en condiciones húmedas.
Esté atento al posible riesgo de incendio en condiciones muy secas, siga todas las advertencias locales para casos de incendio y mantenga la máquina libre de hierba seca y residuos de hojas.
Alterne la dirección de corte. Esto ayuda a dispersar los recortes en todo el césped, dando una fertilización más homogénea.
Si el aspecto final del césped no es satisfactorio, pruebe con una o más de las técnicas siguientes:
Cambiar la cuchilla o mandarla a afilar.
Caminar más despacio mientras siega.
Elevar la altura de corte de la máquina.
Cortar el césped con más frecuencia.
Solapar los pasillos de corte en lugar de cortar un pasillo completo en cada pasada.
Después de segar el césped, asegúrese de que la mitad del césped se ve a través de la cobertura de hojas cortadas. Es posible que tenga que hacer más de una pasada por encima de las hojas.
Si hay más de 13 cm (5") de hojas sobre el césped, siegue a una altura de corte superior y luego siegue nuevamente a la altura de corte deseada.
Siegue más despacio si la máquina no corta las hojas suficientemente finas.
Siempre apague la máquina, retire el botón de arranque eléctrico (si está instalado), espere a que se detengan todas las piezas en movimiento y deje que el motor se enfríe antes de realizar trabajos de ajuste, mantenimiento o limpieza, o de almacenar la máquina.
Limpie los recortes de hierba y los residuos de la máquina para ayudar a prevenir incendios. Limpie cualquier aceite o combustible derramado.
No guarde nunca la máquina o un recipiente de combustible cerca de una llama desnuda, chispa o llama piloto, por ejemplo en un calentador de agua u otro electrodoméstico.
Retire el botón de arranque eléctrico (si está instalado) antes de cargar la máquina para el transporte.
Tenga cuidado al cargar o descargar la máquina.
Evite que la máquina ruede.
| Intervalo de mantenimiento y servicio | Procedimiento de mantenimiento |
|---|---|
| Después de cada uso |
|
Para obtener resultados óptimos, limpie debajo de la máquina poco después de haber terminado la siega.
Baje la máquina a la altura de corte más baja.
Mueva la máquina a una superficie pavimentada nivelada.
Con el motor en marcha y la cuchilla engranada, dirija un chorro de agua por delante de la rueda trasera derecha (Figura 17).
Note: El agua entrará en la zona de la cuchilla, arrastrando los recortes.

Cuando ya no salgan más recortes, cierre el grifo del agua y mueva la máquina a una zona seca.
Arranque el motor y hágalo funcionar durante unos minutos para que se seque la parte inferior de la máquina y evitar que se oxide.
Apague el motor, retire el botón de arranque eléctrico (si está instalado) y espere a que la máquina se enfríe antes de guardarla en un lugar cerrado.
Ponga la máquina en la posición de almacenamiento vertical; consulte Almacenamiento de la máquina en posición vertical.
Elimine los recortes de hierba de debajo de la máquina con agua.
Durante la temporada de siega, o en la temporada de inactividad, puede almacenar la máquina en posición vertical para minimizar el espacio ocupado.
El combustible es altamente inflamable y explosivo. Una explosión o un incendio provocado por el combustible puede causarle quemaduras a usted y a otras personas.
Si se guarda la máquina en posición vertical con demasiado combustible en el depósito, puede provocar fugas de combustible del depósito. El combustible es altamente inflamable y explosivo. Una explosión o un incendio provocado por el combustible puede causarle quemaduras a usted y a otras personas.
No guarde la máquina en posición vertical si el nivel de combustible del depósito de combustible sobrepasa lo recomendado en este Manual del operador.
No guarde la máquina en una posición más allá de la vertical (90°); si lo hace, puede haber fugas de combustible del depósito de combustible.
No transporte la máquina en la posición de almacenamiento vertical.
No intente arrancar la máquina en la posición de almacenamiento vertical.
No intente guardar ninguna máquina con combustible y aceite en la posición de almacenamiento vertical si no ha sido diseñada para ello.
Si pliega o despliega el manillar de forma incorrecta, pueden dañarse los cables, creando condiciones de operación inseguras.
No dañe los cables al plegar o desplegar el manillar.
Si un cable está dañado, póngase en contacto con el Servicio Técnico Autorizado.
Asegúrese de que el nivel de combustible del depósito de combustible no sobrepasa lo recomendado por el fabricante del motor; consulte la pegatina del fabricante del motor, situada en el motor (Figura 18).
Note: Si el nivel de combustible del depósito es demasiado alto, drene el combustible del depósito en un recipiente de combustible homologado hasta que esté en o por debajo del nivel recomendado por el fabricante del motor.

Asegúrese de que el ajuste de altura de corte de la máquina es de 92 mm (3⅝") o menos. Si no, bájelo; consulte Ajuste de la altura de corte .
Abra las palancas de bloqueo del manillar (Figura 19).

Pliegue el manillar completamente hacia adelante (Figura 19).
Important: Asegúrese de que los cables quedan por fuera de los pomos del manillar al plegar la sección superior.
Cierre las palancas de bloqueo del manillar.
Levante la parte delantera de la máquina con el manillar y llévela al lugar de almacenamiento (Figura 20).

| Intervalo de mantenimiento y servicio | Procedimiento de mantenimiento |
|---|---|
| Cada vez que se utilice o diariamente |
|
| Después de cada uso |
|
| Cada 50 horas |
|
| Cada 200 horas |
|
| Antes del almacenamiento |
|
| Cada mes |
|
| Cada año |
|
Siempre apague la máquina, espere a que se detengan todas las piezas en movimiento, y deje que la máquina se enfríe antes de hacer trabajos de ajuste, revisión, limpieza o almacenamiento.
Desconecte el cable de la bujía y retire el botón de arranque eléctrico (si está instalado) antes de realizar cualquier procedimiento de mantenimiento.
Lleve guantes y protección ocular al realizar el mantenimiento de la máquina.
La cuchilla está muy afilada; cualquier contacto con la cuchilla puede causar lesiones personales graves. Lleve guantes al realizar el mantenimiento de la cuchilla. No repare ni cambie la(s) cuchilla(s).
No manipule nunca los dispositivos de seguridad. Compruebe regularmente que funcionan correctamente.
Al volcar la máquina, puede haber fugas de combustible. El combustible es inflamable y explosivo, y puede causar lesiones personales. Deje funcionar el motor hasta que no quede combustible, o retire la gasolina con una bomba de mano; nunca utilice un sifón.
Para asegurar el rendimiento óptimo de la máquina, utilice solamente piezas de recambio y accesorios genuinos de Toro. Las piezas de recambio y accesorios de otros fabricantes podrían ser peligrosos, y su uso podría invalidar la garantía del producto.
Pare el motor y espere a que se detengan todas las piezas en movimiento.
Desconecte el cable de la bujía (Figura 21).

Después de realizar los procedimientos de mantenimiento, conecte el cable de la bujía a la bujía.
Important: Antes de inclinar la máquina para cambiar el aceite o sustituir la cuchilla, deje que se vacíe el depósito de combustible con el uso normal. Si es imprescindible inclinar la máquina antes de que se acabe el combustible, utilice una bomba manual para retirar el combustible. Siempre coloque la máquina de lado con la varilla de aceite hacia abajo.
| Intervalo de mantenimiento y servicio | Procedimiento de mantenimiento |
|---|---|
| Cada 50 horas |
|
| Cada 200 horas |
|
| Cada año |
|
Afloje los cierres y retire la tapa del filtro de aire (Figura 22).

Retire el filtro e inspecciónelo.
Si el filtro está dañado o humedecido con aceite o combustible, sustitúyalo.
Si el filtro de aire está sucio, golpéelo varias veces contra una superficie dura.
Note: No cepille o sople suciedad desde el filtro.
Limpie la base del filtro de aire y la tapa con un trapo húmedo. Mantenga la suciedad lejos de la entrada de aire.
Instale el filtro sobre la base.
Vuelva a colocar la tapa y apriete firmemente los cierres.
| Intervalo de mantenimiento y servicio | Procedimiento de mantenimiento |
|---|---|
| Cada año |
|
No es necesario cambiar el aceite del motor, pero si desea cambiarlo, siga este procedimiento.
Note: Haga funcionar el motor durante unos minutos antes de cambiar el aceite para calentar el aceite. El aceite caliente fluye mejor y transporta más contaminantes.
| Capacidad de aceite del motor | 0.59 litros (20 onzas fluidas)* |
| Viscosidad del aceite | Aceite detergente SAE 30 o SAE 10W-30 |
| Clasificación API | SJ o superior |
*Hay aceite residual en el cárter después de drenar el aceite. No llene el cárter de aceite hasta la capacidad máxima. Llene el cárter con aceite tal y como se indica en los siguientes pasos.
Lleve la máquina a una superficie nivelada.
Consulte Preparación para el mantenimiento.
Retire la varilla girando el tapón en el sentido contrario a las agujas del reloj y tirando del mismo (Figura 23).

Ponga la máquina de lado (con el filtro de aire hacia arriba) para drenar el aceite usado del tubo de llenado de aceite (Figura 23).

Después de drenar el aceite usado, ponga la máquina en su posición de uso.
Con cuidado, vierta tres cuartas partes aproximadamente de la capacidad total de aceite del motor en el tubo de llenado.
Espere 3 minutos para que el aceite se asiente en el motor.
Limpie la varilla con un paño limpio.
Introduzca la varilla en el tubo de llenado de aceite, pero no la enrosque; luego retire la varilla.
Observe el nivel de aceite en la varilla.
Si el nivel de aceite de la varilla es demasiado bajo, vierta con cuidado una pequeña cantidad de aceite en el tubo de llenado, espere 3 minutos, y repita los pasos 8 a 10 hasta que el nivel de aceite en la varilla sea correcto.
Si el nivel de aceite de la varilla es demasiado alto, drene el exceso de aceite hasta que el nivel de aceite en la varilla sea correcto.
Important: Si el nivel de aceite del motor es demasiado bajo o demasiado alto y usted arranca el motor, puede dañar el motor.
Instale la varilla firmemente en el tubo de llenado de aceite.
Recicle correctamente el aceite usado.
| Intervalo de mantenimiento y servicio | Procedimiento de mantenimiento |
|---|---|
| Antes del almacenamiento |
|
| Cada mes |
|
Cargue la batería durante 24 horas inicialmente, luego cada mes (cada 25 arranques) o según sea necesario. Utilice siempre el cargador en una zona protegida de la intemperie, y cargue la batería a temperatura ambiente (22 °C/70 °F) siempre que sea posible.
Conecte el cargador al arnés de cables, situado debajo del botón de arranque eléctrico (Figura 25).

Conecte el cargador a una toma de corriente.
Note: Cuando la batería ya no sea capaz de admitir la carga, recicle o elimine la batería de ácido/plomo según la normativa local.
Note: El cargador de la batería puede tener una pantalla LED bicolor que indica los estados de carga siguientes:
Una luz roja indica que el cargador está cargando la batería.
Una luz verde indica que la batería está totalmente cargada o que el cargador está desconectado de la batería.
Una luz intermitente alternando entre rojo y verde indica que la batería está casi totalmente cargada. Este estado dura tan sólo unos minutos hasta completarse la carga de la batería.
Si la batería no se carga o el motor no funciona con el motor de arranque eléctrico, es posible que el fusible esté fundido. Cámbielo por un fusible de 40 amperios, tipo clavija.
Retire la cubierta del compartimento de la batería (Figura 26).
Localice el fusible (Figura 26).
Cambie el fusible del portafusibles (Figura 26).

Note: La máquina viene con un fusible de repuesto en el compartimento de la batería.
Instale la cubierta sobre el compartimento de la batería (Figura 26).
| Intervalo de mantenimiento y servicio | Procedimiento de mantenimiento |
|---|---|
| Cada año |
|
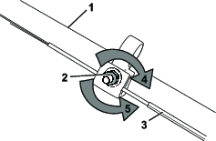
Important: Usted necesitará una llave dinamométrica para instalar la cuchilla correctamente. Si no dispone de una llave dinamométrica o prefiere no realizar este procedimiento, póngase en contacto con el Servicio Técnico Autorizado.
Examine la cuchilla cada vez que se acabe el combustible. Si la cuchilla está dañada o agrietada, sustitúyala inmediatamente. Si el filo de la cuchilla está romo o mellado, mande a afilar la cuchilla o cámbiela.
La cuchilla está muy afilada; cualquier contacto con la cuchilla puede causar lesiones personales graves.
Lleve guantes al realizar el mantenimiento de la cuchilla.
Consulte Preparación para el mantenimiento.
Coloque la máquina de lado con el filtro de aire hacia arriba.
Utilice un bloque de madera para inmovilizar la cuchilla (Figura 27).

Retire la cuchilla, conservando todos los herrajes de montaje (Figura 27).
Instale la cuchilla nueva y todos los herrajes de montaje (Figura 28).

Important: Coloque la cuchilla con los extremos curvos orientados hacia la carcasa de la máquina.
Utilice una llave dinamométrica para apretar el perno de la cuchilla a 88 N·m (65 pies-libra).
Cada vez que instale un nuevo de la transmisión autopropulsada o si la transmisión autopropulsada está mal ajustada, ajuste el cable de la transmisión autopropulsada.
Gire la tuerca de ajuste en sentido antihorario para aflojar el ajuste del cable (Figura 29).

Ajuste la tensión del cable (Figura 29) tirando del mismo hacia atrás o empujándolo hacia adelante, y sujételo en esa posición.
Note: Empuje el cable hacia el motor para aumentar la tracción; tire del cable para reducir la tracción.
Gire la tuerca de ajuste en sentido horario para apretar el ajuste del cable.
Note: Apriete la tuerca firmemente con una llave de tubo o una llave inglesa.
Almacene la máquina en un lugar fresco, limpio y seco.
Siempre apague la máquina, retire el botón de arranque eléctrico (si está instalado), espere a que se detengan todas las piezas en movimiento y deje que el motor se enfríe antes de realizar trabajos de ajuste, mantenimiento o limpieza, o de almacenar la máquina.
En el último repostaje del año, añada estabilizador de combustible (por ejemplo, el Tratamiento de Combustible Premium de Toro) al combustible, siguiendo las instrucciones de la etiqueta.
Deseche adecuadamente cualquier combustible sobrante. Recíclelo según la normativa local, o utilícelo en su automóvil.
Important: La presencia de combustible viejo en el depósito de combustible es la principal causa de dificultades en el arranque. No guarde el combustible sin estabilizador durante más de 30 días, y no guarde combustible estabilizado durante más tiempo del recomendado por el fabricante del estabilizador de combustible.
Haga funcionar la máquina hasta que el motor se pare por haberse quedado sin gasolina.
Arranque el motor de nuevo y deje que funcione hasta que se apague. Cuando ya no se puede arrancar el motor, está suficientemente seco.
Desconecte el cable de la bujía y enganche el cable en el poste de retención (en su caso) y retire el botón de arranque eléctrico (si está instalado).
Retire la bujía, añada 30 ml (1 onza fluida) de aceite de motor a través del orificio de la bujía, y tire lentamente de la cuerda de arranque varias veces para que se distribuya el aceite por el cilindro, con el fin de evitar la corrosión durante el periodo de inactividad.
Instale la bujía sin apretarla.
Apriete todos los pernos, tuercas y tornillos.
Modelos de arranque eléctrico solamente: Cargue la batería durante 24 horas, luego desenchufe el cargador de la batería y guarde la máquina en una zona sin calefacción. Si es necesario almacenar la máquina en un lugar con calefacción, debe cargar la batería cada 90 días. Consulte Cómo cargar la batería.
Modelos de arranque eléctrico solamente: Cargue la batería durante 24 horas; consulte Cómo cargar la batería.
Compruebe y apriete todos los cierres.
Retire la bujía y haga girar el motor rápidamente usando el arrancador de retroceso para eliminar el exceso de aceite del cilindro.
Instale la bujía y apriétela con una llave dinamométrica a 20 N·m (15 pies-libra).
Lleve a cabo cualquier procedimiento de mantenimiento; consulte .
Compruebe el nivel de aceite del motor; consulte Comprobación del nivel de aceite del motor.
Llene el depósito de combustible con combustible fresco; consulte Cómo llenar el depósito de combustible.
Conecte el cable de la bujía.