| Interval de întreţinere şi service | Procedură de întreţinere |
|---|---|
| Înainte de fiecare folosinţă sau zilnic |
|
Această maşină de tuns iarba cu lamă rotativă este proiectată pentru a fi utilizată de proprietarii de reşedinţe. Mașina a fost proiectată în primul rând pentru tăierea ierbii de pe gazoane bine întreținute ale proprietăților rezidențiale. Utilizarea acestui produs în alte scopuri decât cele intenționate poate fi periculoasă pentru dumneavoastră și pentru alte persoane.
Citiți cu atenție aceste informații pentru a învăța despre modul corespunzător de utilizare și întreținere a produsului și pentru a evita rănirea personală și deteriorarea produsului. Aveți responsabilitatea de a utiliza produsul în mod corespunzător și sigur.
Vizitați site-ul www.Toro.com pentru mai multe informații, inclusiv informații privind siguranța produsului și materiale de instruire, informații privind accesoriile, ajutor la căutarea unui distribuitor sau pentru înregistrarea produsului.
De fiecare dată când aveți nevoie de service, piese originale Toro sau informații suplimentare, contactați un centru de service autorizat sau departamentul Servicii Clienți Toro și pregătiți numărul de model sau de serie al produsului. Figura 1 indică locația numărului de model sau de serie pe produs. Scrieţi numerele în spaţiul furnizat.
Important: Puteți scana codul QR de pe autocolantul cu numărul de serie (dacă este disponibil) cu ajutorul unui dispozitiv mobil pentru a accesa date despre garanție, piese și alte informații despre produs

Acest manual identifică potențialele pericole și conține mesaje de siguranță identificate prin simbolul de alertă de siguranță (Figura 2), semnalizând un pericol care poate cauza rănirea gravă sau moartea dacă nu respectați următoarele măsuri de precauție recomandate.
Simbolul de alertă de siguranță (Figura 2) prezent în acest manual și pe mașină identifică mesajele de siguranță importante pe care trebuie să le respectați pentru a evita accidentele.

Simbolul de alertă de siguranță apare deasupra informațiilor care vă atenționează cu privire la acțiuni sau situații nesigure și este urmat de cuvântul PERICOL, AVERTISMENT sau ATENȚIE.
PERICOL indică o situație periculoasă iminentă care, dacă nu este evitată, va duce la deces sau vătămare gravă.
AVERTISMENT indică o situație potențial periculoasă care, dacă nu este evitată, poate duce la deces sau vătămare gravă.
ATENȚIE indică o situație potențial periculoasă care, dacă nu este evitată, poate duce la vătămări ușoare sau moderate.
Acest manual utilizează două alte cuvinte pentru a evidenția informațiile. Important atrage atenția asupra informațiilor mecanice speciale și Notă accentuează informațiile generale care necesită atenție specială.
Produsul respectă toate directivele europene relevante; pentru detalii, consultaţi Declaraţia de conformitate (DOC) separată specifică produsului.
Cuplu brut sau net: Cuplul brut sau net al acestui motor a fost evaluat în laborator de către producătorul motorului în conformitate cu SAE (Society of Automotive Engineers - Societatea Inginerilor Auto) J1940 sau J2723. Deoarece sunt configurate pentru a îndeplini cerinţele privind siguranţa, emisiile şi operarea, cuplul real al motoarelor pentru clasa aceasta de maşini de tuns iarba pot fi semnificativ mai redus. Vă rugăm să consultați informațiile producătorului motorului incluse în volumul de livrare al mașinii.
Nu modificați și nu dezactivați dispozitivele de siguranță ale mașinii și verificați periodic funcționarea corectă a acestora. Nu încercați să reglați sau să modificați controlul turației motorului; acest lucru poate cauza o stare de funcționare nesigură, ducând la vătămări corporale.
Acest produs poate provoca răni la nivelul mâinilor sau picioarelor și poate arunca obiecte. Respectați întotdeauna toate instrucțiunile de siguranță pentru a preveni vătămările corporale sau moartea.
Citiți, înțelegeți și urmați instrucțiunile și avertismentele din Manualul utilizatorului și de pe mașină și accesorii înainte de a porni motorul.
Nu țineți mâinile sau picioarele în apropierea pieselor aflate în mișcare sau sub mașină. Staţi la distanţă de orice gură de descărcare.
Nu utilizaţi maşina fără toate protecțiile şi alte dispozitive de siguranță montate şi funcţionând corespunzător pe aceasta.
Țineți trecătorii și copiii departe de zona de utilizare. Nu lăsaţi copii să utilizeze maşina. Utilizarea mașinii va fi efectuată doar de persoane responsabile, instruite, familiarizate cu instrucțiunile și apte din punct de vedere fizic.
Înainte de efectuarea lucrărilor de service, alimentare sau desfundare a mașinii, opriți mașina, opriți motorul și așteptați până când se opresc toate piesele mobile.
Utilizarea sau întreţinerea necorespunzătoare
a acestei maşini poate cauza accidentări. Pentru a reduce
riscul de accidentare, respectaţi aceste instrucţiuni
de siguranţă şi acordaţi întotdeauna
atenţie simbolului de alertă privind siguranţa
, care înseamnă
Atenţie, Avertisment sau Pericol – instrucţiune
privind siguranţa personală. Nerespectarea acestor instrucţiuni
poate cauza vătămări corporale sau moartea.
![]() |
Instrucţiunile şi autocolantele cu informaţii privind siguranţa sunt uşor vizibile pentru operator şi sunt amplasate lângă orice zonă cu potenţial risc. Înlocuiți orice autocolant care este deteriorat sau lipsește. |




Important: Îndepărtați și eliminați folia de protecție din plastic folosită pentru a acoperi motorul, precum și orice alte elemente din plastic sau ambalaje de pe mașină.
Piese solicitate pentru această procedură:
| Mâner inferior | 2 |
| Șurub scurt | 4 |
| Şaibă plată | 4 |
| Șaibă de siguranță | 4 |
| Piuliţă | 4 |
| Mâner superior | 1 |
| Buton mâner | 2 |
| Şaibă curbată | 2 |
| Șurub lung | 2 |
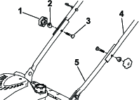
Atașați mânerul inferior la carcasa mașinii de tuns iarba cu ajutorul celor 4 șuruburi, 4 șaibe plate, 4 șaibe de siguranță și 4 piulițe (Figura 3).

Atașați mânerul superior la mânerul inferior cu ajutorul a 2 butoane de mâner, 2 șaibe curbate și 2 șuruburi. Strângeți ferm, manual, butoanele de mâner (Figura 4).

Introduceți cablurile în clema de cablu și atașați clema de cablu la mâner, așa cum este ilustrat în Figura 5.

Important: Pentru a porni motorul ușor și în siguranță de fiecare dată când utilizați mașina, montaţi cablul demarorului cu recul în ghidajul de cablu.
Țineți bara de comandă pentru lamă pe mânerul superior (Figura 9) și trageți cablul demarorului cu recul prin ghidajul cablului de pe mâner (Figura 6).

Important: Maşina dumneavoastră nu este furnizată cu ulei în motor. Înainte de a porni motorul, umpleţi-l cu ulei.
Capacitate ulei de motor: 0,55 l
Vâscozitate ulei: ulei detergent SAE 30 sau SAE 10W-30
Clasificare de service API: SJ sau superioară
Deplasați mașina pe o suprafață plană.
Scoateți joja rotind capacul în sens invers acelor de ceasornic și trăgându-l (Figura 7).

Turnați cu grijă în tubul de umplere cu ulei o cantitate de aproximativ ¾ din capacitatea motorului.
Așteptați aproximativ 3 minute ca uleiul să se așeze în motor.
Ștergeți joja cu o lavetă curată.
Introduceți joja în tubul de umplere cu ulei, apoi îndepărtați joja.
Verificaţi nivelul de ulei indicat pe jojă (Figura 7).
Dacă nivelul de ulei indicat de jojă este prea scăzut, turnați cu grijă o cantitate mică de ulei în tubul de umplere, așteptați 3 minute și repetați pașii 5 – 7 până când nivelul de ulei indicat pe jojă este corect.
Dacă nivelul de ulei indicat pe jojă este prea ridicat, îndepărtați excesul de ulei până când acest nivel va fi corect; consultați Schimbarea uleiului de motor.
Important: Dacă nivelul de ulei din motor este prea scăzut sau prea ridicat și porniți motorul, este posibil ca mașina să se defecteze.
Montaţi corect joja de ulei.

| Model | Greutate | Lungime | Lățime | Lăţime de tăiere | Înălțime |
| 20949 | 33 kg | 140 cm | 53 cm | 46 cm | 105 cm |
Pentru extinderea și îmbunătățirea performanțelor mașinii este disponibilă o gamă de dispozitive de atașare și accesorii aprobate de Toro. Pentru lista dispozitivelor de atașare și a accesoriilor aprobate, contactați centrul de service local sau un distribuitor Toro autorizat sau accesați www.Toro.com.
Pentru performanțe optime și utilizarea în siguranță a mașinii, utilizați exclusiv piese de schimb și accesorii originale Toro. Piesele de schimb și accesoriile altor producători pot fi periculoase și pot anula garanția produsului.
Note: Determinaţi partea stângă şi dreaptă a maşinii din poziţia de operare normală.
Opriți mașina, așteptați oprirea tuturor pieselor mobile și lăsați mașina să se răcească înainte de reglarea, efectuarea lucrărilor de service, curățarea sau depozitarea mașinii.
Familiarizați-vă cu utilizarea în siguranță a echipamentului, comenzile de operare și indicatoarele de siguranță.
Verificați dacă toate protecțiile și dispozitivele de siguranță, precum deflectoarele și/sau dispozitivul de adunat iarbă, sunt la locul lor și funcționează corect.
Inspectați întotdeauna mașina pentru a vă asigura că lamele și șuruburile lamei nu sunt uzate sau deteriorate.
Inspectați zona în care veți utiliza mașina și îndepărtați toate obiectele care ar putea obstrucționa utilizarea mașinii sau pe care le-ar putea proiecta mașina.
Contactul cu lama în timp ce aceasta se rotește va duce la vătămarea gravă. Nu puneți degetele sub carcasă.
Combustibilul este extrem de inflamabil şi exploziv. Un incendiu sau o explozie cauzată de combustibil vă poate arde pe dumneavoastră şi pe cei din jur și poate cauza pagube materiale.
Pentru a preveni o încărcare statică din cauza aprinderii combustibilului, plasaţi recipientul şi/sau maşina direct pe sol înainte de umplere, nu pe un vehicul sau obiect.
Umpleți rezervorul de combustibil într-un spațiu deschis, cu motorul rece. Ștergeți orice urmă de combustibil scurs.
Nu manipulaţi combustibilul când fumaţi sau în apropierea unei flăcări deschise sau a scânteilor.
Nu îndepărtați bușonul rezervorului și nu umpleți rezervorul de combustibil în timp ce motorul este pornit sau fierbinte.
Dacă vărsați combustibil, nu încercați să porniți motorul. Evitați crearea unei surse de aprindere până la disiparea vaporilor de combustibil.
Depozitaţi combustibilul într-un rezervor corespunzător şi nu îl lăsaţi la îndemâna copiilor.
Combustibilul este dăunător sau fatal dacă este înghițit. Expunerea pe termen lung la vapori poate provoca răni grave și îmbolnăviri.
Evitați inspirarea pe termen lung a vaporilor.
Țineți mâinile și fața departe de duză și de deschiderea rezervorului de combustibil.
Țineți combustibilul departe de ochi și piele.
Pentru rezultate optime utilizaţi numai benzină curată, proaspătă, fără plumb cu o cifră octanică de 87 sau mai mare (metodă de clasificare (R+M)/2).
ETANOL: benzina cu până la 10% etanol sau 15% MTBE (metil terț butil eter) concentrație volumică este un combustibil acceptabil. Etanolul și MTBE nu sunt același lucru. Nu este aprobată utilizarea benzinei cu 15% etanol (E15) concentrație volumică. Nu utilizați niciodată benzină care conține mai mult de 10% etanol, concentrație volumică, cum ar fi E15 (conține 15% etanol), E20 (conține 20% etanol) sau E85 (conține până la 85% etanol). Utilizarea unei benzine neaprobate poate cauza probleme de performanță și/sau deteriorarea motorului. Utilizarea benzinei neaprobate nu este acoperită de garanția produsului.
Nu utilizaţi benzină cu conţinut de metanol.
Nu depozitați combustibil în rezervorul de combustibil sau în recipientele de combustibil de-a lungul iernii decât dacă este adăugat un stabilizator de combustibil.
Nu adăugați ulei în benzină.
Important: Pentru a reduce problemele de pornire, adăugaţi stabilizator de combustibil în combustibilul pentru toate anotimpurile şi amestecaţi cu benzină nu mai veche de 30 de zile.

| Interval de întreţinere şi service | Procedură de întreţinere |
|---|---|
| Înainte de fiecare folosinţă sau zilnic |
|
Deplasați mașina pe o suprafață plană.
Scoateți joja rotind capacul în sens invers acelor de ceasornic și trăgându-l (Figura 11).

Ștergeți joja cu o lavetă curată.
Introduceți joja în tubul de umplere cu ulei, apoi îndepărtați joja.
Verificaţi nivelul de ulei indicat pe jojă (Figura 11).
Dacă nivelul de ulei indicat de jojă este prea scăzut, turnați încet o cantitate mică de ulei în tubul de umplere, așteptați 3 minute și repetați pașii de la 3 la 5 până când nivelul de ulei indicat jojă este corect.
Dacă nivelul de ulei indicat de jojă este prea ridicat, îndepărtați excesul de ulei până când nivelul de ulei indicat de jojă va fi corect. Pentru a îndepărta excesul de ulei, consultați Schimbarea uleiului de motor.
Important: Dacă nivelul de ulei din carter este prea scăzut sau prea ridicat și porniți motorul, este posibil ca mașina să se defecteze.
Instalați joja în siguranță în tubul de umplere cu ulei.
Reglarea înălțimii de tăiere vă poate aduce în contact cu lama în mișcare, provocând răni grave.
Opriți motorul și așteptați până la oprirea tuturor pieselor mobile.
Nu introduceți degetele sub carcasă în timp ce reglați înălțimea de tăiere.
Există 7 setări ale înălțimii de tăiere, de la 25 la 70 mm. Reglați înălțimea de tăiere conform preferințelor. Reglați roțile din față la aceeași înălțime cu roțile spate.
Pentru reglarea înălţimii de tăiere, decuplați maneta (Figura 12), ridicați sau coborâți mașina și apoi cuplați maneta.

Pozițiile înălțimii de tăiere sunt afișate în Figura 13.

Purtați îmbrăcăminte adecvată, inclusiv ochelari de protecție, pantaloni lungi, încălțăminte solidă, antiderapantă și căști pentru protecția auzului. Strângeți la spate părul lung și nu purtați îmbrăcăminte largă sau bijuterii.
Utilizați mașina cu foarte mare atenție. Nu vă angrenați în nicio activitate care vă poate distrage atenția; în caz contrar, se pot înregistra pagube materiale sau vătămări corporale.
Nu utilizaţi maşina dacă sunteți bolnav, obosit sau sub influența alcoolului sau a drogurilor.
Lama este ascuțită; contactul cu lama poate rezulta în vătămări corporale grave. Opriți motorul și aşteptaţi oprirea tuturor pieselor mobile înainte de a părăsi poziţia de operare.
Atunci când eliberați bara de comandă a lamei, motorul ar trebui să se oprească iar lama ar trebui să se oprească în maxim 3 secunde. În caz contrar, încetați imediat utilizarea mașinii și contactați un centru de service autorizat.
Țineți trecătorii departe de zona de utilizare. Nu permiteţi accesul copiilor mici în zona de operare şi lăsaţi-i în permanenţă în grija unui adult responsabil, care nu utilizează mașina. Opriți mașina dacă în zonă pătrunde orice persoană.
Priviți întotdeauna jos și în spate înainte de a deplasa mașina cu spatele.
Operați mașina doar în condiții de vizibilitate bună și în condiții meteo corespunzătoare. Nu utilizați mașina dacă există riscul unor descărcări electrice.
Iarba udă sau frunzele pot provoca vătămări grave dacă alunecați și intrați în contact cu lama. Evitați să tundeți iarba în condiții umede.
Apropiați-vă cu mare atenție de curbele fără vizibilitate, tufișuri, copaci sau alte obiecte care vă pot bloca vizibilitatea.
Nu direcționați materialul evacuat spre nicio persoană. Evitați evacuarea materialul spre un perete sau obstacol; materialul poate ricoșa spre dumneavoastră. Opriți lama (lamele) atunci când vă deplasați pe suprafețe acoperite cu pietriș.
Aveți grijă la gropi, șanțuri, denivelări, pietre sau alte obiecte ascunse. Terenul denivelat vă poate face să vă pierdeți echilibrul sau stabilitatea.
Dacă mașina se lovește de un obiect sau începe să vibreze, opriți motorul imediat, așteptați până când se opresc toate piesele mobile, deconectaţi cablul bujiei înainte de a verifica dacă mașina este deteriorată. Efectuați reparațiile necesare înainte de a o utiliza din nou.
Înainte de a părăsi poziția de operare, opriţi motorul şi aşteptaţi oprirea tuturor pieselor mobile.
Dacă motorul rulează, acesta va fi fierbinte și vă poate provoca arsuri grave. Păstrați distanța față de motorul fierbinte.
Utilizați motorul numai în zone bine ventilate. Gazele de eșapament conțin monoxid de carbon, care este un gaz inodor, otrăvitor, fatal.
Verificați frecvent componentele dispozitivului de adunat iarbă și jgheabul de evacuare pentru a descoperi orice uzură sau deteriorare și înlocuiți-le cu piese Toro originale, atunci când este necesar.
Tundeți iarba de-a lungul pantelor; niciodată în sus sau în jos. Acordaţi foarte mare atenţie la schimbarea direcţiei pe pante.
Nu tundeți iarba pe pantele foarte abrupte. Stabilitatea necorespunzătoare poate provoca un accident prin alunecare și cădere.
Tundeți iarba cu atenție în apropierea pantelor abrupte, șanțurilor sau terasamentelor.
Important: Această mașină este prevăzută cu un manșon din cauciuc peste capătul bujiei. Asigurați-vă că bucla metalică de la capătul cablului bujiei (în interiorul manșonului din cauciuc) este bine fixată pe vârful metalic al bujiei.
Pentru a opera propulsia automată, strângeți bara pentru propulsia automată (Figura 15) spre mâner și mențineți-o.

Note: Mașina are o viteză maximă fixă de aproximativ 3,7 km/h.
Pentru a decupla bara pentru propulsia automată, eliberați bara acesteia.
Pentru a opri motorul, eliberați bara de comandă pentru lamă.
Note: Deconectați și conectați la masă cablul bujiei înainte de a părăsi mașina pentru a preveni pornirea accidentală a motorului de către o altă persoană.
Lama este ascuțită; contactul cu lama poate rezulta în vătămări corporale grave.
Asigurați-vă că obturatorul de mulcire este în poziție înainte de operația de mulcire a resturilor de iarbă.
Nu acționați niciodată lama fără ca obturatorul de mulcire să fie fixat, fără sacul pentru iarbă montat sau cu trapa spate coborâtă.
Dacă sacul pentru iarbă este montat pe mașină, îndepărtați-l; consultați Îndepărtarea sacului pentru iarbă.
Folosiți sacul pentru iarbă atunci când doriți să colectați resturile de iarbă și de frunze de pe gazon.
Un sac pentru iarbă uzat ar putea permite proiectarea pietrelor de mici dimensiuni sau a unor reziduuri similare spre dumneavoastră sau trecători, rezultând în vătămări corporale grave sau deces.
Verificați frecvent starea sacului pentru iarbă. Dacă este deteriorat, montați un sac de schimb nou Toro.
Lama este ascuțită; contactul cu lama poate rezulta în vătămări corporale grave.
Aveți grijă, sacul pentru iarbă trebuie să fie în poziție înainte de a colecta resturile de iarbă.
Nu acționați niciodată lama fără ca obturatorul de mulcire să fie fixat, fără sacul pentru iarbă montat sau cu trapa spate coborâtă.
Mașina poate proiecta resturile de iarbă și alte obiecte printr-o deschizătură de pe tunelul de descărcare. Obiectele proiectate cu suficientă forță pot provoca vătămări corporale grave sau decesul dumneavoastră sau trecătorilor.
Nu deschideți niciodată trapa tunelului de descărcare atunci când este în funcțiune motorul.
Dacă pe mașină este instalată o pană de mulcire, ridicați trapa din spate, scoateți pana de mulcire și coborâți trapa din spate.
Dacă este necesar, asamblați sacul pentru iarbă; consultați Asamblarea sacului pentru iarbă.
Ridicați și mențineți ridicată trapa spate (Figura 17).

Instalați sacul pentru iarbă, având grijă ca știfturile de pe sac să rămână în canelurile de pe mâner (Figura 17).
Coborâți trapa spate.
Ridicați și mențineți ridicată trapa spate (Figura 17).
Îndepărtați sacul.
Coborâți trapa spate.
Dacă sacul pentru iarbă este montat pe mașină, îndepărtați-l înainte de a descărca resturile prin spate; consultați Îndepărtarea sacului pentru iarbă.
Dacă pe mașină este instalată o pană de mulcire, ridicați trapa din spate, scoateți pana de mulcire și coborâți trapa din spate.
Lama este ascuțită; contactul cu lama poate rezulta în vătămări corporale grave.
Asigurați-vă că trapa din spate este coborâtă înainte de a evacua prin spate resturile de iarbă.
Nu acționați niciodată lama fără ca obturatorul de mulcire să fie fixat, fără sacul pentru iarbă montat sau cu trapa spate coborâtă.
Tăiați aproximativ o treime din firul de iarbă. Nu tăiați mai jos de 50 mm cu excepția cazului în care iarba este mai rară sau este toamnă târzie, când creșterea ierbii începe să încetinească.
Atunci când tăiați iarba cu o înălțime de peste 15 cm, tăiați mai întâi la cea mai ridicată setare a înălțimii de tăiere și la o viteză mai mică; apoi tăiați din nou la o înălțime de tăiere mai mică pentru ca gazonul să aibă cel mai bun aspect. Dacă iarba este prea lungă, mașina se poate bloca, ceea ce poate duce la calarea motorului.
Iarba și frunzele ude au tendința de a se aduna în cadrul curții și pot cauza blocarea mașinii sau calarea motorului. Evitați să tundeți iarba în condiții umede.
Fiți atenți la potențialul risc de incendiu în condiții foarte uscate, respectați toate avertismentele autorităților locale privind incendiile și preveniți pătrunderea ierbii uscate și a resturilor de frunze în mașină.
Alternați direcția de tăiere. Acest lucru ajută la dispersarea resturilor pe gazon, pentru o fertilizare uniformă.
Dacă aspectul final al gazonului este nesatisfăcător, încercați una sau mai multe din următoarele recomandări:
Înlocuiți lama sau ascuțiți-o.
Deplasați-vă mai încet în timp ce tăiați iarba.
Ridicați înălțimea de tăiere a mașinii dumneavoastră.
Tăiați iarba mai frecvent.
Suprapuneți zonele de tăiere în loc să tăiați iarba dintr-o zonă completă cu fiecare trecere.
După tunderea gazonului, asigurați-vă că jumătate din gazon se vede prin stratul de frunze tăiate. Poate fi nevoie să efectuați mai multe treceri peste frunze.
Dacă pe gazon există un strat de frunze mai mare de 15 cm, tăiați iarba la o înălțime de tăiere mai mare și apoi tăiați iarba din nou la înălțimea de tăiere dorită.
Reduceți viteza de tăiere dacă mașina nu taie frunzele suficient de fin.
Opriți mașina, așteptați oprirea tuturor pieselor mobile și lăsați mașina să se răcească înainte de reglarea, efectuarea lucrărilor de service, curățarea sau depozitarea mașinii.
Curățați iarba și resturile din mașină pentru a ajuta la prevenirea incendiilor. Ștergeți uleiul sau combustibilul scurs.
Nu depozitați niciodată mașina sau recipientul cu combustibil într-o zonă cu flăcări deschise, scântei sau lămpi martor, precum cele de pe un boiler sau alte dispozitive electrice.
Încărcați sau descărcați cu grijă mașina.
Fixați mașina pentru a preveni răsturnarea.
| Interval de întreţinere şi service | Procedură de întreţinere |
|---|---|
| Înainte de fiecare folosinţă sau zilnic |
|
Mașina poate disloca material de sub ea.
Purtați protecție pentru ochi.
Stați în poziția de operare (în spatele mânerului) în timp ce funcționează motorul.
Nu permiteți trecătorilor să se afle în zonă.
Pentru rezultate optime, curățați mașina în scurt timp după ce ați terminat de tuns iarba.
Deplasați mașina pe o suprafață plană, pavată.
Opriți motorul și aşteptaţi oprirea tuturor pieselor mobile înainte de a părăsi poziţia de operare.
Alegeți cea mai mică înălțime de tăiere a mașinii; consultați Reglarea înălțimii de tăiere.
Spălați zona de sub ușa din spate, pe unde este evacuată iarba tăiată, de la carcasă până la sacul pentru iarbă.
Note: Spălați zona sacului la cerere, atât în poziția complet în față cât și în poziția complet în spate.
Atașați un furtun de grădină care este conectat la o sursă de apă la portul de spălare rapidă(Figura 18).

Porniți apa.
Porniți motorul și rulați-l până când nu mai este evacuată iarba tăiată de sub mașină.
Opriți motorul.
Opriți apa și deconectați furtunul de grădină de la mașină.
Lăsați motorul să funcționeze timp de câteva minute pentru a usca partea inferioară a mașinii, pentru a preveni ruginirea.
Înainte de depozitarea mașinii într-un spațiu închis, lăsați motorul să se răcească.
Plierea sau desfășurarea incorectă a mânerului poate deteriora cablurile, ducând la condiții de utilizare nesigure.
Nu deteriorați cablurile în timpul plierii sau desfășurării mânerului.
Dacă un cablu este deteriorat, contactaţi un centru de service autorizat.
Note: Determinaţi partea stângă şi dreaptă a maşinii din poziţia de operare normală.
| Interval de întreţinere şi service | Procedură de întreţinere |
|---|---|
| Înainte de fiecare folosinţă sau zilnic |
|
| La intervale de 100 de ore |
|
| Anual |
|
| Anual sau înainte de depozitare |
|
Opriți mașina, așteptați oprirea tuturor pieselor mobile și lăsați mașina să se răcească înainte de reglarea, efectuarea lucrărilor de service, curățarea sau depozitarea mașinii.
Deconectați cablul de la bujie înainte de a efectua orice proceduri de întreținere.
Purtați mănuși și protecție pentru ochi atunci când efectuați lucrări de service asupra mașinii.
Lama este ascuțită; contactul cu lama poate rezulta în vătămări corporale grave. Purtați mănuși în timpul lucrărilor de service asupra lamei. Nu reparați și nu modificați lama (lamele).
Nu modificați niciodată dispozitivele de siguranță. Verificați periodic funcționarea corectă a acestora.
Înclinarea mașinii poate cauza scurgerea combustibilului. Combustibilul este inflamabil și exploziv și poate cauza vătămări corporale. Rulați motorul fără combustibil sau îndepărtați combustibilul cu o pompă manuală; nu scurgeți niciodată combustibilul.
Pentru performanțe optime ale mașinii, utilizați exclusiv piese de schimb și accesorii originale Toro. Piesele de schimb și accesoriile altor producători pot fi periculoase și pot anula garanția produsului.
Opriți motorul și așteptați până la oprirea tuturor pieselor mobile.
Deconectați cablul de la bujie (Figura 20).

După efectuarea procedurii (procedurilor) de întreținere, conectați cablul la bujie.
Important: Înainte de a înclina mașina pentru a schimba uleiul sau a înlocui lama, lăsați rezervorul de combustibil să se usuce în timpul utilizării normale. Dacă trebuie să înclinați mașina înainte de a rămâne fără combustibil, utilizați o pompă manuală de combustibil pentru a scurge combustibilul. Amplasați întotdeauna mașina pe o parte, cu joja orientată în jos.
Înclinarea mașinii poate cauza scurgerea combustibilului. Combustibilul este inflamabil și exploziv și poate cauza vătămări corporale.
Rulați motorul fără combustibil sau îndepărtați combustibilul cu o pompă manuală; nu scurgeți niciodată combustibilul.
| Interval de întreţinere şi service | Procedură de întreţinere |
|---|---|
| La intervale de 100 de ore |
|
Utilizaţi o bujie Champion RN9YC sau echivalentă.
Opriți motorul și așteptați până la oprirea tuturor pieselor mobile.
Deconectați cablul bujiei.
Curăţaţi zona din jurul bujiei.
Îndepărtaţi bujia de la motor.
Important: Înlocuiţi o bujie fisurată, deteriorată sau murdară. Nu curăţaţi electrozii, deoarece pilitura care pătrunde în motor îl poate deteriora.
Reglați distanța bujiei la 0,76 mm, așa cum este indicat în Figura 21.

Montați bujia.
Strângeți bujia la 20 N∙m.
Conectați cablul la bujie.
| Interval de întreţinere şi service | Procedură de întreţinere |
|---|---|
| Anual |
|
Apăsați în jos urechile de blocare din partea de sus a capacului filtrului de aer (Figura 22).

Deschideți capacul.
Îndepărtați filtrul de aer din hârtie și prefiltrul din spumă (Figura 23).

Verificați prefiltrul din spumă și înlocuiți-l dacă este deteriorat sau excesiv de murdar.
Verificați filtrul de aer din hârtie.
Dacă filtrul de aer din hârtie este deteriorat sau umezit cu ulei sau combustibil, înlocuiți-l.
Dacă filtrul de aer din hârtie este murdar, loviți-l ușor pe o suprafață tare de mai multe ori sau suflați aer comprimat la o presiune mai mică de 2,07 bar prin partea filtrului care este îndreptată spre motor.
Note: Nu îndepărtați murdăria de pe filtru prin periat; periatul forțează pătrunderea murdăriei în fibre.
Utilizați o lavetă umedă pentru a îndepărta murdăria de la nivelul corpului și capacului filtrului de aer. Nu ștergeți murdăria spre conducta de aer.
Montați prefiltrul din spumă și filtrul de aer din hârtie la filtrul de aer.
Montați capacul.
Schimbarea uleiului de motor nu este necesară, dar dacă doriți să schimbați uleiul, utilizați următoarea procedură.
Capacitate ulei de motor: 0,55 l
Vâscozitate ulei: ulei detergent SAE 30 sau SAE 10W-30
Clasificare de service API: SJ sau superioară
Note: Turaţi motorul timp de câteva minute înainte de a schimba uleiul, pentru a-l încălzi. Uleiul cald curge mai bine și transportă mai mulți agenți de contaminare.
Deplasați mașina pe o suprafață plană.
Consultați Pregătirea pentru întreţinere.
Scoateți joja rotind capacul în sens invers acelor de ceasornic și trăgându-l (Figura 24).

Înclinați mașina pe o parte (astfel încât filtrul de aer să fie orientat în sus) pentru a scurge uleiul uzat din tubul de umplere cu ulei (Figura 25).

După scurgerea uleiului uzat, readuceți mașina în poziție de operare.
Turnați cu grijă în tubul de umplere cu ulei o cantitate de aproximativ ¾ din capacitatea motorului.
Așteptați aproximativ 3 minute ca uleiul să se așeze în motor.
Ștergeți joja cu o lavetă curată.
Introduceți joja în tubul de umplere cu ulei, apoi îndepărtați joja.
Verificaţi nivelul de ulei indicat pe jojă (Figura 25).
Dacă nivelul de ulei indicat de jojă este prea scăzut, turnați cu grijă o cantitate mică de ulei în tubul de umplere, așteptați 3 minute și repetați pașii de la 8 la 10 până când nivelul de ulei indicat jojă este corect.
Dacă nivelul de ulei indicat de jojă este prea ridicat, îndepărtați excesul de ulei până când nivelul de ulei indicat de jojă va fi corect.
Important: Dacă nivelul de ulei din motor este prea scăzut sau prea ridicat și porniți motorul, este posibil ca mașina să se defecteze.
Montaţi corect joja de ulei.
Reciclați în mod corespunzător uleiul uzat.
| Interval de întreţinere şi service | Procedură de întreţinere |
|---|---|
| Anual |
|
Important: Pentru a instala lama corect veți avea nevoie de o cheie dinamometrică. Dacă nu aveți o cheie dinamometrică sau considerați că nu puteți efectua această procedură, contactaţi un centru de service autorizat.
Verificați lama ori de câte ori rămâneți fără combustibil. Dacă lama este deteriorată sau fisurată, înlocuiți-o imediat. Dacă marginea lamei este tocită sau prezintă crestături, ascuțiți-o și echilibrați-o sau înlocuiți-o.
Lama este ascuțită; contactul cu lama poate rezulta în vătămări corporale grave.
Purtați mănuși în timpul lucrărilor de service asupra lamei.
Consultați Pregătirea pentru întreţinere.
Amplasați mașina pe o parte, cu joja orientată în jos.
Folosiți o bucată de lemn pentru a menține lama stabilă (Figura 26).

Îndepărtați lama, păstrând toate elementele de montare (Figura 26).
Instalați lama nouă și toate elementele de montare (Figura 27).

Important: Amplasați capetele curbate ale lamei spre carcasa mașinii de tuns iarba.
Folosiți o cheie dinamometrică pentru a strânge șurubul lamei la un cuplu de 45 N∙m.
| Interval de întreţinere şi service | Procedură de întreţinere |
|---|---|
| Anual sau înainte de depozitare |
|
Aplicați câteva picături de lubrifiant cu litiu nr. 2 pe rulmenții cu bile de pe fiecare dintre roți (Figura 28).

Depozitați mașina într-un loc răcoros, curat și uscat.
Opriți mașina, așteptați oprirea tuturor pieselor mobile și lăsați mașina să se răcească înainte de reglarea, efectuarea lucrărilor de service, curățarea sau depozitarea mașinii.
La ultima realimentare din an, adăugați stabilizator în combustibil (cum ar fi Tratamentul pentru combustibil Toro Premium).
Eliminaţi în mod corespunzător combustibilul neutilizat. Reciclați-l în funcție de reglementările locale sau utilizați-l în automobil.
Note: Combustibilul vechi din rezervorul de combustibil este principala cauză a pornirii dificile. Nu depozitați combustibilul fără stabilizator pentru o perioadă mai lungă de 30 de zile și nu depozitați stabilizatorul de combustibil pentru o perioadă mai lungă de 90 de zile.
Turaţi maşina până când motorul se opreşte din cauza consumării complete a combustibilului.
Porniți motorul din nou.
Lăsaţi motorul să funcţioneze până când se opreşte. Când nu mai puteţi porni motorul, înseamnă că acesta este suficient de uscat.
Deconectați cablul bujiei.
Scoateţi bujia, adăugaţi 30 ml de ulei de motor prin orificiul bujiei şi trageţi cablul demarorului uşor de câteva ori, pentru a distribui uleiul prin cilindru, în scopul prevenirii corodării cilindrului pe perioada depozitării maşinii.
Montaţi bujia, fără a o strânge.
Strângeți toate piulițele și șuruburile.
Verificați și strângeți toate elementele de fixare.
Scoateţi bujia şi turaţi motorul rapid, utilizând mânerul de pornire cu recul pentru a elimina uleiul în exces din cilindru.
Instalați bujia și strângeți-o cu o cheie dinamometrică la 20 N∙m.
Efectuați orice proceduri de întreținere; consultați .
Verificați nivelul uleiului de motor; consultați Verificarea nivelului uleiului de motor.
Umpleți rezervorul cu combustibil proaspăt; consultați Umplerea rezervorului de combustibil.
Conectați cablul la bujie.