![]() |
Las calcomanías de seguridad e instrucciones están a la vista del operador y están ubicadas cerca de cualquier zona de peligro potencial. Sustituya cualquier calcomanía que esté dañada o que falte. |

Aparque la máquina en una superficie nivelada.
Ponga el freno de estacionamiento.
Baje la unidad de corte.
Apague el motor y retire la llave.
Desconecte la batería; consulte la sección sobre el mantenimiento del sistema eléctrico del Manual del operador.
Piezas necesarias en este paso:
| Soporte de los interruptores | 1 |
| Clip (¼") | 6 |
| Tuerca rápida | 2 |
| Placa de montaje de los fusibles | 1 |
| Tuerca rápida en U | 4 |
| Bloque de fusibles | 1 |
| Tornillo (N° 10 x ¾") | 2 |
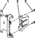
Instale los 6 clips y las 2 tuercas rápidas en el soporte de los interruptores (Figura 1).

Instale las tuercas rápidas en U en la placa de montaje de los fusibles (Figura 2).

Instale el bloque de fusibles del arnés de cables en la placa de montaje de los fusibles usando 2 tornillos (Nº 10 x ¾"), como se muestra en la Figura 3.

Piezas necesarias en este paso:
| Soporte de montaje | 2 |
| Perno de cuello cuadrado (¼" x 2") | 4 |
| Contratuerca (¼") | 2 |
| Tornillo de cabeza hexagonal (¼" x ¾") | 2 |
| Tuerca con arandela prensada (¼") | 2 |
| Módulo de intermitencia | 1 |
| Relé | 1 |
| Arnés de cables | 1 |
| Brida | 2 |
| Tapa de los fusibles | 1 |
| Tornillo moleteado | 2 |
| Tuerca rápida | 2 |
| Pegatina | 1 |
| Tornillo (N° 10 x ⅜") | 2 |
| Interruptor multifunción | 1 |
| Tapón | 3 |
| Interruptor basculante | 1 |
| Cubierta de los mandos | 1 |
| Tornillo de cabeza hexagonal (¼" x ¾") | 6 |
| Grapa circular | 2 |
| Grapa | 2 |
Instale provisionalmente el soporte de los interruptores alrededor de la columna de dirección usando 4 pernos de cuello cuadrado (¼" x 2"), 2 soportes de montaje, la placa de montaje de los fusibles y 4 contratuercas (¼"), como se muestra en la Figura 4.

Instale el interruptor multifunción en el soporte de los interruptores y sujételo usando las grapas circulares debajo del orificio del interruptor (Figura 5).

Instale el interruptor basculante y los tapones en el soporte de los interruptores (Figura 6).

Instale el módulo de intermitencia y el relé en la placa de montaje de los fusibles usando 2 tornillos (Nº 10 x ⅜"), como se muestra en la Figura 7.

Sujete el módulo de intermitencia con una brida (Figura 8).
Enchufe el arnés en el interruptor basculante y en el interruptor multifunción (Figura 8).

Enchufe el arnés de cables en el relé y en el módulo de intermitencia (Figura 8).
Afloje los pernos alrededor de la base de la columna de dirección (Figura 9).
Levante la base y perfore un orificio de 22 mm (⅞"), como se muestra en la Figura 9.

Enrute el arnés por el orificio que perforó en la base.
Conecte los conectores bala como se muestra en la Figura 10.

Aplique la pegatina a la tapa del fusible, como se muestra en la Figura 11.

Instale la tapa del fusible en el soporte de los interruptores usando 2 tornillos moleteados y 2 tuercas rápidas (Figura 12).
Note: Asegúrese de que las tuercas rápidas se instalan en el interior de la tapa del fusible (Figura 12).

Ajuste el conjunto de control de manera que los interruptores estén accesibles.
Apriete todas las fijaciones.
Instale la cubierta de los mandos en el soporte de los interruptores usando 2 grapas y 6 tornillos de cabeza hexagonal (¼" x ¾"), como se muestra en la Figura 13.

Piezas necesarias en este paso:
| Base de la luz izquierda (máquinas con cabina) | 1 |
| Base de la luz derecha (máquinas con cabina) | 1 |
| Soporte de la luz izquierda (máquinas con cabina) | 1 |
| Soporte de la luz derecha (máquinas con cabina) | 1 |
| Conjunto de luz izquierda (máquinas con cabina) | 1 |
| Conjunto de luz derecha (máquinas con cabina) | 1 |
| Perno de cabeza de botón (¼" x ⅝") — máquinas con cabina | 6 |
| Perno de cuello cuadrado (⅜" x ¾") — máquinas con cabina | 4 |
| Contratuerca (⅜") — máquinas con cabina | 4 |
| Soporte transversal de las luces (máquinas sin cabina) | 1 |
| Cinta reflectante amarilla | 2 |
Sujete la base de la luz izquierda y la base de la luz derecha al bastidor de la cabina usando 2 pernos de cuello cuadrado (⅜" x ¾") y 2 contratuercas (⅜") en cada lado.

Sujete el soporte de la luz izquierda y el soporte de la luz derecha a las bases de las luces usando 3 pernos de cabeza de botón (¼" x ⅝") a través de las tuercas rápidas de cada lado.
Note: Asegúrese de instalar el soporte de la luz izquierda y la luz derecha en la posición de montaje más estrecha.

Sujete el conjunto de luz izquierda y el conjunto de luz derecha al soporte de la luz izquierda y al soporte de la luz derecha usando la tuerca hexagonal de los conjuntos de luces.
Note: Instale las luces con la luz baja/corta hacia el borde exterior de la máquina.Mire la parte inferior de las luces para ver la orientación de las luces altas/largas y bajas/cortas.

Aplique la cinta reflectante amarilla a la base de la luz izquierda y a la base de la luz derecha usando las dimensiones indicadas a continuación.

Retire la placa de amarre de la plataforma.
Guarde las piezas.

Aplique la cinta reflectante amarilla al soporte transversal de las luces usando las dimensiones indicadas a continuación.

Sujete el soporte transversal de las luces a la plataforma usando los pernos, las tuercas y la placa de amarre que retiró anteriormente.

Sujete el conjunto de luz izquierda y el conjunto de luz derecha al soporte transversal de las luces usando la arandela de freno y la tuerca hexagonal de los conjuntos de luces.
Note: Instale las luces con la luz baja/corta hacia el borde exterior de la máquina.Mire la parte inferior de las luces para ver la orientación de las luces altas/largas y bajas/cortas.

Piezas necesarias en este paso:
| Soporte izquierdo | 1 |
| Soporte derecho | 1 |
| Soporte corto izquierdo | 1 |
| Soporte corto derecho | 1 |
| Perno de cuello cuadrado (5/16" x ¾") | 4 |
| Tuerca con arandela prensada (5/16") | 4 |
| Perno de cuello cuadrado (¼" x ⅝") | 4 |
| Contratuerca (¼") | 11 |
| Perno de cabeza hexagonal (⅜" x 3") | 4 |
| Contratuerca (⅜") | 4 |
| Cinta reflectante roja | 4 |
| Soporte del marcador | 1 |
| Soporte trasero | 2 |
| Señal de vehículo lento | 1 |
| Arandela plana | 3 |
| Perno con arandela prensada (¼" x ¾") | 7 |
| Alojamiento de la luz izquierda | 1 |
| Carcasa de la luz derecha | 1 |
Retire el perno con arandela prensada (⅜" x 2¾") y la tuerca con arandela prensada (⅜") que sujetan el parachoques al tubo del bastidor trasero en cada lado del parachoques.

Sujete el soporte izquierdo y el soporte derecho a los tubos traseros del bastidor con 2 pernos de cabeza hexagonal (⅜" x 3") y 2 contratuercas (⅜") en cada lado.

Sujete el soporte corto izquierdo y el soporte corto derecho al soporte izquierdo y al soporte derecho usando 4 pernos de cuello cuadrado (5/16" x¾") y 4 tuercas con arandela prensada (5/16").

Sujete el alojamiento de la luz izquierda y el alojamiento de la luz derecha al soporte corto izquierdo y al soporte corto derecho usando 4 pernos de cuello cuadrado (¼" x ⅝") y 4 contratuercas (¼").

Usar una taladradora sin protección ocular adecuada puede permitir que entren residuos en el ojo y causar lesiones.
Al perforar, siempre utilice protección ocular.
Usando el soporte del marcador como plantilla, perfore 3 orificios (5/16") en la señal de vehículo lento.

Sujete la señal del vehículo lento al soporte del marcador usando 3 pernos con arandela prensada (¼" x ¾"), 3 arandelas planas y 3 contratuercas (¼").

Retire del capó los 4 tapones de plástico.

Levante el capó.

Sujete el conjunto de la señal de vehículo lento al capó con 4 pernos con arandela prensada (¼" x ¾"), 2 soportes traseros y 4 contratuercas (¼").

Aplique 2 trozos de cinta reflectante roja al parachoques trasero y 1 trozo de cinta reflectante al alojamiento de cada luz usando las dimensiones indicadas en las figuras siguientes.


Piezas necesarias en este paso:
| Arnés de cables de las luces | 1 |
| Brida | 2 |
| Conjunto de montaje interior | 2 |
| Luz trasera | 2 |
| Tornillo de cabeza troncocónica (Nº 10 x 1¼") | 4 |
| Tuerca con arandela prensada (Nº 10) | 4 |
| Perno allen de cabeza redonda (¼" x ¾") | 8 |
Consulte las figuras e instrucciones siguientes para enrutar el arnés de cables de las luces.

Enrute el conector del arnés de cables marcado hasta el lado izquierdo de la unidad. Conecte el arnés a la luz.
Enrute el conector del arnés de cables marcado hasta el lado derecho de la unidad. Conecte el arnés a la luz.
Enrute el conector del arnés de cables marcado hasta el lado izquierdo trasero de la unidad.
Enrute el conector del arnés de cables marcado hasta el lado derecho trasero de la unidad.
Sujete las luces traseras a los conjuntos de montaje interiores usando 4 tornillos de cabeza redonda (Nº 10 x 1¼") y 4 tuercas con arandela prensada (Nº 10).

Enrute el conector del arnés de cables marcado hasta la luz trasera.
Enrute el conector del arnés de cables marcado hasta la luz trasera.
Sujete las luces traseras ensambladas a los alojamientos de las luces traseras usando 8 pernos de cabeza de botón (¼" x ¾").
Asegúrese de instalar las luces traseras con la lente amarilla encima.

Utilice una brida para enrollar entre sí los conectores restantes (J01 y J02).

Piezas necesarias en este paso:
| Arnés de cables de control | 1 |
Consulte las figuras e instrucciones siguientes para enrutar el arnés de cables de control.

Conecte el conector del arnés de cables de control marcado TO ROAD LTS HARNESS (P06) al conector del arnés de cables de las luces marcado TO MAIN HARNESS (P03).
Conecte el conector del arnés de cables de control marcado TO POWER HARNESS (P05) al conector del arnés de cables de alimentación marcado POD CONTROL HARNESS (P04).

Utilice una brida para enrollar entre sí los conectores restantes (J01 y J02).

Conecte la batería; consulte la sección Mantenimiento del sistema eléctrico del Manual del operador.