O kit de direção automática é um acessório para o sistema de pulverização GeoLink™, utilizado em veículos de aplicação de rega que se destina a ser utilizado por operadores profissionais contratados em aplicações comerciais. Foi principalmente concebido para regar a relva em parques, campos de golfe, campos desportivos e relvados comerciais bem mantidos. Se a máquina for utilizada com qualquer outro propósito, poderá pôr em perigo o utilizador ou outras pessoas.
Leia estas informações com atenção para saber como operar e realizar a manutenção adequada do produto, além de evitar lesões e danos ao produto. A utilização correta e segura do produto é da exclusiva responsabilidade do utilizador.
Visite www.Toro.com para obter informações sobre materiais de formação de operação e segurança dos produtos, informações sobre acessórios, para obter o contacto de um representante ou para registar o seu produto.
Sempre que necessitar de assistência, peças genuínas Toro ou informações adicionais, entre em contacto com um representante de assistência autorizado ou com o serviço de assistência Toro, indicando os números de modelo e de série do produto. Figura 1 identifica a localização dos números de série e de modelo do produto. Escreva os números no espaço fornecido.
Important: Com o seu dispositivo móvel, pode ler o código QR (se equipado) no autocolante com o número de série para aceder a informações sobre garantia, peças e outros produtos.

Este manual identifica potenciais perigos e tem mensagens de segurança identificadas pelo símbolo de alerta de segurança (Figura 2), que identifica perigos que podem provocar ferimentos graves ou mesmo a morte, se não respeitar as precauções recomendadas.

Neste manual são utilizadas duas palavras para destacar informações. A palavra Importante chama a atenção para informações mecânicas específicas e a palavra Observação destaca informações gerais que merecem atenção especial.
As substâncias químicas usadas no sistema de pulverização podem ser perigosas ou tóxicas para si ou outras pessoas presentes, animais, plantas, solo ou outros bens.
Leia atentamente e siga as etiquetas de advertência química e Folhas de dados de de segurança (FDS) de todos os produtos químicos usados e proteja-se de acordo com as recomendações do fabricante do produto químico. Por exemplo, utilize o equipamento de proteção pessoal (EPP) incluindo a proteção do rosto e dos olhos, luvas ou outros equipamentos para proteção contra o contacto pessoal com um produto químico.
Pode ser utilizado mais do que um produto químico e deve ser consultada a informação sobre cada um.
Recuse operar ou trabalhar no pulverizador se esta informação não estiver disponível.
Antes de trabalhar num sistema de pulverização, certifique-se de que foi lavado três vezes e neutralizado de acordo com as recomendações dos fabricantes dos produtos químicos e de que todas as válvulas passaram por três ciclos.
Verifique se existe uma fonte de água limpa e sabão nas proximidades e lave imediatamente qualquer produto químico que entre em contacto consigo.
Desligue a máquina, retire a chave (se equipada) e espere até que todo o movimento pare antes de sair da posição de operação. Deixe a máquina arrefecer antes de ajustar, fazer manutenção, limpar ou armazenar.
O uso e manutenção impróprios desta máquina
podem resultar em ferimentos. Para reduzir o risco de lesões,
respeite estas instruções de segurança e preste
sempre atenção ao símbolo de alerta de segurança
, que indica:
Cuidado, Aviso ou Perigo – instruções de segurança
pessoal. O não cumprimento destas instruções
pode resultar em ferimentos pessoais ou mesmo em morte.
![]() |
Os autocolantes de segurança e de instruções são facilmente visíveis e situam-se próximo das zonas de potencial perigo. Substitua todos os autocolantes danificados ou em falta. |


Eleve a máquina e apoie-a com macacos; consulte o Manual do utilizador da sua máquina.
Retire as cinco porcas das rodas que prendem o pneu e a roda esquerdos ao cubo da roda, e retire a roda da máquina (Figura 4).

Remova o pneu frontal esquerdo.
Remova o parafuso e a anilha na parte superior do pino principal e remova o pino principal.
Rode o conjunto do fuso/cubo da roda para fora da máquina.
Instale o calço no conjunto do fuso/cubo da roda.
Instale o conjunto do fuso/cubo da roda, o pino principal e a roda. Aperte as porcas das rodas com 75 a 102 N·m.
Utilize a máquina e certifique-se de que o problema foi resolvido.

Peças necessárias para este passo:
| Sensor de posição da direção (sensor e parafuso magnético) | 1 |
| Porca de retenção(10 mm) | 1 |
| Suporte do sensor | 1 |
| Ferramenta de alinhamento do sensor | 1 |
| Parafuso de cabeça chata n.º 4 x ¾ pol. | 2 |
| Porca de bloqueion.º 4 | 2 |
| Parafuso de cabeça flangeada (¼ x ¾ pol.) | 2 |
| Porca de bloqueio (¼ pol.) | 2 |
Remova o parafuso da extremidade do pino principal (Figura 6).
Note: Descarte o parafuso

Enrosque a ferramenta de alinhamento na parte superior do pino principal (Figura 6).
Alinhe o suporte do sensor por cima da ferramenta de alinhamento e das ranhuras na flange do fuso (Figura 7).

Monte, sem apertar, o suporte na flange (Figura 7) com dois parafusos de cabeça sextavada (1/4 pol. x ¾ pol.) e duas porcas de bloqueio (¼ pol.).
Posicione o suporte na parte inferior das ranhuras da flange do fuso, e aperte os parafusos de cabeça flangeada e as porcas de bloqueio (Figura 7).
Remova a ferramenta de alinhamento (Figura 8).

Enrosque completamente a porca de retenção no parafuso magnético (Figura 9).

Enrosque o parafuso magnético na parte superior do pino principal (Figura 9).
Monte o sensor de posição de direção no suporte do sensor com 2 parafusos de cabeça chata, (n.º 4 x ¾ pol.) e porcas de bloqueio (n.º 4), e aperte os parafusos e porcas de bloqueio (Figura 10).

Ajuste a posição do parafuso magnético até existir uma folga de 4 mm entre o parafuso e a face do sensor (Figura 11).

Rode o parafuso magnético até a linha indicadora gravada na parte plana do parafuso magnético ficar alinhada com a porta de ligação do sensor (Figura 11).
Aperte a porca de bloqueio (Figura 11).
Meça a folga entre o parafuso e a face do sensor (Figura 11). Deve existir uma folga de 2 a 4 mm.
Note: Se a folga for inferior a 2 mm ou superior a 4 mm, ajuste a posição do parafuso magnético, alinhe a linha indicadora e aperte a porca de retenção.
Rode a chave de ignição para a posição RUN(arranque) (gasolina) ou PREHEAT/RUN(pré-aquecimento/arranque) (gasóleo).
Pressione o ícone ACERCA (Toro) no canto superior esquerdo da consola de controlo (Figura 13).

Quando a versão do software estiver correta, a caixa de diálogo Acerca exibe a versão de software 4.04 ou superior.
Note: Se as versões de software não corresponderem, entre em contacto com o centro de apoio técnico da Toro.
Certifique-se de que o seu computador portátil cumpre os requisitos de hardware, sistema operativo e aplicação antes de instalar o software PLUS+1® Service Tool da Danfoss; consulte as tabelas que se seguem.
|
Componente |
Capacidade mínima |
|---|---|
|
CPU* |
1,5 Ghz, 32-bit, 1 núcleo, 2008 ou superior |
|
Memória |
1 GB |
|
Espaço livre no disco rígido |
Superior a 1 GB |
|
Resolução mínima do ecrã |
1024 x 768 |
|
Porta USB |
Versão 2.0 ou superior |
|
* O CPU deve destinar-se a ser utilizado em computadores portáteis. Os processadores destinados a netbooks, tablets ou dispositivos semelhantes não são recomendados. |
|
|
Software |
Versão |
|---|---|
|
Versão do sistema operativo |
Microsoft Windows 7 — 32 bit |
|
Componentes do SO |
MSXML 4.0, Service Pack 2 (Microsoft XML Core Services) |
|
Direitos da conta de utilizador |
Acesso como administrador local |
|
Software |
Notas |
|---|---|
|
Leitor de e-mail |
Para registar a licença. |
|
Leitor de PDF |
Qualquer leitor recente compatível com as normas. |
|
Navegador Web |
Qualquer navegador Web recente compatível com as normas (para HTML, tecla F1 para ajuda). |
Aceda à página Toro Connect (Figura 14).

Clique, com o botão esquerdo no ícone Resource Library (biblioteca de recursos) (Figura 14).
Na página Web Library (biblioteca), escreva (direção automática) na caixa de texto Enter Search Terms (introduzir termos de pesquisa) (Figura 15).

Na lista Showing Documents (Documentos exibidos), clique na hiperligação AutoSteer Danfoss Software (Figura 16).

Na página Document Information (informações do documento), clique na hiperligação PVED-CLS 2.00 firmware release package.zip (Figura 17).

Clique no botão para guardar (Figura 17).
Note: O ficheiro é guardado na pasta de transferências do seu computador.
Na página Document Information (informações do documento), clique na hiperligação Plus1 Service Tool (Figura 18).

Clique no botão para guardar (Figura 18).
Note: O ficheiro é guardado na pasta de transferências do seu computador.
Important: A pessoa responsável pela instalação do PLUS+1 Service Tool tem de poder utilizar o computador como administrador.
Abra a Pasta de Downloads do seu computador portátil, clique, com o botão direito, na ligaçãoPLUS1ServiceTool1207Setup.zip file, e clique em Extrair todos... no menu de lista suspensa (Figura 19).

Na caixa de diálogo Extrair Pastas Comprimidas, certifique-se de que a caixa está selecionada e clique em (Figura 20).

Na pasta PLUS1SERVICETOOL1207SETUP, faça um duplo clique em PLUS+1_ServiceTool_12.7_Setup.exe file (Figura 21).

Se a caixa de diálogo Controlo da Conta de Utilizador aparecer, clique em SIM (Figura 22).

Na caixa de diálogo Select Destination Location (selecionar localização de destino, clique em NEXT (seguinte) (Figura 23).

Na caixa de diálogo Plus+1 Online, clique em NEXT (seguinte) (Figura 24).

Na caixa de diálogo Select Additional Tasks (selecionar tarefas adicionais), clique em NEXT (Figura 25).

Na caixa de diálogo Ready to Install (pronto a instalar), clique em INSTALL (instalar) (Figura 26).

Note: A caixa de diálogo de progresso (Figura 27) é exibida.

Na caixa de diálogo Completing Service Tool Setup Wizard (assistente de instalação), clique em FINISHED (concluído) (Figura 28).

Na caixa de diálogo Select Destination Location (selecionar localização de destino, clique em NEXT (seguinte) (Figura 29).

Na caixa de diálogo Ready to Install (pronto a instalar), clique em INSTALL (instalar) (Figura 30).

Note: A caixa de diálogo de progresso (Figura 31) é exibida.

Na caixa de diálogo Completing Service Tool Drivers Setup Wizard (assistente de instalação dos drivers), clique em FINISHED (concluído) (Figura 32).

Na caixa de diálogo Completing Service Tool Setup Wizard (assistente de instalação), clique em FINISHED (concluído) (Figura 33).

Abra a Pasta de Downloads do seu computador portátil, clique, com o botão direito, na ligação6763_14472.en.zip, e clique em Extrair todos... no menu de lista suspensa (Figura 34).

Na caixa de diálogo Extract Compressed (extrair comprimido), clique em (Figura 35).

Na caixa de diálogo Select a destination (selecionar um destino), navegue até à pasta (documentos) e clique no botão (selecionar pasta) (Figura 35).
Na caixa de diálogo Extrair Pastas Comprimidas, certifique-se de que a caixa está selecionada e clique em (Figura 36).

Ligue o cabo Toro Diag na porta USB do computador.
Na barra de tarefas do Windows, clique no ícone (Figura 37).

Na caixa de texto , escreva e prima a tecla Enter (Figura 37)
Clique no ícone PVED-CLS_2.00_rev_D.P1D (Figura 37).
Note: A aplicação Plus+1 Service Tool surge no seu computador (Figura 38).

Se o ecrã exibir Select Gateway Channel (Selecionar canal do Gateway) no seu computador, avance para o passo 10.
Na barra superior, clique em Communication (comunicação) (Figura 39).

No menu suspenso de Communication, clique em Gateway (Figura 39).
No menu suspenso de Gateway, clique em Advanced (Figura 39).
No menu suspenso de Advanced, clique em Select Gateway()... (Figura 39).
No ecrã Select Gateway Channel, clique na opção Kvaser da lista de Gateways (Figura 40).

No menu Channels, clique na opção Diagnostic Cable (Figura 40).
Note: Se uma opção de cabo de diagnóstico não for apresentada no menu Channels, verifique se o cabo Toro Diag está ligado na porta USB do computador, clique em Refresh (Figura 40) no ecrã Select Gateway Channel, e clique na opção Diagnostic Cable.
Clique em CHANGE por baixo de Current Selection (Figura 40).
Important: Tem de ter direitos administrativos no seu computador antes de instalar o pacote de atualização de firmware PVED CLS.
No seu computador portátil, abra o Plus+1 Service Tool da Danfoss.
Clique no ícone FILE ícone (Figura 41).

Na caixa de diálogo Diagnostic Data, clique no ícone do protocolo PLUS+1, e prima o ícone (Figura 42).

Navegue até ao ficheiro PVED-CLS 2.00 firmware release package.zip, clique na pasta PVED-CLS 2.00 firmware release package, e clique no ícone (Figura 43).

Clique na pasta Diagnostic data files, e clique no ícone (Figura 44).

Clique no ficheiro APP-_CLS-_M_R200_SEHS----_11153340_..., e clique no ícone (Figura 45).

Na caixa de diálogo , clique no ícone (Figura 46).

Clique no ícone FILE ícone (Figura 47).

Na caixa de diálogo Select Protocol, clique no ícone do protocolo PLUS+1, e prima o ícone (Figura 48).

Navegue até ao ficheiro PVED-CLS 2.00 firmware release package.zip, clique na pasta PVED-CLS 2.00 firmware release package, e clique no ícone (Figura 49).

Clique na pasta Diagnostic data files, e clique no ícone (Figura 50).

Clique no ficheiro APP-_CLS-_S_R200_SEHS----_11153341_..., e clique no ícone (Figura 51).

Na caixa de diálogo , clique no ícone (Figura 52).

Clique no ícone File, e no menu suspenso clique no ícone Install Diagnostic Data . . . (Figura 53).

Na caixa de diálogo de instalação Select Protocol, clique no ícone do protocolo PLUS+1, e prima o ícone (Figura 54).

Clique na pasta PVED-CLS 2.00 firmware release package, e clique no ícone (Figura 55).

Clique na pasta Diagnostic data files, e clique no ícone (Figura 56).

Clique no ficheiro BOOT-_CLS-_M_R385_KWP2000-_1115347_...., e clique no ícone (Figura 57).

Na caixa de diálogo , clique no ícone (Figura 58).

Os químicos são perigosos e podem provocar ferimentos.
Antes de utilizar os químicos, leia as instruções das etiquetas e respeite as recomendações e precauções fornecidas pelo fabricante.
Evite o contacto dos químicos com a pele. Caso ocorra qualquer contacto, lave a zona afetada com sabão e água corrente.
Utilize óculos ou outro equipamento de proteção recomendado pelo fabricante.
Estacione a máquina numa superfície nivelada.
Engate o travão de estacionamento.
Certifique-se de os pneus estão em posição de avanço em linha reta.
Desligue o motor e retire a chave.
Aguarde que todo o movimento pare antes de sair da posição do operador.
Limpe o pulverizador; consulte a secção Limpeza do pulverizador no Manual do utilizador da máquina.
Deixe que os componentes da máquina arrefeçam.
Remova o conector do farol da cablagem da máquina do conector da lâmpada do farol (Figura 59).

Repita o passo 1 no outro farol.
Remova os quatro fixadores de pressão que prendem a flange inferior do capot à máquina (Figura 60).

Remova os dois parafusos de cabeça flangeada (5/16 pol. x ¾ pol.) que prendem a flange inferior à máquina (Figura 60).
Remova os quatro parafusos de cabeça chata Phillips (¼ x 1 pol.) que prendem o capot ao suporte do painel de instrumentos (Figura 61).

Retire os dois fixadores de pressão que prendem o capot ao suporte do painel de instrumentos (Figura 61).
Retire o capot da máquina (Figura 62).
Note: Guarde o capot, os dois parafusos de cabeça flangeada e os quatro parafusos de cabeça chata Phillips.

Se equipada, remova a proteção térmica e o resguardo da parte inferior da máquina; consulte o Manual do utilizador da sua máquina.
Peças necessárias para este passo:
| Tampão | 1 |
Por baixo da placa do piso, remova a porca (¼ pol.), a anilha de bloqueio (¼ pol.), a anilha (⅜ x ⅞ pol.), e o parafuso (¼ x ⅞ pol.) que prendem a braçadeira de apoio dos tubos hidráulicos à placa da embraiagem, e remova a braçadeira (Figura 63).


No lado direito da máquina, remova as porcas de bloqueio flangeadas (5/16 pol.), o parafuso de carroçaria (5/16 x 1 pol.), e o parafuso de carroçaria (5/16 x 1½ pol.) que prendem as 2 braçadeiras de apoio do tubo de retorno da válvula de direção aos suportes do motor, e remova as braçadeiras (Figura 64).


Remova as 2 porcas de bloqueio flangeadas (5/16) que prendem as 2 metades superiores das braçadeiras dos tubos, como se mostra na Figura 65, e remova as metades das braçadeiras.

Desencaixe os tubos do cilindro de direção das uniões de 90° nas portas de extensão e retração do cilindro de direção (Figura 73).

Retire os tubos do cilindro de direção da máquina.
Note: Descarte os tubos do cilindro de direção.
Peças necessárias para este passo:
| Base do coletor | 1 |
| Parafuso de cabeça flangeada (¼ x ⅛ pol.) | 2 |
| Anilha (¼ pol.) | 2 |
| Porca de bloqueio flangeada (¼ pol.) | 2 |
| Cavilha em U (⅜ pol.) | 2 |
| Porca de bloqueio flangeada (⅜ pol.) | 4 |
| Autocolante de modelo/série | 1 |
| Válvula de direção EHI | 1 |
| União hidráulica reta (-6 x 12 mm) | 2 |
| União hidráulica reta (-8 x 22 mm) | 4 |
| União hidráulica reta (-6 x 18 mm) | 4 |
| Parafuso de cabeça flangeada (8 x 16 mm) | 3 |
Alinhe a base do coletor com a parte frontal da máquina, como se mostra na Figura 74.

Alinhe os orifícios da base do coletor com as ranhuras da flange do compartimento de armazenamento (Figura 75).
Note: Certifique-se de que a cablagem não está presa entre a base e o compartimento.

Monte ligeiramente a base do coletor na flange (Figura 75) com 2 parafuso de cabeça flangeada (¼ x ½ pol.), 2 anilhas (¼ pol.) e 2 porcas de bloqueio flangeadas (¼ pol.).
Monte ligeiramente a base do coletor no tubo de suporte do painel de instrumentos (Figura 76) com 2 cavilhas em U (⅜ pol.) e 4 porcas de bloqueio flangeadas (⅜ pol.)

Aperte os parafusos, as cavilhas em U e as porcas de bloqueio.
Retire a parte de trás do autocolante de modelo/série.
Coloque o autocolante na base do coletor, como se mostra na Figura 77.

Monte 2 uniões hidráulicas retas (-6 x 12mm) na válvula de direção EHI (Figura 78) conforme indicado a seguir:
Porta LS1
Porta LS2

Remova os 2 tampões das portas P e T da válvula de direção EHI (Figura 79).

Monte 4 uniões hidráulicas retas (-6 x 22 mm) na válvula (Figura 79) conforme indicado a seguir:
Porta P
Porta T
Porta P (EF)
Porta T (EF)
Monte 4 uniões hidráulicas retas (-6 x 18 mm) na válvula de direção EHI (Figura 80) conforme indicado a seguir:
Porta CR
Porta R
Porta CL
Porta L

Peças necessárias para este passo:
| Olhal | 1 |
Incline o banco do passageiro para a frente para aceder à base da consola (Figura 82).

Alinhe um pedaço de chapa metálica, aproximadamente 120 mm de largura, através da ranhura da barra de apoio na base da consola, entre a base e a cablagem por baixo desta.
Note: A chapa metálica protege a cablagem quando perfurar a base da consola.
Meça 69 mm para trás a partir do orifício quadrado junto da ranhura da barra de apoio na base da consola, e marque a base da consola (Figura 83).

Meça 45 mm para dentro a partir da flange ranhurada da base da consola, e marque a base da consola (Figura 83).
Perfure a base da consola na interseção das marcas.
Faça um furo na base da consola na marca central com uma broca de 32 mm (1¼ pol.) (Figura 83).
Remova o pedaço de chapa metálica, e remova quaisquer rebarbas do furo.
Instale o olhal no orifício (Figura 84).

Peças necessárias para este passo:
| Interruptor de 2 posições | 1 |
| Autocolante de transporte | 1 |
| Cablagem | 1 |
| Braçadeira de cabos | 7 |
| Fusível (10 A) | 1 |
| Interruptor de botão, porca de retenção e anilha de segurança | 1 |
| Autocolante de ativação remota da direção automática | 1 |
Remova o tampão do painel de instrumentos, como se mostra na Figura 85.

Alinhe o interruptor de 2 posições com o ombro do interruptor (Figura 85) alinhado com a parte superior do painel de instrumentos.
Insira o interruptor de 2 posições no orifício do painel de instrumentos (Figura 85).
Coloque o autocolante de transporte por cima do autocolante do painel, como se mostra na Figura 86.




Na parte frontal da máquina, encaminhe os conectores da cablagem (Figura 90) com as identificações seguintes através da parte inferior da placa do piso:

Ligue o conector da cablagem de 12 tomadas identificado com no conector de 12 pinos da válvula de direção EHI (Figura 91).

Ligue o conector da cablagem de 2 tomadas identificado com no conector de 2 pinos do solenóide EHI (Figura 91).
Remova o tampão do conector da cablagem GeoLink de 4 tomadas identificado com (Figura 92).

Ligue o conector de 4 pinos da cablagem do kit identificado com no conector de 4 tomadas identificado com (Figura 92).
Ligue o conector de 8 tomadas da cablagem do kit identificado com (Figura 93) no interruptor de 2 posições que instalou na secção Montagem do interruptor de estrada no painel.

Encaminhe a cablagem para a traseira do kit, ao longo da cablagem da máquina (Figura 94).

Encaminhe a derivação da cablagem com o conector identificado com ao longo da traseira do tubo do eixo frontal (Figura 94).
Na parte inferior, na parte traseira do radiador, encaminhe a cablagem por cima, ao longo da cablagem da máquina (Figura 95).

Ligue o conector de 6 pinos da cablagem do sensor do ângulo no conector de 6 tomadas da cablagem do kit identificado com (Figura 96).

Prenda a cablagem do sensor do ângulo das rodas e a derivação do sensor do ângulo da cablagem do kit ao tubo do eixo com 2 braçadeiras de cabos.
Encaminhe a derivação da cablagem com os terminais identificados com e através da parte superior do radiador, ao longo da cablagem da máquina (Figura 97).


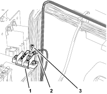
Remova um parafuso do terminal do bloco de ligação à terra (Figura 98).

Monte o terminal de anel da cablagem do kit identificado com ao bloco de ligação à terra com o parafuso terminal (Figura 98).
Ligue o terminal da cablagem do kit identificado com no conector da lâmina para alimentação opcional do bloco de fusíveis (Figura 99).
Note: Se o bloco de fusíveis da sua máquina não tiver um circuito de alimentação opcional, instale o bloco de fusíveis de opções adicionais; consulte o seu distribuidor autorizado da Toro.

Insira o fusível (10 A) na tomada do bloco de fusíveis (Figura 100) para o circuito de alimentação opcional que utilizou no passo 4.

Prenda a derivação da alimentação comutada e ligação à terra da cablagem do kit à cablagem da máquina com 4 braçadeiras de cabos.
Ligue o conector de 2 pinos da cablagem do kit identificada com no conector de 2 tomadas da cablagem GeoLink identificada com (Figura 101).

Remova os 4 parafusos de cabeça flangeada (¼ x ¾ pol.) que prendem o painel lateral da consola central, como se mostra na Figura 102.

Incline o banco para a frente, e remova o parafuso de cabeça flangeada inferior traseiro (Figura 102).
Repita os passos 1 e 2 para o outro lado da consola central.
Remova o parafuso de cabeça flangeada (5/16 x ⅝ pol.) que prendem o painel do braço à estrutura da consola (Figura 103).

Incline o painel do braço da estrutura (Figura 103).
Meça 260 mm a partir da extremidade traseira do painel do braço, e marque o painel (Figura 104).

Meça 35 mm a partir da parte superior do painel do braço, e marque o painel (Figura 104).
Perfure a interseção de ambas as marcas.
Proteja a cablagem do painel do braço.
Faça um furo de 17 mm no painel do braço na marca central (Figura 104).
Retire quaisquer rebarbas do furo.
Encaminhe a derivação da cablagem identificada com REMOTA ENGAGE SWITCH através do olhal (Figura 106) que instalou na secção Perfuração da base da consola.

Encaminhe a derivação da cablagem identificada com REMOTE ENGAGE SWITCH na consola central (Figura 106).
Encaminhe a derivação da cablagem identificada com REMOTE ENGAGE SWITCH na direção do painel do braço (Figura 107).

Monte os terminais da derivação da cablagem identificada com REMOTE ENGAGE SWITCH nos terminais do botão (Figura 108).

Prenda a derivação da cablagem à cablagem da máquina com uma braçadeira de cabos.
Alinhe as patilhas na parte frontal do painel do braço com as ranhuras na estrutura da consola, e rode o painel do braço para baixo (Figura 109).

Prenda o painel do braço à estrutura da consola (Figura 109) com o parafuso de cabeça flangeada (5/16 x ⅝ pol.)
Monte o painel lateral na estrutura da consola (Figura 110) com 4 parafusos de cabeça flangeada (¼ x ⅜ pol.)

Incline o banco para a frente, e instale o parafuso de cabeça flangeada inferior traseiro (Figura 110).
Repita os passos 3 e 4 para o outro lado da consola central.
Coloque o autocolante de engate remoto da direção automática no painel do braço, como se mostra na Figura 111.

Peças necessárias para este passo:
| Anel de retenção O-ring 9,2/1,8 mm | 3 |
| Anel de retenção O-ring 7,6/1,8 mm | 2 |
Remova os 3 anéis de retenção O-ring da face das uniões -6 da válvula de direção (Figura 112).
Note: Descarte o anel de retenção O-ring.

Instale 3 anéis de retenção O-ring 9,2/1,8 mm novos nas ranhuras das uniões -6Figura 112
Remova os 2 anéis de retenção O-ring da face das uniões -4 da válvula de direção (Figura 112).
Note: Descarte o anel de retenção O-ring.
Instale 2 anéis de retenção O-ring 7,6/1,8 mm novos nas ranhuras das uniões -4Figura 112
Peças necessárias para este passo:
| Tubo 6 x 203 mm; uniões -6 (reta) e -6 (45°) | 1 |
| Anel de retenção O-ring 12,4/1,8 mm | 2 |
| Tubo 6 x 2819 mm; uniões -4 (90°) e -6 (90°) | 1 |
| Tubo 6 x 673 mm; uniões -4 (reta) e -6 (90°) | 1 |
| Tubo 6 x 711 mm; uniões -4 (reta) e -6 (90°) | 1 |
| Tubo 10 x 187 mm; uniões -6 (reta) e -8 (90°) | 1 |
| Tubo 10 x 264 mm; uniões -8 (90°) e -6 (45°) | 1 |
| Anel de retenção O-ring 9,2/1,8 mm | 2 |
| Tubo 6 x 1397 mm; uniões -6 (reta) e -6 (90°) | 1 |
| Tubo 6 x 1270 mm; uniões -6 (reta) e -6 (90°) | 1 |
| Tubo 10 x 2921 mm; uniões -8 (90°) e -8 (90°) | 1 |
| Anel de retenção O-ring 7,6/1,8 mm | 1 |
| Braçadeira de cabos | 3 |
Monte a união de 45° do tubo 6 x 203 mm na união da porta LS2 da válvula de direção EHI (Figura 113).

Monte a união reta do tubo 6 x 203 mm na união da porta E da válvula de direção, e aperte ambas as uniões dos tubos (Figura 113).
Encaminhe a extremidade do tubo da bomba hidráulica 6 x 2819 mm com a união -4 de 90° através do olhal na placa do piso (Figura 114).

Monte a união -6 de 90° do tubo 6 x 2819 mm na união da porta LS1 da válvula de direção EHI, e aperte a união do tubo (Figura 114).
Monte a união de 90° do tubo 6 x 673 mm na união da porta R da válvula de direção EHI (Figura 115).

Monte a união reta do tubo 6 x 673 mm na união da porta R da válvula de direção, e aperte ambas as uniões dos tubos (Figura 115).
Monte a união de 90° do tubo 6 x 711 mm na união da porta L da válvula de direção EHI (Figura 116).

Monte a união reta do tubo 6 x 711 mm na união da porta L da válvula de direção, e aperte ambas as uniões dos tubos (Figura 116).
Monte a união de 90° do tubo 10 x 187 mm na união da porta T da válvula de direção EHI (Figura 117).

Monte a união reta do tubo 10 x 187 mm na união da porta T da válvula de direção, e aperte ambas as uniões dos tubos (Figura 117).
Monte a união de 90° do tubo 10 x 264 mm na união da porta P da válvula de direção EHI (Figura 118).

Monte a união de 45° do tubo 10 x 264 mm na união da porta P da válvula de direção, e aperte ambas as uniões dos tubos (Figura 118).
Encaminhe a extremidade do tubo 6 x 1397 mm com a união reta através do olhal na placa do piso (Figura 119).

Monte a união de 90° do tubo 6 x 1397 mm na união da porta CR da válvula de direção EHI (Figura 119).
Remova os 2 anéis de retenção O-ring das faces das uniões de 90° nas portas de extensão e retração do cilindro de direção (Figura 120).
Note: Descarte o anel de retenção O-ring.

Instale 2 anéis de retenção O-ring 9,2/1,8 mm novos nas ranhuras das uniões 90° (Figura 120).
Monte a união reta do tubo 6 x 1397 mm na união de 90° da porta de retração do cilindro de direção, e aperte ambas as uniões dos tubos (Figura 119).
Encaminhe a extremidade do tubo 6 x 1270 mm com a união reta através do olhal na placa do piso (Figura 121).

Monte a união de 90° do tubo 6 x 1270 mm na união da porta CL da válvula de direção EHI (Figura 121).
Monte a união reta do tubo 6 x 1270 mm na união de 90° da porta de extensão do cilindro de direção, e aperte ambas as uniões dos tubos (Figura 121).
Identifique o tubo de retorno do depósito 10 x 2921 com 2 uniões (90°).
Encaminhe a extremidade do tubo de retorno do depósito 10 x 2921 mm através do olhal na placa do piso (Figura 122).

Monte a união de 90° do tubo de retorno do depósito 10 x 2921 mm na união da porta EF da válvula de direção EHI, e aperte a união do tubo (Figura 122).
Identifique o tubo da bomba hidráulica 10 x 2921 com uma união de 90° e uma união de 45°.
Encaminhe a extremidade do tubo da bomba hidráulica 10 x 2921 mm com uma união de 45° através do olhal na placa do piso (Figura 123).

Monte a união de 90° do tubo da bomba hidráulica 10 x 2921 mm na união da porta PT da válvula de direção EHI, e aperte a união do tubo (Figura 123).
Encaminhe os 2 tubos da bomba hidráulica e o tubo do depósito de retorno para trás, ao longo do tubo da estrutura do lado direito da máquina (Figura 124).

Encaminhe o tubo da bomba hidráulica 10 x 2921 mm (porta PT da válvula de direção EHI) com a união de 45° para a ranhura superior da metade da braçadeira de tubos na localização superior (Figura 125).

Encaminhe a união de 45° do tubo na direção da bomba hidráulica.
Encaminhe o tubo da bomba hidráulica 6 x 2819 mm (porta LS1 da válvula de direção EHI) com a união de 90° para a ranhura inferior da metade da braçadeira dos tubos na localização superior (Figura 126).

Encaminhe a união de 90° do tubo na direção da bomba hidráulica.
Monte as 2 metades das braçadeiras dos tubos nos parafusos, e prenda os tubos e as metades das braçadeiras dos tubos (Figura 127) com 2 porcas de bloqueio de cabeça flangeada (5/16 pol.).

Encaminhe o tubo de retorno do depósito 6 x 2819 mm (porta EF da válvula de direção EHI) por cima da parte superior dos suportes de montagem do motor direito (Figura 128).

Monte as 2 braçadeiras em P no tubo, como se mostra na Figura 128.
Alinhe as 2 braçadeiras em P entre as placas de montagem da braçadeira dos tubos e dos suporte de montagem do motor (Figura 128).
Prenda a placa de montagem da braçadeira de tubos e as braçadeiras em P (Figura 128) e (Figura 129) com 2 parafuso de carroçaria (5/16 pol. x 1 pol.) e 2 porcas de bloqueio flangeadas (5/16 pol.).

Remova o anel de retenção O-ring da face da união em T do depósito hidráulico (Figura 130).
Note: Descarte o anel de retenção O-ring.

Instale um anel de retenção O-ring 12,4/1,8 mm novo na ranhura da união em T (Figura 130).
Monte a união de 90° do tubo de retorno do depósito 6 x 2819 mm na união em T, e aperte a união do tubo (Figura 131).

Remova o anel de retenção O-ring da face da união em T na extremidade da bomba hidráulica (Figura 132).
Note: Descarte o anel de retenção O-ring.

Instale um anel de retenção O-ring 12,4/1,8 mm novo na ranhura da união em T (Figura 132).
Monte a união de 45° do tubo 10 x 2921 mm na união em T, e aperte a união do tubo (Figura 133).

Remova o anel de retenção O-ring da face da união reta na extremidade da bomba hidráulica (Figura 134).
Note: Descarte o anel de retenção O-ring.

Instale um anel de retenção O-ring 7,6/1,8 mm novo na ranhura da união reta (Figura 134).
Monte a união de 90° do tubo 6 x 2819 mm na união reta, e aperte a união do tubo (Figura 135).

Por baixo da placa do piso, prenda os tubos e cabos à embraiagem e à placa da embraiagem, como se mostra na Figura 136 com a braçadeira de suporte, o parafuso (¼ x ⅞ pol.), a porca (¼ pol,.) a anilha de bloqueio (¼ pol.) e a anilha (⅜ x ⅞ pol.) removidas na secção Remoção das braçadeiras de suporte dos tubos.


Monte a cobertura dos tubos inferiores por cima dos tubos da direção (Figura 137).

Prenda a cobertura aos tubos utilizando 3 braçadeira de cabos (Figura 137).
Ligue o motor.
Vire o volante totalmente para a esquerda e direita até as rodas virarem facilmente.
Desligue o motor e retire a chave.
Verifique se os tubos e uniões da válvula de direção EHI e a válvula de direção em relação a fugas hidráulicas.
Important: Repare as fugas antes de instalar o capot.
Verifique os tubos e uniões do depósito hidráulico e da bomba hidráulica em relação a fugas.
Important: Repare todas as fugas.
Peças necessárias para este passo:
| Fixadores de pressão | 6 |
Alinhe os orifícios no capot com os orifícios no chassis da máquina (Figura 139).

Monte o capot no suporte do painel com 2 fixadores de pressão (Figura 140).

Prenda o capot ao suporte do painel (Figura 140) com 4 parafusos Parafuso Phillips (¼ x 1 pol.).
Monte a flange inferior do capot na máquina com 4 fixadores de pressão (Figura 141).

Prenda a flange na máquina (Figura 141) com 2 parafusos de cabeça flangeada (5/16 x ¾ pol.).
Monte o conector do farol da cablagem da máquina ao conector da lâmpada do farol (Figura 142).

Repita o passo 6 no outro farol.
Se removido, instale a proteção térmica e o resguardo inferior do chassis na parte inferior da máquina; consulte o Manual do utilizador da sua máquina.
Certifique-se de que a bússola do GeoLink está calibrada, consulte o Manual do utilizador X25 GeoLink da sua máquina.
Equipamento de instalação fornecido: um cabo de interface USB/CAN (cabo Toro DIAG) peça n.º 115-1944
Estacione a máquina na relva, numa superfície plana.
Desligue o motor e engate o travão de estacionamento.
Note: Deve completar os seguintes procedimentos antes de ligar o computador à máquina para calibrar o software:
Instalação do software e dos ficheiros de dados de diagnóstico
Descarregar o software e os ficheiros de dados de diagnóstico
Instalação dos ficheiros de pacotes de atualização de firmware
Se a aplicação Toro Diag estiver a funcionar no computador, feche a aplicação Toro Diag.
Important: Não inicie o processo de calibração se a aplicação Toro Diag estiver a funcionar no computador.
Ligue o cabo de interface USB/CAN na porta USB do computador.
Na máquina, rode a chave para a posição ON.
Na barra de tarefas do Windows, clique no ícone (Figura 143).

Na caixa de texto , escreva e prima a tecla Enter (Figura 143)
Clique no ícone PVED-CLS_2.00_rev_D.P1D (Figura 143).
Note: A aplicação Plus+1 Service Tool surge no seu computador (Figura 144).

Remova a tampa do conector de 3 tomadas da porta CAN da cablagem do kit identificado com DUPLICATE DIAG CONNECTOR, e ligue o cabo de interface USB/CAN do conector de pinos no conector de 3 tomadas (Figura 145).

No painel de instrumentos da máquina, prima o interruptor de ativação/transporte para a posição ENABLE MODE (Figura 146).

No seu computador, clique no ficheiro PVED-CLS_2.00_REV_D.P1D.
No separador System Navigator, navegue até à pasta AUTO CALIBRATION, e clique no ícone + (Figura 147).

Cliquem no ícone WAS CALIBRATION (Figura 147).
Ligue o motor da máquina.
No ecrã WAS CALIBRATION, clique no ícone GOTO WAS CALIBRATION MODE (Figura 147).
Vire o volante totalmente para a esquerda e pare.
Clique no ícone CAPTURE L (Figura 148).
Note: O valor do sensor muda conforme vira o volante.

Vire o volante totalmente para a direita e pare.
Clique no ícone CAPTURE R (Figura 149).
Note: O valor do sensor muda conforme vira o volante.

Vire o volante até os pneus ficarem alinhados em linha reta para a frente e pare.
Clique no ícone CAPTURE N (Figura 150).
Note: O valor do sensor muda conforme vira o volante.

Clique no ícone ACCEPT AND SAVE (Figura 151).

Vire o volante conforme necessário para posicionar os pneus frontais em linha reta.
No seu computador, clique no ícone SPOOL CALIBRATION (Figura 152).

Na página Spool Calibration, clique no ícone GOTO WAS CALIBRATION MODE (Figura 152).
Cliquem no ícone START CALIBRATION (Figura 153).
Note: O Service mode state deve exibir o texto Spool Calibration Armed antes de começar a calibração.
Important: Não toque no volante.
O volante move-se enquanto o processo de calibração do carretel progride. O processo de calibração do carretel demora vários minutos. Note que o Wheel movement status muda no separador Status. A calibração está concluída quando o campo Service Mode State exibir o textoSPOOL PARAMETERS READY TO UPDATE.

Na parte inferior do ecrã de calibração do carretel, clique no ícone ACCEPT AND SAVE (Figura 154).

Desligue o motor.
Remova o conector do cabo da interface USB/CAN do conector da cablagem do kit, e einstale o tampão no conector da cablagem (Figura 155).

Rode a chave para a posição ON.
Inicie a consola de controlo X25, e prima o ícone SETUP.
Prima o ícone SYSTEM, o ícone FEATURES, e o ícone GUIDANCE (Figura 156).

Prima o ícone AUTO STEER
(Figura 156).
Na caixa de diálogo, pressione o ícone ENABLE e prima o ícone de confirmação (Figura 156).
Na caixa de diálogo “a operação exige que o sistema seja reiniciado”, pressione o ícone Confirmar (Figura 156).
A consola de controlo X25 reinicia no modo de utilizador padrão.
No ecrã de configuração, prima o ícone USER e o ícone ACCESS LEVEL (Figura 158).

No ecrã de acesso do utilizador, ícone ACCESS LEVEL (Figura 158).
Na caixa de diálogo, prima o ícone EEXPERT e prima o ícone de confirmação (Figura 158).
Prima o ícone PASSWORD, introduza a palavra-passe do fornecedor com o teclado pop-up e prima o ícone de confirmação (Figura 159).
Note: O nível de acesso do utilizador exibe o fornecedor.

Prima o ícone VEHICLE e prima o ícone STEERING (Figura 160).

Prima o ícone STEERING ENGAGE (Figura 160).
Na caixa de diálogo, prima o ícone VIRTUAL AND EXTERNAL CONSOLE INPUT e prima o ícone de confirmação (Figura 160).
Desloque a máquina para uma zona plana e aberta; sem árvores e edifícios; e onde possa conduzir a máquina em linha reta por 92 m.
Prima o ícone STEERING OPTIONS (Figura 161).
É exibido o menu de opções de direção.

Prima o ícone AUTO STEER CALIBRATION (Figura 161).
É exibido o menu de calibração de direção.
Prima o ícone WHEEL ANGLE SENSOR (Figura 161).
O assistente de calibração do sensor do ângulo das rodas inicia.
Note: Se for exibida a mensagem NOT INITIALIZED na consola de controlo, conduza a máquina durante vários minutos.
No Passo 1 (Step 1), aguarde até a calibração do sensor do ângulo das rodas iniciar, e prima o ícone para avançar para o passo seguinte (Figura 162).

No Passo 2 (Step 2), vire totalmente o volante para a esquerda, pare e prima o ícone para avançar para o passo seguinte (Figura 163).
Important: Verifique se os valores do sensor do ângulo das rodas mudam quando o volante vira.

No Passo 3 (Step 3), vire totalmente o volante para a direita, pare e prima o ícone para avançar para o passo seguinte (Figura 164).

No Passo 4 (Step 4), vire o volante até os pneus ficarem alinhados em linha reta para a frente, e prima o ícone para avançar para o passo seguinte (Figura 164).
No Passo 5 (Step 5), aguarde até a calibração do sensor do ângulo guardar os dados, e prima o ícone para avançar para o passo seguinte Figura 165).

No Passo 6 (Step 6), prima o ícone de confirmação (Figura 165).
Utilize este procedimento para calibrar a posição do recetor da sua máquina. Calibre a tendência cumulativa do recetor do sinal do satélite quando for instalado pela primeira vez ou quando o recetor do sinal do satélite for substituído.
Note: Para esta calibragem, precisa de uma área aberta e plana para conduzir em linha reta por 76 m.
Prima o ícone STEERING OPTIONS (Figura 166).
É exibido o menu de opções de direção.

Prima o ícone STEERING CALIBRATION (Figura 166).
É exibido o menu de calibração de direção.
Prima o ícone MOUNTING BIAS (Figura 167).
Será mostrado o assistente de calibração da tendência cumulativa.
Note: Se o ícone Mouting Bias (tendência cumulativa) indicar NOT REQUIRED, não precisa de calibrar a definição de tendência cumulativa.

Conduza a máquina para uma área aberta, alinhe-a em linha reta e prima o ícone POSITION A icon.
Note: O símbolo do ponto A é exibido na consola de controlo.

Conduza a máquina manualmente para a frente (Figura 169) até 2 km/h em linha reta.
Note: O GeoLink introduz automaticamente o símbolo do ponto B no ecrã quando a máquina percorre 70 m.

A consola de controlo exibe o ecrã seguinte do processo de calibração.
Vire a máquina no sentido contrário, alinhe-a com a posição das linhas guia A e B na consola de controlo (Figura 170).

Conduza a máquina na direção
do ponto B e prima o ícone AUTO STEER
.
Important: Permita que a funcionalidade de direção automática conduza a máquina.
Antes de alcançar o ponto B, defina a velocidade de deslocamento da máquina para 2 km/h, e engate o bloqueio do acelerador da máquina (Figura 170).
Note: A direção automática conduz a máquina entre os pontos B e A (Figura 171).

Pare a máquina.
A consola de controlo exibe o seguinte:
A caixa de diálogo indica que o progresso da calibração está a 100, prima o ícone de confirmação (Figura 172).

Caixas de diálogos com passos adicionais para executar uma passagem de calibração da tendência cumulativa do ponto A ao ponto B.
Note: Se o sistema não indica um progresso de calibragem de 100% após executar a passagem de calibração da tendência cumulativa do ponto A ao ponto B, entre em contacto com a central de assistência técnica da Toro.

Verifique o nível do fluido hidráulico. Se o nível de fluido estiver baixo, adicione fluido ao depósito hidráulico, consulte o Manual do utilizador para consultar o procedimento e as especificações do fluido hidráulico.
