この 電動ホースリール・キットは、芝生に液剤を散布するための専用の補助装置(アタッチメント)であり、そのような業務に従事するプロのオペレータが運転操作することを前提として製造されています。この製品は、集約的で高度な管理を受けている公園やゴルフ場、スポーツフィールド、商用目的で使用される芝生に対して液剤を散布することを主たる目的として製造されております
この説明書を読んで製品の運転方法や整備方法を十分に理解し、他人に迷惑の掛からないまた適切な方法でご使用ください。この製品を適切かつ安全に使用するのはお客様の責任です。
安全上の注意事項、取扱い説明書、アクセサリについての資料、代理店の検索、製品のご登録などについては www.Toro.com へ。
整備について、またToro純正部品についてなど、分からないことはお気軽に弊社代理店またはToroカスタマーサービスにおたずねください。お問い合わせの際には、必ず製品のモデル番号とシリアル番号をお知らせください。図 1 にモデル番号とシリアル番号の表示位置を示します。いまのうちに番号をメモしておきましょう。
Important: シリアル番号デカルについている QR コード(無い場合もあります)をモバイル機器でスキャンすると、製品保証、パーツその他の製品情報にアクセスできます。

Note: この製品は、関連する全ての欧州指令に適合しています。詳細についてはこの冊子の末尾にあるDOI(適合宣誓書)をご覧ください。前後左右は運転位置からみた方向です。
Important: このキットの取り付けには、テフロンテープが必要です。テフロンテープは、フィッティングのねじ山部分に使用します。ねじ山部分の根元からフィッティングの先端部に向かって、水漏れしないようにぴったりと巻きつけてください。
Important: このキットの取り付けには、植物油などのような、非石油系の潤滑剤が必要となります。
不適切な使い方をしたり手入れを怠ったりすると、人身事故につながります。事故を防止するため、以下に示す安全上の注意や安全注意標識
のついている遵守事項は必ずお守りください 「注意」、「警告」、および「危険」
の記号は、人身の安全に関わる注意事項を示しています。これらの注意を怠ると死亡事故などの重大な人身事故が発生することがあります。
車両本体の オペレーターズマニュアル に掲載されている安全についての注意事項もお読みください。
ハンドスプレーヤを人や動物に向けないでください。高圧の液体は皮膚を貫通して重傷を引き起こす恐れがあり、身体部の切断や死亡に至ることもあります。また高温になった液体や薬品はやけどを起こすことがあります。万一、薬液の噴射流に触れた場合は直ちにこの種の事故に詳しい医師の診察を受けてください。
スプレーノズルの前に手などを出さないようにしてください。
作業場を離れる時は機器に水圧が掛かった状態で放置しないでください。
ホースやトリガーロック、ノズルなど部品に少しでも損傷や欠落がある場合は、ハンドスプレーヤを使用しないでください。
ホースやフィッティングなどの部品に少しでも漏れが発生している場合は、ハンドスプレーヤを使用しないでください。
電線の近くで散布作業を行わないでください。
車両を運転しながらハンドスプレーヤで散布作業をしないでください。
ハンドスプレーヤで散布作業をする時には、防護服、ゴーグル、呼吸器、ゴム製のシューズ、防護機能のある手袋を着用してください。
機械の運転は十分な視界の確保ができる適切な天候条件のもとで行ってください。落雷の危険がある時には運転しないでください。
農薬は人体に危険を及ぼす恐れがある。
農薬を使う前に、農薬容器に貼ってあるラベルをよく読み、メーカーの指示を全て守って使用する。
スプレーを皮膚に付けない。万一付着した場合には真水と洗剤で十分に洗い落とす。
作業にあたっては保護ゴーグルなど、メーカーが指定する安全対策を必ず実行する。
液剤タンクを空にする。
液剤タンク内部をすすぎ洗いする;マシンのオペレーターズマニュアルを参照。
平らな場所に駐車し、駐車ブレーキを掛け、液剤ポンプを停止させ、エンジンを停止し、キーを抜き取り、可動部が完全に停止したのを確認して運転席を離れる。
バッテリーのマイナスケーブルを外す。
バッテリーのプラスケーブルを外す。
この作業に必要なパーツ
| ワイヤハーネス | 1 |
| スイッチ | 1 |
| 全天候キャップとナット | 1 |
| 小さい R クランプ | 1 |
| フランジナット(3/8 インチ) | 1 |
| キャリッジボルト | 1 |
| ヒュージブルリンクワイヤーハーネス (108-9455) | 1 |
| リレー(99-7435) | 1 |
| プッシュインファスナー | 1 |
ワイヤハーネスの2つのコネクタに、スイッチの2枚ブレードコネクタを接続する(図 7)。
先ほど取り外したボルトを使用して、コントロールパネルカバーをコンソールアームに固定する。
Note: 以前にディファレンシャルロックロッドを取り外した場合は、ノブをそれに取り付けます。
近くのコネクタを、コントロールアーム前部下側にあるメインワイヤーハーネスのホースリールプラグに接続する。
その隣のコネクタをリレー(図 7)に接続し、リレーを、既存のリレーの近くのフレームの外側の穴に取り付ける。
バッテリーのプラス(+)端子に取り付けられている赤いワイヤに、ヒューズリンクを接続する(図 7)。
ワイヤハーネスのマイナス(-)端をバッテリーのマイナス(-)端子に接続する。
ワイヤーハーネスの遠端をヒューズブロックのアースに接続する(図 7)。

この作業に必要なパーツ
| ホースリール・フレーム | 1 |
| ボルト (5/16 インチ) | 10 |
| フランジナット (5/16 インチ) | 10 |
| スイベルプレート | 1 |
| ホースリール | 1 |
| 大きいキャリッジボルト | 4 |
| フランジナット(⅜") | 4 |
| ハンドル | 1 |
| 泥除けシールド | 1 |
| スプリングクリップ | 1 |
| ロックナット | 2 |
| 小さいキャリッジボルト | 2 |
| 大きいR クランプ | 2 |
| スプレーガン・ブラケット | 1 |
| スペーサ | 2 |
| タップねじ | 2 |
| スラストワッシャ | 1 |
| スナップリング | 1 |
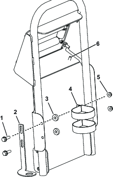
ホースリール・フレームを、機体の側部に取り付ける;ボルト(5/16 インチ)4本と、フランジナット(5/16 インチ)4個を使用して図 8のように取り付ける。

スイベルプレートをホースリールの底部に取り付ける;キャリッジボルト4本とフランジナット(3/8 インチ)4個を使用する(図 9)。

スイベルプレートを、ホースリール・フレームの穴に落とす(図 9)。
Note: 取り付けがしやすいように、スイベルロックを左に動かす。
ホースリールフレームの下側で、スイベルプレートの柱にスラストワッシャとスナップリングを取り付ける(図 10)。

ハンドルを、スイベルプレートに仮止めする;ボルト(5/16 インチ)4本を使用する(図 11)。

泥除けシールドとハンドルを、スイベルプレートに取り付ける;ステップ 5 で取り付けたボルトと、フランジナット(5/16 インチ)4個を使用する(図 11)。
泥除けシールドの上部をハンドルに固定する;タップねじ2本を使用する(図 12)。

スプレーガン・ホルダーを、泥除けシールドに図 12に示すように取り付ける。
ワイヤーハーネスをホースリールに接続する。
Note: 以下、特に記載がない限り、取り外した部品はすべて再使用します。
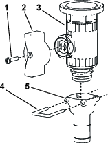
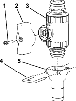
アクチュエータを個別ブームバルブまたは攪拌バルブ用のマニホルドバルブに固定しているリテーナを外す(図 13)。
Note: リテーナの2本の足を寄せながら下へ押すと外れます。
Note: アクチュエータとリテーナは捨てないでください。

マニホルドバルブからアクチュエータを取り外す。
ブームバイパスバルブ・クラスタアセンブリ、エンドキャップ、フィッティング&ホースアセンブリを保持しているリテーナを 図 14.
Important: マシンにGeoLinkがインストールされている場合は、両側のバルブクラスターに対してこれを実行する。
Note: オスのキャップは再使用しませんが、キャップについているOリングは保管してください。

左右ノブの現在の設定をメモして記録しておく。
Important: マシンにGeoLinkがインストールされている場合は、ノブ設定をすべて記録する。
図 15に示すように、ブームバイパスバルブクラスターを180度 回転させる。

左右のノブを以前と同じ位置にセットする。
Important: マシンにGeoLinkが搭載されている場合は、すべてのノブを以前の設定に調整する。
先ほど外したリテーナを使用してブームバルブクラスタを図 16のように取り付ける。

この作業に必要なパーツ
| フランジ型コントロールバルブ | 1 |
| ウイングハンドル | 2 |
| ハンドルネジ (6-32 x 5/8”) | 2 |
| バルブマウント | 2 |
| 90度エルボ | 1 |
| フランジクランプ | 1 |
| ガスケット | 1 |
| フィッティングキャップ(1/2") | 2 |
| ストレートフィッティング | 1 |
| リテーナ | 3 |
| ストレートコントロールバルブ | 2 |
| コントロールバルブブラケット(シリアル番号415399999以前) | 1 |
| フランジヘッドボルト(¼ x ⅝") | 2 |
| ロックナット(¼") | |
| コントロールバルブブラケット(シリアル番号415400000以降) | 1 |
| コントロールバルブブラケット(シリアル番号415400000以降のGeoLink付き) | 1 |
| Tマニホールド | 1 |
| キャリッジボルト(1/4 x 5/8") | 2 |
| ボルト(M6 x 12 mm) | 8 |
| ホースリール給液ホース | 1 |
| ホースクランプ | 1 |
Note: 以下、特に記載がない限り、取り外した部品はすべて再使用します。
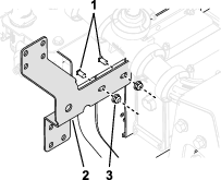
図 17に示すように、フランジヘッドボルト (1/4 x 5/8" 2本を使って、コントロールバルブブラケットをバルブマウントフレームに取り付ける。

図 18に示すように、レッドウィングハンドルをコントロールバルブに取り付ける。

図 19のAに示すように、制御バルブにバルブマウントを組み付ける。

フランジヘッドねじ(#6)を使って、バルブマウントを制御バルブに固定し、ねじを手締めする(図 19のB)。
図 20に示すように、コントロールバルブアセンブリをコントロールバルブブラケットにボルト(M6)4本で取り付ける。

先に取り外したOリングとリテーナーを使って、コントロールバルブ アセンブリをブームバルブに固定する (図 21)。
図 21に示すように、先に取り外したリテーナーを使って、キャップ (1/2")、Oリング、フィッティング、およびホースアセンブリをコントロールバルブに取り付ける。

図 13先に取り外したリテーナを使って、取り外したアクチュエータをマニホールドバルブに取り付ける。
カップラから水圧感知ホースを外す。
図 22に示すように、リテーナを使ってグリーンウィングハンドルとストレート継手をフランジ付きコントロールバルブに取り付ける。

水圧ゲージのポートから、キャップとカップラを取り外す (図 23)。

図 23.に示すように、コントロールバルブアセンブリを垂直に取り付ける。
カプラーを90度フィッティングの開いたポートに取り付ける (図 23)。
Note: キャップは廃棄して構いません。
カップラに水圧感知ホースを接続する。
ホースクランプを使って、タンク給液ホースを水平制御バルブに接続する。
ホースリール給液ホースの開放端をホースクランプでストレート継手に固定する。
ホースリール給液ホースを図 24に示すように配設して、ホースクランプを使ってホースリールに取り付ける。
Note: タンク洗浄すすぎキットが取り付けられている場合には、ホースをすすぎポンプの裏に通してください。

図 13先に取り外したリテーナを使って、取り外したアクチュエータをマニホールドバルブに取り付ける。
図 25に示すように、フランジヘッドボルト (1/4 x 5/8") 2本とロックナット (1/4")を使って、コントロールバルブブラケットをバルブマウントフレームに取り付ける。

レッドウイングハンドルをストレートコントロールバルブに組み付ける。

図 27のAに示すように、バルブ マウントをストレートコントロール バルブに取り付ける。
フランジヘッドねじ(#6)を使って、バルブマウントを制御バルブに固定し、ねじを手締めする(図 27のB)。

図 28に示すように、コントロールバルブアセンブリをコントロールバルブブラケットにネジ(M6)4本で取り付ける。

図 29に示すように、先に取り外したOリングとリテーナーを使って、コントロールバルブ アセンブリをブームバルブに固定する。
図 29に示すように、先に取り外したリテーナーを使って、キャップ (1/2")、Oリング、フィッティング、およびホースアセンブリをコントロールバルブに取り付ける。

フィッティングキャップとカップラをバルブセクションの端に固定しているリテーナーを取り外す(図 30)。
ステップ9で取り外したリテーナーを使って、付属のTマニホールドをバルブセクションの先端に取り付ける。
ステップ9で取り付けたTマニホールドの側面にフィッティング キャップを取り付ける。

図 31に示すように、リテーナを使ってストレート継手をもう一方のストレートコントロールバルブに組み付ける。

ホースリール給液ホースをストレート継手の底部に接続する。
付属のリテーナを使って、コントロールバルブアセンブリをストレート継手でTマニホールドの底部に接続する(図 32)。
図 32に示すように、コントロールバルブアセンブリをコントロールバルブブラケット底部にボルト(M6)4本で取り付ける。

ホースクランプを使って、タンク給液ホースを水平制御バルブに接続する。
ホースリール給液ホースの開放端をホースクランプでストレート継手に固定する。
ホースリール給液ホースを図 33に示すように配設して、ホースクランプを使ってホースリールに取り付ける。
Note: タンク洗浄すすぎキットが取り付けられている場合には、ホースをすすぎポンプの裏に通してください。

図 13先に取り外したリテーナを使って、取り外したアクチュエータをマニホールドバルブに取り付ける。
に示すように、キャリッジボルト (1/4-20 x 5/8") 2本とロックナット (1/4-20")2個を使って、コントロールバルブブラケットをバルブマウントフレームに取り付ける。

フィッティングキャップとカップラをバルブセクションの端に固定しているリテーナーを取り外す(図 35)。
ステップ3で取り外したリテーナーを使って、付属のTマニホールドをバルブセクションの先端に取り付ける。

グリーンウイングハンドルをストレートコントロールバルブに組み付ける図 36。

図 37のAに示すように、バルブ マウントをストレートコントロール バルブに取り付ける。
フランジヘッドねじ(#6)を使って、バルブマウントを制御バルブに固定し、ねじを手締めする(図 37のB)。

ホースリール給液ホースをホースクランプでストレート継手に固定する。
図 38に示すように、リテーナを使って制御バルブ アセンブリをT字継手に固定する。

フランジヘッドボルト (M6 x 12 mm) 4本を使って、バルブマウントをコントロールバルブブラケットに取り付け、ボルトを10~12 N·m (1.1~ 1.3kgm) のトルクで締める。

Aに示すように、バルブ マウントをコントロール バルブに取り付ける。
フランジヘッドネジ (#6) でバルブマウントをコントロールバルブに固定し、Bに示すようにネジを手締めする。

図 41に示すように、制御バルブ アセンブリをクラスターに取り付ける。

図 42に示すように、コントロールバルブアセンブリをコントロールバルブブラケットにネジ(M6)4本で取り付ける。

先に取り外したリテーナーを使って、キャップ (1/2")、Oリング、フィッティング、およびホースアセンブリをコントロールバルブに取り付ける。
ホースをマニホールドの端に固定しているリテーナーを取り外す。

ホースとマシンに遮断弁を取り付ける。それらをリテーナーで固定する。

ホースクランプを使って、タンク給液ホースを水平制御バルブに接続する。
ホースリール給液ホースを図のように取り回し、ホースクランプを使ってホースリールに取り付ける。

Note: タンク洗浄すすぎキットが取り付けられている場合には、ホースをすすぎポンプの裏に通してください。
この作業に必要なパーツ
| 長いホース(フィッティング付) | 1 |
| スプレーガン | 1 |
| プラスチック製ホースクランプ | 1 |
ケーブルタイ2本を使って、ワイヤハーネス給水ホースに固定する。
長いホースのホース継手のネジ山にTeflon®テープを巻き付け、リールの接続チューブに継手を取り付ける (図 46)。

ホース(長)のもう一端をスプレーガンのフィッティングにつなぐ(図 47)。

ホースの端をプラスチック製ホースクランプで固定する。
バッテリーケーブル(プラス)をバッテリーに接続する。
バッテリーケーブル(マイナスケーブル)をバッテリーに接続する。
ホース巻取りボタンを押し、注意深くホースをリールに巻いていく;リールの左右の端から端まで均等に巻きつけること。
手、だぶついた衣服、長髪、アクセサリー類がホース巻取り時にホースやリールに巻き込まれ、ケガをする恐れがある。
巻取り時はリールやホースに手を近づけない。
だぶついた衣服を避け、アクセサリー類を外し、長髪はまとめておく。
高圧の掛かった液体は皮膚を貫通し、身体に重大な損傷を引き起こす。
ノズルから液体が高圧で噴出しているので、絶対に手などを近づけない。
スプレーヤを人や動物に向けない。
圧力を掛ける前に、送液ラインやホースに傷や変形がないか接続部が確実に締まっているかを確認する。
リークの点検には新聞紙やボール紙を使う。
整備などの作業を行う時は、内部の圧力を確実に解放する。
万一オイルが皮下に入ったら直ちに専門医の手当てを受ける。
高温の液体や薬品はやけどを起こしたり人体に悪影響を及ぼす恐れがある。
Important: 作業が終了したら毎回すぐにスプレーヤを洗浄してください。これを怠ると、内部に残留している薬剤が固まってラインの詰まりやポンプの異常の原因となります。
散布システムは 一回使用するごとに 洗浄してください。散布システムの正しい洗浄方法:
すすぎ洗いを3回別々に行う。
それぞれのすすぎ洗いに少なくとも190リットルの水を使用する。
薬剤メーカーが指示をしている場合には、その指示に従ってクリーナや中和剤を使用する。
最後の すすぎ洗いは、純粋な真水(クリーナや中和剤を使用しない)を使って行う。
機械を停止し、ブームを OFF にし、駐車ブレーキを掛ける。
車両を運転しながらハンドスプレーヤを操作するのは非常に危険であり、負傷事故や死亡事故につながる恐れがある。運転中はハンドスプレーヤを操作しないこと。
車両後部にまわり、スプレーガンのトリガーロックがきちんと掛かっていることを確認する。
コントロールバルブのグリーンハンドルを90度回転させる。
運転席に戻ってポンプを ON にする。
マスターブームスイッチを ON 位置にする。
エンジンを希望する速度にセットして、ニュートラル・エンジン速度ロックを ON にする。
Important: 手散布モードでは、150 psi(10.5 kg/cm2)以上の設定にしないでください。
必要な長さのホースをリールから引き出す。
Important: ホースを引き出す時にスプレーガンを引っ張らないでください。必ず直接ホースを持って引き出してください。スプレーガンを引っ張るとガンのフィッティングやホースが破損することがあります。
トリガーのロックを外す。
スプレーガンのノズルを散布したい場所に向け、トリガーを引く。
散布が終わったらトリガーから手を離し、トリガーのロックを掛ける。
ホースリールの巻取りボタンを押し、50 cm~1 mほど残してホースを巻き取る。
Note: ホース巻取りボタンは、スーパーバイザー(管理者専用)キーが「解除」位置にセットされているときにのみ使用可能です。
手、だぶついた衣服、長髪、アクセサリー類がホース巻取り時にホースやリールに巻き込まれ、ケガをする恐れがある。
巻取り時はリールやホースに手を近づけない。
だぶついた衣服を避け、アクセサリー類を外し、長髪はまとめておく。
コントロールバルブのグリーンハンドルを90度回転させる。
液体を噴射しても安全な場所にスプレーガンのノズルを向け、トリガーのロックを外し、トリガーを引いてホースに残った液体を全部出し切る。終わったらトリガーのロックを掛ける。
スプレーガンをリール背面のホルダに戻す。
エンジンをアイドリング速度に戻す。
ポンプを停止させる。
Important: その日の作業が終了したら、忘れずにハンドガンの内部洗浄を行ってください(手順については オペレーターズマニュアル を参照してください)。適切な清掃を行わないと、ガンやホースリールキットの性能が損なわれる恐れがあります。
レートスイッチで希望する水圧(kPa または psi)にセットする。