O kit de vara de pulverização manual é um acessório de veículo de aplicação de rega dedicado que se destina a ser utilizado por operadores profissionais contratados em aplicações comerciais. Foi principalmente concebido para regar a relva em parques, campos de golfe, campos desportivos e relvados comerciais bem mantidos.
Contacte diretamente a Toro através do site www.Toro.com para obter materiais sobre a segurança do produto e formação em operação, informações sobre acessórios, para obter o contacto de um distribuidor ou registar o seu produto.
Certifique-se de que a máquina se encontra vazia de quaisquer fluidos. Se tiverem sido utilizados produtos químicos na máquina, proceda à lavagem integral do sistema com água limpa, escoando depois água; consulte o Manual do utilizador do seu veículo quanto a instruções.
Desligue o terminal negativo da bateria.
Peças necessárias para este passo:
| Gancho do tubo | 1 |
| Porca de bloqueio flangeada (⅜ pol.) | 4 |
| Porca de bloqueio sextavada (5/16 pol.) | 4 |
| Parafuso de carroçaria (⅜ x ¾ pol.) | 4 |
| Parafuso de carroçaria (5/16 x 1 pol.) | 4 |
| Grampo em R | 2 |
| Suporte da pistola de pulverização | 1 |
Peças necessárias para este passo:
| Tampa fêmea | 2 |
| Válvula de bloqueio | 2 |
Retire o fixador que fixa o acionador à válvula do coletor para a válvula de secção ou válvula de agitação.
Note: Junte as duas pernas do fixador enquanto o empurra para baixo.
Note: Guarde o acionador e o fixador.

Retire o acionador da válvula do coletor.
Remova os fixadores que fixam o conjunto de ajuste de purga, o tampão da extremidade e o conjunto de união e tubo como se mostra na Figura 4.
Note: Não irá utilizar o tampão da extremidade, mas guarde o anel de retenção do tampão.

Rode o conjunto de ajuste de derivação 180 graus como se mostra na Figura 5.

Instale o conjunto de ajuste de purga, a tampa fêmea, os anéis de vedação O-ring, a válvula de bloqueio e o conjunto de união e tubo utilizando os fixadores previamente removidos como se mostra na Figura 6.

Retire o tampão da extremidade da extremidade do coletor e substitua-o com uma tampa fêmea. Prenda a tampa com o fixador.

Remova o fixador que prende o tubo à extremidade do coletor.

Instale a válvula de bloqueio e o tubo na máquina. Prenda com os fixadores.

Peças necessárias para este passo:
| Consulte a tabela de peças. | 0 |
| Peça | 5800 | 1750 | Workman | |||||
|---|---|---|---|---|---|---|---|---|
| Qtd. | 2023 e anteriores | 2024 e posteriores sem GeoLink | 2024 e posteriores com GeoLink | 2023 e anteriores | 2024 e posteriores sem GeoLink | 2024 e posteriores com GeoLink | 2023 e anteriores | 2024 e posteriores |
| Válvula de controlo | 1 | 1 | 1 | 1 | 1 | |||
| Válvula de controlo (com tampão da extremidade flangeado) | 1 | 1 | 1 | |||||
| Manípulo de asa da válvula de controlo | 1 | 1 | 1 | 1 | 1 | 1 | 1 | 1 |
| União reta | 1 | 1 | 1 | 1 | 1 | 1 | 1 | 1 |
| Base da válvula | 1 | 1 | 1 | 2 | 2 | 2 | ||
| Suporte da válvula de controlo (2023) | 1 | |||||||
| Suporte da válvula de controlo (com orifício) | 1 | 1 | ||||||
| Suporte da válvula de controlo (sem orifício) | 1 | 1 | 1 | |||||
| Válvula de bloqueio | 1 | 1 | 2 | 1 | 1 | |||
| União de cotovelo de 90 graus | 1 | 1 | ||||||
| União em T | 1 | |||||||
| Coletorem T | 1 | 1 | 1 | 1 | ||||
| Braçadeira de junta | 1 | 1 | 1 | |||||
| Parafuso (M6 x 12 mm) | 4 | 8 | 4 | 8 | 8 | 8 | ||
| Parafuso de carroçaria (¼-20 x ⅝ pol.) | 2 | 2 | ||||||
| Parafuso de cabeça sextavada (¼-20 x ⅝ pol.) | 4 | 2 | 2 | |||||
| Porca de bloqueio (¼ pol.) | 4 | 2 | 2 | 2 | 2 | |||
Monte o manípulo de asa verde e a união reta na válvula de controlo.

Retire a braçadeira flangeada que prende o tampão da extremidade e acoplador na porta do indicador de pressão.

Retire o acoplador do tampão da extremidade.
Instale o conjunto da válvula de controlo.
Instale o acoplador na porta aberta da união de 90 graus.
Note: A porta no lado da união de 90 graus do Multi Pro 1750 e Multi Pro WM encontra-se na parte frontal (não mostrada) da união.
Ligue o tubo de alimentação do cilindro da tubagem à válvula de controlo utilizando uma braçadeira de tubos.
Desligue o conector de 3 tomadas para o transdutor de pressão.

Retire a braçadeira flangeada que prende o transdutor de pressão à união de 90° e retire o transdutor, a junta e a braçadeira flangeada.

Retire a braçadeira flangeada que prende a união de 90° à união de 90° com um conector para o tubo sensor e retire a união de 90°, a junta e a braçadeira flangeada.
Monte a base da válvula na válvula de controlo, conforme se mostra em A de Figura 14.

Prenda a base da válvula à válvula de controlo com o parafuso de cabeça flangeada (N.º 6) e aperte o parafuso à mão (B de Figura 14).
Monte a base da válvula no suporte da válvula de controlo com os 4 parafusos (6 x 12 mm) e as 4 anilhas planas; aperte os parafusos com 10 a 12 N∙m.

Alinhe a flange da união em T com a flange da válvula de controlo.

Prenda sem apertar a união em T à válvula de controlo com uma junta e uma braçadeira flangeada.
Alinhe a flange do transdutor de pressão com a flange da união em T .

Monte o transdutor de pressão na união em T com uma junta e uma braçadeira flangeada e aperte a braçadeira à mão (Figura 17).
Alinhe a flange da união em T com a flange da união de 90° com um conector para o tubo sensor.

Monte, sem apertar totalmente, a união em T e a união de 90° com uma junta e uma braçadeira flangeada.
Note: Rode o suporte da válvula de controlo conforme necessário para o alinhar em contacto com a superfície da base da válvula.
Utilizando o suporte da válvula de controlo como modelo, assinale a localização dos orifícios no suporte na superfície da base do coletor.

Retire a braçadeira, a junta, a união em T com a flange da união de 90° com um conector para o tubo sensor.
Faça a punção das marcas na base do coletor que assinalou no passo 3.
Perfure 4 orifícios de 6 mm na base do coletor nas marcas que fez no passo 5.

Alinhe a flange da união em T com a flange da união de 90° com um conector para o tubo sensor.

Monte, sem apertar totalmente, a união em T e a união de 90° com uma junta e uma braçadeira flangeada.
Monte o suporte da válvula de controlo na base do coletor com 4 parafusos de cabeça sextavada (¼ x ⅝ pol.) e 4 porcas de bloqueio flangeadas (6 mm); aperte os parafusos com 10 a 12 N∙m.
Aperte, com a mão, a braçadeira flangeada que prende a válvula de controlo, a união em T e a braçadeira flangeada que prende a união em T à união de 90°.
Ligue o conector de 3 tomadas ao transdutor de pressão.

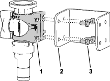
Prenda o conjunto da válvula de controlo ao suporte com 4 parafusos (M6)

Retire as ferragens existente como se mostra na Figura 26.

Prenda o suporte na máquina com as ferragens existentes.

Prenda a parte superior do suporte com 4 parafusos (M6).

Instale o conjunto da união em T do coletor na válvula de controlo.

Prenda o conjunto no suporte com 4 parafusos (M6).

Monte a base da válvula na válvula de bloqueio e prenda-a ao suporte com 4 parafusos (M6).




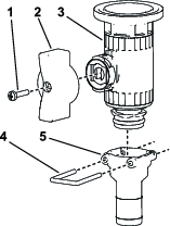
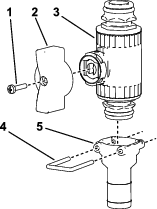
Peças necessárias para este passo:
| Conjunto da pistola de pulverização | 1 |
| União reta estriada | 1 |
| Braçadeira de tubos | 2 |
| Espiga | 1 |
Note: Utilize fita PTFE para vedar os encaixes roscados do tubo pontiagudo.
Prenda a união reta estriada à extremidade aberta do tubo de alimentação do cilindro de tubagem com uma braçadeira de tubos.

Fixe a extremidade do tubo na válvula de controlo com uma braçadeira de tubos.

Enrole o tubo em excesso em redor do gancho no depósito e coloque a pistola de pulverização no suporte.
Ligue o cabo negativo da bateria à bateria.
Calibre o conjunto de ajuste de derivação; consulte o Manual do utilizador da sua máquina.
O fluido hidráulico sob pressão pode penetrar na pele e provocar lesões.
Mantenha o corpo e mãos afastados de bicos que projetem fluido que esteja sob elevada pressão.
Não aponte o pulverizador para pessoas ou animais.
Certifique-se de que todas as tubagens e linhas de fluído se encontram em bom estado de conservação e que todas as ligações e uniões estão bem apertadas antes de colocar o sistema sob pressão.
Utilize um pedaço de cartão ou de papel para localizar fugas.
Liberte, de forma segura, a totalidade da pressão existente no sistema, antes de levar a cabo qualquer intervenção no sistema.
Em caso de penetração do fluido na pele, consulte imediatamente um médico.
Os fluidos a temperatura elevada e os produtos químicos podem provocar queimaduras ou outras lesões.
Important: Em determinadas condições, o calor proveniente do motor, do radiador, e da panela de escape pode provocar danos na relva, ao operar o pulverizador num modo estacionário. Os modos estacionários compreendem a agitação do depósito, a pulverização manual, ou a utilização de uma rampa móvel.
Tome as seguintes precauções:
Evite a pulverização estacionária, se o tempo estiver muito quente e/ou seco, uma vez que a relva pode sofrer uma degradação acentuada em tais condições.
Evite estacionar sobre a relva ao efetuar a pulverização estacionária. Estacione numa via para carros de golfe, sempre que possível.
Minimize o intervalo de tempo durante o qual a máquina fica a operar em qualquer área específica de relva. O decorrer do tempo e a temperatura influenciam o grau de degradação da relva.
Regule o regime do motor para o mínimo possível mas que permita obter a pressão e o fluxo pretendidos. Esta prática minimiza o calor gerado e a velocidade do ar proveniente da ventoinha de arrefecimento.
Deixe escapar o calor do compartimento do motor para cima, levantando a tampa do motor/conjuntos dos bancos no decorrer da operação estacionária, evitando que o calor seja forçado a sair pela parte inferior do veículo. Consulte o Manual de Utilizador para informação adicional quanto ao levantamento dos conjuntos dos bancos.
Note: Utilize um resguardo de calor por baixo do veículo durante a operação estacionária, se pretender uma proteção adicional contra o calor. Contacte um Distribuidor Toro Autorizado para obter um kit de Resguardo de Calor Toro, para pulverizadores de relva.
Desligue a máquina, desligue as rampas e engate o travão de estacionamento.
A condução durante a utilização do pulverizador manual pode dar origem a perda de controlo, resultando em lesões ou mesmo na morte. Não opere o pulverizador manual durante a condução.
Na parte de trás da máquina, certifique-se de que o bloqueio do gatilho da pistola de pulverização está bloqueado.
Rode 90 graus o manípulo verde na válvula de controlo.
Na posição do operador, ligue a bomba.
Coloque a rampa na posição ON (ligar).
Regule o motor para a velocidade desejada e, em seguida, engate o interruptor de bloqueio da velocidade do motor.
Important: Não utilize uma definição de pressão superior a 10,34 bar com o pulverizador manual.
Rode 90 graus o manípulo verde na válvula de controlo.
Direcione a pistola de pulverizar para uma área em que seja seguro pulverizar, liberte o fecho do gatilho, e empurre o gatilho até que o fluído remanescente tenha saído da tubagem, e em seguida aplique o fecho do gatilho.
Coloque novamente a pistola de pulverização no suporte.
Volte a colocar o motor ao ralenti.
Desligue a bomba.
Important: Certifique-se de que lava pistola de pulverização com água limpa durante rotina de limpeza diária (consulte o Manual do utilizador do pulverizador). Caso não limpe adequadamente a pistola de pulverização pode degradar o desempenho e fiabilidade da pistola de pulverização.
Utilize o interruptor de taxa para regular a pressão de pulverização desejada.