តំហែទាំ
Note: កំណត់ផ្នែកខាងឆ្វេង និងផ្នែកខាងស្តាំរបស់គ្រឿងចក្រពីចំណុចបញ្ជាធម្មតា។
ការលៃតម្រូវផ្នែកកាត់
សូមប្រើប្រាស់វិធីការជួសជុលឃ្លុបកាំបិត និងដុំរមូរដូចខាងក្រោម:
ការពិនិត្យមើលកន្លែងបូមខ្លាញ់នៃកាលេម៉ាស៊ីនបូមដុំរមូរ
| ចន្លោះពេលនៃសេវាតំហែទាំ | នីតិវិធីតំហែទាំ |
|---|---|
| ប្រចាំឆ្នាំ |
|
-
ដកគ្រឿងដែកការពារសុវត្ថិភាព ឬដែលភ្ជាប់បង្គំដុំរមូរខ្សែពានទៅនឹងបន្ទះដែកចំហៀង (រូបភាព 13

-
ដោះខ្ចៅចេញពីក្នុងបន្ទះដែកចំហៀង (រូបភាព 13
-
ពិនិត្យមើលខាងក្នុងកាលេម៉ាស៊ីនបូមដុំរមូរ (រូបភាព 14ដើម្បីឲ្យដឹងកម្រិតខ្លាញ់នៅសល់។
បើអ្នកពិនិត្យឃើញថាមានបរិមាណខ្លាញ់មិនគ្រប់គ្រាន់ទេនោះ ត្រូវបន្ថែមខ្លាញ់លើដងស្ពឺញីឈ្មោលថែមទៀត។

-
ត្រូវប្រើវីសប្រហោងក្បាល និងខ្ចៅដែលបានដោះចេញពីមុនដើម្បីភ្ជាប់ការពារសុវត្ថិភាពបង្គំដុំរមូរខ្សែពានទៅនឹងបន្ទះដែកចំហៀង។
-
ដំឡើងផ្នែកកាត់ទៅលើផ្នែកទាញ។ សូមអានផ្នែកទាញនៃ សៀវភៅណែនាំប្រតិបត្តិករសម្រាប់សេចក្ដីណែនាំ។
ការជួសជុលរបារឃ្លុប
មានតែជាងម៉ាស៊ីនដែលបានទទួលការបណ្តុះបណ្តាលត្រឹមត្រូវប៉ុណ្ណោះដែលគួរជួសជុលរបារឃ្លុប និងឃ្លុបកាំបិតដើម្បីការពារការខូចខាតដល់ដុំរមូរ របារឃ្លុប និងឃ្លុបកាំបិត។ ល្អបំផុត ត្រូវយកផ្នែកកាត់ទៅកាន់អ្នកចែកចាយរបស់អ្នកដែលទទួលបានការអនុញ្ញាតត្រឹមត្រូវពីក្រុមហ៊ុនផលិតសម្រាប់ការផ្ដល់សេវាជួសជុលថែទាំ។ សូមអាន សៀវភៅណែនាំអំពីសេវាជូសជុល សម្រាប់ម៉ាស៊ីនកាត់ស្មៅសណ្ដោងបានរបស់អ្នកសម្រាប់សេចក្ដីណែនាំពេញលេញ ឧបករណ៍ពិសេស និងដ្យាក្រាមសម្រាប់ការជួសជុលឃ្លុបកាំបិត។ បើអ្នកត្រូវការរុះរើឬដំឡើងឃ្លុបរបារដោយខ្លួនឯង ការណែនាំត្រូវបានផ្តល់ជូនខាងក្រោមដូចនឹងលម្អិតផ្នែកបច្ចេកទេសសម្រាប់ជួសជុលឃ្លុបកាំបិត។
Important: ត្រូវអនុវត្តតាមនិតិវិធីរបស់ឃ្លុបកាំបិតដែលរៀបរាប់ពិស្ដានៅក្នុង សៀវភៅណែនាំអំពីសេវាជូសជុល របស់អ្នកនៅពេលជួសជុលឃ្លុបកាំបិត។ បរាជ័យក្នុងការដំឡើង និងសំលៀងឃ្លុបកាំបិតឲ្យបានត្រឹមត្រូវអាចនាំឲ្យខូចខាតដល់ដុំរមូរ របារឃ្លុប ឬឃ្លុបកាំបិត។
ការដករបារឃ្លុបចេញ
-
មួលវីសលៃតម្រូវរបារឃ្លុបច្រាសទ្រនិចនាឡិកាដើម្បីដកឃ្លុបកាំបិតចេញពីដុំរមូរ (រូបភាព 15

-
មួលខ្ចៅសម្ពាធរឺស័រចេញរហូតទាល់តែរ៉ងលែងសង្កត់នឹងរបារឃ្លុប (រូបភាព 15)។
-
នៅផ្នែកនីមួយៗរបស់គ្រឿងចក្រ សូមបន្ធូរខ្ចៅដែលភ្ជាប់ប៊ូឡុងរបារឃ្លុប (រូបភាព 16

-
ដកប៊ូឡុងរបារឃ្លុបនីមួយៗ ដើម្បីឲ្យរបារឃ្លុបត្រូវបានទាញចុះក្រោម និងដកចេញពីផ្នែកកាត់ (រូបភាព 16
មានរ៉ងនីឡុងចំនួន 2 និងរ៉ងដែកចំនួន 1 នៅលើចុងនីមួយៗរបស់របារឃ្លុប (រូបភាព 16
កំពុងដំឡើង ឬបំពាក់របារឃ្លុប
-
ដំឡើងរបារឃ្លុប ដែលកំណត់ទីតាំងត្រចៀកចាប់រវាងរ៉ង និងវីសលៃតម្រូវរបារឃ្លុប។ (រូបភាព 17
Important: ទាញឧបករណ៍លៃតម្រូវ DPA មកកណ្ដាលនៅលើត្រចៀករបារឃ្លុបដូចបង្ហាញក្នុង រូបភាព 17។ប្រសិនបើឧបករណ៍លៃតម្រូវ DPA ត្រូវបានដំឡើងទល់នឹងច្រៀករបារឃ្លុប នេះអាចផ្ដល់ផលអវិជ្ជមានដោយប៉ះនឹងដុំរមូរឃ្លុបកាំបិត។

-
រឹតរបារឃ្លុបទៅនឹងបន្ទះចំហៀងនីមួយៗជាមួយប៊ូឡុងរបារឃ្លុប (ខ្ចៅនៅលើប៊ូឡុង) និងរ៉ងចំនួន 3 (សរុប 6)។
-
កំណត់ទីតាំងរ៉ងនីឡុងនៅផ្នែកនីមួយៗរបស់ទ្រនាប់បន្ទះចំហៀង។ ដាក់រ៉ងដែកខាងក្រៅរ៉ងនីឡុងនីមួយៗ (រូបភាព 18)។
-
មួលប៊ូឡុងរបារឃ្លុបពី 27 ទៅ 36 N∙m (240 ទៅ 320 inch-lb)។
-
រឹតបន្តឹងអេគ្រូមួលសម្លាប់រហូតអ្នកដោះចុងទ្រនាប់ចេញពីរ៉ងដែក តែអ្នកអាចមួលវាដោយដៃបាន។ រ៉ងនៅផ្នែកខាងក្នុងប្រហែលជាមានគម្លាត។
Important: កុំរឹតអេគ្រូមួលសម្លាប់ខ្លាំងពេក បើមិនដូច្នោះទេវានឹងធ្វើឲ្យបន្ទះចំហៀងងាកចេញ។
-
រឹតបន្តឹងខ្ចៅសម្ពាធរឺស័ររហូតទាល់តែរឺស័រធ្លាក់ស្រុត បន្ទាប់មកមួលវាចេញកន្លះ (½) ជុំ (រូបភាព 18)។

-
លៃតម្រូវឃ្លុបកាំបិតទៅនឹងដុំរមូរ សូមអាន ការលៃតម្រូវដងកាំបិតទៅដុំរមូរ
ការលៃតម្រូវគម្លាតកាត់
គម្លាតកាត់មានការកំណត់បានតាមសំណុំកំណត់ម៉ាស៊ីនដូចខាងក្រោម:
-
ល្បឿនដុំរមូរគេអាចលៃតម្រូវកម្រិតល្បឿនបានរហូតដល់កំណត់កម្រិតខ្ពស់ ឬទាប សូមមើល សៀវភៅណែនាំអ្នកបញ្ជានៃម៉ាស៊ីនកាត់ស្មៅសណ្ដោងបាន។
-
ចំណុចនៃកង់ប៉ូលីវិលអូសខ្សែពានកង់ប៉ូលីវិលអូសខ្សែពាន (22 ធ្មេញ និង 24 ធ្មេញ) អាចមានការដាក់កំណត់នៅ 2 ចំណុចបាន:
Note: ចំណុចប៉ូលីមានការដាក់កំណត់ឲ្យនៅ ចំណុចទាបពីនាយមក។

ដើម្បីលៃតម្រូវចំណុចប៉ូលីបាន សូមមើលបណ្ដាជំហានដូចខាងក្រោម:
-
ដោះគម្របខ្សែពានចេញ ដើម្បីលាតវា (រូបភាព 20

-
បន្ធូរប៊ូឡុងដៃកង់ខ្សែពាន ហើយបង្វិលដៃកង់ខ្សែពាន (រូបភាព 20ដើម្បីបន្ថយតំណឹងខ្សែពាន។
-
ដកខ្សែពានចេញ (រូបភាព 20
-
បន្ធូរខ្ចៅនៅប៉ូលីនីមួយៗ ដោះប៉ូលីចេញ ហើយប្រើខ្ចៅដើម្បីដំឡើង ឬដាក់ប៉ូលីក្នុងកំណត់រចនាសម្ព័ន្ធដែលអ្នកចង់បាន។

-
មួលរឹតប៊ូឡុងផ្លែកាំបិតក្នុងកម្រិតចាប់ពី 37 ដល់ 45 N∙m (27 ដល់ 33 ft-lb)។
-
ដាក់ និងបន្តឹងខ្សែពានដោយប្រើកម្រិតចាប់ពី 6 ទៅ 7 N∙m (55 ទៅ 60 in-lb) ទៅនឹងដៃកង់រាងឆកោណលើកដាក់ល្បឿនខ្សែពានក្នុងប្រអប់ដែលបង្ហាញនៅក្នុង រូបភាព 20
-
រឹតបន្តឹងប៊ូឡុងដៃកង់ខ្សែពាន និងដាក់គម្របខ្សែពាន។
លម្អិតផ្នែកបច្ចេកទេសរបស់ឃ្លុបកាំបិត
ការដំឡើងឃ្លុបកាំបិត
-
កោសបំបាត់ស្នាមច្រេះ ស្នាមដាច់ និងស្នាមច្រេះចេញពីផ្ទៃរបារឃ្លុប ហើយលាបប្រេងមួយស្រទាប់ស្ដើងទៅផ្ទៃរបារឃ្លុប។
-
សម្អាតក្រឡាវីស។
-
លាបសមាសធាតុការពារការស្អិតជាប់ទៅវីស ហើយដំឡើងឃ្លុបកាំបិតទៅរបារឃ្លុប។

-
មួលវីសខាងក្រៅចំនួន 2 ទៅ 1 N∙m (10 in-lb)។
-
ការធ្វើការបង្កើតចំណុចកណ្ដាលនៃឃ្លុបកាំបិត មួលវីសពី 23 ទៅ 28 N∙m (200 to 250 in-lb)។

-
សំលៀងឃ្លុបកាំបិត។
លម្អិតផ្នែកបច្ចេកទេសសំលៀងឃ្លុបកាំបិត

| មុំសុវត្ថិភាពឃ្លុបកាំបិត (ផ្នែកខាងលើ) | សូមមើល តារាងម្ពស់មុខកាត់ និងផ្នែកឃ្លុបកាំបិត។ |
| ជួរមុំខាងមុខ | 13° ដល់ 17° |
| មុំខាងមុខឃ្លុបកាំបិតប្រើនៅវាលស្មៅ | 10° |
ការពិនិត្យមុំសំលៀងផ្នែកខាងលើ
មុំដែលអ្នកប្រើក្នុងការសំលៀងឃ្លុបកាំបិតរបស់អ្នកគឺពិតជាសំខាន់ណាស់។
ប្រើឧបករណ៍បង្ហាញមុំ (គ្រឿងបន្លាស់ Toro លេខ 131-6828) និងទម្រឧបករណ៍បង្ហាញមុំ (គ្រឿងបន្លាស់ Toro លេខ 131-6829) ដើម្បីពិនិត្យមុំដែលប្រដាប់សំលៀងរបស់អ្នកបង្កើត ហើយបន្ទាប់មកលៃតម្រូវចំពោះភាពមិនត្រឹមត្រូវណាមួយរបស់ប្រដាប់សំលៀង។
-
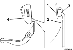
ដាក់ឧបករណ៍បង្ហាញមុំនៅលើផ្នែកខាងក្រោមនៃឃ្លុបកាំបិតដូចបានបង្ហាញក្នុង រូបភាព 25។

-
ប៉ះប៊ូតុង Alt Zero នៅលើឧបករណ៍បង្ហាញមុំ។
-
ដាក់ទម្រឧបករណ៍បង្ហាញមុំនៅលើជាយរបស់ឃ្លុបកាំបិត ដើម្បីឲ្យជាយមេដែកពាក់ជាប់ជាយរបស់ឃ្លុបកាំបិត(រូបភាព 26)។
Note: បន្ទះបង្ហាញឌីជីថលគួរតែអាចមើលឃើញពីផ្នែកដូចគ្នាអំឡុងជំហាននេះ ដូចដែលវានៅក្នុងជំហាន 1។

-
ដាក់ឧបករណ៍បង្ហាញមុំនៅលើទម្រដូចបានបង្ហាញនៅក្នុង រូបភាព 26។
Note: នេះជាមុំដែលប្រដាប់សំលៀងរបស់អ្នកបង្កើតឡើង ហើយគួរតែស្ថិតក្នុងមុំ 2 ដឺក្រេ នៃមុំសំលៀងផ្នែកខាងលើដែលបានណែនាំ។
លក្ខណៈបច្ចេកទេសរបស់ដុំរមូរ
ការរៀបចំដុំរមូរសម្រាប់សំលៀង
-
ត្រូវប្រាកដថាសមាសធាតុផ្នែកកាត់ទាំងអស់មានលក្ខណៈល្អ ហើយកែតម្រូវបញ្ហាណាមួយមុនពេលសំលៀង។
-
អនុវត្តតាមការណែនាំរបស់ក្រុមហ៊ុនផលិតប្រដាប់សំលៀងដុំរមូរដើម្បីសំលៀងដុំរមូរផ្លែកាត់តាមលម្អិតផ្នែកបច្ចេកទេសដូចខាងក្រោម។
លម្អិតផ្នែកបច្ចេកទេសសំលៀងដុំរមូរ អង្កត់ផ្ចិតដុំរមូរថ្មី 128.5 មម (5.06 អ៊ិញ) ដែនកំណត់សេវាកម្មអង្កត់ផ្ចិតដុំរមូរ 114.3 មម (4.50 អ៊ិញ) មុំសុវត្ថិភាពស្លាបចក្រ 30° ± 5° ទទឹងដីស្លាបចក្រចន្លោះ 0.8 ដល់ 1.2 mm (0.03 ដល់ 0.05 អ៊ិញ) ដែនកំណត់សេវាកម្មកង់រង្វិលអង្កត់ផ្ចិតដុំរមូរ 0.25 មម (0.010 អ៊ិញ)
ការសង្កត់សង្គ្រោះដុំរមូរ
ដុំរមូរថ្មីមានប្រវែងទទឹងដីពី 0.8 ទៅ 1.2 មម (0.03 ដល់ 0.05 អ៊ិញ) និងការសង្កត់ដោះដុំរមូរមុំ 30°។
នៅពេលដែលទទឹងដីមានទំហំធំជាង 3 មម អនុវត្តដូចខាងក្រោម៖
-
អនុវត្តការសង្កត់ដោះមុំ 30° នៅលើផ្លែកាំបិតរបស់ដុំរមូរទាំងអស់រហូតដល់ទទឹងដីមានទំហំ 0.8 mm (0.03 អ៊ិញ)។

-
សង្កត់បង្វិលដុំរមូរដើម្បីសម្រេចបាន <0.025 មម អស់ដុំរមូរ។
Note: នេះបណ្តាលឲ្យទទឹងដីកើនឡើងបន្តិចបន្តួច។
-
លៃតម្រូវផ្នែកកាត់ សូមអាន សៀវភៅណែនាំប្រតិបត្តិករផ្នែកកាត់របស់អ្នក។
Note: ដើម្បីពង្រីកភាពជាប់បានយូរនៃគែមនៃដុំរមូរ និងឃ្លុប កាំបិត—បន្ទាប់ពីបានសំលៀងដុំរមូរ និងឃ្លុបកាំបិត—សូមពិនិត្យមើលទំនាក់ទំនងរវាងដុំរមូរ និងឃ្លុបកំបិតម្តងទៀត បន្ទាប់ពីបានកាត់ 2 វាលស្មៅហើយ ដោយសារគែមដែលគ្រោមនោះនឹងត្រូវដកចេញ ដែលបង្កើតឲ្យមានការសម្អាតមិនត្រឹមត្រូវពីដុំរមូរ ទៅឃ្លុបកាំបិត ដូច្នេះហើយធ្វើឲ្យវាឆាប់រេចរិល។ ស្នាមប្រេះអាចនឹងបង្កើតឲ្យមានការសម្អាតមិនត្រឹមត្រូវពីដុំរមូរ ទៅឃ្លុបកាំបិតដែលអាចធ្វើឲ្យកាន់តែឆាប់សឹក។
ការសំលៀងផ្លែកាំបិតដោយម្សៅថ្មសំលៀងនៃផ្នែកកាត់
ដើម្បីសំលៀងផ្នែកាត់បាន ត្រូវប្រើឈុតប្រដាប់សំលៀងបាន (ម៉ូដែលលេខ 139-4342) សូមមើលការណែនាំប្រាប់អំពីដំណើរការបញ្ជានៅក្នុង ការណែនាំប្រាប់អំពីការដំឡើង ឬការបំពាក់ឈុតប្រដាប់សំលៀង។ ទាក់ទងអ្នកចែកចាយរបស់ក្រុមហ៊ុនផលិតពេញសិទ្ធិរបស់អ្នកដើម្បីទទួលបានឈុតនេះ។


ដែលមានន័យថា ប្រុងប្រយ័ត្ន
ព្រមាន ឬគ្រោះថ្នាក់—សេចក្ដីណែនាំអំពីសុវត្ថិភាពផ្ទាល់ខ្លួន។
ការខកខានក្នុងការគោរពតាមការណែនាំទាំងនេះអាចបណ្ដាលឲ្យរងរបួសដល់រាងកាយ
ឬការស្លាប់។











