| Intervalo de mantenimiento y servicio | Procedimiento de mantenimiento |
|---|---|
| Después de cada uso |
|
Esta segadora manual de cuchillas rotativas está diseñada para que la utilicen operadores profesionales contratados. Está diseñada principalmente para segar césped bien mantenido en zonas verdes residenciales o comerciales. Se ha diseñado para utilizarse con las baterías de iones de litio Flex-Force Power System® 60 V Estas baterías se han diseñado para cargarse únicamente con cargadores de baterías de iones de litio Flex-Force™ 60 V. El uso de estos productos para propósitos diferentes a los previstos puede ser peligroso para usted y para otras personas.
Lea este manual detenidamente para aprender a utilizar y mantener correctamente su producto, así como para evitar lesiones y daños al producto. Usted es el responsable de operar el producto de forma correcta y segura.
Visite www.Toro.com para obtener más información, incluidos consejos de seguridad, materiales de formación, información sobre accesorios, ayuda para encontrar a un distribuidor o para registrar su producto.
Cuando necesite asistencia técnica, piezas genuinas Toro o información adicional, póngase en contacto con un distribuidor Toro autorizado o con el servicio de Asistencia al Cliente Toro, y tenga a mano los números de modelo y serie de su producto. Figura 1 identifica la ubicación en el producto de los números de modelo y de serie. Escriba los números en el espacio provisto.

Anote a continuación los números de modelo y de serie de su producto:
El símbolo de alerta de seguridad (Figura 2) aparece tanto en este manual como en la máquina para identificar mensajes de seguridad importantes que deben seguirse con el fin de evitar accidentes.

El símbolo de alerta de seguridad aparece encima de información que le avisa de situaciones o acciones no seguras e irá seguido del término PELIGRO, ADVERTENCIA, o PRECAUCIÓN.
PELIGRO indica una situación peligrosa inminente que, si no se evita, provocará la muerte o lesiones graves.
ADVERTENCIA indica una situación potencialmente peligrosa que, si no se evita, podría producir la muerte o lesiones graves.
PRECAUCIÓN indica una situación potencialmente peligrosa que, si no se evita, puede producir lesiones menores o moderadas.
Este manual utiliza dos palabras más para resaltar información. Importante llama la atención sobre información mecánica especial, y Nota resalta información general que merece una atención especial.
No manipule ni desactive los dispositivos de seguridad de la máquina, y compruebe su funcionamiento regularmente. No intente ajustar ni manipular el control de velocidad del motor; si lo hace, puede crear condiciones inseguras que pueden provocar lesiones personales.
Este producto cumple todas las directivas europeas aplicables; si desea más detalles, consulte la Declaración de Conformidad (Declaration of Conformity – DOC) de cada producto.
CALIFORNIA
Advertencia de la Propuesta 65
El cable eléctrico de este producto contiene plomo, que el Estado de California sabe que causa defectos congénitos u otros peligros para la reproducción. Lávese las manos después de manejar el material.
El uso de este producto puede provocar la exposición a sustancias químicas que el Estado de California considera causantes de cáncer, defectos congénitos u otros trastornos del sistema reproductor.
Lea todas las advertencias de seguridad, instrucciones, ilustraciones y especificaciones proporcionadas con esta herramienta eléctrica. En caso de no seguir todas las instrucciones indicadas a continuación, se pueden producir descargas eléctricas, incendios y/o lesiones graves.
Guarde todas las advertencias e instrucciones para poder consultarlas en el futuro.
El término “herramienta eléctrica” que aparece en las advertencias se refiere siempre a una herramienta accionada por el suministro eléctrico de la red (con cable) o una herramienta eléctrica accionada por batería (inalámbrica).
Seguridad de la zona de trabajo
Mantenga la zona de trabajo limpia y bien iluminada. Las zonas desordenadas u oscuras son proclives a accidentes.
No utilice herramientas eléctricas en atmósferas explosivas como, por ejemplo, en presencia de líquidos inflamables, gases o polvo. Las herramientas eléctricas generan chispas que pueden inflamar el polvo o los vapores.
Mantenga alejados a los niños y a otras personas mientras utiliza una herramienta eléctrica. Las distracciones pueden hacer que pierda el control.
Seguridad eléctrica
El enchufe de la herramienta eléctrica debe ser del tipo correcto para la toma de corriente. No modifique nunca el enchufe de ningún modo. No utilice enchufes adaptadores con una herramienta eléctrica con toma de tierra. Los enchufes sin modificar y las tomas correspondientes reducirán el riesgo de descarga eléctrica.
Evite el contacto del cuerpo con superficies conectadas a tierra, como conductos, radiadores, cocinas y frigoríficos. Hay un mayor riesgo de descarga eléctrica si el cuerpo está conectado a tierra.
No exponga las herramientas eléctricas a la lluvia o a condiciones húmedas. Si entra agua en una herramienta eléctrica, el riesgo de descarga eléctrica aumentará.
No maltrate el cable. No utilice el cable nunca para transportar, arrastrar o desenchufar la herramienta eléctrica. Mantenga el cable alejado del calor, de aceite, de bordes cortantes y de piezas móviles. Los cables dañados o enredados aumentan el riesgo de descarga eléctrica.
Si utiliza la herramienta eléctrica en el exterior, utilice un cable alargador adecuado para el uso en exteriores. El uso de un cable apto para exteriores reduce el riesgo de descarga eléctrica.
Si no es posible evitar el uso de la herramienta eléctrica en un lugar húmedo, utilice un suministro eléctrico protegido por un dispositivo de corriente residual (interruptor diferencial). El uso de un dispositivo de corriente residual reduce el riesgo de descarga eléctrica.
Seguridad personal
Manténgase alerta, esté atento a lo que está haciendo y aplique el sentido común mientras utiliza una herramienta eléctrica. No utilice una herramienta eléctrica si está cansado o bajo el efecto de drogas, alcohol o medicamentos. Una breve falta de atención mientras utiliza herramientas eléctricas podría provocar lesiones personales graves.
Utilice equipos de protección personal. Lleve siempre protección ocular. El uso de equipos de protección personal como mascarillas, calzado de seguridad antideslizante, casco o protección auditiva en condiciones apropiadas, reducirá el riesgo de sufrir lesiones personales.
Evite el arranque no intencionado de la máquina. Asegúrese de que el interruptor esté en la posición de apagado antes de conectar la herramienta a la toma de corriente y/o a la batería y antes de levantar o transportar la herramienta. Transportar las herramientas eléctricas con el dedo en el interruptor o enchufar herramientas con el interruptor activado aumenta el riesgo de sufrir accidentes.
Retire cualquier llave de ajuste antes de encender la herramienta eléctrica. Si se deja una llave insertada en una parte rotativa de la herramienta eléctrica puede dar lugar a lesiones personales.
No se estire demasiado. Pise firme y mantenga el equilibrio en todo momento. Esto permite tener un mayor control de la herramienta eléctrica en situaciones imprevistas.
Lleve ropa adecuada. No lleve prendas o joyas sueltas. Mantenga el pelo y la ropa alejados de las piezas móviles. La ropa suelta, las joyas o el pelo largo pueden quedar atrapados en las piezas móviles.
Si existen dispositivos para la conexión de sistemas de recogida y extracción de polvo, asegúrese de conectarlos y usarlos correctamente. El uso de sistemas de extracción de polvo puede reducir los peligros relacionados con el polvo.
No deje que la familiaridad adquirida con el uso frecuente de las herramientas le haga confiarse demasiado y pasar por alto los principios de seguridad de las herramientas. Un descuido puede producir lesiones graves en una fracción de segundo.
Uso y cuidado de las herramientas eléctricas
No fuerce la herramienta eléctrica. Utilice la herramienta eléctrica adecuada para el trabajo que debe realizarse. La herramienta eléctrica correcta realizará el trabajo mejor y con mayor seguridad a la velocidad para la que se ha diseñado.
No utilice la herramienta eléctrica si con el interruptor no se enciende ni se apaga. Cualquier herramienta eléctrica que no pueda controlarse con el interruptor es peligrosa y debe repararse.
Desconecte el enchufe del suministro eléctrico y/o extraiga la batería de la herramienta eléctrica, si es extraíble, antes de realizar cualquier ajuste, cambiar de accesorio o guardar herramientas eléctricas. Estas medidas de seguridad preventivas reducen el riesgo de un arranque accidental de la herramienta eléctrica.
Si no las está usando, guarde las herramientas eléctricas fuera del alcance de los niños y no permita que las utilicen personas no familiarizadas con ellas o con estas instrucciones de uso. Las herramientas eléctricas son peligrosas en manos de usuarios inexpertos.
Mantenga debidamente las herramientas eléctricas y los accesorios. Compruebe que las piezas móviles estén correctamente alineadas y que se mueven libremente sin agarrotarse, que no haya piezas rotas y que no existan otras circunstancias que puedan afectar al uso de la herramienta eléctrica. Si existen daños, haga reparar la herramienta eléctrica antes de usarla. Muchos accidentes se producen por herramientas eléctricas con un mantenimiento deficiente.
Mantenga las herramientas de corte afiladas y limpias. Las herramientas de corte mantenidas debidamente con bordes afilados tienen menos posibilidades de agarrotarse y son más fáciles de controlar.
Utilice la herramienta eléctrica, los accesorios, las brocas, etc., según lo indicado en estas instrucciones, teniendo en cuenta las condiciones de trabajo y la tarea que deba realizarse. El uso de la herramienta eléctrica para operaciones diferentes de las previstas podría dar lugar a una situación de peligro.
Mantenga los manillares y las superficies de agarre secos, limpios y libres de aceite y grasa. Un manillar o una superficie de agarre resbaladiza no permite manejar y controlar la máquina con seguridad en situaciones imprevistas.
Uso y cuidado de las herramientas con batería
Recargue la batería únicamente con el cargador especificado por el fabricante. Un cargador diseñado para un tipo de batería puede suponer un riesgo de incendio si se utiliza con otra batería.
Utilice herramientas eléctricas únicamente con las baterías específicas indicadas. El uso de otras baterías puede crear un riesgo de incendio y lesiones.
Cuando la batería no esté en uso, manténgala alejada de otros objetos metálicos como, por ejemplo, clips, monedas, llaves, clavos, tornillos u otros objetos metálicos pequeños que podrían hacer una conexión entre un terminal y otro. Un cortocircuito entre los terminales de la batería puede causar quemaduras o un incendio.
En condiciones abusivas, la batería puede expulsar líquido; evite el contacto con el mismo. En caso de un contacto accidental, lave la zona con abundante agua. Si el líquido entra en contacto con los ojos, busque también ayuda médica. El líquido expulsado de la batería puede causar irritación o quemaduras.
No utilice una batería o una herramienta dañada o modificada. Las baterías dañadas o modificadas podrían mostrar un comportamiento impredecible que puede provocar incendio, explosión o riesgo de lesiones.
No exponga una batería o una herramienta al fuego o a temperaturas excesivas. La exposición al fuego o a temperaturas superiores a los 130 °C puede causar una explosión.
Siga todas las instrucciones de carga y no cargue la batería o la herramienta si la temperatura está fuera del intervalo especificado en las instrucciones. Cargar la batería o la herramienta de forma incorrecta o a temperaturas que estén fuera del intervalo especificado puede dañar la batería y aumentar el riesgo de incendio.
Mantenimiento
El mantenimiento y las reparaciones de la herramienta eléctrica debe realizarlos un técnico de reparaciones debidamente cualificado y utilizando únicamente piezas de repuesto idénticas. Solo de esta manera se garantiza el mantenimiento de la seguridad de la herramienta eléctrica.
No repare nunca baterías dañadas. El mantenimiento de las baterías solo debe realizarlo el fabricante o un servicio técnico autorizado.
No utilice la segadora con lluvia o en condiciones húmedas. Esto puede aumentar el riesgo de descarga eléctrica.
No utilice la segadora en condiciones meteorológicas adversas, especialmente si hay riesgo de rayos. Esto reduce el riesgo de que le alcance un rayo.
Inspeccione detenidamente el área en la que va a utilizar la segadora por si hay fauna en dicha zona. El uso de la segadora puede lesionar a la fauna existente.
Inspeccione detenidamente la zona en la que va a utilizar la segadora y retire cualquier piedra, palo, alambre, huesos u otros objetos extraños. Los objetos arrojados pueden producir lesiones personales.
Antes de usar la segadora, inspeccione siempre visualmente que la cuchilla y el conjunto de cuchillas no estén desgastados o dañados. Las piezas desgastadas o dañadas aumentan el riesgo de sufrir lesiones.
Inspeccione con frecuencia el recogedor de hierba por si existe desgaste o deterioro. Un recogedor de hierba desgastado o dañado puede aumentar el riesgo de sufrir lesiones personales.
Mantenga colocados los protectores. Los protectores deben estar en buen estado de funcionamiento y estar montados correctamente. Un protector suelto, dañado o que no funcione correctamente puede producir lesiones personales.
Mantenga todas las entradas de aire de refrigeración libres de residuos. Las entradas de aire bloqueadas y los residuos pueden producir un sobrecalentamiento o suponer riesgo de incendio.
Mientras utilice la segadora, lleve siempre calzado de protección antideslizante. No haga funcionar la segadora estando descalzo, o llevando sandalias. Así reduce la posibilidad de sufrir lesiones en los pies por el contacto con la cuchilla en movimiento.
Al utilizar la segadora, lleve siempre pantalones largos. La piel expuesta aumenta la posibilidad de sufrir lesiones por objetos arrojados.
No utilice la segadora en hierba húmeda. Camine, nunca corra. Así reduce el riesgo de tropezar y caer, lo que puede producir lesiones personales.
No utilice la segadora en pendientes excesivamente pronunciadas. Así reduce el riesgo perder el control, tropezar y caer, lo que puede producir lesiones personales.
Al trabajar en pendientes, asegúrese siempre de pisar debidamente, trabaje siempre de lado a lado, nunca de arriba a abajo, y extreme la precaución al cambiar de dirección. Así reduce el riesgo perder el control, tropezar y caer, lo que puede producir lesiones personales.
Extreme las precauciones al ir hacia atrás o tirar de la segadora hacia usted. Esté siempre atento a su entorno. Esto reduce el riesgo de tropiezos durante el funcionamiento.
No toque las cuchillas ni otras piezas peligrosas mientras estén en movimiento. Así se reduce el riesgo de sufrir lesiones por piezas móviles.
Antes de eliminar material atascado o limpiar la segadora, asegúrese de que todos los interruptores de corriente estén desconectados y de que la batería se haya desconectado. El funcionamiento inesperado de la segadora puede provocar lesiones personales graves.
Formación
El operador de la máquina es responsable de cualquier accidente o peligro que afecte a otras personas o a su propiedad.
No deje que los niños utilicen o jueguen con la máquina, la batería o el cargador de la batería; la normativa local puede restringir la edad del operador.
No permita que personas con capacidad física, sensorial o mental reducida, o sin experiencia y conocimientos, utilicen la máquina, la batería o el cargador de la batería a menos que reciban instrucciones o supervisión sobre su uso seguro y comprendan los peligros que conlleva su uso.
Antes de utilizar la batería y el cargador de la batería, lea todas las instrucciones y símbolos de advertencia de estos productos.
Preparación
Sustituya cualquier pegatina que esté dañada o ilegible.
Utilice únicamente la batería especificada por Toro. El uso de otros accesorios puede aumentar el riesgo de incendio y lesiones.
Si se enchufa el cargador de batería en una toma que no sea del voltaje adecuado, puede producirse un incendio o una descarga eléctrica. En el caso de un estilo diferente de conexión, utilice un adaptador de enchufe del tipo correcto, si es necesario.
No utilice la batería o el cargador de la batería si están dañados o modificados, porque podrían mostrar un comportamiento impredecible con resultado de incendio, explosión o riesgo de lesiones.
Si el cable de alimentación del cargador de la batería está dañado, póngase en contacto con un Servicio Técnico Autorizado para cambiarlo.
No utilice baterías no recargables.
Cargue la batería únicamente con el cargador de batería especificado por Toro. Un cargador diseñado para un tipo determinado de batería puede crear un riesgo de incendio si se utiliza con otra batería.
Cargue la batería únicamente en una zona bien ventilada.
No exponga la batería o el cargador al fuego o a temperaturas superiores a 68 °C.
Siga todas las instrucciones de carga y no cargue la batería si la temperatura está fuera del intervalo especificado en las instrucciones. De lo contrario, podría dañar la batería y aumentar el riesgo de incendio.
Funcionamiento
No se acerque a los orificios de descarga.
Desengrane la transmisión autopropulsada (si está instalada) antes de arrancar la máquina.
Evite el arranque accidental – asegúrese de que el botón de arranque eléctrico se retira del encendido antes de conectar la batería y manejar la máquina.
Detenga la máquina, retire el botón de arranque eléctrico, retire la batería de la máquina y espere a que se detenga todo movimiento antes de revisar o de limpiar la máquina.
Retire la batería y el botón de arranque eléctrico de la máquina antes de dejarla desatendida o antes de cambiar de accesorio.
No dirija el material de descarga hacia una persona. Evite la descarga de material contra una pared u obstrucción, ya que el material podría rebotar hacia usted. Pare la cuchilla o las cuchillas al cruzar superficies de grava.
Esté alerta a agujeros, surcos, montículos, rocas u otros objetos ocultos. El terreno irregular podría hacer que pierda el equilibrio.
Si la máquina golpea un objeto o empieza a vibrar, apague inmediatamente la máquina, retire el botón de arranque eléctrico, retire la batería y espere a que se detenga todo movimiento antes de examinar la máquina en busca de daños. Haga todas las reparaciones necesarias antes de volver a utilizar la máquina.
Pare la máquina y retire el botón de arranque eléctrico antes de cargar la máquina para el transporte.
En condiciones abusivas, la batería puede expulsar líquido; evite el contacto. En caso de un contacto accidental con el líquido, enjuague con agua. Si el líquido entra en contacto con sus ojos, busque ayuda médica. El líquido expulsado de la batería puede causar irritación o quemaduras.
Mantenimiento y almacenamiento
Detenga la máquina, retire el botón de arranque eléctrico, retire la batería de la máquina y espere a que se detenga todo movimiento antes de revisar o de limpiar la máquina.
No intente reparar la máquina, salvo con arreglo a lo indicado en las instrucciones. Haga que un Servicio Técnico Autorizado realice el mantenimiento de la máquina usando piezas de repuesto idénticas.
Afile una cuchilla roma en ambos lados para mantener el equilibrio. Limpie la cuchilla y asegúrese de que está equilibrada.
Al realizar el mantenimiento de la cuchilla, sepa que la cuchilla puede moverse incluso si la fuente de alimentación está apagada.
Para obtener el mejor rendimiento, utilice solamente piezas y accesorios genuinos de Toro. Otros accesorios y piezas de repuesto podrían ser peligrosos, y dicho uso podría invalidar la garantía del producto.
Mantenga la máquina correctamente – mantenga los filos de corte afilados y limpios para obtener el mejor rendimiento y la mayor seguridad. Mantenga los manillares secos, limpios y libres de aceite y grasa. Mantenga los protectores colocados y en buen estado de funcionamiento. Mantenga las cuchillas afiladas. Utilice únicamente cuchillas de repuesto idénticas.
A menos que se indique lo contrario en las instrucciones, haga que un Servicio Técnico Autorizado repare o sustituya cualquier protector o componente dañado.
Cuando la batería no esté en uso, manténgala alejada de objetos metálicos como, por ejemplo, clips, monedas, llaves, clavos y tornillos que podrían hacer una conexión entre un terminal y otro. Un cortocircuito entre los terminales de la batería puede causar quemaduras o un incendio.
Compruebe frecuentemente que los pernos de montaje de la cuchilla y del motor están bien apretados.
PRECAUCIÓN – Una batería utilizada de forma incorrecta puede presentar riesgo de incendio o de quemadura química. No desmonte la batería. No caliente la batería a más de 68 °C ni la incinere. Sustituya la batería únicamente con una batería Toro genuina; el uso de otro tipo de batería podría provocar un incendio o una explosión. Mantenga las baterías fuera del alcance de los niños y en el embalaje original hasta su uso.
No tire la batería usada al fuego. La celda puede explosionar. Compruebe si la normativa local contiene alguna instrucción especial sobre la eliminación de las baterías.
![]() |
Las calcomanías e instrucciones de seguridad están a la vista del operador y están ubicadas cerca de cualquier zona de peligro potencial. Sustituya cualquier calcomanía que esté dañada o que falte. |








Important: Retire y deseche la hoja de plástico de protección que cubre el motor.
Piezas necesarias en este paso:
| Tapa del compartimiento de la batería | 1 |
Alinee los cierres de la tapa con las ranuras y presione hacia abajo para bloquear la tapa en su sitio.

Piezas necesarias en este paso:
| Manillar inferior | 2 |
| Chapa de abrazadera | 2 |
| Manillar de tirante | 2 |
| Perno corto | 2 |
| Arandela plana | 4 |
| Contratuerca | 8 |
| Manillar superior | 1 |
| Arandela cóncava | 6 |
| Perno largo | 4 |
| Tuerca ciega | 6 |
Si se monta el manillar de forma incorrecta, pueden dañarse los cables, con lo que se crea una condición de funcionamiento insegura.
No dañe los cables al montar el manillar.
Asegúrese de que los cables se dirigen hacia el interior del manillar y no atrape el deflector trasero.
Si un cable está dañado, póngase en contacto con su distribuidor Toro autorizado.
Retire las contratuercas de los 2 pernos expuestos en la parte superior de la carcasa.
Instale un manillar inferior a cada lado de la parte superior de la carcasa de la segadora con una chapa de abrazadera y las contratuercas retiradas de la carcasa en el paso anterior (1).
Note: Los tubos del manillar inferior tienen una sección doblada a lo largo de la parte media; asegúrese de que los tubos se instalan de modo que la sección doblada del tubo apunte hacia el suelo.

Instale la parte inferior de los manillares de tirante a cada lado de la carcasa de la segadora con un perno corto, arandelas planas en el interior y en el exterior de la carcasa y una contratuerca (Figura 5).

Instale el manillar superior y la parte superior de los manillares de tirante en los manillares inferiores con 3 arandelas cóncavas, 2 pernos largos y 2 contratuercas a cada lado (Figura 6).

Instale tuercas ciegas sobre todas las tuercas expuestas del manillar.
Piezas necesarias en este paso:
| Recogedor | 1 |
| Armazón del recogedor | 1 |



La velocidad hacia delante de la máquina se controla mediante el sistema MatchDrive® y tiene 3 ajustes fijos, así como una opción de velocidad variable. El ajuste de velocidad autopropulsada de la máquina permite que los operadores usen varias máquinas y se logre una calidad de corte y un nivel de rendimiento uniformes.
Pulse el botón de control de selección de velocidad en el panel de control del cabezal para pasar por los distintos ajustes de velocidad fija. Se iluminará una luz bajo el ajuste de velocidad seleccionado:
I – Lenta – 3,0 km/h
II – Media – 4,0 km/h
III – Rápida – 5,2 km/h

Con el ajuste IV (Figura 11) en el botón de selección de velocidad, puede controlar la velocidad de la máquina con la rueda de control en el botón de arranque eléctrico. Gire la rueda a la derecha para aumentar la velocidad y gírela a la izquierda para reducirla, desde una velocidad lenta de 1,6 km/h hasta una velocidad alta de 5,6 km/h.

La máquina tiene 2 ajustes de velocidad de la cuchilla: ESTáNDAR y ECO.
Cuando se establece en ESTáNDAR, la velocidad de la cuchilla se establece en una velocidad fija en todo momento.
Cuando se establece el ajuste ECO, la velocidad de la cuchilla se mantiene a la velocidad más baja en todo momento (a menos que se someta a la máquina a una carga pesada). Esta velocidad es ideal para realizar mulching de recortes de hierba tras la siega y se hace el uso más eficiente de la energía de la batería.
| Ajuste de velocidad de la cuchilla | Velocidad (rpm) |
| ESTáNDAR | 2800 |
| ECO | 2400 |
La máquina se arranca automáticamente en el ajuste ESTáNDAR. Pulse el botón de velocidad de la cuchilla en el panel de control del cabezal para cambiar el ajuste de velocidad de la cuchilla (Figura 13).

El panel de control del cabezal incluye varios indicadores de advertencia y muestra el estado actual de la batería.
Si hay un fallo en la caja de cambios, parpadearán 4 indicadores de advertencia (Figura 14, A); consulte .
El panel de estado de las baterías utiliza luces para mostrar el nivel de carga de las baterías y si se producen problemas o errores con las baterías (Figura 14, B). Si la carga de las baterías es baja (<10 %), parpadeará la parte inferior de las 4 luces de nivel de carga.
Si hay un fallo con una batería, las luces de error parpadearán en la parte inferior del panel de estado de las baterías (Figura 14, B). La luz de error izquierda corresponde a la batería izquierda (vista desde la posición del operador) y, la luz de error derecha corresponde a la batería derecha.

|
Modelo |
Anchura de corte |
Longitud |
Anchura |
Altura |
Peso |
|---|---|---|---|---|---|
|
02660T | 56 cm | 175,5 cm | 61 cm | 103 cm | 59 kg |
| (22") | (69,1") | (24") | (40,6") | (130 libras) |
|
Carga o almacenamiento de la batería |
Uso de la batería |
Uso de la máquina |
|---|---|---|
|
5 °C y 40 °C* |
-30 °C a 49 °C * |
0 °C a 49 °C * |
*El tiempo de carga puede aumentar si no carga las baterías dentro del intervalo de temperatura especificado.
Guarde la máquina, las baterías y los cargadores de baterías en una zona cerrada, limpia y seca.
Está disponible una selección de aperos y accesorios homologados por Toro que se pueden utilizar con la máquina a fin de potenciar y aumentar sus prestaciones. Póngase en contacto con su Servicio Técnico Autorizado o con su distribuidor autorizado Toro, o visite www.Toro.com para obtener una lista de todos los aperos y accesorios homologados.
Para asegurar un rendimiento óptimo y mantener la certificación de seguridad de la máquina, utilice solamente piezas y accesorios genuinos Toro. Las piezas de repuesto y los accesorios de otros fabricantes podrían ser peligrosos.
Important: Utilice las baterías solo a temperaturas que estén dentro del intervalo apropiado; consulte Especificaciones.
Asegúrese de que el botón de arranque eléctrico no esté instalado en la máquina.
Compruebe que los orificios de ventilación y los terminales de carga de las baterías no presentan polvo ni residuos.
Levante la tapa del compartimento de la batería (Figura 15, A).
Alinee el hueco de las baterías con las lengüetas de la máquina, e introduzca las baterías en el compartimento hasta que se enganchen en su sitio (Figura 15, B).
Cierre la tapa del compartimento de la batería (Figura 15, C).
Note: Si la tapa del compartimento de las baterías no se cierra por completo, las baterías no están correctamente instaladas.La máquina se puede utilizar con 1 o 2 baterías instaladas.

El botón de arranque eléctrico se guarda en el compartimento de la batería para su entrega segura. Retírelo del compartimento y guárdelo en un lugar seguro antes del montaje.
Al ajustar la altura de corte podría tocar una cuchilla en movimiento con las manos, lo que podría causarle graves lesiones.
Apague el motor, retire las baterías y espere a que se detengan todas las piezas en movimiento antes de ajustar la altura de corte.
No ponga los dedos debajo de la carcasa al ajustar la altura de corte.
Sujete la palanca de altura de corte y tire hacia un lado para liberarla de la muesca de bloqueo (Figura 16).

Empuje la palanca hacia adelante para bajar la altura de corte, o tire de la palanca hacia atrás para elevar la altura (Figura 16).
Suelte la palanca en la posición deseada y asegúrese de que queda firmemente bloqueada en una de las 7 muescas de ajuste (Figura 16).
| Ajuste de altura | Altura de corte |
| 1 | 13,0 mm |
| 2 | 20,8 mm |
| 3 | 28,7 mm |
| 4 | 36,5 mm |
| 5 | 44,3 mm |
| 6 | 52,2 mm |
| 7 | 60,0 mm |
Se pueden obtener 6 ajustes adicionales de altura con el ajuste de altura MatchCut. Con esta función, la altura de la placa selectora de corte se puede aumentar o reducir medio ajuste.
Afloje el perno de retención de la placa selectora con una llave Allen (Figura 17).

Gire el ajustador de MatchCut 180° (Figura 17 y Figura 18).
Note: Aparece un indicador en la parte inferior de la placa selectora, señalando cuándo está ajustado el MatchCut.

Apriete el perno de retención de la placa selectora para fijar en su posición la placa selectora de altura de corte.
| Ajuste de altura (con MatchCut) | Altura de corte |
| 1,5 | 16,9 mm(11/16") |
| 2,5 | 24,8 mm (1") |
| 3,5 | 32,6 mm (1¼") |
| 4,5 | 40,4 mm(1-9/16") |
| 5,5 | 48,3 mm(1⅞") |
| 6,5 | 56,1 mm(2-3/16") |
Asegúrese de que están instaladas las baterías en la máquina; consulte Instalación de la batería.
Introduzca el botón de arranque eléctrico [consulte Localización del botón de arranque eléctrico] en el interruptor de arranque eléctrico (Figura 19, A).
Apriete la barra de control de la cuchilla contra el manillar (Figura 19, B).
Pulse el botón de arranque eléctrico hasta que la máquina arranque y la cuchilla comience a girar (Figura 19, C).

Para utilizar la transmisión autopropulsada, presione y suelte el botón de arranque eléctrico y, a continuación, accione la barra de la transmisión autopropulsada en menos de 15 segundos (Figura 20).
Note: Si se suelta la barra de la transmisión autopropulsada, puede volver a accionar la transmisión autopropulsada sin tener que pulsar el botón de arranque eléctrico si la barra se engrana en menos de 15 segundos.

La velocidad sobre el terreno de la máquina se puede ajustar utilizando el control de velocidad variable; consulte Selección de la velocidad de autopropulsión.
Para desengranar la transmisión autopropulsada, suelte la barra de control de transmisión autopropulsada.
Cuando la barra de la transmisión autopropulsada está desengranada, se puede empujar la segadora. Esta función es de utilidad cuando se siega en espacios limitados.
Suelte la barra de control de la cuchilla (Figura 21, A).
Important: Cuando suelta la barra de control de la cuchilla, la cuchilla debe detenerse en 3 segundos o menos. Si no se detiene correctamente, deje de usar la máquina inmediatamente y póngase en contacto con un distribuidor Toro autorizado.
Retire el botón de arranque eléctrico del interruptor de arranque eléctrico (Figura 21, B).

Note: Cuando no use la máquina durante un periodo de tiempo prolongado, retire el botón de arranque eléctrico y las baterías; consulte Antes del almacenamiento.
Levante la tapa del compartimento de la batería.
Presione los cierres de las baterías para liberarlas y retírelas.
Cierre la tapa del compartimento de la batería.
Utilice el recogedor si desea recoger los recortes de hierba y las hojas del césped.
Si el recogedor está desgastado, pueden arrojarse residuos, provocando lesiones personales graves o la muerte al operador o a otras personas.
Compruebe con frecuencia el recogedor. Si está dañado, instale un recogedor de recambio Toro nuevo.
Apague la máquina y espere a que se detengan todas las piezas en movimiento.
Retire el botón de arranque eléctrico y las baterías.
Levante y sujete el deflector trasero.
Enganche el recogedor en su posición (Figura 22).

Deje que el deflector trasero descanse sobre la bolsa de recogida.
La máquina puede arrojar recortes de hierba y otros objetos por cualquier hueco que haya en la carcasa de la máquina. Los objetos arrojados con suficiente fuerza podrían causar lesiones personales graves o la muerte a usted o a otras personas.
No abra nunca el deflector trasero de la máquina con la máquina en marcha.
Important: La segadora debe utilizarse con el recogedor acoplado o con el deflector trasero en la posición de cerrado.
Apague la máquina y espere a que se detengan todas las piezas en movimiento.
Retire el botón de arranque eléctrico y las baterías.
Levante y sujete el deflector trasero.
Desenganche el recogedor.
Deje que el deflector trasero se apoye sobre la carcasa.
Evite golpear objetos sólidos con la cuchilla. No siegue nunca por encima de objeto alguno.
Para obtener el mejor rendimiento, instale una cuchilla nueva antes de que empiece la temporada de siega.
Sustituya la cuchilla cuando sea preciso con una cuchilla de repuesto Toro.
La hierba crece a diferentes ritmos a lo largo del año. Durante el calor estival, es mejor cortar la hierba a la altura de corte más alta. Corte solo un tercio de la hoja de hierba cada vez. No corte con el ajuste de altura de corte más bajo a menos que la hierba sea escasa, o a finales del otoño, cuando el ritmo de crecimiento de la hierba empieza a decaer. Para mejorar la autonomía, siegue a una altura de corte mayor.
Para un rendimiento óptimo, sobre todo en condiciones exigentes, utilice el ajuste de velocidad ESTáNDAR de las cuchillas y siegue a una velocidad más lenta.
Cuando corte hierba alta, siegue primero usando el ajuste de altura de corte más alto a una velocidad más lenta; a continuación, siegue de nuevo con un ajuste más bajo para obtener el mejor aspecto del césped. Si la hierba es demasiado alta y las hojas se amontonan en el césped, pueden atascar la máquina y hacer que se cale el cabezal.
La hierba mojada y las hojas mojadas tienden a pegarse al suelo, y pueden atascar la máquina o hacer que se cale el motor. Evite segar en condiciones húmedas.
Esté atento al posible riesgo de incendio en condiciones muy secas, siga todas las advertencias locales para casos de incendio y mantenga la máquina libre de hierba seca y residuos de hojas.
Alterne la dirección de corte. Esto ayuda a dispersar los recortes en todo el césped, dando una fertilización más homogénea.
Si el aspecto final del césped no es satisfactorio, pruebe con una o más de las técnicas siguientes:
Afilar la cuchilla.
Segar a una velocidad inferior.
Elevar la altura de corte de la máquina.
Cortar el césped con más frecuencia.
Solapar los pasillos de corte en lugar de cortar un pasillo completo en cada pasada.
Después de segar el césped, asegúrese de que la mitad del césped se ve a través de la cobertura de hojas cortadas. Es posible que tenga que hacer más de una pasada por encima de las hojas.
Si hay más de 13 cm de hojas en el césped, siegue a una altura de corte más alta y después vuelva a segar a la altura de corte que desee.
Siegue más despacio si la máquina no corta las hojas suficientemente finas.
Important: En el momento de la compra la batería no está totalmente cargada. Antes de usar la herramienta por primera vez, coloque la batería en el cargador y cárguela hasta que el indicador LED indique que la batería está completamente cargada. Lea todas las precauciones de seguridad.
Important: Cargue la batería solo a temperaturas que estén dentro del intervalo apropiado; consulte Especificaciones.
Note: En cualquier momento, presione el botón del indicador de carga de la batería para mostrar la carga actual (indicadores LED).
Compruebe que los orificios de ventilación y los terminales de carga de la batería y el cargador no presentan polvo ni residuos.

Alinee el hueco de la batería (Figura 23) con la lengüeta del cargador.
Introduzca la batería en el cargador hasta que esté completamente asentada (Figura 23).
Para retirar la batería, deslice la batería hacia atrás para sacarla del cargador.
Consulte la tabla siguiente para interpretar el indicador LED del cargador de la batería.
| Indicador | Indica |
| Desconectado | No hay batería insertada |
| Verde intermitente | La batería se está cargando |
| Verde | La batería está cargada |
| Roja | La batería y/o el cargador de la batería está(n) por encima o por debajo del intervalo de temperatura adecuado |
| Rojo intermitente | Fallo de carga de la batería* |
*Consulte si desea más información.
Important: La batería puede dejarse conectada al cargador durante periodos cortos entre usos.Si la batería no se va a utilizar durante periodos más largos, retire la batería del cargador; consulte Antes del almacenamiento.
| Intervalo de mantenimiento y servicio | Procedimiento de mantenimiento |
|---|---|
| Después de cada uso |
|
Puede soltarse material de debajo de la máquina.
Lleve protección ocular.
Permanezca en la posición de operación (detrás del manillar) cuando el motor está en marcha.
No permita la presencia de otras personas en la zona.
Para obtener los mejores resultados, utilice el conector de lavado rápido para limpiar la máquina poco después de haber finalizado la siega.
Important: Limpie a fondo la carcasa inmediatamente después de haber usado la máquina sobre césped tratado.
Apague la máquina y espere a que se detengan todas las piezas en movimiento.
Retire el botón de arranque eléctrico y las baterías.
Baje la máquina a la posición de altura de corte más baja; consulte Ajuste de la altura de corte.
Conecte una manguera de jardín que esté conectada al suministro de agua al conector de lavado rápido (Figura 24).

Abra el grifo de la manguera.
Inserte el botón de arranque eléctrico y las baterías, arranque la máquina, engrane la cuchilla y déjela funcionando hasta que dejen de salir recortes de debajo de la máquina.
Important: No dirija el agua a la transmisión.
Apague la máquina, cierre el grifo del agua y desconecte la manguera de jardín de la máquina.
Arranque la máquina y déjela en marcha durante unos minutos para que se seque la parte inferior de la máquina y evitar que se oxide.
Apague la máquina y espere a que se enfríe antes de guardarla en un lugar cerrado.
Note: Los lados derecho e izquierdo de la máquina se determinan desde la posición normal del operador.
| Intervalo de mantenimiento y servicio | Procedimiento de mantenimiento |
|---|---|
| Cada vez que se utilice o diariamente |
|
| Después de cada uso |
|
| Cada 25 horas |
|
| Cada año |
|
Lleve la máquina a una superficie nivelada.
Apague la máquina, retire el botón de arranque eléctrico y retire todas las baterías de la máquina.
| Intervalo de mantenimiento y servicio | Procedimiento de mantenimiento |
|---|---|
| Cada 25 horas |
|
Important: No haga funcionar el motor sin tener colocado el conjunto de filtro de aire; de lo contrario, se producirán graves daños en el motor.
Lleve a cabo los procedimientos de pre-mantenimiento; consulte Preparación para el mantenimiento.
Desenganche y retire la cubierta y el filtro de espuma. Limpie ambos a fondo (Figura 25).

Instale el filtro de espuma en la tapa trasera e instálelo en el cabezal.
| Intervalo de mantenimiento y servicio | Procedimiento de mantenimiento |
|---|---|
| Cada 25 horas |
|
Lleve a cabo los procedimientos de pre-mantenimiento; consulte Preparación para el mantenimiento.
Retire la cubierta superior retirando los 4 pernos (M6) y una grapa (Figura 26).

Usando un cepillo, retire cualquier residuo de la superficie de la transmisión, especialmente de los orificios de ventilación de la transmisión (Figura 26).
Important: No intente limpiar la transmisión con agua o aire comprimido.
Instale la cubierta usando las fijaciones que se retiraron anteriormente.
| Intervalo de mantenimiento y servicio | Procedimiento de mantenimiento |
|---|---|
| Cada 25 horas |
|
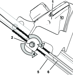
Cuando instale un cable nuevo, o si el cable de la transmisión autopropulsada o de control de las cuchillas está desajustado, ajuste los cables.
Gire la tuerca de ajuste en sentido antihorario para aflojar el cable (Figura 27).

Ajuste la tensión de los cables (Figura 27) tirando de ellos hacia atrás o empujándolos hacia adelante y sujételos en esa posición.
Gire la tuerca de ajuste en sentido horario para apretar el ajuste de los cables.
Note: Apriete con firmeza la tuerca con un conector hembra o una llave.
Important: No tense en exceso los cables; de lo contrario, los interruptores de control eléctricos pueden dañarse.
| Intervalo de mantenimiento y servicio | Procedimiento de mantenimiento |
|---|---|
| Cada vez que se utilice o diariamente |
|
| Cada año |
|
Important: Usted necesitará una llave dinamométrica para instalar la cuchilla correctamente. Si no dispone de una llave dinamométrica o prefiere no realizar este procedimiento, póngase en contacto con el Servicio Técnico Autorizado.
Si la cuchilla está dañada o agrietada, sustitúyala inmediatamente. Si el filo de la cuchilla está romo o mellado, mande a afilar la cuchilla o cámbiela.
La cuchilla está muy afilada; cualquier contacto con la cuchilla puede causar lesiones personales graves.
Lleve guantes al realizar el mantenimiento de la cuchilla.
Coloque la máquina de lado con la palanca de altura de corte hacia arriba.
Utilice un bloque de madera para inmovilizar la cuchilla (Figura 28).

Retire la cuchilla, conservando todos los herrajes de montaje (Figura 28).
Instale la cuchilla nueva y todos los herrajes de montaje (Figura 29).

Important: Coloque la cuchilla con los extremos curvos hacia la carcasa de la máquina.
Utilice una llave dinamométrica para apretar el perno de la cuchilla a 75 N·m.
| Intervalo de mantenimiento y servicio | Procedimiento de mantenimiento |
|---|---|
| Cada vez que se utilice o diariamente |
|
| Cada 25 horas |
|
Una cuchilla poco desgastada puede ser afilada. Ambos filos de la cuchilla deben afilarse por igual para mantener el equilibrio.
Retire la cuchilla de la máquina; consulte Cambio de la cuchilla.
Limpie la cuchilla con agua y un cepillo, luego inspeccione la cuchilla en busca de señales de deterioro.
Afile ambos filos con una lima plana.

Introduzca un destornillador por el agujero central y sujete la cuchilla en la posición horizontal.
Note: Una cuchilla equilibrada permanecerá horizontal.

Afile el extremo más pesado hasta que la cuchilla esté correctamente equilibrada.
Note: Si la cuchilla no está equilibrada, el extremo más pesado girará hacia abajo.

Important: Después de retirarla, cubra los terminales de la batería con cinta adhesiva de servicio pesado. No intente destruir o desmontar la batería ni intente retirar cualquiera de los componentes de la misma.
Póngase en contacto con las autoridades municipales o con su distribuidor autorizado Toro si desea más información sobre cómo reciclar la batería de forma responsable.
Important: Almacene la máquina, la batería y el cargador solo a temperaturas que estén dentro del intervalo apropiado; consulte Especificaciones.
Important: Si va a almacenar la batería hasta la temporada siguiente, cárguela hasta que 1 o 2 de los indicadores LED de la batería cambien a verde. No almacene la batería completamente cargada ni completamente descargada. Antes de volver a usar la máquina, cargue la batería hasta que se vuelva verde el indicador izquierdo del cargador, o hasta que los 4 indicadores LED de la batería se vuelvan verdes.
Desconecte el producto del suministro de energía (es decir, retire las baterías y el botón de arranque eléctrico) y compruebe si hay daños después del uso.
No almacene la máquina ni el cargador con una batería instalada.
Limpie cualquier material extraño del producto.
Cuando no se estén utilizando, almacene la máquina, el botón de arranque eléctrico, las baterías y los cargadores de baterías fuera del alcance de los niños.
Mantenga la máquina, las baterías y los cargadores de baterías alejados de agentes corrosivos como productos químicos de jardín o sal para deshielo.
Para reducir el riesgo de lesiones personales graves, no almacene las baterías en el exterior o en un vehículo.
Guarde la máquina, las baterías y los cargadores de baterías en una zona cerrada, limpia y seca.
Realice solo los pasos descritos en estas instrucciones. Cualquier otro trabajo de inspección, mantenimiento o reparación debe ser realizado por un distribuidor Toro autorizado o por un especialista cualificado si no puede solucionar el problema usted mismo.
| Problem | Possible Cause | Corrective Action |
|---|---|---|
| La máquina no arranca. |
|
|
| La máquina no funciona o no funciona de forma continua. |
|
|
| La máquina no alcanza la máxima potencia. |
|
|
| Las baterías se descargan rápidamente. |
|
|
| El cargador de la batería no funciona. |
|
|
| El indicador LED del cargador de la batería está rojo. |
|
|
| El indicador LED del cargador de la batería parpadea en rojo. |
|
|
| La máquina produce un pitido. |
|
|
| La máquina no avanza con el sistema de autopropulsión. |
|
|
| Se ha reducido la velocidad de avance de la máquina. |
|
|
| La caja de cambios emite un sonido o tono distinto. |
|
|
| La máquina o el motor de las cuchillas produce vibraciones o ruidos excesivos. |
|
|
| La calidad de corte es reducida o insatisfactoria. |
|
|
| El ensacado es deficiente o insatisfactorio. |
|
|
| La máquina corta de forma desigual. |
|
|