| Underhållsintervall | Underhållsförfarande |
|---|---|
| Efter varje användning |
|
Denna gräsklippare av gåmodell med roterande knivar är avsedd att användas av yrkesförare som har anlitats för kommersiellt arbete. Den är främst konstruerad för att klippa gräs på väl underhållna gräsmattor runt bostäder och kommersiella anläggningar. Den är konstruerad för användning med Flex-Force Power System® 60 V litiumjonbatteripaket. Dessa batteripaket är avsedda att laddas uteslutande med Flex-Force™ 60 V litiumjonbatteriladdare. Om dessa produkter används i andra syften än vad som avsetts kan det innebära fara för dig och kringstående.
Läs denna information noga så att du lär dig att använda och underhålla produkten på rätt sätt, och för att undvika person- och produktskador. Du är ansvarig för att produkten används på ett korrekt och säkert sätt.
Besök www.Toro.com för mer information, inklusive säkerhetsråd, utbildningsmaterial, information om tillbehör, hjälp med att hitta en återförsäljare eller för att registrera din produkt.
Kontakta en auktoriserad Toro-återförsäljare eller Toros kundservice och ha produktens modell- och serienummer till hands om du har behov av service, Toros originaldelar eller ytterligare information. Figur 1 visar var du finner produktens modell- och serienummer. Skriv in numren i det tomma utrymmet.

Anteckna produktens modell- och serienummer här nedanför:
Varningssymbolen (Figur 2) som visas i den här bruksanvisningen och på maskinen markerar viktiga säkerhetsmeddelanden som du måste följa för att förhindra olyckor.

Varningssymbolen visas ovanför information som varnar dig för farliga handlingar eller situationer och följs av orden FARA, VARNING eller VAR FÖRSIKTIG.
FARA indikerar en överhängande fara som, om den inte undviks, kommer att leda till dödsfall eller allvarliga personskador.
VARNING indikerar en potentiellt farlig situation som, om den inte undviks, kan leda till dödsfall eller allvarliga personskador.
VAR FÖRSIKTIG indikerar en potentiellt farlig situation som, om den inte undviks, kan leda till mindre eller måttliga personskador.
Två andra beteckningar används för att markera information i denna bruksanvisning. Viktigt anger speciell teknisk information och Observera anger allmän information som är värd att notera.
Säkerhetsmekanismerna får varken ändras eller inaktiveras och du bör regelbundet kontrollera att de fungerar som de ska. Försök inte att justera eller manipulera motorns hastighetsreglage. Det kan leda till ett farligt driftstillstånd, vilket kan ge upphov till personskador.
Produkten uppfyller alla relevanta europeiska direktiv. Mer information finns i den separata produktspecifika försäkran om överensstämmelse.
KALIFORNIEN
Proposition 65 Varning
Kabeln till denna produkt innehåller bly, en kemikalie som av den amerikanska delstaten Kalifornien anses orsaka fosterskador och andra fortplantningsskador. Tvätta händerna efter hantering.
Användning av produkten kan orsaka kemikalieexponering som av den amerikanska delstaten Kalifornien anses orsaka cancer, fosterskador och andra fortplantningsskador.
Läs alla säkerhetsvarningar, anvisningar, illustrationer och specifikationer som medföljer detta elverktyg. Underlåtenhet att följa anvisningarna nedan kan resultera i elektriska stötar, brand och/eller allvarliga personskador.
Spara alla varningar och anvisningar för framtida bruk.
Termen ”elverktyg” i varningarna avser eldrivna verktyg (med sladd) eller batteridrivna verktyg (utan sladd).
Arbetsplatssäkerhet
Arbetsområdet ska vara rent och väl upplyst. Olycksrisken ökar i nedskräpade eller dåligt upplysta områden.
Använd inte elverktyg i explosiva atmosfärer, t.ex. i närheten av brandfarliga vätskor, gaser eller damm. Elverktyg kan skapa gnistor som kan antända dammet eller gaserna.
Håll barn och kringstående på avstånd när du använder ett elverktyg. Du riskerar att förlora kontrollen om du distraheras.
Elsäkerhet
Elverktygets kontakt måste passa nätuttaget. Du får inte modifiera kontakten på något sätt. Använd aldrig en adapterkontakt tillsammans med ett jordat elverktyg. Risken för elektriska stötar minskar om du använder omodifierade kontakter som matchar nätuttagen.
Undvik kroppskontakt med jordade ytor som rör, element, härdar och kylskåp. Risken för elektriska stötar ökar om kroppen är jordad.
Utsätt inte elverktyg för regn eller våta förhållanden. Risken för elektriska stötar ökar om vatten tränger in i elverktyget.
Använd sladden med varsamhet. Använd inte sladden för att bära, dra eller bryta strömmen till elverktyget. Håll sladden på avstånd från värme, olja, skarpa kanter och rörliga delar. Skadade eller intrasslade sladdar ökar risken för elektriska stötar.
Använd en förlängningssladd som lämpar sig för utomhusbruk om du använder elverktyget utomhus. Risken för elektriska stötar minskar om du använder en sladd som lämpar sig för utomhusbruk.
Använd en jordfelsbrytare (jfb) om du tvingas använda elverktyget i en fuktig miljö. Risken för elektriska stötar minskar vid användning av jordfelsbrytare.
Personlig säkerhet
Var uppmärksam, tänk på vad du gör och använd sunt förnuft när du använder ett eldrivet verktyg. Använd inte ett elverktyg om du är trött eller är påverkad av droger, alkohol eller medicin. Risken för allvarliga personskador ökar om du för ett ögonblick tappar koncentrationen när du använder ett elverktyg.
Använd personlig skyddsutrustning. Använd alltid ögonskydd. Skyddsutrustning som munskydd, halkfria skyddsskor, hjälm eller hörselskydd som används när det behövs minskar risken för personskador.
Förhindra oavsiktlig start. Kontrollera att omkopplaren är i läget AV innan du ansluter till en strömkälla och/eller batteripaket, samt när du lyfter eller bär verktyget. Risken för olyckor ökar om du bär elverktyget med fingret på omkopplaren eller ansluter ett redan påslaget elverktyg.
Ta bort eventuell justeringssprint eller -nyckel innan du aktiverar ett elverktyg. Kvarlämnade nycklar eller sprintar i en roterande del av ett elverktyg kan orsaka personskador.
Sträck dig inte för långt. Bibehåll ett stadigt fotstöd och balans hela tiden. På så sätt behåller du kontrollen över elverktyget i oväntade situationer.
Bär lämplig klädsel. Använd inte löst sittande kläder eller smycken. Håll hår och kläder borta från rörliga delar. Löst sittande kläder, smycken och långt hår kan fastna i rörliga delar.
Om det går att förse enheter med dammutsugnings- och uppsamlingsfunktioner ska dessa anslutas och användas på lämpligt sätt. Användning av dammuppsamlingsutrustning kan minska risken för faror i samband med damm.
Låt inte kännedom från frekvent verktygsanvändning leda till att du blir självbelåten och ignorerar säkerhetsföreskrifterna för verktyget. Ett vårdslöst agerande kan orsaka allvarliga skador på bråkdelen av en sekund.
Korrekt användning och skötsel av elverktyg
Elverktyget får inte användas med våld. Använd rätt elverktyg för tillämpningen i fråga. Rätt elverktyg presterar bättre och fungerar på ett säkrare sätt om det används för den belastning det har konstruerats för.
Använd inte elverktyget om det inte går att använda omkopplaren för på- och avslagning. Ett verktyg som inte kan styras med omkopplaren är farligt och måste repareras.
Dra ut sladden från strömkällan och/eller avlägsna batteripaketet från elverktyget, om det är löstagbart, innan du gör några justeringar, byter tillbehör eller ställer undan elverktyget. Sådana förebyggande säkerhetsåtgärder minskar risken för oavsiktlig start av elverktyget.
Förvara ett elverktyg som inte används utom räckhåll för barn och låt inte någon som inte känner till elverktyget eller har läst dessa anvisningar använda verktyget. Elverktyg är farliga i händerna på outbildade användare.
Underhåll av elverktyg och tillbehör. Kontrollera om det finns rörliga delar som kärvar eller är felinriktade, trasiga delar, eller andra problem som kan påverka elverktygets drift. Ett skadat elverktyg måste repareras innan det kan användas. Många olyckor orsakas av dåligt underhållna elverktyg.
Håll klippverktygen vassa och rena. Rätt underhållna klippverktyg med skarpa skäreggar kärvar mindre och är enklare att använda.
Använd elverktyg, tillbehör, verktygsdelar osv. enligt dessa anvisningar. Beakta även de aktuella arbetsförhållandena och det arbete som ska utföras. Användning av elverktyget i andra syften än de avsedda kan leda till riskfyllda situationer.
Håll handtagen och greppytorna torra, rena och fria från olja och fett. Halkiga handtag och greppytor tillåter inte säker hantering och kontroll av verktyget i oväntade situationer.
Korrekt användning och skötsel av batteridrivet verktyg
Ladda endast upp batteriet med den laddare som rekommenderas av tillverkaren. En laddare som är lämplig för en typ av batteripaket kan utgöra en brandrisk om den används med ett annat batteripaket.
Använd endast de batteripaket som är avsedda för elverktyget. Bruk av andra batteripaket kan öka skade- eller brandrisken.
Ett batteripaket som inte används ska förvaras på avstånd från andra metallföremål som gem, mynt, nycklar, spikar, skruvar eller andra mindre metallföremål som kan kortsluta polerna. Kortslutning av batteriet kan orsaka brännskador eller eldsvåda.
Ett felbehandlat batteri kan läcka vätska. Undvik kontakt. Spola med vatten vid eventuell oavsiktlig kontakt. Sök läkarhjälp om vätskan kommer i kontakt med ögonen. Vätska som läcker ur batteriet kan orsaka irritation eller brännskador.
Använd inte ett batteripaket eller ett verktyg som är skadat eller modifierat. Skadade eller modifierade batterier kan fungera på ett oförutsägbart sätt som kan leda till brand, explosion eller risk för personskador.
Utsätt inte ett batteripaket eller ett verktyg för öppen låga eller mycket höga temperaturer. Exponering för brandtemperaturer över 130 °C kan leda till explosion.
Följ alla laddningsanvisningar och ladda inte batteriet eller verktyget utanför det temperaturintervall som anges i anvisningarna. Felaktig laddning eller laddning vid temperaturer utanför angivet intervall kan skada batteriet och öka brandrisken.
Service
Lämna in elverktyget på service hos en kvalificerad verkstad som endast använder identiska reservdelar.På så sätt äventyras inte elverktygets säkerhet.
Serva aldrig skadade batteripaket. Service av batteripaketet får endast utföras av tillverkaren eller av auktoriserade leverantörer.
Använd inte gräsklipparen i regn eller våta förhållanden. Detta kan öka risken för elektrisk stöt.
Använd inte gräsklipparen under dåliga väderförhållanden, särskilt när det finns risk för blixtnedslag. Detta minskar risken att träffas av blixten.
Inspektera området noggrant och titta efter vilda djur och växter där gräsklipparen ska användas. Vilda djur och växter kan skadas av gräsklipparen under drift.
Undersök noga det område där maskinen ska köras och avlägsna alla stenar, pinnar, ledningar, ben och andra föremål. Utslungade föremål kan orsaka personskador.
Kontrollera alltid gräsklipparen visuellt innan du använder den för att säkerställa att kniven och knivsatsen inte är slitna eller skadade. Slitna eller skadade delar ökar risken för personskador.
Kontrollera regelbundet att gräsuppsamlaren inte är sliten eller trasig. En sliten eller skadad gräsuppsamlare kan öka risken för personskador.
Alla skydd måste sitta på plats. Skydden måste vara i fungerande skick och korrekt monterade. Ett skydd som är löst, skadat eller inte fungerar kan leda till personskador.
Se till att alla kylluftsinlopp är fria från skräp. Blockerade luftinlopp och skräp kan leda till överhettning eller brand.
Ha alltid på dig halkfria skyddsskor när du använder gräsklipparen. Kör inte gräsklipparen barfota eller i sandaler. Detta minskar risken för att fötterna skadas vid kontakt med den rörliga kniven.
Bär alltid långbyxor när du kör gräsklipparen. Exponerad hud ökar risken för skador från utslungade föremål.
Kör inte gräsklipparen i vått gräs. Gå – spring aldrig. Det minskar risken för att du förlorar kontrollen, halkar och faller, vilket kan leda till personskador.
Kör inte gräsklipparen i väldigt branta sluttningar. Det minskar risken för att du förlorar kontrollen, halkar och faller, vilket kan leda till personskador.
När du kör i sluttningar ska du alltid ha ordentligt fotfäste. Kör alltid tvärgående över sluttningar, aldrig upp och ned, och var mycket försiktig när du svänger. Det minskar risken för att du förlorar kontrollen, halkar och faller, vilket kan leda till personskador.
Var mycket försiktig när du backar eller drar gräsklipparen mot dig. Var alltid medveten om omgivningarna. Detta minskar risken för att snubbla under körning.
Rör inte knivarna och andra farliga rörliga delar medan de fortfarande är i rörelse. Det minskar risken för personskador från rörliga delar.
Stäng av samtliga strömbrytare och ta ut batteripaketet när du tar bort material som fastnat eller rengör gräsklipparen. Oväntad start av gräsklipparen kan leda till allvarliga personskador.
Utbildning
Maskinens användare ansvarar för eventuella olyckor eller faror som uppstår för andra eller deras egendom.
Låt inte barn använda eller leka med maskinen, batteripaketet eller batteriladdaren. Lokala bestämmelser kan begränsa användarens ålder.
Tillåt inte personer med nedsatt fysisk, sensorisk eller mental förmåga eller utan erfarenhet och kunskap att använda maskinen, batteripaketet eller batteriladdaren, såvida de inte har fått instruktioner eller handledning för att använda dem på ett säkert sätt och förstår de risker som är förknippade med dem.
Läs alla instruktioner och varningstexter på batteripaketet och batteriladdaren innan du använder dessa produkter.
Förberedelser
Byt ut eventuella skadade eller oläsbara etiketter.
Använd endast batteripaketet som anges av Toro. Användning av andra tillbehör och redskap kan öka risken för skador och brand.
Om batteriladdaren ansluts till ett uttag som inte har korrekt spänning kan det leda till brand eller elektriska stötar. Om du vill ha en annan typ av anslutning använder du vid behov en kontaktadapter med tillbörlig utformning för eluttaget.
Använd inte skadade eller modifierade batteripaket eller batteriladdare, då dessa kan bete sig oförutsägbart och orsaka brand, explosion eller personskador.
Om elsladden till batteriladdaren är skadad kontaktar du en auktoriserad återförsäljare för att byta ut den.
Använd inte icke-laddningsbara batterier.
Ladda batteripaketet endast med batteriladdaren som angetts av Toro. En laddare som är lämplig för en särskild typ av batteripaket kan utgöra en brandrisk om den används med andra batteripaket.
Ladda batteripaketet endast på en plats med god ventilation.
Utsätt inte ett batteripaket eller en batteriladdare för brand eller temperaturer över 68 °C.
Följ alla laddningsanvisningar och ladda inte batteripaketet utanför det temperaturintervall som anges i anvisningarna. Om du inte följer dessa anvisningar kan batteripaketet skadas och risken för brand ökar.
Användning
Håll avstånd till utkastaröppningen.
Lossa mekanismen för självgående drift (om sådan finns) innan du startar maskinen.
Förhindra oavsiktlig start – se till att den elektriska startknappen tas bort från tändningen innan du ansluter batteripaketet och hanterar maskinen.
Stoppa maskinen, ta bort den elektriska startknappen, ta bort batteripaketet från maskinen och vänta tills alla rörelser har stannat innan du servar eller rengör maskinen.
Ta bort batteripaketet och den elektriska startknappen från maskinen när du lämnar den obevakad eller innan du byter tillbehör.
Rikta inte utkastaren mot andra människor. Undvik att kasta ut material mot väggar och föremål. Materialet kan kastas tillbaka mot dig. Stanna kniven eller knivarna när du korsar grusytor.
Se upp för hål, rötter, ojämnheter, stenar och andra dolda risker. Ojämn terräng kan få dig att tappa balansen eller fotfästet.
Om maskinen slår emot ett föremål eller börjar vibrera ska du omedelbart stänga av maskinen, ta bort den elektriska startknappen, ta ut batteripaketet och vänta tills alla rörelser har stannat innan du undersöker maskinen avseende skador. Reparera alla skador innan du börjar köra maskinen igen.
Stoppa maskinen och ta bort den elektriska startknappen innan maskinen ska transporteras.
Under skadliga förhållanden kan vätska läcka ut ur batteripaketet. Undvik kontakt. Om du råkar komma i kontakt med vätskan spolar du med vatten. Sök läkarhjälp om vätskan kommer i kontakt med ögonen. Vätska som läcker ur batteripaketet kan orsaka irritationer eller brännskador.
Underhåll och förvaring
Stoppa maskinen, ta bort den elektriska startknappen, ta bort batteripaketet från maskinen och vänta tills alla rörelser har stannat innan du servar eller rengör maskinen.
Försök inte reparera maskinen med undantag för vad som anges i anvisningarna. Be en auktoriserad återförsäljare att utföra service på maskinen med identiska reservdelar.
Slipa en slö kniv på båda sidor för att bibehålla balansen. Rengör kniven och se till att den är balanserad.
Tänk på att kniven fortfarande kan röra sig under service trots att strömkällan är avstängd.
Använd endast Toros originalreservdelar och tillbehör för att få garanterat bästa prestanda. Andra reservdelar och tillbehör kan vara farliga, och användning av dessa kan ogiltigförklara produktgarantin.
Underhåll maskinen – håll skäreggarna vassa och rena för bästa och säkraste prestanda. Håll handtagen torra, rena och fria från olja och fett. Se till att skydden sitter på plats och att de fungerar. Håll knivarna vassa. Använd endast identiska ersättningsknivar.
Om inte annat anges i anvisningarna ska en auktoriserad återförsäljare reparera eller byta ut skadade skydd och delar.
När batteripaketet inte används ska det förvaras på avstånd från metallföremål som gem, mynt, nycklar, spikar och skruvar som kan kortsluta polerna. Kortslutning av batteriet kan orsaka brännskador eller eldsvåda.
Kontrollera regelbundet att knivens och motorns monteringsskruvar är ordentligt åtdragna.
VAR FÖRSIKTIG – Ett batteripaket som hanteras på fel sätt kan medföra en brandrisk eller risk för brännskada från kemikalier. Ta inte isär batteripaketet. Värm inte upp batteripaketet över 68 °C eller elda upp det. Batteripaketet får endast bytas ut mot ett äkta Toro-batteripaket. Om en annan typ av batteripaket används kan det leda till brand eller explosion. Förvara batteripaket utom räckhåll för barn och i originalförpackningen tills de ska användas.
Kassera inte batteriet i eld. Det riskerar att explodera. Kontrollera vilka kasseringsregler som gäller där du bor.
![]() |
Säkerhetsdekalerna och säkerhetsinstruktionerna är fullt synliga för föraren och finns nära alla potentiella farozoner. Ersätt dekaler som har skadats eller saknas. |








Important: Ta bort och släng skyddsplasten som täcker motorn.
Delar som behövs till detta steg:
| Batterifackets lock | 1 |
Rikta in hakarna på locket med skårorna och tryck ner för att låsa locket på plats.

Delar som behövs till detta steg:
| Nedre handtag | 2 |
| Klämplåt | 2 |
| Staghandtag | 2 |
| Kort skruv | 2 |
| Planbricka | 4 |
| Låsmutter | 8 |
| Övre handtag | 1 |
| Koppbricka | 6 |
| Lång skruv | 4 |
| Kappmutter | 6 |
Om du monterar handtaget på fel sätt riskerar du att skada kablarna och därmed skapa ett farligt driftstillstånd.
Var rädd om kablarna när du monterar handtaget.
Se till att kablarna är dragna på insidan av handtaget och att de inte kommer i kontakt med den bakre gräsriktaren.
Kontakta en auktoriserad Toro-återförsäljare om en kabel skadas.
Lossa låsmuttrarna från de två synliga skruvarna ovanpå klippdäcket.
Montera ett nedre handtag på vardera sida ovanpå klippdäcket med en klämplåt och låsmuttern som lossades från däcket i föregående steg (1).
Note: De nedre handtagsrören är krökta längs mittsektionen. Var noga med att rören monteras så att den krökta delen vinklas mot marken.

Montera den nedre delen av staghandtagen på vardera sida av klippdäcket med en kort skruv, planbrickor på insidan och utsidan av däcket och en låsmutter (Figur 5).

Montera det övre handtaget och den översta delen av staghandtagen på de nedre handtagen med tre koppbrickor, två långa skruvar och två låsmuttrar på vardera sida (Figur 6).

Montera kappmuttrar över alla exponerade handtagsmuttrar.



Maskinens hastighet framåt styrs av MatchDrive®-systemet och har tre fasta inställningar samt ett alternativ för reglerbar hastighet. Genom att ställa in maskinens självdrivningshastighet kan förare på flera maskiner uppnå en jämn klippkvalitet och prestanda.
Tryck på kontrollknappen för motorvarvtal på motorenhetens kontrollpanel för att växla mellan de fasta hastighetsinställningarna. En lampa tänds under den valda hastighetsinställningen:
I – Låg – 3,0 km/h
II – Medium – 4,0 km/h
III – Hög – 5,2 km/h

Med IV-inställningen (Figur 11) på knappen för motorvarvtal kan du styra maskinens hastighet med hjälp av kontrollhjulet på knappen till den elektriska startmotorn. Vrid hjulet åt höger för att öka hastigheten och vrid det åt vänster för att sänka hastigheten, från en låg hastighet på 1,6 km/h till en hög hastighet på 5,6 km/h.

Maskinen har två knivhastigheter: STANDARD och EKONOMI.
När maskinen är i STANDARDLäGET är knivhastigheten alltid inställd på en fast hastighet.
När maskinen är i EKONOMILäGET förblir knivhastigheten alltid på lägsta hastighet (såvida inte maskinen utsätts för tung belastning). Denna hastighet är perfekt för mullning av gräsklipp efter klippning och är den mest effektiva användningen av batteriström.
| Knivhastighetsinställning | Varvtal (varv/min) |
| STANDARD | 2 800 |
| EKONOMI | 2 400 |
Maskinen är automatiskt i STANDARDLäGET vid start. Tryck på knappen för knivhastighet på motorenhetens kontrollpanel för att ändra knivhastighetsinställningen (Figur 13).

Motorenhetens kontrollpanel har olika varningslampor och visar aktuell batteristatus.
Om det är fel på växellådan blinkar fyra varningslampor (A i Figur 14). Se .
Panelen för batteristatus använder lampor för att visa batteripaketens laddningsnivå och om problem eller fel uppstår med batteripaketen (B i Figur 14). Om batteripaketen har låg laddning (<10 %) blinkar den nedre av de fyra laddningsnivålamporna.
Om det uppstår ett fel på ett batteripaket blinkar felindikatorlamporna längst ned på panelen för batteristatus (B i Figur 14). Den vänstra felindikatorlampan motsvarar det vänstra batteripaketet (sett från förarplatsen) och den högra felindikatorlampan motsvarar det högra batteripaketet.

|
Modell |
Klippbredd |
Längd |
Bredd |
Höjd |
Vikt |
|---|---|---|---|---|---|
|
02660T | 56 cm | 175,5 cm | 61 cm | 103 cm | 59 kg |
| (22 tum) | (69,1 tum) | (24 tum) | (40.6 tum) | (130 lb) |
|
Ladda eller förvara batteripaketet |
Använda batteripaketet |
Använda maskinen |
|---|---|---|
|
5 °C till 40 °C* |
-30 °C till 49 °C* |
0 °C till 49 °C* |
* Det kan ta längre tid att ladda batteripaketen om de inte laddas inom det angivna temperaturintervallet.
Förvara maskinen, batteripaketen och batteriladdarna i ett slutet, rent och torrt utrymme.
Det finns ett urval av godkända Toro-redskap och -tillbehör som du kan använda för att förbättra och utöka maskinens kapacitet. Kontakta en auktoriserad återförsäljare eller auktoriserad Toro-distributör, eller gå till www.Toro.com för att se en lista över alla godkända redskap och tillbehör.
Använd endast originalreservdelar och tillbehör från Toro för att garantera optimal prestanda och fortlöpande säkerhet för produkten. Det kan medföra fara att använda reservdelar och tillbehör från andra tillverkare.
Important: Använd batteripaketen endast i temperaturer som ligger inom rätt intervall. Se Specifikationer.
Se till att knappen till den elektriska startmotorn inte är monterad på maskinen.
Kontrollera att ventilerna och laddningspolerna på batteripaketen är fria från damm och smuts.
Lyft batterifackets lock (A i Figur 15).
Rikta in håligheten i batteripaketen med öglorna på maskinen och skjut in batteripaketen i facket tills de låses på plats (B i Figur 15).
Stäng batterifackets lock (C i Figur 15).
Note: Om batterifackets lock inte stängs helt är batteripaketen felaktigt monterade.Maskinen kan användas med antingen ett eller två batteripaket monterade.

Knappen till den elektriska startmotorn förvaras i batterifacket för säker leverans. Ta ut den ur facket och förvara den på en säker plats före montering.
När du justerar klipphöjden kan dina händer komma i kontakt med en roterande kniv, vilket kan leda till allvarliga skador.
Stäng av motorn, avlägsna batteripaketen och vänta tills alla rörliga delar har stannat innan du ställer in klipphöjden.
Stick inte in fingrarna under kåpan när du justerar klipphöjden.
Greppa klipphöjdsreglaget och dra det i sidled så att det lossnar från skåran (Figur 16).

Tryck spaken framåt för att sänka klipphöjden eller dra den bakåt för att höja den (Figur 16).
Släpp reglaget i önskat läge och kontrollera att det sitter ordentligt i en av de sju skårorna (Figur 16).
| Höjdinställning | Klipphöjd |
| 1 | 13,0 mm |
| 2 | 20,8 mm |
| 3 | 28,7 mm |
| 4 | 36,5 mm |
| 5 | 44,3 mm |
| 6 | 52,2 mm |
| 7 | 60,0 mm |
Ytterligare sex höjder kan ställas in med hjälp av MatchCut-höjdinställningen. Med den här funktionen kan väljarplåten för klipphöjd justeras med halva steg.
Lossa väljarplåtens fästskruv med en insexnyckel (Figur 17).

Vrid MatchCut-justeraren 180° (Figur 17 och Figur 18).
Note: En indikator längst ned på väljarplåten anger när MatchCut är aktiverad.

Dra åt väljarplåtens fästskruv för att fixera väljarplåten för klipphöjd på plats.
| Höjdinställning (med MatchCut) | Klipphöjd |
| 1,5 | 16,9 mm(11/16 tum) |
| 2,5 | 24.8 mm (1") |
| 3,5 | 32,6 mm (1-¼") |
| 4,5 | 40,4 mm(1 9/16 tum) |
| 5,5 | 48,3 mm(1 ⅞ tum) |
| 6,5 | 56,1 mm(2 3/16 tum) |
Säkerställ att batteripaketen är monterade i maskinen. Se Montera ett batteripaket.
För in knappen till den elektriska startmotorn [se Hitta knappen till den elektriska startmotorn] i den elektriska startbrytaren (A i Figur 19).
Kläm ihop knivstyrstången och håll den mot handtaget (B i Figur 19).
Tryck på knappen till den elektriska startmotorn tills maskinen startar och kniven börjar snurra (C i Figur 19).

Om du vill använda självdrivningen trycker du på och släpper upp knappen till den elektriska startmotorn och kopplar sedan in självdrivningsstången inom 15 sekunder (Figur 20).
Note: Om självdrivningsstången släpps upp kan du aktivera självdrivningen igen utan att behöva trycka på knappen till den elektriska startmotorn om stången är inkopplad inom 15 sekunder.

Maskinens markhastighet kan justeras med hastighetsreglaget. Se Välja självdrivningshastighet.
Släpp självdrivningsstången för att koppla ur självdrivningen.
När självdrivningsstången är urkopplad kan gräsklipparen knuffas. Den här funktionen är användbar vid klippning i trånga utrymmen.
Släpp knivstyrstången (A i Figur 21).
Important: När du släpper knivstyrstången ska kniven stanna inom tre sekunder. Om den inte stannar ordentligt ska du genast sluta att använda maskinen och kontakta en auktoriserad Toro-återförsäljare.
Avlägsna knappen till den elektriska startmotorn från den elektriska startbrytaren (B i Figur 21).

Note: Ta bort knappen till den elektriska startmotorn och batteripaketen när du inte använder maskinen under en längre tid. Se Före förvaring.
Lyft batterifackets lock.
Tryck på batteripaketets hakar för att frigöra och ta ut batteripaketen.
Stäng batterifackets lock.
Använd gräsuppsamlaren när du vill samla upp gräs- och lövklipp från gräsmattan.
Om gräsuppsamlaren är utsliten kan skräp slungas omkring och orsaka föraren eller omkringstående allvarliga personskador eller leda till dödsfall.
Inspektera gräsuppsamlaren ofta. Byt ut den mot en ny Toro-uppsamlare om den är skadad.
Stäng av maskinen och vänta tills alla rörliga delar har stannat.
Ta bort knappen till den elektriska startmotorn och batteripaketen.
Höj och håll upp den bakre gräsriktaren.
Montera gräsuppsamlaren i rätt läge (Figur 22).

Låt den bakre gräsriktaren luta mot gräsuppsamlaren.
Gräsklipp och andra föremål kan slungas ut genom en öppning i klipparkåpan. Föremål som slungas ut med tillräckligt stor kraft kan skada dig och kringstående allvarligt eller leda till dödsfall.
Öppna aldrig den bakre riktaren på maskinen när maskinen är igång.
Important: Gräsklipparen måste användas med gräsuppsamlaren fastsatt eller den bakre riktaren i stängt läge.
Stäng av maskinen och vänta tills alla rörliga delar har stannat.
Ta bort knappen till den elektriska startmotorn och batteripaketen.
Höj och håll upp den bakre gräsriktaren.
Haka loss gräsuppsamlaren.
Låt den bakre gräsriktaren luta mot klippdäcket.
Undvik att låta kniven gå emot massiva objekt. Kör aldrig avsiktligt över ett föremål.
Montera en ny kniv när klippsäsongen börjar för att garanterat få bästa resultat.
Byt efter behov ut kniven mot en Toro-originalkniv.
Gräs växer i olika takt under året. I sommarvärmen är det lämpligast att klippa gräset vid högsta klipphöjd. Klipp endast en tredjedel av grässtrået åt gången. Klipp inte på lägsta klipphöjd om inte gräset är glest eller om det är sen höst och grästillväxten börjar avta. Förbättra drifttiden genom att klippa gräset med en högre klipphöjd.
Använd knivhastigheten STANDARD och klipp i långsammare hastighet för optimal prestanda, speciellt under krävande förhållanden.
Om du klipper högt gräs kan det vara bra att först klippa med den högsta klipphöjdsinställningen och i en låg hastighet, och sedan klippa en gång till med en lägre klipphöjd som ger bästa klippresultat. Om gräset är för långt och löven klumpar ihop sig på gräsmattan kan klipparen bli igensatt, vilket kan leda till att motorenheten stannar.
Vått gräs och våta löv har en tendens att klumpas ihop på marken, vilket kan leda till motorstopp eller till att maskinen täpps igen. Undvik att klippa under våta förhållanden.
Tänk på brandfaran vid mycket torra förhållanden, följ alla lokala brandvarningar och håll maskinen ren från torrt gräs och löv.
Byta klippriktning. Det underlättar fördelningen av det klippta gräset vilket ger en jämn gödning.
Försök med en eller flera av åtgärderna nedan om du inte är nöjd med klippresultatet:
Slipa kniven.
Klipp med lägre hastighet.
Höj gräsklipparens klipphöjdsinställning.
Klipp gräset oftare.
Överlappa klippsvepningarna istället för att klippa en hel svepning varje gång.
Efter avslutad klippning bör halva gräsmattan synas genom täcket av sönderskurna löv. Det kan vara nödvändigt att gå över löven mer än en gång.
Om lövtäcket på gräsmattan är högre än 13 cm klipper du först på en högre klipphöjd och sedan igen på önskad klipphöjd.
Sänk klipphastigheten om gräsklipparen inte skär löven tillräckligt fint.
Important: Batteripaketet är inte fulladdat när du köper det. Innan du använder verktyget för första gången ska du placera batteripaketet i laddaren och ladda det tills lysdioden indikerar att batteripaketet är färdigladdat. Läs alla säkerhetsanvisningar.
Important: Ladda batteripaketet endast i temperaturer som ligger inom rätt intervall. Se Specifikationer.
Note: När som helst kan du trycka på batteriladdningsindikatorn på batteripaketet för att visa aktuell laddning (lysdioder).
Kontrollera att ventilerna och laddningspolerna på batteripaketet och laddaren är fria från damm och smuts.

Rikta in håligheten i batteripaketet (Figur 23) med spetsen på laddaren.
Skjut in batteripaketet i laddaren tills det sitter ordentligt (Figur 23).
Ta bort batteripaketet genom att dra det bakåt ur laddaren.
Se följande tabell för en beskrivning av batteriladdarens LED-indikatorlampa.
| Indikatorlampa | Anger |
| Av | Batteripaket ej isatt |
| Grönt blinkande ljus | Batteripaketet laddas |
| Grön | Batteripaketet är laddat |
| Röd | Batteripaketets och/eller batteriladdarens temperatur ligger över eller under lämpligt temperaturintervall. |
| Rött blinkande ljus | Laddningsfel för batteripaket* |
* Se för mer information.
Important: Batteripaketet kan lämnas i laddaren under korta perioder mellan användningarna.Om batteripaketet inte kommer att användas under längre perioder ska du ta ut batteripaketet ur laddaren. Se Före förvaring.
| Underhållsintervall | Underhållsförfarande |
|---|---|
| Efter varje användning |
|
Det kan lossna material från under klipparen.
Använd ögonskydd.
Stå kvar i arbetsläget (bakom handtaget) när motorn är igång.
Håll kringstående på avstånd.
För bästa resultat ska du använda snabbtvättsanslutningen för att rengöra maskinen så snart som möjligt när du har slutat att klippa.
Important: Rengör maskinens klippdäck ordentligt omedelbart efter användning på behandlat gräs.
Stäng av maskinen och vänta tills alla rörliga delar har stannat.
Ta bort knappen till den elektriska startmotorn och batteripaketen.
Sänk maskinen till den lägsta klipphöjdsinställningen. Se Justera klipphöjden.
Anslut en trädgårdsslang, som är ansluten till en sötvattenkälla, till snabbtvättsanslutningen (Figur 24).

Vrid på vattnet.
Sätt in knappen till den elektriska startmotorn och batteripaketen, starta maskinen, koppla in kniven och låt den gå tills det inte längre kommer ut något gräsklipp från maskinens undersida.
Important: Rikta inte vatten mot transmissionen.
Stäng av maskinen och vattnet och koppla bort trädgårdsslangen från maskinen.
Starta maskinen och kör den i några minuter för att låta undersidan av maskinen torka så att den inte rostar.
Stäng av maskinen och låt den svalna innan den ställs undan i ett slutet utrymme.
Note: Vänster och höger sida på maskinen är lika med förarens vänstra respektive högra sida vid normal körning.
| Underhållsintervall | Underhållsförfarande |
|---|---|
| Varje användning eller dagligen |
|
| Efter varje användning |
|
| Var 25:e timme |
|
| Årligen |
|
Flytta maskinen till ett plant underlag.
Stäng av maskinen, avlägsna knappen till den elektriska startmotorn och ta ut alla batteripaket ur maskinen.
| Underhållsintervall | Underhållsförfarande |
|---|---|
| Var 25:e timme |
|
Important: Kör inte motorn utan luftfilterenheten. Det leder till mycket stora skador på motorn.
Utför underhållsförberedelserna. Se Underhållsförberedelser.
Lossa och ta bort kåpan och skumfiltret. Rengör båda noggrant (Figur 25).

Montera skumfiltret i den bakre kåpan och montera det på motorenheten.
| Underhållsintervall | Underhållsförfarande |
|---|---|
| Var 25:e timme |
|
Utför de förberedande underhållsprocedurerna. Se Underhållsförberedelser.
Ta bort toppkåpan genom att ta bort fyra skruvar (M6) och en trycknit (Figur 26).

Använd en borste och ta bort eventuellt skräp från transmissionens yta, särskilt transmissionsventilerna (Figur 26).
Important: Försök inte att rengöra transmissionen med vatten eller tryckluft.
Montera kåpan med fästelementen som du tog bort tidigare.
| Underhållsintervall | Underhållsförfarande |
|---|---|
| Var 25:e timme |
|
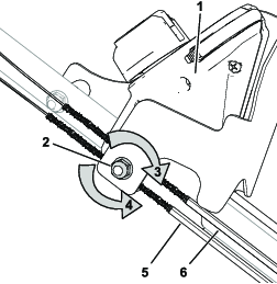
Om du monterar en ny kabel eller om kabeln för den självgående driften eller knivreglaget inte är korrekt inställd kan du justera den.
Vrid justeringsmuttern moturs för att lossa kabeljusteringen (Figur 27).

Justera kabelspänningen (Figur 27) genom att dra dem tillbaka eller trycka dem framåt och sedan hålla dem i det läget.
Vrid justeringsmuttern medurs för att dra åt kabeljusteringen.
Note: Dra åt muttern ordentligt med en hylsa eller skiftnyckel.
Important: Spänn inte kablarna för hårt, annars kan de elektriska reglagebrytarna skadas.
| Underhållsintervall | Underhållsförfarande |
|---|---|
| Varje användning eller dagligen |
|
| Årligen |
|
Important: För att montera kniven korrekt behöver du en momentnyckel. Om du inte har någon momentnyckel eller inte vill utföra den här proceduren kontaktar du en auktoriserad återförsäljare.
Byt omedelbart ut kniven om den är skadad eller sönder. Byt ut kniven eller låt slipa och balansera den om bladet är slött eller repigt.
Kniven är skarp – kontakt med kniven kan orsaka allvarliga personskador.
Använd handskar då du handskas med kniven.
Lägg maskinen på sidan med klipphöjdsreglaget uppåt.
Håll kniven stilla med hjälp av en träkloss (Figur 28).

Ta bort kniven och spara alla monteringsdelar (Figur 28).
Sätt fast den nya kniven och alla monteringsdelar (Figur 29).

Important: Låt knivens böjda del peka mot maskinkåpan.
Använd en momentnyckel för att dra åt knivskruven till 75 Nm.
| Underhållsintervall | Underhållsförfarande |
|---|---|
| Varje användning eller dagligen |
|
| Var 25:e timme |
|
En sliten kniv kan slipas. Båda kniveggarna måste slipas lika mycket så att kniven fortfarande är balanserad.
Ta bort kniven från maskinen. Se Byta ut kniven.
Rengör kniven med en borste och vatten och kontrollera att den inte är skadad.
Slipa båda eggarna med en platt fil.

För in en skruvmejsel i mitthålet och håll kniven horisontellt.
Note: Om kniven är balanserad är den horisontell.

Slipa den tunga änden tills kniven är balanserad.
Note: Om kniven inte är balanserad vrids den tyngre änden nedåt.

Important: När batteripaketet avlägsnas ska polerna täckas över med kraftig tejp. Försök inte att förstöra eller plocka isär batteripaketet eller ta bort någon av dess komponenter.
Kontakta din lokala kommunansvariga eller din auktoriserade Toro-återförsäljare för mer information om hur du kan återvinna batteriet på ett korrekt sätt.
Important: Förvara maskinen, batteripaketet och laddaren endast i temperaturer som ligger inom rätt intervall. Se Specifikationer.
Important: Om du lagrar batteripaketet under lågsäsongen ska du ladda det tills en eller två LED-indikatorer blir gröna på batteriet. Förvara inte ett fulladdat eller helt urladdat batteri. När du är redo att ta maskinen i bruk igen ska batteripaketet laddas tills vänster indikatorlampa på laddaren lyser grönt eller alla fyra lysdioder på batteriet blir gröna.
Koppla bort produkten från strömkällan (dvs. avlägsna batteripaketen och knappen till den elektriska startmotorn) och kontrollera att den inte skadats efter användning.
Förvara inte maskinen eller laddaren med ett batteripaket monterat.
Ta bort allt främmande material från produkten.
När de inte används ska maskinen, knappen till den elektriska startmotorn, batteripaketen och batteriladdarna förvaras utom räckhåll för barn.
Håll maskinen, batteripaketen och batteriladdarna på avstånd från frätande medel, som trädgårdskemikalier och vägsalt.
Minska risken för allvarliga personskador genom att inte förvara batteripaketet utomhus eller i fordon.
Förvara maskinen, batteripaketen och batteriladdarna i ett slutet, rent och torrt utrymme.
Utför endast stegen som beskrivs i de här instruktionerna. Alla övriga inspektioner, underhåll och reparationer får endast utföras av en auktoriserad Toro-återförsäljare eller en liknande behörig specialist, om du inte kan lösa problemet själv.
| Problem | Possible Cause | Corrective Action |
|---|---|---|
| Maskinen startar inte. |
|
|
| Maskinen fungerar inte eller fungerar inte utan avbrott. |
|
|
| Maskinen når inte full effekt. |
|
|
| Batteripaketen laddas snabbt ur. |
|
|
| Batteriladdaren fungerar inte. |
|
|
| LED-indikatorlampan på batteriladdaren är röd. |
|
|
| LED-indikatorlampan på batteriladdaren blinkar rött. |
|
|
| Maskinen producerar ett pipande ljud. |
|
|
| Maskinen självdriver inte. |
|
|
| Maskinen har minskat hastigheten framåt. |
|
|
| Växellådan gör ett annat ljud/en annan ton. |
|
|
| Maskinen eller knivmotorn vibrerar eller låter för mycket. |
|
|
| Skärkvaliteten är nedsatt eller otillfredsställande. |
|
|
| Maskinens uppsamling är försämrad eller inte optimal. |
|
|
| Maskinen skär ojämnt. |
|
|