| Intervalo de assistência | Procedimento de manutenção |
|---|---|
| Após cada utilização |
|
Este cortador de relva com lâmina rotativa e com operador apeado destina-se a ser utilizado por operadores profissionais contratados. Foi, principalmente, concebido para cortar a relva em parques bem mantidos em propriedades residenciais ou comerciais. Foi concebido para utilizar as baterias de iões de lítio Flex-Force Power System®. Estas baterias foram concebidas para serem carregadas apenas por carregadores de baterias de iões de lítio de 60 V Flex-Force™ . Se estas máquinas forem utilizadas para um fim diferente da sua utilização prevista, poderá pôr em perigo o utilizador e outras pessoas.
Leia estas informações cuidadosamente para saber como utilizar e efetuar a manutenção do produto de forma adequada, bem como evitar ferimentos e danos no produto. A utilização correta e segura do produto é da exclusiva responsabilidade do utilizador.
Vá a www.Toro.com para obter mais informações, incluindo dicas de segurança, materiais de formação, informações sobre acessórios, ajuda a encontrar um representante ou a registar o seu produto.
Sempre que necessitar de assistência, peças genuínas Toro ou informações adicionais, entre em contacto com um representante autorizado da Toro ou com o serviço de assistência da Toro, indicando os números de modelo e de série do produto. Figura 1 identifica a localização dos números de série e de modelo no produto. Escreva os números no espaço disponível.

Escreva os números de modelo e de série do produto nos espaços em baixo:
O símbolo de alerta de segurança (Figura 2) mostrado neste manual e na máquina identifica mensagens de segurança importantes que têm de ser seguidas para evitar acidentes.

O símbolo de alerta de segurança surge acima de informações que o alertam para ações ou situações inseguras e será seguido pela palavra PERIGO, AVISO ou CUIDADO.
PERIGO indica uma situação de risco eminente que, se não for evitada, irá resultar em morte ou ferimento grave.
AVISO indica uma situação de risco potencial que, se não for evitada, pode resultar em morte ou ferimento grave.
CUIDADO indica uma situação de risco potencial que, se não for evitada, poderá resultar em ferimento leve ou moderado.
Neste manual são ainda utilizados dois termos para identificar informações importantes. Importante identifica informações especiais de ordem mecânica e Nota sublinha informações gerais que requerem especial atenção.
Não modifique nem desative dispositivos de segurança na máquina e verifique regularmente se estão a funcionar corretamente. Não tente ajustar nem modificar o controlo de velocidade do motor; ao fazê-lo, pode dar origem a condições pouco seguras, que podem resultar em ferimentos pessoais.
Este produto cumpre todas as diretivas europeias relevantes. Para mais informações, consulte a folha de Declaração de conformidade (DOC) em separado, específica do produto.
CALIFÓRNIA
Proposição 65 Aviso
É do conhecimento do Estado da Califórnia que o cabo de alimentação deste produto contém chumbo, químico que pode provocar defeitos congénitos ou outros problemas reprodutivos. Lave as mãos após a utilização.
É do conhecimento do Estado da Califórnia que a utilização deste produto pode causar exposição a químicos que podem provocar cancro, defeitos congénitos ou outros problemas reprodutivos.
Leia todos os avisos, instruções, ilustrações e especificações fornecidos com esta ferramenta elétrica. O não cumprimento de todas as instruções indicadas abaixo pode resultar em choque elétrico, incêndio e/ou ferimentos graves.
Guarde todos os avisos e instruções para referência futura.
O termo "ferramenta elétrica” nos avisos refere-se à sua ferramenta elétrica (com fios) ou à sua ferramenta alimentada por bateria (sem fios).
Segurança da área de trabalho
Mantenha a área de trabalho limpa e bem iluminada. Áreas desorganizadas ou escuras são propícias a acidentes.
Não utilize máquinas elétricas em atmosferas explosivas como, por exemplo, na presença de líquidos, gases ou poeiras inflamáveis. As ferramentas elétricas criam faíscas que podem inflamar a poeira ou os fumos.
Mantenha as crianças e outras pessoas presentes afastadas enquanto utiliza a máquina elétrica. As distrações podem causar a perda de controlo.
Segurança elétrica
A(s) ficha(s) da ferramenta elétrica deve(m) corresponder à tomada. Nunca modifique uma ficha de forma alguma. Não utilize quaisquer adaptadores com ferramentas elétricas com ligação à terra. A utilização de fichas não modificadas e de tomadas adequadas reduz o risco de choques elétricos.
Evite contacto corporal com superfícies com ligação à terra, tais como canos, radiadores, fogões e frigoríficos. Existe um risco acrescido de choque elétrico se o seu corpo estiver com ligação à terra.
Não deixe ferramentas elétricas à chuva ou sob condições húmidas. A entrada de água numa ferramenta elétrica aumenta o risco de choque elétrico.
Não esforce o cabo. Nunca utilize o cabo para carregar, puxar ou desligar da tomada. Mantenha o cabo afastado do calor, óleos, extremidades afiadas ou peças em movimento. Os cabos danificados ou emaranhados aumentam o risco de choque elétrico.
Quando utilizar uma ferramenta elétrica ao ar livre, utilize um cabo de extensão adequado para utilização ao ar livre. A utilização de um cabo adequado para o ar livre reduz o risco de choque elétrico.
Se não for possível evitar a utilização de uma ferramenta elétrica num local húmido, utilize uma fonte de alimentação protegida com um disjuntor diferencial. A utilização de um disjuntor diferencial reduz o risco de choque elétrico.
Segurança pessoal
Esteja alerta. Observe o que está a fazer e utilize o bom senso ao utilizar a máquina. Não utilize uma ferramenta elétrica quando estiver cansado ou sob a influência de drogas, álcool ou medicação. Um momento de falta de atenção enquanto utiliza a ferramenta elétrica pode resultar em ferimentos graves.
Utilize equipamento de proteção pessoal. Utilize sempre proteção ocular. A utilização de equipamento de proteção como, por exemplo, máscara antipó, calçado de segurança antiderrapante, capacete de segurança ou proteção auricular em situações adequadas reduz o risco de ferimentos.
Prevenção de arranque involuntário. Certifique-se de que o interruptor está na posição OFF (desligar) antes de ligar a fonte de alimentação e/ou a bateria, pegar ou transportar a ferramenta. Transportar ferramentas elétricas com o seu dedo no interruptor ou carregar ferramentas elétricas com o interruptor ligado propicia acidentes.
Retire quaisquer chaves da ferramenta elétrica antes de a ligar. Uma chave deixada numa peça móvel da ferramenta elétrica pode causar ferimentos pessoais.
Não ultrapasse os limites. Mantenha sempre o equilíbrio e a estabilidade. Isto fará com que tenha um melhor controlo sobre a ferramenta elétrica em situações inesperadas.
Vista-se de forma adequada. Não use roupas largas nem joalharia. Mantenha o seu cabelo e roupas afastados de peças em movimento. As roupas largas, joalharia ou cabelos compridos podem ficar presos em peças em movimento.
Se forem fornecidos dispositivos de recolha e armazenamento de poeiras, certifique-se de que estão encaixados e são utilizados corretamente. A utilização de dispositivos de recolha de poeiras pode reduzir riscos relacionados com poeiras.
Não deixe que o facto de estar familiarizado com a utilização da máquina permita que se torne complacente e ignore os princípios de segurança da ferramenta. Um comportamento descuidado pode causar ferimentos graves numa fração de segundo.
Utilização e segurança da ferramenta elétrica
Não force a ferramenta elétrica. Utilize a ferramenta elétrica correta para a sua aplicação. A ferramenta elétrica correta fará o trabalho melhor e de forma mais segura ao ritmo para o qual foi concebida.
Não utilize a ferramenta elétrica se o interruptor não a ligar e desligar. Qualquer ferramenta elétrica que não possa ser controlada com o interruptor é perigosa e deve ser reparada.
Desligue a ficha da fonte de alimentação e/ou remova a bateria (se amovível) da ferramenta elétrica antes de efetuar quaisquer ajustes, trocar de acessórios ou armazenar a ferramenta elétrica. Estas medidas de segurança preventivas reduzem o risco de ligar a ferramenta elétrica acidentalmente.
Guarde as ferramentas elétricas inativas fora do alcance das crianças e não permita que pessoas não familiarizadas com a ferramenta elétrica ou com estas instruções utilizem a ferramenta elétrica. As ferramentas elétricas são perigosas nas mãos de utilizadores sem formação.
Manutenção de ferramentas elétricas e acessórios. Verifique se as peças móveis estão desalinhadas ou encravadas, se existem peças partidas e quaisquer outras condições que possam afetar a utilização da ferramenta elétrica. Se estiver danificada, mande reparar a ferramenta elétrica antes de a utilizar. Muitos acidentes são causados devido a uma manutenção deficiente da ferramenta elétrica.
Mantenha as ferramentas cortantes afiadas e limpas. A manutenção adequada de ferramentas cortantes, mantendo-as afiadas, reduz o risco de encravamento e facilita o controlo das ferramentas.
Utilize a ferramenta elétrica, os acessórios, as brocas, etc. de acordo com estas instruções, tendo em conta as condições de trabalho e o trabalho a ser efetuado. A utilização da ferramenta elétrica para utilizações diferentes das previstas pode resultar em situações perigosas.
Mantenha as pegas e as superfícies de agarrar secas, limpas e sem óleo ou lubrificante. As pegas e superfícies de agarras escorregadias não permitem uma utilização e controlo seguros da ferramenta em situações inesperadas.
Utilização e segurança da ferramenta alimentada por bateria
Recarregue a bateria apenas com o carregador indicado pelo fabricante. Um carregador adequado a um tipo de bateria pode criar um risco de incêndio quando usado com outra bateria.
Utilize ferramentas elétricas apenas com as baterias indicadas. A utilização de outras baterias pode criar um risco de incêndio e ferimentos.
Quando a bateria não estiver a ser utilizada, mantenha-a afastada de outros objetos de metal como, por exemplo, clipes de papel, moedas, chaves, pregos e outros objetos de metal pequenos que possam fazer uma ligação entre um terminal e o outro. O curto-circuito dos terminais da bateria pode causar queimaduras ou incêndio.
Sob condições abusivas, a bateria pode ejetar liquido; evite o contacto. Se, acidentalmente, ocorrer contacto, lave com água. Se o líquido entrar em contacto com os olhos, procure ajuda médica. O líquido ejetado da bateria pode causar irritação ou queimaduras.
Não utilize uma bateria ou ferramenta danificada ou modificada. As baterias danificadas ou modificadas podem apresentar comportamentos imprevisíveis, resultando em incêndios, explosões ou risco de ferimentos.
Não exponha uma bateria ou ferramenta ao fogo ou temperaturas excessivas. A exposição a temperaturas acima dos 130°C pode causar uma explosão.
Siga todas as instruções de carregamento e não carregue a bateria ou ferramenta fora do intervalo de temperaturas indicado nas instruções. Carregar a bateria incorretamente ou a temperaturas fora do intervalo indicado pode danificar a bateria e aumentar o risco de incêndio.
Manutenção
A manutenção da sua ferramenta elétrica deve ser efetuada por um profissional qualificado, utilizando apenas peças de substituição idênticas. Isto garantirá que a segurança da ferramenta elétrica é mantida.
Nunca efetue a manutenção de baterias danificadas. A manutenção de baterias deve ser efetuada apenas pelo fabricante ou por distribuidores autorizados.
Não utilize o cortador de relva em condições húmidas ou à chuva. Isto aumenta o risco de choque elétrico.
Não utilize o cortador de relva em condições atmosféricas adversas, especialmente quando existe o risco de trovoada. Isto diminui o risco de ser atingido por um raio.
Inspecione minuciosamente a área onde o cortador de relva vai ser utilizado para detetar a presença de vida selvagem. Os animais selvagens podem ser feridos pelo cortador de relva durante a sua utilização.
Examine minuciosamente a área onde irá utilizar o cortador de relva e remova pedras, paus, arames, ossos e qualquer outro objeto estranho. Os objetos projetados podem causar ferimentos.
Antes de utilizar o cortador de relva, inspecione sempre a lâmina e o conjunto da lâmina para verificar se nada se encontra desgastado ou danificado. Peças desgastadas ou danificadas aumentam o risco de ferimentos.
Verifique frequentemente o nível de desgaste ou deterioração do depósito de recolha de relva. Um depósito de recolha de relva desgastado ou danificado pode aumentar o risco de ferimentos pessoais.
Mantenha as proteções no devido lugar. As proteções devem estar em condições de funcionamento e montadas de forma adequada. Uma proteção solta, danificada ou que não funcione corretamente pode causar danos pessoais.
Mantenha todas as entradas de ar de arrefecimento limpas, sem detritos. As entradas de ar bloqueadas, bem como os detritos, podem causar sobreaquecimento ou risco de incêndio.
Enquanto opera o cortador de relva, utilize sempre calçado de segurança antiderrapante. Não utilize o cortador de relva descalço ou com sandálias. Isto reduz a probabilidade de ferimentos nos pés a partir do contacto com uma lâmina em movimento.
Utilize sempre calças compridas quando utilizar o cortador de relva. A pele exposta aumenta a probabilidade de ferimentos causados por objetos projetados.
Não utilize o cortador de relva em relva húmida. Ande, nunca corra. Isto reduz o risco de escorregar e cair, o que pode causar ferimentos.
Não opere o cortador de relva em declives muito inclinados. Isto reduz o risco de perda de controlo, e de escorregar e cair, o que pode causar ferimentos.
Quando trabalhar em declives, certifique-se sempre de que está equilibrado, trabalhe sempre ao longo da superfície dos declives, nunca para cima ou para baixo e seja extremamente cauteloso quando mudar de direção. Isto reduz o risco de perda de controlo, e de escorregar e cair, o que pode causar ferimentos.
Tenha muito cuidado ao fazer marcha-atrás ou ao empurrar o cortador de relva na sua direção. Esteja sempre atento ao ambiente que o rodeia. Isto reduz o risco de tropeçar quando utiliza o cortador de relva.
Não toque nas lâminas nem noutras peças móveis perigosas quando ainda estiverem em movimento. Isto reduz o risco de ferimentos causados pelas peças em movimento.
Quando limpar material encravado ou o cortador de relva, certifique-se de que todos os interruptores e a bateria estão desligados. Um arranque inesperado do cortador de relva pode causar ferimentos graves.
Formação
O operador da máquina é responsável por quaisquer acidentes ou riscos que ocorram aos outros ou à sua propriedade.
Não permita que crianças utilizem ou brinquem com a máquina, bateria ou carregador da bateria; os regulamentos locais podem restringir a idade do operador.
Não permita que pessoas com capacidades físicas, sensoriais ou mentais reduzidas ou sem experiência e conhecimento utilizem a máquina, bateria ou carregador da bateria, a não ser que recebam instruções ou supervisão sobre como a utilizar em segurança e que conheçam os riscos envolvidos durante a sua utilização.
Antes da utilização da bateria e do carregador da bateria, leia todas as instruções e sinais de prudência sobre estes produtos.
Preparação
Substitua qualquer autocolante danificado ou ilegível.
Utilize apenas a bateria indicada pela Toro. Utilizar outros acessórios pode aumentar o risco de ferimentos e incêndio.
Ligar o carregador da bateria a uma tomada que não seja de tensão correta pode causar um incêndio ou choque elétrico. Para um tipo de ligação diferente, utilize um adaptador de tomada com a configuração correta da se necessário.
Não utilize uma bateria ou carregador danificado ou alterado, o que pode apresentar um comportamento imprevisível dando origem a incêndio, explosão ou risco de ferimento.
Se o cabo de alimentação do carregador da bateria estiver danificado, contacte um representante de assistência autorizado para o substituir.
Não utilize baterias não recarregáveis.
Carregue a bateria apenas no carregador indicado pela Toro. Um carregador adequado a um tipo de bateria pode criar um risco de incêndio quando usado com outra bateria.
Carregue a bateria apenas numa área bem ventilada.
Não exponha uma bateria ou carregador de baterias ao fogo ou a temperaturas superiores a 68°C.
Siga todas as instruções de carregamento e não carregue a bateria fora do intervalo de temperaturas indicado nas instruções. Caso contrário, pode danificar a bateria e aumentar o risco de incêndio.
Funcionamento
Mantenha-se afastado de qualquer abertura de descarga.
Desengate a transmissão autopropulsora (se instalada) antes de ligar a máquina.
Evite o arranque acidental – certifique-se de que o botão de arranque elétrico é removido da ignição antes de ligar a bateria e manusear a máquina.
Pare a máquina, remova o botão de arranque elétrico, remova a bateria da máquina e aguarde que todas as peças em movimento parem antes de prestar assistência ou limpar a máquina.
Remova a bateria e o botão de arranque elétrico da máquina sempre que se afastar dela ou antes de substituir acessórios.
Não direcione o material de descarga para ninguém. Evite descarregar o material contra uma parede ou obstrução, uma vez que o material pode fazer ricochete em direção do operador. Pare a(s) lâmina(s) quando atravessar superfícies de gravilha.
Esteja atento a buracos, carreiras, elevações, pedras ou outros objetos ocultos. O terreno desnivelado pode fazer com que perca o equilíbrio ou a posição.
Se a máquina atingir um objeto ou começar a vibrar, pare imediatamente a máquina, retire o botão de arranque elétrico, retire a bateria, espere que todas as peças móveis parem antes de inspecionar a máquina para ver se está danificada. Efetue todas as reparações necessárias antes de retomar o funcionamento.
Pare a máquina e remova o botão de arranque elétrico antes de carregar a máquina para transporte.
Em condições abusivas, a bateria pode ejetar líquido; evite o contacto. Se acidentalmente entrar em contacto com o líquido, lave com água. Se o líquido entrar em contacto com os olhos, procure ajuda médica. O líquido ejetado da bateria pode causar irritação ou queimaduras.
Manutenção e armazenamento
Pare a máquina, remova o botão de arranque elétrico, remova a bateria da máquina e aguarde que todas as peças em movimento parem antes de prestar assistência ou limpar a máquina.
Não tente reparar a máquina, excepto se indicado nas instruções. Peça a um representante de assistência autorizado para realizar a assistência na máquina utilizando peças de substituição idênticas.
Afie uma lâmina romba em ambos os lados para manter o equilíbrio. Limpe a lâmina e certifique-se de que está equilibrada.
Ao prestar assistência à lâmina, tenha cuidado que a lâmina se pode mover mesmo com a alimentação desligada.
Para o desempenho ideal, utilize apenas peças de substituição e acessórios genuínos Toro. As peças de substituição e acessórios de outros fabricantes podem ser perigosos e essa utilização anula a garantia.
Mantenha a máquina – mantenha as extremidades de corte afiadas e limpas para um desempenho melhor e mais seguro. Mantenha as pegas secas, limpas e sem óleo ou lubrificante. Mantenha os resguardos instalados e em correto funcionamento. Mantenha as lâminas afiadas. Utilize apenas lâminas de substituição idênticas.
Exceto se indicado nas instruções, peça a um representante de assistência autorizado para reparar ou substituir um resguardo ou peça danificado.
Quando a bateria não estiver a ser utilizada, mantenha-a afastada de objetos de metal como, por exemplo, clipes de papel, moedas, chaves, pregos e parafusos que possam fazer uma ligação entre um terminal e o outro. O curto circuito dos terminais da bateria pode causar queimaduras ou incêndio.
Verifique frequentemente o aperto dos parafusos de montagem da lâmina e do motor.
CUIDADO – uma bateria tratada indevidamente pode apresentar um risco de incêndio ou queimadura química. Não desmonte a bateria. Não aqueça a bateria a mais de 68°C nem a queime. Substitua a bateria apenas por uma bateria Toro genuína; utilizar outro tipo de bateria pode causar um incêndio ou uma explosão. Mantenha as baterias fora do alcance das crianças e na embalagem original até que esteja pronto para as utilizar.
Não deite fora a bateria para um fogo. A célula pode explodir. Consulte os códigos locais acerca de possíveis instruções especiais de eliminação.
![]() |
Os autocolantes de segurança e de instruções são facilmente visíveis e situam-se próximo das zonas de potencial perigo. Substitua todos os autocolantes danificados ou perdidos. |








Important: Retire e deite fora a película de plástico protetora que cobre o motor.
Peças necessárias para este passo:
| Tampa do compartimento da bateria | 1 |
Alinhe os fechos da tampa com as ranhuras e empurre para baixo para prender a tampa no lugar.

Peças necessárias para este passo:
| Barra da pega inferior | 2 |
| Placa de fixação | 2 |
| Fixação da barra da pega | 2 |
| Parafuso curto | 2 |
| Anilha de cabeça chata | 4 |
| Porca de bloqueio | 8 |
| Barra da pega superior | 1 |
| Anilha de copo | 6 |
| Parafuso comprido | 4 |
| Porca cega | 6 |
Montar a pega inadequadamente pode danificar os cabos criando uma condição de funcionamento insegura.
Não danifique os cabos quando estiver a montar a pega.
Certifique-se de que os cabos estão encaminhados para o interior da pega e que não prendem o defletor traseiro.
Se um cabo estiver danificado, contacte o seu representante autorizado da Toro.
Remova as porcas de bloqueio dos dois parafusos expostos na parte superior da plataforma.
Instale a barra da pega inferior em cada lado da parte superior da plataforma do cortador com uma placa de fixação e com as porcas de bloqueio removidas da plataforma no passo anterior (1).
Note: Os tubos da barra da pega inferior têm uma curva na secção intermédia; certifique-se de que os tubos estão encaixados de forma a que a secção dobrada do tubo fique virada para o solo.

Instale a parte inferior das fixações das pegas a cada lado da plataforma do cortador utilizando um parafuso, anilhas chatas no interior e exterior da plataforma e uma porca de bloqueio (Figura 5).

Instale a barra da pega superior e a parte superior das fixações das pegas nas barras das pegas inferiores com três anilhas de copo, dois parafusos compridos e duas porcas de bloqueio em cada lado (Figura 6).

Instale porcas cegas em todas as porcas expostas nas barras das pegas.
Peças necessárias para este passo:
| Saco de relva | 1 |
| Estrutura do saco de relva | 1 |



A velocidade de avanço da máquina é controlada pelo sistema MatchDrive® e tem 3 configurações fixas e uma opção de velocidade variável. Configurar a velocidade de autopropulsão da máquina permite que os utilizadores de várias máquinas obtenham uma qualidade de corte e um nível de desempenho consistentes.
Prima o botão de controlo de seleção de velocidade no painel de controlo da cabeça elétrica para alternar entre as configurações de velocidade fixa. Uma luz acender-se-á por baixo da configuração de velocidade selecionada:
I – Lenta – 3,0 km/h
II – Média – 4,0 km/h
III – Rápida – 5,2 km/h

A configuração IV (Figura 11) no botão de seleção de velocidade permite-lhe controlar a velocidade da máquina utilizando a roda de controlo no botão de arranque elétrico. Rode a roda para a direita para aumentar a velocidade e rode-a para a esquerda para diminuir a velocidade, de uma velocidade mínima de 1,6 km/h até à velocidade máxima de 5,6 km/h.

Esta máquina possui duas configurações da velocidade da lâmina: STANDARD (de série) e ECO (modo económico).
Quando definida na configuração STANDARD (de série), a velocidade da lâmina é definida está sempre definida numa velocidade fixa.
Quando definida na configuração ECO (modo económico), a velocidade da lâmina permanece sempre na sua velocidade mínima (exceto se a máquina for submetida a cargas pesadas). Esta é a velocidade ideal para efetuar a monda (mulching) das aparas de relva após o corte, e é a forma mais eficiente de utilizar a bateria.
| Configuração da velocidade da lâmina | Velocidade (rpm) |
| STANDARD (de série) | 2800 |
| ECO (modo económico) | 2400 |
A máquina inicia automaticamente na configuração STANDARD (de série). Prima o botão de velocidade da lâmina no painel de controlo da cabeça elétrica para alterar as configurações de velocidade da lâmina (Figura 13).

O painel de controlo da cabeça elétrica tem várias luzes de aviso e exibe o estado atual da bateria.
Se existir uma avaria na caixa de velocidades, 4 luzes de aviso irão piscar (A da Figura 14; consulte a secção .
O painel de estado das baterias utiliza luzes para indicar nível de carga das baterias e caso ocorram problemas ou erros com as baterias (B da Figura 14). Se as baterias estiverem fracas (menos de 10%), a parte inferior das 4 luzes que indicam o nível de carga das baterias piscarão.
Se houver uma avaria com uma bateria, as luzes de erro piscarão na parte inferior do painel de estado das baterias (B da Figura 14). A luz de erro esquerda corresponde à bateria esquerda (vista a partir da posição do operador), e a luz de erro direita corresponde à bateria direita.

|
Modelo |
Largura de corte |
Comprimento |
Largura |
Altura |
Peso |
|---|---|---|---|---|---|
|
02660T | 56 cm | 175,5 cm | 61 cm | 103 cm | 59 kg |
| (24 inches) | (40,6 inches) |
|
Carregamento ou armazenamento da bateria |
Utilização da bateria |
Utilização da máquina |
|---|---|---|
|
5°C a 40°C* |
-30°C a 49°C* |
0°C a 49°C* |
*Os tempos de carregamento podem aumentar se não carregar a(s) bateria(s) dentro dos intervalos de temperatura especificados.
Guarde a máquina, a(s) bateria(s) e o carregador da(s) bateria(s) numa área fechada, limpa e seca.
Está disponível uma seleção de acessórios aprovados pela Toro para utilização com a máquina, para melhorar e expandir as suas capacidades. Contacte o seu representante de assistência autorizado ou distribuidor Toro autorizado ou vá a www.Toro.com para obter uma lista de todos os acessórios aprovados.
Para assegurar o desempenho ideal e certificação de segurança continuada da máquina, utilize sempre peças de substituição e acessórios genuínos Toro. A utilização de peças de substituição e acessórios fabricados por outros fabricantes pode ser perigosa.
Important: Utilize a(s) bateria(s) apenas em temperaturas que estejam dentro do intervalo adequado; consulte a secção Especificações.
Certifique-se de que o botão de arranque elétrico não está instalado na máquina.
Certifique-se de que as ventilações da(s) bateria(s) estão sem qualquer sujidade ou detrito.
Eleve a tampa do compartimento da bateria (A de Figura 15).
Alinhe a cavidade da(s) bateria(s) com os ressaltos na máquina e deslize a bateria para o compartimento até que encaixe no sítio (B da Figura 15).
Feche a tampa do compartimento da bateria (C de Figura 15).
Note: Se a tampa do compartimento da(s) bateria(s) não fechar completamente, a(s) bateria(s) não está(ão) totalmente instalada(s).A máquina pode ser utilizada com 1 ou 2 baterias instaladas.

Por questões de segurança, o botão de arranque elétrico está armazenado no compartimento da(s) bateria(s). Remova-o do compartimento e armazene-o num lugar seguro antes da montagem.
Ajustar as alavancas de altura de corte pode fazer com que as mãos toquem na lâmina em movimento, provocando ferimentos graves.
Desligue o motor, retire a(s) bateria(s) e aguarde que todas as peças em movimento parem antes de ajustar a altura de corte.
Não coloque os dedos por baixo da caixa quando está a ajustar a altura de corte.
Segure a alavanca da altura de corte e puxe-a para os lados para a desengatar da aleta de bloqueio (Figura 16).

Empurre a alavanca para a frente para descer ou puxe-a para trás para subir a altura de corte (Figura 16).
Solte a alavanca na posição desejada e certifique-se de que bloqueia firmemente em uma das sete aletas (Figura 16).
| Definição da altura | Altura de corte |
| 1 | 13 mm |
| 2 | 20,8 mm |
| 3 | 28.7 mm |
| 4 | 36,5 mm |
| 5 | 44,3 mm |
| 6 | 52,2 mm |
| 7 | 60 mm |
Podem obter-se seis configurações de altura adicionais utilizando a configuração de altura de ajuste de corte. Esta função permite que a placa do seletor de altura de corte seja ajustada apenas em meia configuração.
Desaperte o parafuso de retenção da placa do seletor com uma chave Allen (Figura 17).

Rode o ajustador do sistema MatchChut em 180° (Figura 17 e Figura 18).
Note: Surge um indicador na parte inferior da placa do seletor, realçando quando o ajuste de corte está configurado.

Aperte o parafuso de retenção da placa do seletor para corrigir a placa do seletor da altura de corte para a posição pretendida.
| Configuração da altura (com sistema MatchCut) | Altura de corte |
| 1,5 | 16,9 mm |
| 2,5 | 24,8 mm |
| 3,5 | 32,6 mm |
| 4,5 | 40,4 mm |
| 5,5 | 48,3 mm |
| 6,5 | 56,1 mm |
Certifique-se de que a(s) bateria(s) está(ão) instalada(s) na máquina; consulte a secçãoInstalação da(s) bateria(s).
Insira o botão de arranque elétrico [consulte a secção Localização do botão de arranque elétrico] no interruptor de arranque elétrico (A da Figura 19).
Insira a barra de controlo da lâmina e segure-a contra a pega (B de Figura 19).
Prima o botão de arranque elétrico até que a máquina ligue e a lâmina comece a girar (C da Figura 19).

Para operar a transmissão autopropulsora, prima e solte o botão de arranque elétrico e depois engate a barra de transmissão autopropulsora no espaço de 15 segundos (Figura 20).
Note: Se a barra de transmissão autopropulsora for solta, pode engatar a transmissão autopropulsora novamente sem precisar de premir o botão de arranque elétrico, caso a barra seja engatada no espaço de 15 segundos.

A velocidade no solo da máquina pode ser ajustada através do controlo da velocidade variável; consulte a secção Selecionar a velocidade de autopropulsão.
Para desativar a transmissão autopropulsora, solte a barra de transmissão autopropulsora.
Quando a barra de transmissão autopropulsora estiver desengatada, o cortador pode ser empurrado. Esta funcionalidade é útil para cortar áreas confinadas.
Liberte a barra de controlo da lâmina (A de Figura 21).
Important: Quando soltar a barra de controlo da lâmina, a lâmina deve parar passados 3 segundos. Se não parar de forma adequada, pare imediatamente de utilizar o cortador e contacte um representate autorizado. da Toro.
Remova o botão de arranque elétrico do interruptor de arranque elétrico (B daFigura 21).

Note: Sempre que não pretender utilizar a máquina durante períodos prolongados, remova o botão de arranque elétrico. e a(s) bateria(s); consulte a secção Antes do armazenamento.
Eleve a tampa do compartimento da(s) bateria(s).
Prima o trinco da(s) bateria(s) para libertar a(s) bateria(s) e remover a(s) bateria(s).
Feche a tampa do compartimento da bateria.
Utilize o saco de relva quando quiser recolher as aparas de relva e de folhas do relvado.
Um saco de relva gasto pode permitir que detritos sejam projetados, o que pode resultar em lesões pessoais graves ou morte do operador ou de alguém que esteja por perto.
Inspecione o saco de relva frequentemente. Se estiver danificado, instale um saco de substituição Toro.
Desligue a máquina e espere que todas as peças em movimento parem.
Remova o botão de arranque elétrico e a(s) bateria(s).
Faça subir e mantenha elevado o defletor traseiro.
Instale o saco de relva na sua posição (Figura 22).

Deixe o defletor traseiro apoiar no saco.
A máquina pode projetar aparas de relva e outros objetos através de uma abertura na estrutura. Os objetos projetados com força suficiente podem causar ferimentos graves ou morte ao operador ou pessoas na área.
Nunca abra o defletor traseiro quando a máquina estiver ligada.
Important: O cortador deve ser utilizador com o saco de relva montado ou com o defletor traseiro na posição "fechada".
Desligue a máquina e espere que todas as peças em movimento parem.
Remova o botão de arranque elétrico e a(s) bateria(s).
Faça subir e mantenha elevado o defletor traseiro.
Desengatar o saco de relva.
Deixe o defletor traseiro apoiar na plataforma.
Evite atingir objetos sólidos com a lâmina. Nunca corte a relva deliberadamente por cima de um objeto.
Para um melhor desempenho, instale uma lâmina nova antes de começar a estação de corte.
Substitua a lâmina sempre que necessário por uma lâmina de substituição da Toro.
A relva cresce a ritmos diferentes ao longo do ano. No verão, com o calor, é preferível cortar a relva à altura de corte mais elevada. Corte apenas um terço da lâmina de relva de cada vez. Não corte com a altura de corte mais baixa, a menos que a relva seja escassa ou esteja no fim do outono, quando a relva começa a crescer mais lentamente. Para tempos de funcionamento melhorados, corte a relva a uma altura de corte superior.
Para um desempenha otimizado, em particular sob condições desafiantes, utilize a configuração de velocidade da lâmina STANDARD (padrão) e corte a um ritmo mais lento.
Quanto cortar relva alta, corte com a configuração de corte mais elevada e devagar; em seguida volte a cortar com a configuração mais baixa para que o relvado fique com ótimo aspeto. Se a relva estiver muito comprida e as folhas se acumularem em cima do relvado, a máquina pode entupir e causar uma falha na cabeça elétrica da máquina.
A relva e as folhas molhadas tendem a acumular-se no jardim e podem fazer com a máquina encrave e o motor vá abaixo. Evite cortar em condições de humidade.
Tenha em atenção o perigo de incêndio em condições muito secas, siga todos os avisos locais de incêndio e mantenha a máquina sem relva seca e detritos.
Alterne a direção de corte. Isto ajuda a dispersar as aparas pelo relvado para uma fertilização uniforme.
Se, depois de cortar, o aspeto do relvado não for satisfatório, tente fazer o seguinte:
Afie a lâmina.
Corte a uma velocidade mais lenta.
Aumente a altura de corte na máquina.
Corte a relva com mais frequência.
Sobreponha as filas de corte em vez de cortar uma fila inteira em cada passagem.
Depois de cortar o relvado certifique-se de que metade do relvado se vê através da cobertura de folhas cortadas. Pode ter que passar mais de que uma vez por cima das folhas.
Se houver mais de 13 cm de folhas no relvado, corte a uma altura de corte superior e, em seguida, na altura de corte desejada.
Reduza a velocidade de corte se a máquina não cortar as folhas suficientemente finas.
Important: A bateria não está totalmente carregada quando a adquire. Antes de utilizar a ferramenta pela primeira vez, coloque a bateria no carregador e carregue-a até que o indicador LED indique que a bateria está totalmente carregada. Leia todas as precauções de segurança.
Important: Carregue a bateria apenas em temperaturas que estejam dentro do intervalo adequado; consulte Especificações.
Note: A qualquer altura, prima o botão do indicador de carga da bateria na bateria para visualizar a carga atual (indicadores LED).
Certifique-se de que as ventilações da(s) bateria(s) e os terminais de carregamento da(s) bateria(s) e o carregador estão sem qualquer sujidade ou detritos.

Alinhe a cavidade na bateria (Figura 23) com o ressalto no carregador.
Deslize a bateria para o carregador até que fique totalmente encaixada (Figura 23).
Para remover a bateria, deslize a bateria para trás e para fora do carregador.
Consulte a tabela seguinte para interpretar a luz indicadora LED no carregador da bateria.
| Luz indicadora | Indica |
| Desligar | Nenhuma bateria inserida |
| Verde a piscar | A bateria está a carregar |
| Verde | A bateria está carregada |
| Vermelho | A bateria e/ou carregador está acima ou abaixo do intervalo de temperatura indicado |
| Vermelho a piscar | Falha de carga da bateria* |
*Consulte para mais informações.
Important: A bateria pode ser deixada no carregador por curtos períodos entre utilizações.Se não for utilizar a bateria durante longos períodos, retire a bateria do carregador; consulte a secção Antes do armazenamento.
| Intervalo de assistência | Procedimento de manutenção |
|---|---|
| Após cada utilização |
|
A máquina pode deslocar material de debaixo da máquina.
Proteja devidamente os olhos.
Mantenha-se na posição de operação (atrás da pega) quando o motor estiver a trabalhar.
Não autorize a presença de pessoas na área.
Para obter melhores resultados, utilize a porta de lavagem rápida para limpar a máquina imediatamente após terminar de cortar.
Important: Limpe aprofundadamente a plataforma do cortador imediatamente após o utilizar em relva tratada.
Desligue a máquina e espere que todas as peças em movimento parem.
Remova o botão de arranque elétrico e a(s) bateria(s).
Desça a máquina para a altura de corte mais baixa; consulte Ajuste da altura de corte.
Ligue uma mangueira de jardim, ligada a uma torneira, à porta de lavagem rápida (Figura 24).

Abra a torneira.
Insira o botão de arranque elétrico e a(s) bateria(s), ligue a máquina, engate a lâmina e deixe-a a trabalhar até deixarem de sair aparas por baixo da máquina.
Important: Não direcione a água para a transmissão.
Desligue a máquina, feche a água e desligue a mangueira da máquina.
Ligue a máquina e deixe-a a funcionar durante alguns minutos para secar a parte de baixo da máquina e evitar que enferruje.
Desligue a máquina e espere que esta arrefeça antes de a guardar num ambiente fechado.
Note: Determine os lados direito e esquerdo da máquina a partir da posição normal de utilização.
| Intervalo de assistência | Procedimento de manutenção |
|---|---|
| Em todas as utilizações ou diariamente |
|
| Após cada utilização |
|
| A cada 25 horas |
|
| Anualmente |
|
Leve a máquina para uma superfície nivelada.
Desligue a máquina, remova o botão de arranque elétrico e retire todas as baterias da máquina.
| Intervalo de assistência | Procedimento de manutenção |
|---|---|
| A cada 25 horas |
|
Important: Não opere o motor sem a montagem do filtro de ar colocada devidamente; caso contrário, ocorrerão danos graves no motor.
Efetue os procedimentos de pré-manutenção; consulte Preparação para a manutenção.
Solte e remova a cobertura e o filtro de esponja. Limpe bem ambos (Figura 25).

Instale o filtro de esponja na cobertura traseira e instale-o na cabeça elétrica.
| Intervalo de assistência | Procedimento de manutenção |
|---|---|
| A cada 25 horas |
|
Efetue os procedimentos de pré-manutenção; consulte Preparação para a manutenção.
Remova a cobertura superior, removendo os 4 parafusos (M6) e um rebite de pressão (Figura 26).

Utilizando uma escova, remova quaisquer detritos da superfície da transmissão, em particular das ventilações da transmissão (Figura 26).
Important: Não tente limpar a transmissão com água ou ar comprimido.
Instale a cobertura com os fixadores removidos anteriormente.
| Intervalo de assistência | Procedimento de manutenção |
|---|---|
| A cada 25 horas |
|
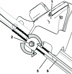
Sempre que instalar um novo cabo, ou se o cabo da transmissão autopropulsora ou de controlo da lâmina estiver desajustado, ajuste-os.
Rode a porca de ajuste no sentido contrário ao dos ponteiros do relógio para folgar o ajuste do cabo (Figura 27).

Ajuste a tensão dos cabos (Figura 27) puxando-os para trás ou empurrando-os para a frente e mantendo-os nessa posição.
Rode a porca de ajuste no sentido dos ponteiros do relógio para apertar o ajuste do cabo.
Note: Aperte a porca firmemente com uma chave.
Important: Não tensione demasiado os cabos ou os interruptores de controlo elétricos podem danificar-se.
| Intervalo de assistência | Procedimento de manutenção |
|---|---|
| Em todas as utilizações ou diariamente |
|
| Anualmente |
|
Important: Precisará de uma chave de aperto para instalar a lâmina de forma adequada. Se não tiver uma chave de aperto ou se não se sentir à vontade para executar este procedimento, contacte um revendedor autorizado.
Se a lâmina estiver danificada ou rachada, substitua-a imediatamente. Se a extremidade da lâmina estiver embotada ou com falhas, mande-a afiar ou equilibrar ou substitua-a.
A lâmina é afiada; tocar na lâmina pode ter como resultado ferimentos pessoais graves.
Use luvas quando efetuar a manutenção da lâmina.
Incline sempre a máquina para o lado com a alavanca da altura de corte para cima.
Utilize um bloco de madeira para manter a lâmina segura (Figura 28).

Retire a lâmina guardando todo o equipamento de montagem (Figura 28).
Instale lâmina nova e todo o equipamento de montagem (Figura 29).

Important: Coloque a extremidades em curva da lâmina de forma a apontarem em direção à caixa do cortador.
Utilize uma chave de aperto para apertar o parafuso da lâmina com 75 N·m.
| Intervalo de assistência | Procedimento de manutenção |
|---|---|
| Em todas as utilizações ou diariamente |
|
| A cada 25 horas |
|
Uma lâmina ligeiramente desgastada pode ser novamente afiada. Ambas as extremidades da lâmina têm de ser afiadas de igual modo para assegurar o equilíbrio.
Retire a lâmina do cortador; consulte Substituição da lâmina.
Limpe a lâmina utilizando uma escova e água, depois verifique se a lâmina apresenta danos.
Afie ambas as extremidades de corte com uma lima plana.

Faça deslizar uma chave de parafusos pelo orifício central e mantenha a lâmina na horizontal.
Note: Uma lâmina equilibrada manter-se-á na horizontal.

Afie o lado mais pesado até a lâmina ficar corretamente equilibrada.
Note: Se a lâmina não estiver equilibrada, o lado mais pesado irá rodar para baixo.

Important: Na remoção, cubra os terminais da bateria com fita adesiva forte Não tente destruir nem desmontar a bateria nem remover qualquer dos seus componentes.
Contacte o município local ou o distribuidor Toro autorizado para mais informações sobre como reciclar de forma responsável a bateria.
Important: Guarde a máquina, bateria e carregador apenas em temperaturas que estejam dentro do intervalo adequado; consulte Especificações.
Important: Se estiver a guardar a bateria para a época de inatividade, carregue-a até 1 ou 2 indicadores LED ficarem acesos a verde na bateria. Não guarde uma bateria totalmente carregada ou totalmente descarregada. Quando estiver pronto para utilizar novamente a máquina, carregue a bateria até que o indicador restante acenda a verde no carregador ou todos os quatro indicadores LED acendam a verde na bateria.
Desligue o produto da fonte de alimentação (ou seja, retire a(s) bateria(s) e botão de arranque elétrico) e verifique se existem danos após a utilização.
Não guarde a máquina nem o carregador com uma bateria instalada.
Limpe todos os materiais estranhos do produto.
Quando não estiver a ser utilizada, guarde a máquina, botão de arranque elétrico, bateria(s) e carregador da(s) bateria(s) fora do alcance das crianças.
Mantenha a máquina, bateria(s) e carregador da(s) bateria(s) afastados de agentes corrosivos, por exemplo, produtos químicos de jardim e sais para derreter gelo.
Para reduzir o risco de ferimentos pessoais graves, não guarde bateria(s) no exterior ou dentro de veículos.
Guarde a máquina, a(s) bateria(s) e o carregador da(s) bateria(s) numa área fechada, limpa e seca.
Realize apenas os passos descritos nestas instruções. Todos os trabalhos de inspeção, manutenção e reparação têm de ser realizados por um representante autorizado da Toro ou um especialista igualmente qualificado, se não conseguir resolver o problema.
| Problem | Possible Cause | Corrective Action |
|---|---|---|
| A máquina não carrega. |
|
|
| A máquina não trabalha ou não trabalha de forma contínua. |
|
|
| A máquina não atinge a potência máxima. |
|
|
| A(s) bateria(s) perde(m) a carga muito rapidamente. |
|
|
| O carregador da bateria não está a funcionar. |
|
|
| A luz indicadora LED no carregador da bateria está vermelha. |
|
|
| A luz indicadora LED no carregador da bateria está a piscar a vermelho. |
|
|
| A máquina produz apitos. |
|
|
| A máquina não faz autopropulsão. |
|
|
| A máquina reduziu a velocidade de avanço. |
|
|
| A caixa de velocidades está a produzir um som/ruído diferente. |
|
|
| A máquina ou o motor da lâmina produzem vibração ou ruído excessivo. |
|
|
| A qualidade de corte diminuiu ou não é satisfatória. |
|
|
| A recolha de relva diminuiu ou não é satisfatória. |
|
|
| A máquina corta de forma irregular. |
|
|