Utilizar uma broca sem a devida proteção ocular pode permitir a entrada de detritos nos olhos, causando ferimentos.
Ao perfurar, utilize sempre proteção ocular.
Estacione a máquina numa superfície nivelada.
Mova a alavanca da transmissão para a posição P (estacionar).
Desligue o motor e retire a chave.
Levante a plataforma de carga.
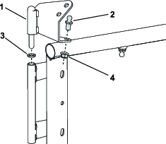
Retire os parafusos do suporte do apoio de ombros e guarde-os para instalação posterior (Figura 1).

Retire os parafusos existentes (¼ x ¾) do tubo da estrutura frontal no lado do operador e do passageiro (Figura 2).
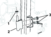
Utilizando uma broca de 11/32 pol. perfure através dos orifícios existentes ambos os lados do tubo da estrutura frontal no lado do operador e do passageiro como mostrado na Figura 2. Se a sua máquina tiver este furo no painel/estrutura, avance para o próximo procedimento.

Peças necessárias para este passo:
| Estrutura da porta | 2 |
| Suporte da articulação da porta | 2 |
| Dobradiça superior esquerda | 1 |
| Dobradiça superior direita | 1 |
| Espaçadores | 2 |
| Cavilha | 4 |
| Porca de bloqueio (5/16 pol.) | 2 |
| Suporte do trinco da porta | 2 |
| Para-choques de borracha | 4 |
| Trinco da porta esquerda | 1 |
| porta direita | 1 |
| Parafuso de cabeça sextavada (¼ x ¾ pol.) | 4 |
| Parafuso de carroçaria (¼ pol. x ¾ pol.) | 8 |
| Porca de bloqueio (¼ pol.) | 8 |
Prenda, sem apertar totalmente, a articulação da porta na ranhura da estrutura da porta utilizando dois parafusos de carroçaria e as porcas de bloqueio como mostrado na Figura 3.
Note: Não aperte totalmente os fixadores, a posição do suporte da articulação pode ter de ser ajustada antes de completar a instalação.

Instale uma cavilha na estrutura da porta como mostrado na Figura 3; aperte-a com 10 a 12 N∙m.
Instale uma cavilha na dobradiça superior esquerda como mostrado na Figura 4; aperte-a com 10 a 12 N∙m.
Instale a dobradiça superior esquerda e um espaçador na parte superior da articulação como mostrado na Figura 4.

Instale 2 para-choques de borracha no interior do conjunto da porta (Figura 5).
Instale os suportes do trinco da porta no conjunto da porta (Figura 5).

Instale dois para-choques de borracha no interior do conjunto da porta (Figura 6).

Repita este processo para a porta do lado direito.
Note: Este processo mostra a montagem da porta do lado do operador; para a montagem da porta do lado do passageiro, espelhe a posição das peças nas figuras.
Peças necessárias para este passo:
| Conjunto da porta esquerda | 1 |
| Dobradiça inferior esquerda | 1 |
| Conjunto da porta direita | 1 |
| Dobradiça inferior direita | 1 |
| Espaçadores | 2 |
| Parafuso (5/16 pol. x ¾ pol.) | 4 |
| Parafuso do dormente (5/16 x 2½ pol.) | 2 |
| Batente da porta | 2 |
| Anilha (5/16 pol.) | 2 |
| Mola pneumática | 2 |
Prenda, sem apertar totalmente, a dobradiça inferior à coluna ROPS utilizando dois parafusos (5/16 x ¾ pol.) como mostrado na Figura 7.

Instale o suporte da articulação inferior no conjunto da porta e um espaçador na dobradiça inferior.

Prenda, sem apertar totalmente, a dobradiça superior do conjunto da porta ao suporte do apoio de ombros utilizando os parafusos removidos no passo 5 (Figura 9).

Aplique um composto de bloqueio de roscas de resistência média nas roscas do parafuso do dormente (5/16 pol. x ½ pol.).
Insira o parafuso do dormente (5/16 x 2½ pol.) através do orifício perfurado, na parte frontal do tubo da estrutura (Figura 10).

Instale o dormente da porta e uma anilha (5/16 pol.) no parafuso do dormente (Figura 11).

Aperte o parafusos do dormente com 10 a 12 N∙m.
Instale uma mola a gás nas cavilhas, como mostrado na Figura 12, com a extremidade fixa encaixada na dobradiça superior.

Repita este processo para a porta do outro lado.
Feche a porta e certifique-se de que o batente está preso no trinco; ajuste as posições da articulação da porta e do suporte do trinco da porta na estrutura da porta de forma a que a porta fique alinhada corretamente e possa abrir e fechar sem problemas.
Note: Pode precisar de desapertar os fixadores da porta para ajudar a ajustar a porta.
Aperte as porcas de bloqueio que prendem o suporte do trinco da porta com 10 a 12 N∙m.
Aperte as porcas de bloqueio que prendem os suportes das articulações das portas.
Aperte os parafusos das dobradiças com 20 a 24 N∙m.
Repita este processo para a porta do outro lado.
Desça a plataforma de carga.