Een boor gebruiken zonder geschikte oogbescherming kan ertoe leiden dat vuil in het oog belandt en letsel veroorzaakt.
Draag altijd oogbescherming wanneer u boort.
Parkeer de machine op een horizontaal oppervlak.
Zet de transmissiehendel in de stand P (parkeren).
Zet de motor af en haal het sleuteltje uit het contact.
Breng de laadbak omhoog.
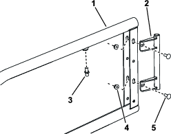
Verwijder de schroeven van de schoudersteunbeugel en bewaar ze voor latere montage (Figuur 1).

Verwijder de bestaande schroeven (¼" x ¾") van de voorste framebuis aan zowel de bestuurders- als de passagierskant (Figuur 2).
Boor met een boor van 8,7 mm de aanwezige openingen uit door beide wanden van de voorste framebuis aan zowel de bestuurders- als de passagierskant, zoals getoond in Figuur 2. Ga naar de volgende procedure als uw machine dit gat in het dashboard/frame heeft.

Benodigde onderdelen voor deze stap:
| Deurframe | 2 |
| Draaibeugel van deur | 2 |
| Scharnier linksboven | 1 |
| Scharnier rechtsboven | 1 |
| Afstandsstukken | 2 |
| Bout | 4 |
| Borgmoer (5/16") | 2 |
| Beugel van deurvergrendeling | 2 |
| Rubberen aanslag | 4 |
| Linker deurvergrendeling | 1 |
| Rechter deurvergrendeling | 1 |
| Inbusbout (¼" x ¾") | 4 |
| Slotbout (¼ x ¾") | 8 |
| Borgmoer (¼") | 8 |
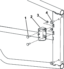
Bevestig losjes een deurscharnier aan de sleuven in het deurframe; gebruik hiervoor 2 slotbouten en borgmoeren zoals getoond in Figuur 3.
Note: Draai de bevestigingen niet volledig vast; de positie van de scharnierbeugel moet misschien worden afgesteld voordat u de montage voltooit.

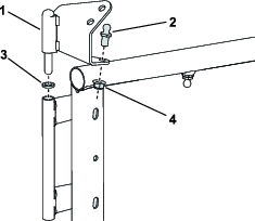
Monteer een bout aan het deurframe zoals getoond in Figuur 3; draai vast met een torsie van 10 tot 12 N·m.
Monteer een bout aan het scharnier linksboven zoals getoond in Figuur 4; draai vast met een torsie van 10 tot 12 N·m.
Monteer het scharnier linksboven en een afstandsstuk aan de bovenkant van het draaipunt zoals getoond in Figuur 4.

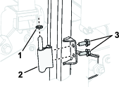
Monteer 2 rubberen aanslagen aan de binnenkant van de deur (Figuur 5).
Monteer de beugels van de deurvergrendeling aan de deur (Figuur 5).

Monteer de linker deurvergrendeling aan de beugel van de deurvergrendeling zoals getoond in Figuur 6; draai de inbusbouten vast met een torsie van 10 tot 12 N·m.

Herhaal deze procedure voor de deur aan de andere kant.
Note: Deze procedure toont de montage van de deur aan de bestuurderskant; spiegel voor de montage van de deur aan de passagierskant de positie van de onderdelen in de figuren.
Benodigde onderdelen voor deze stap:
| Linkerdeur | 1 |
| Scharnier linksonder | 1 |
| Rechterdeur | 1 |
| Scharnier rechtsonder | 1 |
| Afstandsstukken | 2 |
| Schroef (5/16" x ¾") | 4 |
| Slagbout (5/16" x 2½") | 2 |
| Stootvlak van deur | 2 |
| Ring (5/16") | 2 |
| Luchtveer | 2 |
Monteer de onderste scharnier losjes aan de beugel op de rolbeugelbuis; gebruik 2 schroeven (5/16" x ¾") zoals in Figuur 7.

Monteer de onderkant van de draaibeugel op de deur en een afstandsstuk op het onderste scharnier.

Bevestig losjes de bovenste scharnier van de deur aan de schoudersteunbeugel met de schroeven die u hebt verwijderd in stap 5 (Figuur 9).

Breng schroefdraadborgmiddel met gemiddelde sterkte aan op de schroefdraad van de slagbout (5/16" x ½").
Steek de slagbout (5/16" x 2½") door het geboorde gat aan de voorkant van de framebuis (Figuur 10).

Monteer het stootvlak van de deur en een ring (5/16") aan de slagbout (Figuur 11).

Draai de slagbout vast met een torsie van 10 tot 12 N·m.
Monteer een gasveer aan de bouten zoals getoond in Figuur 12, met het vaste uiteinde bevestigd aan het bovenste scharnier.

Herhaal deze procedure voor de deur aan de andere kant.
Sluit de deur en controleer of het stootvlak vastzit in de vergrendeling. Stel de posities van het deurscharnier en de beugel van de deurvergrendeling op het deurframe af zodat de deur goed is uitgelijnd en soepel kan openen en sluiten.
Note: U moet misschien het bevestigingsmateriaal op het deurframe losmaken om de deur makkelijker af te stellen.
Draai de borgmoeren waarmee de beugels van de deurvergrendeling zijn bevestigd vast met een torsie van 10 tot 12 N·m
Draai de borgmoeren vast waarmee de draaibeugels van de deur zijn bevestigd.
Draai de scharnierbouten vast met een torsie van 20 tot 24 N·m.
Herhaal deze procedure voor de deur aan de andere kant.
Laat de laadbak neer.