Wenn Sie eine Bohrmaschine ohne geeignete Schutzbrille verwenden, können Fremdkörper in Ihr Auge gelangen und Verletzungen verursachen.
Tragen Sie beim Bohren immer eine Schutzbrille.
Stellen Sie die Maschine auf einer ebenen Fläche ab.
Stellen Sie den Ganghebel auf die P-Stellung (Parken).
Stellen Sie den Motor ab und ziehen Sie den Zündschlüssel ab.
Heben Sie die Ladepritsche an.
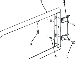
Entfernen Sie die Schrauben aus der Halterung der Schulterstütze und bewahren Sie sie für die spätere Montage auf (Bild 1).

Entfernen Sie die vorhandenen Schrauben (1/4 x 3/4") sowohl auf der Fahrer- als auch auf der Beifahrerseite aus dem vorderen Rahmenrohr (Bild 2).
Bohren Sie mit einem 11/32"-Bohrer die vorhandenen Löcher durch beide Wände des vorderen Rahmenrohrs auf der Fahrer- und Beifahrerseite, wie in Bild 2 dargestellt. Wenn Ihre Maschine dieses Loch im Armaturenbrett/Rahmen hat, fahren Sie mit dem nächsten Verfahrensschritt fort.

Für diesen Arbeitsschritt erforderliche Teile:
| Türrahmen | 2 |
| Türschwenkhalterung | 2 |
| Linkes oberes Scharnier | 1 |
| Rechtes oberes Scharnier | 1 |
| Distanzstücke | 2 |
| Bolzen | 4 |
| Sicherungsmutter (5/16") | 2 |
| Türriegelhalterung | 2 |
| Gummianschlag | 4 |
| Linker Türriegel | 1 |
| Rechter Türriegel | 1 |
| Sechskantschraube (¼" x ¾") | 4 |
| Schlossschraube (¼" x ¾") | 8 |
| Sicherungsmutter (¼") | 8 |
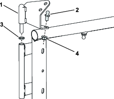
Befestigen Sie einen Türzapfen mit zwei Schlossschrauben und Sicherungsmuttern lose an den Schlitzen im Türrahmen, wie in Bild 3 dargestellt.
Note: Ziehen Sie die Befestigungselemente nicht vollständig an, da die Position der Schwenkhalterung vor Abschluss der Installation möglicherweise angepasst werden muss.

Montieren Sie einen Bolzen am Türrahmen wie in Bild 3 dargestellt; ziehen sie ihn mit 10 bis 12 N∙m an.
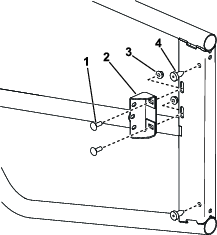
Montieren Sie einen Bolzen am linken oberen Scharnier wie in Bild 4 dargestellt; ziehen sie ihn mit 10 bis 12 N∙m an.
Montieren Sie das linke obere Scharnier und ein Distanzstück am oberen Ende des Zapfens wie in Bild 4 dargestellt.

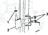
Montieren Sie zwei Gummianschläge an der Innenseite der Tür (Bild 5).
Montieren Sie die Türriegelhalterungen an der Tür (Bild 5).

Montieren Sie den linken Riegel an der Türriegelhalterung wie in Bild 6 dargestellt; ziehen Sie die Innensechskantschrauben mit 10 bis 12 N∙m an.

Wiederholen Sie diesen Vorgang für die Tür auf der rechten Seite.
Note: Dieses Verfahren zeigt die Montage der Fahrertür; für die Montage der Beifahrertür spiegeln Sie die Position der Teile in den Abbildungen.
Für diesen Arbeitsschritt erforderliche Teile:
| Linke Tür | 1 |
| Linkes unteres Scharnier | 1 |
| Rechte Tür | 1 |
| Rechtes unteres Scharnier | 1 |
| Distanzstücke | 2 |
| Schraube (5/16" x ¾") | 4 |
| Schlagschraube (5/16 x 2-1/2") | 2 |
| Türöffner | 2 |
| Scheibe (5/16") | 2 |
| Luftfeder | 2 |
Befestigen Sie das untere Scharnier mit zwei Schrauben (5/16 x 3/4") lose an der Halterung am ROPS-Rohr, wie in Bild 7 abgebildet.

Montieren Sie das untere Ende der Schwenkhalterung an der Tür und ein Distanzstück am unteren Scharnier.

Befestigen Sie das obere Scharnier der Tür mit den in Schritt 5 (Bild 9) entfernten Schrauben lose an der Halterung der Schulterstütze.

Tragen Sie mittelfestes Gewindesicherungsmittel auf das Gewinde des Schlagbolzens (5/16" x ½") auf.
Stecken Sie die Schlagschraube (5/16 x 2-1/2") durch das gebohrte Loch an der Vorderseite des Rahmenrohrs (Bild 10).

Montieren Sie den Türöffner und eine Unterlegscheibe (5/16") an der Schlagschraube (Bild 11).

Ziehen Sie die Schlagschraube auf 10-12 N∙m an.
Bringen Sie eine Gasfeder an den Bolzen an, wie in Bild 12 dargestellt, wobei das feste Ende am oberen Scharnier befestigt wird.

Wiederholen Sie diesen Vorgang für die Tür auf der rechten Seite.
Schließen Sie die Tür und stellen Sie sicher, dass der Türöffner im Riegel befestigt ist; stellen Sie die Positionen des Türzapfens und der Türriegelhalterung am Türrahmen so ein, dass die Tür richtig ausgerichtet ist und sich leichtgängig öffnen und schließen lässt.
Note: Möglicherweise müssen Sie die Befestigungselemente am Türrahmen ein wenig lösen, um die Einstellung der Tür zu erleichtern.
Ziehen Sie die Sicherungsmuttern, mit denen die Türriegelhalterungen befestigt sind, auf 10 bis 12 N·m an.
Ziehen sie die Sicherungsmuttern fest, mit denen die Türschwenkhalterungen befestigt sind.
Ziehen Sie die Scharnierschrauben mit 20-24 N·m an.
Wiederholen Sie diesen Vorgang für die Tür auf der rechten Seite.
Senken Sie die Ladepritsche ab.