Bor ikke uden at bruge beskyttelsesbriller, da materiale kan trænge ind i øjnene og forårsage øjenskade.
Bær altid beskyttelsesbriller, når der bores.
Parker maskinen på en plan flade.
Flyt gearstangen til positionen P (Parkering).
Sluk motoren, og tag nøglen ud.
Hæv ladet.
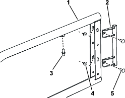
Fjern skruerne fra styrtbøjlebeslaget, og gem dem til senere montering (Figur 1).

Fjern de eksisterende skruer (¼" x ¾") fra det forreste stelrør i både førersiden og passagersiden (Figur 2).
Brug et bor på 9 mm til at udbore de eksisterende huller gennem begge sider af det forreste stelrør i både førersiden og passagersiden som vist i Figur 2. Hvis din maskine allerede har dette hul i instrumentpanelet/stellet, skal du fortsætte til næste procedure.

Dele, der skal bruges til dette trin:
| Dørramme | 2 |
| Dørdrejebeslag | 2 |
| Øvre venstre hængsel | 1 |
| Øvre højre hængsel | 1 |
| Afstandsbøsninger | 2 |
| Pindbolt | 4 |
| Låsemøtrik (5/16") | 2 |
| Dørlåsebeslag | 2 |
| Gummistødklods | 4 |
| Venstre dørlås | 1 |
| Højre dørlås | 1 |
| Bolt med unbrakokærv (¼" x ¾") | 4 |
| Bræddebolt (¼" x ¾") | 8 |
| Låsemøtrik (¼") | 8 |
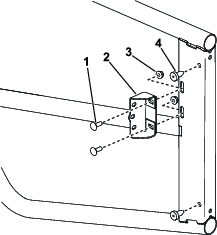
Fastgør et dørdrejebeslag løst til hullerne i dørrammen med 2 bræddebolte og låsemøtrikker som vist i Figur 3.
Note: Spænd ikke fastgørelsesanordningerne helt, da det kan være nødvendigt at justere drejebeslagets placering, før monteringen færdiggøres.

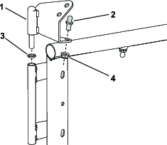
Monter en pindbolt på dørrammen som vist i Figur 3. Tilspænd med et moment på 10 til 12 Nm.
Monter en pindbolt på øverste venstre hængsel som vist i Figur 4. Tilspænd med et moment på 10 til 12 Nm.
Monter det øverste venstre hængsel og en afstandsbøsning øverst på drejebeslaget som vist i Figur 4.

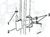
Monter 2 gummistødklodser på indersiden af dørenheden (Figur 5).
Monter dørlåsebeslagene på dørenheden (Figur 5).

Monter den venstre dørlås på dørlåsebeslaget som vist i Figur 6. Tilspænd boltene med unbrakokærv med et moment på 10 til 12 Nm.

Gentag denne procedure for døren på højre side.
Note: Denne procedure viser samlingen af døren i førersiden. Ved samling af døren i passagersiden spejlvendes placeringen af delene i figurerne.
Dele, der skal bruges til dette trin:
| Venstre dørenhed | 1 |
| Nedre venstre hængsel | 1 |
| Højre dørenhed | 1 |
| Nedre højre hængsel | 1 |
| Afstandsbøsninger | 2 |
| Skrue (5/16" x ¾") | 4 |
| Låsebolt (5/16 x 2½") | 2 |
| Dørens låsestykke | 2 |
| Spændeskive (5/16") | 2 |
| Luftfjeder | 2 |
Fastgør det nederste hængsel løst til beslaget på styrtbøjlerøret med 2 skruer (5/16" x ¾") som vist i Figur 7.

Monter bunden af drejebeslaget på dørenheden og en afstandsbøsning på det nederste hængsel.

Fastgør det øverste hængsel på dørenheden løst til styrtbøjlebeslaget ved hjælp af skruerne, der blev fjernet i trin 5 (Figur 9).

Påfør en gevindlåsemasse af middel styrke på låseboltens gevind (5/16" x ½").
Indsæt låsebolten (5/16" x 2½") gennem det borede hul foran på stelrøret (Figur 10).

Monter dørens låsestykke og en spændeskive (5/16") på låsebolten (Figur 11).

Tilspænd låsebolten med et moment på 10 til 12 Nm.
Monter en gasfjeder på pindboltene som vist i Figur 12 med den faste ende fastgjort til det øverste hængsel.

Gentag denne procedure for døren på den anden side.
Luk døren, og sørg for, at låsestykket er fastgjort i låsen. Juster dørdrejebeslagets og dørlåsebeslagets position på dørrammen, så døren flugter korrekt og kan åbnes og lukkes uden problemer.
Note: Det kan være nødvendigt at løsne fastgørelsesanordningerne på dørrammen for at gøre det nemmere at justere døren.
Tilspænd låsemøtrikkerne, der fastgør dørlåsebeslagene, med et moment på 10 til 12 Nm.
Stram låsemøtrikkerne, så dørdrejebeslagene fastgøres.
Tilspænd hængselsboltene med et moment på 20 til 24 Nm.
Gentag denne procedure for døren på den anden side.
Sænk ladet.