L’utilizzo di un trapano senza un’adeguata protezione per gli occhi potrebbe far sì che entrino detriti all’interno degli occhi, causando lesioni.
Quando utilizzate il trapano, usate sempre occhiali di sicurezza.
Parcheggiate la macchina su terreno pianeggiante.
Spostate la leva della trasmissione in posizione P (Parcheggio).
Spegnete il motore e togliete la chiave.
Sollevate il pianale.
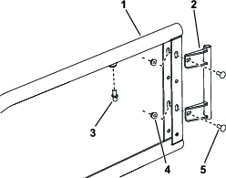
Rimuovete le viti dalla staffa di fermo della spalla e conservatele per un’installazione successiva (Figura 1).

Rimuovete le viti esistenti (¼” x ¾”) dal tubo del telaio anteriore su entrambi i lati conducente e passeggero (Figura 2).
Utilizzando una punta per trapano da 9 mm, forate i fori esistenti attraverso entrambe le pareti del tubo del telaio anteriore su entrambi i lati conducente e passeggero, come illustrato nella Figura 2. Se la vostra macchina presenta questo foro sul cruscotto/telaio, passate alla procedura successiva.

Parti necessarie per questa operazione:
| Telaio della porta | 2 |
| Staffa orientabile della porta | 2 |
| Cerniera superiore sinistra | 1 |
| Cerniera superiore destra | 1 |
| Distanziali | 2 |
| Spinotto | 4 |
| Dado di bloccaggio (5/16") | 2 |
| Staffa di fermo della porta | 2 |
| Gommino di arresto | 4 |
| Porta di sinistra, fermo | 1 |
| Porta di destra | 1 |
| Bullone a esagono incassato (¼" x ¾") | 4 |
| Bullone a testa tonda (¼" x ¾") | 8 |
| Dado di bloccaggio (¼") | 8 |
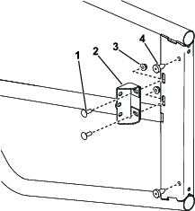
Fissate, senza serrarlo, un perno della porta alle scanalature nel telaio della porta utilizzando 2 bulloni a testa tonda e dadi di bloccaggio, come illustrato nella Figura 3.
Note: Non serrate completamente i dispositivi di fissaggio: la posizione della staffa orientabile potrebbe dover essere regolata prima del completamento dell’installazione.

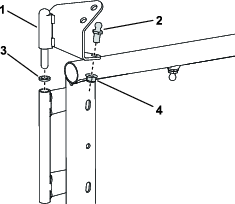
Montate uno spinotto sul telaio della porta, come illustrato nella Figura 3; serrate a 10-12 N∙m.
Montate uno spinotto sulla cerniera superiore sinistra, come illustrato nella Figura 4; serrate a 10-12 N∙m.
Montate la cerniera superiore sinistra e un distanziale sulla parte superiore del perno, come illustrato nella Figura 4.

Montate 2 gommini di arresto all’interno del gruppo porta (Figura 5).
Montate le staffe di fermo della porta sul gruppo porta (Figura 5).

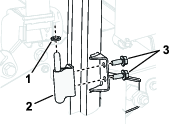
Montate il fermo della porta di sinistra sulla staffa di fermo della porta, come mostrato nella Figura 6; serrate i bulloni a esagono incassato a una coppia di 10-12 N∙m.

Ripetete questa procedura per la porta sul lato destro.
Note: Questa procedura mostra il gruppo della porta lato conducente; per il gruppo della porta lato passeggero, invertite a specchio la posizione delle parti nelle figure.
Parti necessarie per questa operazione:
| Gruppo sportello sinistro | 1 |
| Cerniera inferiore sinistra | 1 |
| Gruppo sportello destro | 1 |
| Cerniera inferiore destra | 1 |
| Distanziali | 2 |
| Vite (5/16" x ¾") | 4 |
| Bullone di chiusura (5/16” x 2½”) | 2 |
| Dispositivo di chiusura della porta | 2 |
| Rondella (5/16") | 2 |
| Molla ad aria | 2 |
Fissate, senza serrarla, la cerniera inferiore alla staffa sul tubo del ROPS utilizzando 2 viti (5/16” x ¾”), come illustrato nella Figura 7.

Montate la parte inferiore della staffa orientabile sul gruppo porta e un distanziale sulla cerniera inferiore.

Fissate, senza serrarla, la cerniera superiore del gruppo porta alla staffa di fermo della spalla utilizzando le viti rimosse al punto 5 (Figura 9).

Applicate del frenafiletti a media resistenza ai filetti del bullone del battente (5/16" x ½").
Inserite il bullone di chiusura (5/16” x 2½") attraverso il foro praticato nella parte anteriore del tubo del telaio (Figura 10).

Montate il dispositivo di chiusura della porta e una rondella (5/16”) sul bullone di chiusura (Figura 11).

Serrate il bullone di chiusura a una coppia di 10-12 N∙m.
Montate una molla a gas sugli spinotti, come illustrato nella Figura 12, con l’estremità fissa attaccata alla cerniera superiore.

Ripetete questa procedura per la porta sull’altro lato.
Chiudete la porta e accertatevi che il dispositivo di chiusura sia fissato nel fermo; regolate le posizioni del perno della porta e della staffa di fermo della porta sul telaio della porta, in modo che quest’ultima sia correttamente allineata, possa aprirsi e chiudersi in modo fluido.
Note: Potrebbe essere necessario allentare i dispositivi di fissaggio sul telaio della porta per favorire la regolazione della stessa.
Serrate i dadi di bloccaggio che fissano le staffe di fermo della porta a una coppia di 10-12 N∙m.
Serrate i dadi di bloccaggio che fissano le staffe orientabili della porta.
Serrate i bulloni della cerniera a 20-24 N∙m.
Ripetete questa procedura per la porta sull’altro lato.
Abbassate il pianale.