ドリルを使うときに適切な保護めがねを使用しないと金属粉が目に入る恐れがある。
ドリル使用時は必ず保護めがねを着用すること。
この作業に必要なパーツ
| ドアフレーム | 2 |
| ドア用ピボットブラケット | 2 |
| 左上用蝶番 | 1 |
| 右上用蝶番 | 1 |
| スペーサ | 2 |
| スタッド | 4 |
| ロックナット(5/16") | 2 |
| ドア用ラッチブラケット | 2 |
| ゴム製バンパー | 4 |
| 左ドアラッチ | 1 |
| 右ドアラッチ | 1 |
| 六角ソケットヘッドボルト(1/4 x 3/4") | 4 |
| キャリッジボルト(¼ x ¾") | 8 |
| ロックナット(¼") | 8 |
図 3のように、キャリッジボルト 2 本とロックナットを使用して、ドアピボットをドアフレームのスロットに仮止めする。
Note: まだ本締めしないでください。ピボット ブラケットの位置の微調整が必要になる場合があります。

図 3のようにドアフレームにスタッドを取り付け、10ー12 N∙m(1.04-1.27 kg.m = 90ー110 in-lb)にトルク締めする。
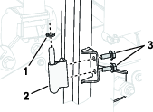
図 4のように左上蝶番にスタッドを取り付け、10ー12 N∙m(1.04-1.27 kg.m = 90ー110 in-lb)にトルク締めする。
図 4のように、左上蝶番とスペーサをピボット上部に取り付ける。

ドアアセンブリの内側にゴム製バンパーを 2 個取り付ける(図 5)。
ドアアセンブリにドアラッチブラケットを取り付ける(図 5)。

図 6のように、ドアラッチブラケットに左ドアラッチを取り付け;六角ヘッドボルトを10ー12 N∙m(1.04-1.27 kg.m = 90ー110 in-lb)にトルク締めする。

以上の作業を、右側のドアに対しても行う。
Note: 以下では、運転席側ドアの組み立てを示します。 助手席側のドアを組み立てる際は、図を左右逆転させてください。
この作業に必要なパーツ
| 左ドアアセンブリ | 1 |
| 左下用蝶番 | 1 |
| 右ドアアセンブリ | 1 |
| 右下用蝶番 | 1 |
| スペーサ | 2 |
| ねじ(5/16 x ¾") | 4 |
| ストライカボルト(5/16 x 2-1/2") | 2 |
| ドアストライカ | 2 |
| ワッシャ(5/16") | 2 |
| エアスプリング | 2 |
図 7のように、2 本のねじ(5/16 x 3/4")で、下側蝶番を ROPS チューブのブラケットに仮止めする。

ピボットブラケットの底部をドア アセンブリに取り付け、スペーサを下側蝶番に取り付ける。

ステップ5で取り外したねじを使用して、ドアアセンブリの上側蝶番を肩当てブラケットに仮止めする(図 9)。

ストライカーボルト (5/16 x ½") のネジ山に中程度の強さのネジロックコンパウンドを塗布する。
フレームチューブの前部に開けた穴にストライカボルト(5/16 x 2-1/2")を挿入する(図 10)。

ストライカボルトにドアストライカとワッシャ(5/16")を取り付ける(図 11)。

ストライカボルトを 10-12 N·m(1.04-1.22 kg.m = 90-106 in-lb)にトルク締めする。
図 12のように、スタッドにガススプリングを取り付ける;固定側を上側蝶番に取り付けること。

以上の作業を、反対側のドアに対しても行う。
ドアを閉めて、ストライカがラッチに固定されることを確認する。ドアがスムーズに開閉できるように、ドアピボットと、ドアフレーム側のドアラッチブラケットの位置を調整する。
Note: 必要に応じ、ドアフレームの留め具をゆるめて調整してください。
ロックナットを 10-12 N·m(1.04-1.22 kg.m = 90-106 in-lb)にトルク締めする。
ドアピボットブラケット固定用のロックナットを本締めする。
蝶番ボルトを 20-24 N·m(2.97-2.53 kg.m = 180-220 in-lb)にトルク締めする。
以上の作業を、反対側のドアに対しても行う。
荷台を降下させる。