Poran käyttö ilman asianmukaisia silmäsuojaimia voi johtaa roskien pääsyyn silmiin ja siten silmävammaan.
Käytä poraustöissä aina silmäsuojaimia.
Pysäköi kone tasaiselle alustalle.
Siirrä vaihteistovipu P (pysäköinti) -asentoon.
Sammuta moottori ja irrota virta-avain.
Nosta kuljetuslava.
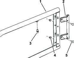
Irrota ruuvit olkatuen kannattimesta ja säilytä ne myöhempää asennusta varten (Kuva 1).

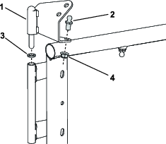
Irrota nykyiset ruuvit (¼ × ¾ tuumaa) eturunkoputkesta sekä kuljettajan että matkustajan puolelta (Kuva 2).
Poraa nykyiset reiät 9 mm:n poranterällä eturunkoputken molempien seinien läpi sekä kuljettajan että matkustajan puolelta kuvan mukaisesti (Kuva 2). Jos koneessa on tämä aukko kojelaudassa/rungossa, siirry seuraavaan toimenpiteeseen.

Vaiheeseen tarvittavat osat:
| Ovenkarmi | 2 |
| Oven kääntökannatin | 2 |
| Vasemmanpuoleinen ylempi sarana | 1 |
| Oikeanpuoleinen ylempi sarana | 1 |
| Välikappaleet | 2 |
| Tappi | 4 |
| Lukkomutteri (5/16 tuumaa) | 2 |
| Oven salvan kannatin | 2 |
| Kumisuojus | 4 |
| Vasemmanpuoleisen oven salpa | 1 |
| Oikeanpuoleisen oven salpa | 1 |
| Kuusiokolopultti (¼ × ¾ tuumaa) | 4 |
| Lukkopultti (¼ × ¾ tuumaa) | 8 |
| Lukkomutteri (¼ tuumaa) | 8 |
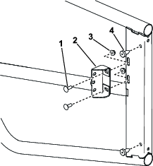
Kiinnitä oven kääntökannatin löyhästi ovenkarmin aukkoihin kahdella lukkopultilla ja lukkomutterilla kuvan mukaisesti (Kuva 3).
Note: Älä kiristä kiinnittimiä kokonaan. Kääntökannattimen asentoa on ehkä säädettävä ennen asennuksen viimeistelemistä.

Asenna tappi ovenkarmiin kuvan mukaisesti (Kuva 3); kiristä momenttiin 10-12 N·m.
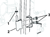
Asenna tappi vasemmanpuoleiseen ylempään saranaan kuvan mukaisesti (Kuva 4); kiristä momenttiin 10-12 N·m.
Asenna vasemmanpuoleinen ylempi sarana ja välikappale kääntökannattimen yläosaan kuvan mukaisesti (Kuva 4).

Asenna kaksi kumisuojusta ovikokoonpanon sisäpuolelle (Kuva 5).
Asenna oven salvan kannattimet ovikokoonpanoon (Kuva 5).

Asenna vasemmanpuoleisen oven salpa oven salvan kannattimeen kuvan mukaisesti (Kuva 6). Kiristä kuusiokolopultit momenttiin 10-12 N·m.

Toista tämä toimenpide oikeanpuoleiselle ovelle.
Note: Tässä toimenpiteessä esitetään kuljettajanpuoleisen oven kokoaminen. Matkustajanpuoleisen oven kokoamisessa osien sijainti on peilikuvana ohjekuviin nähden.
Vaiheeseen tarvittavat osat:
| Vasemmanpuoleinen ovikokoonpano | 1 |
| Vasemmanpuoleinen alempi sarana | 1 |
| Oikeanpuoleinen ovikokoonpano | 1 |
| Oikeanpuoleinen alempi sarana | 1 |
| Välikappaleet | 2 |
| Ruuvi (5/16 × ¾ tuumaa) | 4 |
| Vastakappaleen pultti (¼ × 1½ tuumaa) | 2 |
| Oven salvan vastakappale | 2 |
| Aluslaatta (5/16 tuumaa) | 2 |
| Ilmajousi | 2 |
Kiinnitä alempi sarana löyhästi ROPS-putken kannattimeen kahdella ruuvilla (5/16 × ¾ tuumaa) kuvan mukaisesti (Kuva 7).

Asenna kääntökannattimen alaosa ovikokoonpanoon ja välikappale alempaan saranaan.

Kiinnitä ovikokoonpanon ylempi sarana löyhästi olkatuen kannattimeen vaiheessa 5 irrotetuilla ruuveilla (Kuva 9).

Levitä keskivahvaa kierrelukitetta vastakappaleen pultin kierteisiin (5/16 × ½ tuumaa).
Työnnä vastakappaleen pultti (5/16 × 2½ tuumaa) runkoputken etupuolelle poratun reiän läpi (Kuva 10).

Asenna oven salvan vastakappale ja aluslaatta (5/16 tuumaa) vastakappaleen pulttiin (Kuva 11).

Kiristä vastakappaleen pultti momenttiin 10-12 N·m.
Asenna kaasujousi tappeihin kuvan mukaisesti (Kuva 12) kiinteä pää kiinnitettynä ylempään saranaan.

Toista toimenpide toisen puolen ovelle.
Sulje ovi ja varmista, että vastakappale on kiinnittynyt salpaan. Säädä oven kääntökannattimen ja salvan kannattimen asentoja ovenkarmissa siten, että ovi on oikealla kohdalla ja että se avautuu ja sulkeutuu vaivattomasti.
Note: Ovenkarmin kiinnittimiä on ehkä löysättävä oven säätämistä varten.
Kiristä lukkomutterit, joilla oven salvan kannattimet on kiinnitetty, momenttiin 10-12 N·m.
Kiristä lukkomutterit, joilla oven kääntökannattimet on kiinnitetty.
Kiristä saranapultit momenttiin 20-24 N·m.
Toista toimenpide toisen puolen ovelle.
Laske kuljetuslava alas.