El uso de una taladradora sin la protección ocular adecuada puede hacer que entren residuos en los ojos y provocar lesiones.
Utilice siempre protección ocular mientras taladra.
Aparque la máquina en una superficie nivelada.
Cambie la palanca de la transmisión a la posición P (Aparcar).
Apague el motor y retire la llave.
Eleve la plataforma de carga.
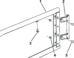
Retire los tornillos de la barra de seguridad de hombros y consérvelos para su instalación posterior (Figura 1).

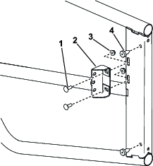
Retire los tornillos existentes (¼" x ¾") del tubo delantero del bastidor tanto en el lado del conductor como en el del pasajero (Figura 2).
Con una broca de 11/32", taladre en los taladros existentes a través de ambas paredes del tubo delantero del bastidor, tanto en el lado del conductor como en el del pasajero, tal y como se muestra en la Figura 2. Si su máquina ya tiene este orificio en el salpicadero/bastidor, vaya al procedimiento siguiente.

Piezas necesarias en este paso:
| Bastidor de la puerta | 2 |
| Soporte de pivote de la puerta | 2 |
| Bisagra superior izquierda | 1 |
| Bisagra superior derecha | 1 |
| Espaciadores | 2 |
| Espárrago | 4 |
| Contratuerca (5/16") | 2 |
| Soporte de cierre de la puerta | 2 |
| Tope de goma | 4 |
| Cierre de puerta izquierda | 1 |
| Cierre de puerta | 1 |
| Perno de cabeza allen (¼" x ¾") | 4 |
| Perno de cuello cuadrado (¼" x ¾") | 8 |
| Contratuerca (¼") | 8 |
Fije provisionalmente un pivote de puerta en las ranuras del bastidor de la puerta con 2 pernos de cuello cuadrado y contratuercas, tal y como se muestra en la Figura 3.
Note: No apriete totalmente las fijaciones, ya que puede ser necesario ajustar la posición del soporte de pivote antes de finalizar la instalación.

Instale un espárrago en el bastidor de la puerta, tal y como se muestra en la Figura 3; apriete a entre 10 y 12 N∙m.
Instale un espárrago en la bisagra superior izquierda, tal y como se muestra en la Figura 4; apriete a entre 10 y 12 N∙m.
Instale la bisagra superior izquierda y un espaciador en la parte superior del pivote, tal y como se muestra en la Figura 4.

Instale 2 topes de goma en el interior del conjunto de la puerta (Figura 5).
Instale los soporte de cierre de la puerta en el conjunto de la puerta (Figura 5).

Instale el cierre de la puerta izquierda en el soporte de cierre de la puerta, tal y como se muestra en la Figura 6; apriete los pernos de cabeza allen a entre 10 y 12 N∙m.

Repita este procedimiento para la puerta en el lado derecho.
Note: Este procedimiento muestra el conjunto de la puerta lateral del conductor; para realizar el montaje de la puerta del lado del pasajero, sitúe la posición de las piezas en las figuras en el lado inverso.
Piezas necesarias en este paso:
| Puerta izquierda | 1 |
| Bisagra inferior izquierda | 1 |
| Puerta derecha | 1 |
| Bisagra inferior derecha | 1 |
| Espaciadores | 2 |
| Tornillo (5/16" x ¾") | 4 |
| Perno de cerradero (5/16" x 2½") | 2 |
| Cerradero de puerta | 2 |
| Arandela (5/16") | 2 |
| Muelle de aire | 2 |
Fije provisionalmente la bisagra inferior en el soporte del tubo del ROPS con 2 tornillos (5/16" x ¾"), tal y como se muestra en la Figura 7.

Instale la parte inferior del soporte de pivote en el conjunto de puerta y un espaciador en la bisagra inferior.

Fije provisionalmente la bisagra superior del conjunto de puerta en el soporte de la barra de seguridad de hombros con los tornillos retirados en el paso 5 (Figura 9).

Aplique una capa de fijador de roscas de resistencia media a las roscas del perno del cerradero (5/16" × ½").
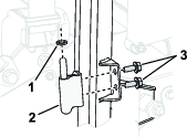
Inserte el perno de cerradero (5/16" x 2½") a través del taladro realizado en la parte delantera del tubo del bastidor (Figura 10).

Instale el cerradero de la puerta y una arandela (5/16") en el perno del cerradero (Figura 11)

Apriete el perno del cerradero a entre 10 y 12 N∙m.
Instale un muelle de gas en los espárragos, tal y como se muestra en la Figura 12, con el extremo fijo conectado a la bisagra superior.

Repita este procedimiento en la puerta del otro lado.
Cierre la puerta y asegúrese de que el cerradero queda fijo en el cierre; ajuste las posiciones del pivote de la puerta y del soporte del cierre de la puerta en el bastidor de la puerta, de modo que la puerta quede alineada correctamente y se pueda abrir y cerrar de forma suave.
Note: Puede que tenga que aflojar las fijaciones en el bastidor de la puerta para facilitar el ajuste de la puerta.
Apriete las contratuercas que fijan los soporte de cierre de la puerta a entre 10 y 12 N∙cm.
Apriete las contratuercas que fijan los soportes de pivote de la puerta.
Apriete los pernos de la bisagra a entre 20 y 24 N∙m.
Repita este procedimiento en la puerta del otro lado.
Baje la plataforma de carga.