Si vous utilisez une perceuse sans protection oculaire adéquate, des débris peuvent atteindre les yeux et vous blesser.
Portez toujours une protection oculaire pour les opérations de perçage.
Garez la machine sur une surface plane et horizontale.
Placez le levier sélecteur en position P (stationnement).
Coupez le moteur et retirez la clé.
Levez le plateau de chargement.
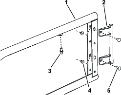
Retirez les vis du support de la retenue d'épaule et conservez-les pour l'installation ultérieure (Figure 1).

Retirez les vis existantes (¼" x ¾") du tube avant du cadre du côté conducteur et du côté passager (Figure 2).
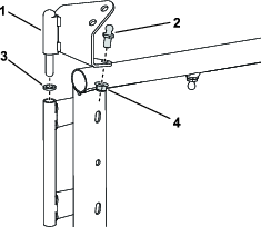
Avec un foret de 11/32", agrandissez les trous existants dans les deux parois du tube de cadre avant, côté conducteur et côté passager, comme montré à la Figure 2. Si ce trou est déjà percé dans la planche de bord/le cadre de la machine, passez à la procédure suivante.

Pièces nécessaires pour cette opération:
| Cadre de porte | 2 |
| Support de pivot de porte | 2 |
| Charnière supérieure gauche | 1 |
| Charnière supérieure droite | 1 |
| Entretoises | 2 |
| Goujon | 4 |
| Contre-écrou (5/16") | 2 |
| Support de verrou de porte | 2 |
| Butée en caoutchouc | 4 |
| Verrou de porte gauche | 1 |
| Verrou de porte droite | 1 |
| Boulon à tête hexagonale creuse (¼" x ¾") | 4 |
| Boulon de carrosserie (¼" x ¾") | 8 |
| Contre-écrou (¼") | 8 |
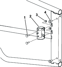
Fixez légèrement un pivot de porte dans les fentes du cadre de porte à l'aide de 2 boulon de carrosserie et contre-écrous, comme montré à la Figure 3.
Note: Ne serrez pas complètement les fixations, car il sera peut-être nécessaire d'ajuster la position du support de pivot avant de terminer l'installation.

Insérez un goujon dans le cadre de porte, comme montré à la Figure 3 ; serrez-le à un couple de 10 à 12 N∙m.
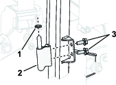
Insérez un goujon dans la charnière supérieure gauche, comme montré à la Figure 4 ; serrez-le à un couple de 10 à 12 N∙m.
Installez la charnière supérieure gauche et une entretoise au sommet du pivot, comme montré à la Figure 4.

Insérez 2 butées en caoutchouc à l'intérieur de la porte assemblée (Figure 5).
Montez les supports du verrou de porte sur la porte (Figure 5).

Installez le verrou de porte gauche sur le support, comme montré à la Figure 6 ; serrez les boulons à tête hexagonale creuse à un couple de 10 à 12 N∙m.

Répétez la procédure pour la porte droite.
Note: Cette procédure décrit le montage de la porte côté conducteur ; pour la porte côté passager, inversez symétriquement la position des pièces représentées.
Pièces nécessaires pour cette opération:
| Porte gauche | 1 |
| Charnière inférieure gauche | 1 |
| Porte droite | 1 |
| Charnière inférieure droite | 1 |
| Entretoises | 2 |
| Vis (5/16" x ¾") | 4 |
| Boulon de gâche (5/16" x 2½") | 2 |
| Gâche de porte | 2 |
| Rondelle (5/16") | 2 |
| Vérin pneumatique | 2 |
Fixez légèrement la charnière inférieure au support sur le tube de la structure ROPS à l'aide de 2 vis (5/16" x ¾"), comme montré à la Figure 7.

Montez le bas du support de pivot sur la porte et placez une entretoise sur la charnière inférieure..

Fixez légèrement la charnière supérieure de la porte au support de la retenue d'épaule à l'aide des vis retirées à l'opération 5 (Figure 9).

Appliquez du frein-filet moyenne résistance sur le filetage du boulon de la gâche (5/16" x ½").
Insérez le boulon de gâche (5/16" x 2½") dans le trou percé à l'avant du tube du cadre (Figure 10).

Installez la gâche de porte et une rondelle (5/16") sur le boulon (Figure 11).

Serrez le boulon de gâche à un couple de 10 à 12 N·m.
Installez un vérin à gaz sur les goujons, comme montré à la Figure 12, en plaçant l'extrémité fixe sur la charnière supérieure.

Répétez cette procédure pour l'autre porte.
Fermez la porte et vérifiez que la gâche est bien fixée dans le verrou ; réglez les positions du pivot et du support de verrou sur le cadre de la porte, de manière que la porte soit bien alignée et s'ouvre et se ferme facilement.
Note: Vous devrez éventuellement desserrer les fixations sur le cadre de la porte pour pouvoir l'ajuster plus facilement.
Serrez les contre-écrous de fixation des supports du verrou de la porte à un couple de 10 à 12 N∙m.
Serrez les contre-écrous de fixation des supports du pivot de porte.
Serrez les boulons des charnières à un couple de 20 à 24 N·m.
Répétez cette procédure pour l'autre porte.
Abaissez le plateau de chargement.