Using a drill without proper eye protection may allow debris to enter the eye, causing injury.
When drilling, always wear eye protection.
Park the machine on a level surface.
Shift the transmission lever to the P (Park) position.
Shut off the engine and remove the key.
Raise the cargo bed.
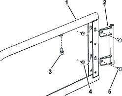
Remove the screws from the shoulder restraint bracket and retain them for later installation (Figure 1).

Remove the existing screws (1/4 x 3/4 inch) from the front frame tube on both the driver's side and passenger side (Figure 2).
Using an 11/32 inch drill bit, drill out the existing holes through both walls of the front frame tube on both the driver's side and passenger side as shown in Figure 2. If you machine has this hole in the dash/frame, skip to the next procedure.

Parts needed for this procedure:
| Door frame | 2 |
| Door pivot bracket | 2 |
| Left upper hinge | 1 |
| Right upper hinge | 1 |
| Spacers | 2 |
| Stud | 4 |
| Locknut (5/16 inch) | 2 |
| Door latch bracket | 2 |
| Rubber bumper | 4 |
| Left door latch | 1 |
| Right door latch | 1 |
| Hex-socket head bolt (1/4 x 3/4 inch) | 4 |
| Carriage bolt (1/4 x 3/4 inch) | 8 |
| Locknut (1/4 inch) | 8 |
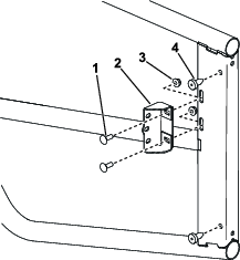
Loosely secure a door pivot to the slots in the door frame using 2 carriage bolts and locknuts as shown in Figure 3.
Note: Do not fully tighten the fasteners, the pivot bracket position may need to be adjusted before completing the installation.

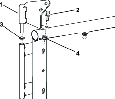
Install a stud to the door frame as shown in Figure 3; torque to 10 to 12 N∙m (90 to 110 in-lb).
Install a stud to the left upper hinge as shown in Figure 4; torque to 10 to 12 N∙m (90 to 110 in-lb).
Install the left upper hinge and a spacer to the top of the pivot as shown in Figure 4.

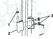
Install 2 rubber bumpers to the inside of the door assembly (Figure 5).
Install the door latch brackets to the door assembly (Figure 5).

Install the left door latch to the door latch bracket as shown in Figure 6; torque the hex-socket head bolts to 10 to 12 N∙m (90 to 110 in-lb).

Repeat this procedure for the door on the right side.
Note: This procedure shows the assembly of the driver’s side door; for assembly of the passenger side door mirror the position of the parts in the figures.
Parts needed for this procedure:
| Left door assembly | 1 |
| Left lower hinge | 1 |
| Right door assembly | 1 |
| Right lower hinge | 1 |
| Spacers | 2 |
| Screw (5/16 x 3/4 inch) | 4 |
| Striker bolt (5/16 x 2-1/2 inches) | 2 |
| Door striker | 2 |
| Washer (5/16 inch) | 2 |
| Air spring | 2 |
Loosely secure the lower hinge to the bracket on the ROPS tube using 2 screws (5/16 x 3/4 inch) as shown in Figure 7.

Install the bottom of the pivot bracket on the door assembly and a spacer to the lower hinge.

Loosely secure the upper hinge of the door assembly to the shoulder restraint bracket using the screws removed in step 5 (Figure 9).

Apply a medium-strength thread-locking compound to the threads of the striker bolt (5/16 x 1/2 inch).
Insert the striker bolt (5/16 x 2-1/2 inches) through the drilled hole in the front of the frame tube (Figure 10).

Install the door striker and a washer (5/16 inch) to the striker bolt (Figure 11).

Torque the striker bolt to 10 to 12 N∙m (90 to 110 in-lb).
Install a gas spring to the studs as shown in Figure 12, with the fixed end attached to the upper hinge.

Repeat this procedure for the door on the other side.
Close the door and ensure that the striker is secured in the latch; adjust the positions of the door pivot and door latch bracket on the door frame so the door is aligned properly, can open and close smoothly.
Note: You may need to loosen the fasteners on the door frame to assist adjusting the door.
Torque the locknuts securing the door latch brackets to 10 to 12 N∙m (90 to 110 in-lb).
Tighten the locknuts securing the door pivot brackets.
Torque the hinge bolts to 20 to 24 N∙m (180 to 220 in-lb).
Repeat this procedure for the door on the other side.
Lower the cargo bed.