Pysäköi kone tasaiselle alustalle.
Kytke seisontajarru.
Sammuta moottori ja irrota virta-avain.
Irrota akun miinuskaapeli. Lisätietoja on käyttöoppaassa.
Vaiheeseen tarvittavat osat:
| Johdinsarja | 1 |
| Välijohdinsarja – vain GTI-EFI-koneet | 1 |
| Nippuside | 10 |
| Painettava kiinnitin | 4 |
| Yhdensuuntainen reunakiinnike ja pidike – vain 1,8 m:n lava ja profiililevylava | 1 |
| Kohtisuora reunakiinnike ja pidike – vain muovinen kuormalava | 2 |
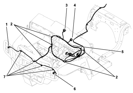
Vie ja kiinnitä johdinsarja seuraavan kuvan mukaisesti.

Vain mallit 07059TC, 07059LT, 07409, 07411EX: Vie ja kiinnitä hyppyjohdinsarja nippusiteellä.
Asenna P02-liitin valosarjan johdinsarjan P01-liittimeen.
Asenna P01-liitin pääjohdinsarjaan.
Asenna J02-liitin USB-plusliittimeen (+).
Asenna J01-liitin USB-plusjohtoon (+).

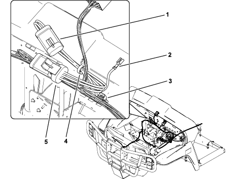
Vie ja kiinnitä johdinsarja kuvan mukaisesti (Kuva 3).

Vie ja kiinnitä johdinsarja kuvan mukaisesti (Kuva 4).

Vie ja kiinnitä johdinsarja kuvan mukaisesti (Kuva 5).

Vaiheeseen tarvittavat osat:
| Jarrukytkin | 1 |
| Kuusiokantaruuvi (#6 × ½ tuumaa) | 2 |
| Lukkomutteri (#6) | 2 |
Asenna jarrukytkin poljinkokoonpanoon kahdella kuusiokantaruuvilla (#6 × ½ tuumaa) ja kahdella lukkomutterilla (#6) kuvan mukaisesti (Kuva 6).
Note: Varmista, että jarrupolkimen varsi on kohdistettu jarrukytkimen painikkeeseen ja koskettaa sitä, kun poljin vapautetaan.
Tarkista kytkimen kohdistus ja toiminta kytkemällä ja vapauttamalla jarru.
Kytke johdinsarjan johdot jarrukytkimeen.

Vaiheeseen tarvittavat osat:
| Vilkkurelemoduuli | 1 |
| Kuusiokantaruuvi (1/4 × 5/8 tuumaa) | 1 |
| Lukkomutteri (¼ tuumaa) | 1 |
Asenna vilkkurelemoduuli kojelaudan vahvikkeeseen kuusiokantaruuvilla (¼ × ⅝ tuumaa) ja lukkomutterilla (¼ tuumaa) kuvan mukaisesti (Kuva 7).
Kytke johdinsarjan johdot vilkkurelemoduuliin.

Vaiheeseen tarvittavat osat:
| Etuseisontavalo/-merkkivalo | 2 |
| Etuseisontavalon/-merkkivalon kannatin – jäähdyttimen suojussarjalla varustetut koneet | 2 |
| Etuseisontavalon/-merkkivalon kannatin – koneet ilman jäähdyttimen suojussarjaa | 2 |
| Itsekierteittävä ruuvi (¼ × ½ tuumaa) – jäähdyttimen suojussarjalla varustetut koneet | 4 |
| Takajarruvalo/-merkkivalo | 2 |
| Takavalon kannatin – 1,8 m:n teräksisellä kuormalavalla tai muovisella kuormalavalla varustetut koneet | 2 |
| Ristikantaruuvi (#10 × 1¼ tuumaa) | 8 |
| Lukkomutteri (#10) | 8 |
| Itsekierteittävä ruuvi (5/16 × ¾ tuumaa) – 1,8 m:n teräksisellä kuormalavalla varustetut koneet | 4 |
| Välikappale (5/16 tuumaa) – muovisella kuormalavalla varustetut koneet | 2 |
| Laippakantapultti (5/16 × ¾ tuumaa) – muovisella kuormalavalla varustetut koneet | 4 |
| Takavalon kannatin – profiililevykuormalavalla varustetut koneet | 2 |
| Lukkopultti (¼ × ¾ tuumaa) – profiililevykuormalavalla varustetut koneet | 4 |
| Lukkomutteri (¼ tuumaa) – profiililevykuormalavalla varustetut koneet | 4 |
Irrota kaksi ruuvia ajovalon kannattimista (Kuva 8).

Asenna kaksi etuseisontavaloa/-merkkivaloa kahdella etuseisontavalon/-merkkivalon kannattimella, neljällä ristikantaruuvilla (#10 × 1¼ tuumaa), neljällä lukkomutterilla (#10) ja kahdella aiemmin irrotetulla ruuvilla kuvan mukaisesti (Kuva 9).
Note: Varmista, että läpinäkyvät linssit (seisontavalot) ovat sisäpuolella ja että keltaiset linssit (merkkivalot) ovat ulkopuolella.
Kytke johdinsarjan kaksi johtoa kahteen etuseisontavaloon/-merkkivaloon.

Asenna kaksi etuseisontavaloa/-merkkivaloa jäähdyttimen suojukseen kahdella etuseisontavalon/-merkkivalon kannattimella, neljällä ristikantaruuvilla (#10 × 1¼ tuumaa), neljällä lukkomutterilla (#10) ja neljällä itsekierteittävällä ruuvilla (¼ × ½ tuumaa) kuvan mukaisesti (Kuva 10).
Kiristä neljä itsekierteittävää ruuvia (¼ × ½ tuumaa) momenttiin 452–508 N·cm.
Note: Varmista, että keltaiset linssit (merkkivalot) ovat läpinäkyvien linssien (seisontavalot) yläpuolella.
Kytke johdinsarjan kaksi johtoa kahteen etuseisontavaloon/-merkkivaloon.

Asenna kaksi takajarruvaloa/-merkkivaloa muovisen kuormalavan ja kuormalavan tukikannattimen pohjaan kahdella pienellä takajarruvalon/-merkkivalon kannattimella, neljällä ristikantaruuvilla (#10 × 1¼ tuumaa), neljällä lukkomutterilla (#10), neljällä laippakantapultilla (5/16 × ¾ tuumaa) ja kahdella välikappaleella (5/16 tuumaa) kuvan mukaisesti (Kuva 11).
Note: Varmista, että punaiset linssit (jarruvalot) ovat sisäpuolella ja että keltaiset linssit (merkkivalot) ovat ulkopuolella.
Kytke johdinsarjan kaksi johtoa kahteen takajarruvaloon/-merkkivaloon.

Asenna kaksi takajarruvaloa/-merkkivaloa 1,8 m:n teräksisen kuormalavan pohjaan kahdella takajarruvalon kannattimella, neljällä itsekierteittävällä ruuvilla (5/16 × ¾ tuumaa), neljällä ristikantaruuvilla (#10 × 1¼ tuumaa) ja neljällä lukkomutterilla (#10) kuvan mukaisesti (Kuva 12).
Note: Varmista, että punaiset linssit (jarruvalot) ovat sisäpuolella ja että keltaiset linssit (merkkivalot) ovat ulkopuolella.
Kytke johdinsarjan kaksi johtoa kahteen takajarruvaloon/-merkkivaloon.

Asenna kaksi takajarruvaloa/-merkkivaloa profiililevykuormalavan pohjaan kahdella takavalon kannattimella, neljällä ristikantaruuvilla (#10 × 1¼ tuumaa), neljällä lukkomutterilla (#10), neljällä lukkopultilla (¼ × ¾ tuumaa) ja neljällä lukkomutterilla (¼ tuumaa) kuvan mukaisesti (Kuva 13).
Note: Varmista, että punaiset linssit (jarruvalot) ovat sisäpuolella ja että keltaiset linssit (merkkivalot) ovat ulkopuolella.
Kytke valojen johdinsarjojen liittimet pääjohdinsarjaan.

Vaiheeseen tarvittavat osat:
| Suuntavilkkukytkin | 1 |
| Varoitusvilkkujen kytkin | 1 |
Leikkaa kojelaudan tarraan aukko suuntavilkkukytkintä varten (ruutu A, Kuva 14).
Poista varoitusvilkkujen kytkimen aukon suojatulppa (ruutu A, Kuva 14).
Asenna kytkimien liitännät kojelaudan aukkojen läpi (ruutu B, Kuva 14).
Asenna kytkimet kytkimien liitäntöihin (ruutu B, Kuva 14).

Kytke akun miinuskaapeli. Katso ohjeet käyttöoppaasta.
Paina jarrupoljinta. Jarruvalojen pitäisi syttyä.
Kytke vasemmanpuoleiset suuntavilkut painamalla suuntavilkkukytkintä vasemmalle.
Kytke oikeanpuoleiset suuntavilkut painamalla suuntavilkkukytkintä oikealle.
Kytke varoitusvilkut painamalla varoitusvilkkujen kytkintä.