Note: Instale este kit junto con el modelo 41712 o 41713.
El sistema de fumigación GeoLink es un apero para un vehículo de fumigación de césped Toro Multi Pro y está indicado para que lo usen operadores profesionales contratados en aplicaciones comerciales. Está diseñado principalmente para fumigar en césped bien mantenido en parques, campos de golf, campos deportivos y zonas verdes comerciales. El uso de este producto para otros propósitos que los previstos podría ser peligroso para usted y para otras personas.
Lea este manual detenidamente para aprender a utilizar y mantener correctamente su producto, y para evitar lesiones y daños al producto. Usted es responsable de utilizar el producto de forma correcta y segura.
Visite www.Toro.com para buscar materiales de formación y seguridad o información sobre accesorios, para localizar un distribuidor o para registrar su producto.
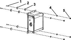
Cuando necesite asistencia técnica, piezas genuinas Toro o información adicional, póngase en contacto con un Servicio Técnico Autorizado o con Asistencia al Cliente Toro, y tenga a mano los números de modelo y serie de su producto. Figura 1 identifica la ubicación de los números de modelo y serie en el producto. Escriba los números en el espacio provisto.
Important: Con su dispositivo móvil, puede escanear el código QR (si dispone del mismo) de la placa del número de serie para acceder a información sobre la garantía, las piezas, y otra información sobre el producto.

Este manual identifica peligros potenciales y contiene mensajes de seguridad identificados por el símbolo de alerta de seguridad (Figura 2), que señala un peligro que puede causar lesiones graves o la muerte si usted no sigue las precauciones recomendadas.

Este manual utiliza 2 palabras para resaltar información. Importante llama la atención sobre información mecánica especial, y Nota resalta información general que merece una atención especial.
Las sustancias químicas utilizadas en el sistema de fumigación pueden ser peligrosas y tóxicas para usted y para otras personas, animales, plantas, suelos y otros elementos.
Lea cuidadosamente y observe las indicaciones de todas las etiquetas de advertencia y Fichas de Datos de Seguridad de Materiales (FDSM) respecto a todos los productos químicos utilizados, y protéjase siguiendo las instrucciones del fabricante de los mismos. Por ejemplo, utilice Equipos de Protección Individual (EPI) incluyendo protección para la cara y los ojos, guantes y otros equipos para prevenir el contacto con un producto químico.
Puede haber más de un producto químico; debe evaluarse la información sobre cada uno de los productos.
¡Niéguese a utilizar o trabajar con el fumigador si esta información no está disponible!
Antes de trabajar con un sistema de fumigación, asegúrese de que el sistema ha sido sometido a un triple enjuague y neutralización con arreglo a las recomendaciones de los fabricantes de los productos químicos, y que todas las válvulas han sido abiertas y cerradas 3 veces.
Compruebe que hay un suministro adecuado de agua limpia y jabón en las inmediaciones, y lávese inmediatamente para eliminar cualquier producto químico que entre en contacto con usted.
![]() |
Las pegatinas de seguridad e instrucciones están a la vista del operador y están ubicadas cerca de cualquier zona de peligro potencial. Sustituya cualquier pegatina que esté dañada o que falte. |



Consulte el Manual del operador de la máquina.
Aparque la máquina en una superficie nivelada y ponga el freno de estacionamiento.
Extienda las secciones de brazo izquierda y derecha a la posición horizontal.
Apague la máquina, retire la llave y desconecte la batería.
Limpie el fumigador.
Important: Debe vaciar completamente el depósito de fumigación antes de instalar el Kit de acabado del Sistema de fumigación GeoLink.
Retire y conserve los siguientes herrajes que sujetan la parte trasera del protector de los bajos al chasis de la máquina:
Máquinas de 2016 —7 pernos con arandela prensada (5/16" x 7/8") y 7 arandelas (5/16")
Máquinas de 2017 y posteriores—5 pernos con arandela prensada (5/16" x 7/8") y 5 arandelas (5/16")


Retire y conserve los 4 pernos con arandela prensada (5/16") de los pernos y del perno de cuello cuadrado que sujetan las bandas de sujeción del protector de bajos a los soportes de montaje del motor de la máquina.
Note: No retire los pernos de la máquina.

Levante las bandas de sujeción por encima de los pernos que sujetan el protector de bajos a los soportes de montaje del motor.
Retire el protector de bajos de la máquina.
Retire y conserve los 3 pernos con arandela prensada y la tuerca con arandela prensada que sujetan el soporte de montaje del módulo de control del motor al soporte del motor y a la carcasa de accesorios del motor.


Desplace el módulo de control del motor y el soporte de montaje hacia abajo y hacia atrás para poder acceder a los conectores de los arneses de cables delantero y trasero de la máquina.
Note: No retire ni desconecte del motor el módulo de control del motor.
Localice la conexión del tubo del sensor de presión en el extremo de la válvula de sección del brazo derecho.

Presione el collarín del racor del tubo y tire del tubo del sensor de presión para sacar el indicador de presión del salpicadero.
Note: Utilice una grúa para sujetar la máquina mientras desconecta los arneses de cables delantero y trasero.

Desde debajo de la máquina, en el larguero derecho del bastidor, localice los conectores eléctricos de los arneses de cables delantero y trasero de la máquina (Figura 7).
Desconecte los 6 pares de conectores que unen los arneses de cables delantero y trasero, según se muestra en la Figura 8 hasta la Figura 13.






Retire las 3 fijaciones a presión que sujetan el arnés de cables trasero a los orificios del larguero derecho del bastidor de la máquina (Figura 14).

En la parte trasera de la máquina (entre el larguero derecho del bastidor y el guardabarros derecho), desconecte el conector de 3 pines del arnés del sensor de velocidad del motor de tracción hidráulica derecha del conector hembra de 3 vías del arnés principal trasero.

En la parte trasera del soporte del distribuidor, desconecte el conector hembra de 3 vías de la válvula de agitación y los conectores hembra de 3 vías de las 3 válvulas de sección de los brazos.

Retire las grapas que sujetan el arnés de cables trasero a los orificios del lado delantero y de la placa inferior del soporte del distribuidor.

Desconecte el conector hembra de 3 vías en el arnés de cables trasero del conector de 3 pines del transductor de presión.

En la parte trasera de la máquina, desconecte los siguientes conectores hembra de 2 vías del distribuidor de los cilindros de elevación, como se indica a continuación:
Solenoide de elevación derecho
Solenoide de elevación izquierdo
Solenoide de activación
Solenoide de bajada derecho
Solenoide de bajada izquierdo

En la parte trasera de la máquina, por dentro de la bomba de fumigación, desconecte el conector hembra de 2 vías del arnés principal trasero del conector de 2 pines del relé de la bomba.

Retire la grapa que sujeta el arnés de cables trasero a los orificios del tubo transversal trasero (detrás de los motores de tracción hidráulica).

Retire el tubo del sensor de presión del indicador del salpicadero del arnés de cables trasero de la máquina.

Retire el arnés de cables trasero de la máquina.
Note: Ya no necesitará el arnés principal trasero que retiró de la máquina.
Piezas necesarias en este paso:
| Brida | 1 |
| Tapón del interruptor | 1 |
Desde debajo del salpicadero de la máquina, apriete las pestañas de bloqueo del interruptor de control de caudal y saque el interruptor de control de caudal del salpicadero.

Desconecte el conector hembra de 8 vías del arnés delantero de la máquina (con la etiqueta Rate Switch (Interruptor de caudal)) del conector de 8 pines del interruptor .
Note: Ya no necesitará el interruptor de caudal que retiró de la máquina.
Enrute la sección del arnés delantero del interruptor de caudal por el hueco del salpicadero, y sujete la sección de cables al arnés delantero con una brida.
Inserte el tapón del interruptor en el salpicadero hasta que el tapón encaje firmemente en el panel.
Note: Conserve todas las piezas para su instalación posterior y para usarlas como piezas de repuesto.
Retire la horquilla de retención que fija la tapa del acoplamiento, el acoplamiento en T y el transductor de presión en el extremo de las válvulas de sección del brazo.

Separe la tapa, el transductor y el acoplamiento en T.
Note: Conserve todas las piezas para su instalación posterior y para usarlas como piezas de repuesto, a menos que se indique lo contrario.
Retire los 2 pernos, las arandelas y las contratuercas que sujetan el bastidor de las válvulas al bastidor del distribuidor.

Afloje pero no retire los 2 pernos con arandela prensada (¼" x 3"), las 2 contratuercas con arandela prensada (¼") y las 4 arandelas que fijan las 3 válvulas de sección de los brazos al soporte de montaje.

Retire la abrazadera para bridas y la junta que fijan las 3 válvulas de sección de los brazos al caudalímetro.
Note: No retire el caudalímetro.

En la sección de brazo exterior, retire la abrazadera que sujeta la manguera de suministro de la sección de brazo al acoplamiento en T dentado.

Retire la manguera del acoplamiento en T.
Retire el extremo libre de la manguera de la abrazadera en R.
Repita los pasos 1 a 3 con la manguera de suministro en la sección de brazo exterior.
En la sección de brazo central, retire la abrazadera que sujeta la manguera de suministro de la sección de brazo al acoplamiento en T dentado.

Retire las horquillas de retención que sujetan los acoplamientos rectos a los acoplamientos de desconexión rápida de las válvulas de sección de brazo.

Retire las mangueras desconectadas de las válvulas de sección de brazo.
En el extremo inferior de la manguera de desvío superior, retire el perno con arandela prensada (5/16" x ¾"), la arandela (5/16") y la abrazadera en R que sujeta la manguera de desvío superior a la placa base trasera de la máquina.


Retire y conserve las 2 abrazaderas que sujetan la manguera de desvío superior y la manguera de desvío inferior al acoplamiento dentado de 90° .
Retire y conserve el acoplamiento dentado de 90° de las mangueras.
Retire las abrazaderas que sujetan la manguera de la válvula de vaciado y la manguera de vaciado del depósito trasero al acoplamiento en T dentado.


Retire el acoplamiento en T de la manguera de la válvula de vaciado y de la manguera de vaciado del depósito trasero.
Retire la horquilla de retención que sujeta el acoplamiento dentado de 90° de la manguera de desvío al acoplamiento de desconexión rápida de la válvula de desvío en la válvula de sección de brazo derecha y separe la manguera y los acoplamientos de las válvulas.

Retire las mangueras de desvío superior e inferior de la máquina.
Note: Ya no necesitará la válvula de desvío, el acoplamiento en T, la manguera de desvío superior o la manguera de desvío inferior.

Inserte el acoplamiento dentado de 90° que retiró en el paso 3 en la manguera de la válvula de vaciado y la manguera de vaciado del depósito trasero.


Sujete el acoplamiento dentado de 90° y las mangueras de vaciado con las 2 abrazaderas que retiró en el paso 2.
Retire y conserve la horquilla de retención que sujeta el actuador a la válvula del distribuidor del conjunto de la válvula de sección.
Note: Apriete las dos patas de la horquilla de retención mientras la empuja hacia abajo.

Retire y conserve el actuador de válvula del distribuidor.
Repita los pasos con los otros 2 actuadores de válvula.
Retire los 2 pernos (¼" x 3"), las 4 arandelas y las 2 contratuercas (¼") que sujetan la válvulas de sección de los brazos al soporte del distribuidor (Figura 26).
Retire las válvulas de sección de los brazos del soporte del distribuidor y aparte las válvulas.
Note: Conserve las válvulas de sección de los brazos. Puede desechar los pernos, las arandelas y las contratuercas.
Piezas necesarias en este paso:
| Bastidor de las válvulas y conjunto de válvulas | 1 |
| Controlador de tasa/sección | 1 |
| Imán | 4 |
| Perno (n.º 8) | 4 |
| Arandela (8) | 4 |
| Contratuerca (n.º 8) | 4 |
| Arandela plana (¼") | 2 |
| Perno con arandela prensada (5/16" x ¾") | 8 |
| Contratuercas con arandela prensada (5/16") | 8 |
| Perno con arandela prensada (¼" x ¾") | 2 |
| Contratuerca con arandela prensada (¼") | 2 |
Capacidad del equipo de elevación: 23 kg (50 lb)
Usando un equipo de izado con la capacidad especificada, eleve el bastidor de las válvulas y alinéelo sobre la sección de brazo central.

Alinee los orificios del soporte de montaje del bastidor de las válvulas con los orificios del perfil de travesaño de la sección de brazo central.

Monte el bastidor de las válvulas en el perfil del travesaño con 4 pernos (5/16" x ¾") y 4 contratuercas con arandela prensada (5/16").

Repita los pasos anteriores con el otro soporte de montaje del bastidor de las válvulas en el otro perfil del travesaño.
Apriete los pernos con arandela prensada y las contratuercas con arandela prensada a 19,78–25,42 N∙m.
Retire las horquillas de retención que fijan las tapas en el conjunto del distribuidor y alinee los soportes de desvío sobre la parte superior de las válvulas.

Coloque los tapones y las horquillas de retención para fijar los soportes de desvío en el conjunto del distribuidor.

Monte los soportes de desvío y el conjunto del distribuidor en el bastidor de las válvulas con 4 pernos (¼" x 3"), 8 arandelas (⅝") y 4 contratuercas (¼"), tal y como se muestra en la Figura 45.

Instale los imanes y las arandelas planas (¼") en el controlador de tasa/sección con 4 pernos (n.º 8) y 4 contratuercas (n.º 8).
Note: Apriete a mano un cuarto de giro adicional para fijar el conjunto. Si se aprieta en exceso, se pueden producir daños en los imanes.

Coloque el conjunto del controlador en el bastidor de válvulas.

Piezas necesarias en este paso:
| Acoplamiento con brida dentado (1") | 1 |
| Manguera (1" x 7¼") | 1 |
| Abrazadera | 4 |
| Transductor de presión | 1 |
| Distribuidor | 1 |
| Manguera (1" x 8½") | 1 |
| Abrazadera en R | 1 |
Alinee el tapón de acoplamiento conectado con el transductor de presión y la junta a la brida del acoplamiento en T del distribuidor.

Sujete el tapón de acoplamiento y la junta al acoplamiento en T con la abrazadera para bridas.
Monte la manguera (1" x 7¼") al acoplamiento de codo dentado del transductor de presión y al distribuidor.

Sujete las mangueras y los acoplamientos dentados con abrazaderas.
Conecte la manguera (1" x 8½") al otro codo dentado del transductor de presión y el distribuidor.
Sujete la manguera y el acoplamiento dentado con una abrazadera.
Monte la manguera (1" x 7¼") que está conectada al transductor de presión y al distribuidor en el acoplamiento con brida dentado del caudalímetro.

Sujete provisionalmente la manguera al acoplamiento con brida dentado con una abrazadera.
Sujete el transductor de presión y el distribuidor al soporte del distribuidor usando una abrazadera en R, el perno con arandela prensada incluido (¼" x ¾") y una contratuerca con arandela prensada (¼").
Conecte la manguera (1" x 8½") al acoplamiento con brida de 90° (1").

Sujete la manguera al acoplamiento con brida con una abrazadera.
Apriete la abrazadera que sujeta la manguera (1 x 7-1/4") al acoplamiento con brida dentado (1") que ha montado en Instalación del transductor de presión en la máquina; consulte la Figura 51.
Corte las mangueras entre las torretas.


Retire la contratuerca con arandela prensada (5/16") que sujeta la torreta al soporte.
Note: El perno de cabeza hexagonal (5/16" x ¾" – acero inoxidable) se separará de la mitad superior de la abrazadera al abrirse la abrazadera; guarde el perno para la instalación.Conserve la contratuerca con arandela prensada y la torreta.Deseche las espigas de la manguera y las secciones cortadas de la manguera.

Retire los tornillos de acero inoxidable (n.º 12 x 1¼") y retire los conectores de manguera dentados.
Note: El perno de cabeza hexagonal (5/16" x ¾" – acero inoxidable) se separará de la mitad superior de la abrazadera al abrirse la abrazadera; guarde el perno para la instalación.

Piezas necesarias en este paso:
| Manguera de suministro de 279 cm | 2 |
| Manguera de suministro de 234 cm | 2 |
| Manguera de suministro de 188 cm | 4 |
| Manguera de suministro de 81 cm | 2 |
| Abrazadera en R | 2 |
| Abrazadera en R doble | 2 |
| Abrazadera en R simple | 2 |
Note: Asegúrese de que el racor dentado está correctamente asentado en el racor.
Fije los acoplamientos dentados en los racores con una horquilla de retención.

Note: El conjunto de la manguera de suministro de 81 cm tiene un acoplamiento en T con 2 mangueras derivadas y 2 conectores de manguera de dentado simple.
| Sección de brazo | Válvula de sección | Boquilla | Manguera de suministro |
|---|---|---|---|
| Izquierda | 1 | 1 | 279 cm |
| 2 | 2 | 234 cm | |
| 3 | 3 | 188 cm | |
| 4 | 4 | 188 cm | |
| Central | 5 | 5 y 6 | 81 cm |
| 6 | 7 y 8 | 81 cm | |
| Derecha | 7 | 9 | 188 cm |
| 8 | 10 | 188 cm | |
| 9 | 11 | 234 cm | |
| 10 | 12 | 279 cm |

Alinee el tubo de transferencia de la base de una torreta [con el orificio del lateral del conector de manguera de dentado simple (½")].

Cierre la mitad superior de la abrazadera alrededor del conector de manguera dentado y sujete la mitad de la abrazadera y el cuerpo de la torreta con el tornillo de acero inoxidable (n.º 12 x 1¼"); apriete el tornillo de acero inoxidable a entre 14 y 18 N∙m.
Note: Asegúrese de que el perno de cabeza hexagonal (5/16" x ¾") está asentado en el hueco de la mitad superior de la abrazadera al cerrar la abrazadera.
Fije las torretas a los bastidores con las contratuercas con arandela prensada (5/16") que se retiraron anteriormente.

Apriete la contratuerca con arandela prensada a entre 1978 y 2542 N·cm.
Asegúrese de que las mangueras y los racores dentados de 13 mm x 810 mm están alineados con la parte delantera de la sección de brazo central, entre los soportes izquierdo y derecho de la sección central.
Enrute la manguera de 13 mm y el conector de manguera dentado entre los tirantes del perfil exterior.


Enrute la manguera y el conector de manguera dentado por encima del tirante y hacia fuera, hasta llegar al bastidor de la boquilla exterior.
Enrute la otra manguera de 13 mm y el conector de manguera dentado entre los tirantes del perfil interior.
Enrute la manguera y el conector de manguera dentado por encima del tirante y hacia dentro, hasta llegar al bastidor de la boquilla interior.
Repita los pasos 2 a 7 con el otro conjunto de manguera y boquilla en el otro perfil exterior.
Enrute la manguera y el racor dentado de 13 mm x 810 mm por el lado de la sección de brazo central que tiene los soportes izquierdo y derecho.
Retire los tornillos de acero inoxidable que fija las mitades superiores de la abrazadera a la base.

Localice el orificio en el lateral del conector de manguera de dentado simple, al final de la manguera de 25 cm (válvula de fumigación 5 o 6) de la sección de brazo central.

Alinee el tubo de transferencia en la base de una torreta con el orificio del lateral del conector de manguera de dentado simple (½").
Cierre la mitad superior de la abrazadera alrededor del conector de manguera dentado y sujete la mitad de la abrazadera y el cuerpo de la boquilla de fumigación con el tornillo de acero inoxidable (n.º 12 x 1¼"); apriete el tornillo de acero inoxidable a entre 226 y 282 N∙cm.
Important: No apriete en exceso el tornillo de acero inoxidable.
Note: Asegúrese de que el perno de cabeza hexagonal (5/16" x ¾") está asentado en el hueco de la mitad superior de la abrazadera al cerrar la abrazadera.
Repita los pasos 2 a 4 con los conectores de manguera de dentado simple del otro conjunto de mangueras (válvula del fumigación 5 o 6) de la sección de brazo central.
Alinee el perno de cabeza hexagonal (5/16" x ¾") de la torreta que retiró anteriormente a través del orificio del bastidor de la boquilla y sujete provisionalmente la torreta al bastidor con una de las contratuercas con arandela prensada (5/16").

Repita el paso anterior para las otras 3 torretas en la sección de brazo central.
Apriete las contratuercas con arandela prensada a entre 19,78 y 25,42 N∙m.
Piezas necesarias en este paso:
| Arnés de cables trasero | 1 |
| Brida | 3 |
Localice la rama de 165 cm y la rama de 203 cm del arnés eléctrico nuevo.

Enrute la rama de 165 cm y la rama de 203 cm del arnés eléctrico nuevo entre el bastidor de las 10 válvulas de fumigación y el soporte derecho del bastidor del distribuidor.

Enrute la rama de 165 cm y la rama de 203 cm del arnés eléctrico hacia adelante por el larguero derecho del bastidor.

Introduzca las grapas de la rama de 203 cm del arnés de cables trasero en los orificios del larguero derecho del bastidor de donde retiró las grapas del arnés de cables trasero antiguo; consulte el paso 3 de Desconexión de los arneses de cables delantero y trasero.
Note: Utilice una grúa para sujetar la máquina mientras conecta los arneses de cables delantero y trasero.
Desde debajo de la máquina, en el larguero derecho del bastidor, localice los conectores eléctricos de los arneses de cables delantero y trasero de la máquina.

Conecte el conector hembra de 10 vías de interconexión del arnés delantero al conector de 10 pines de interconexión del arnés trasero (Figura 73).

Conecte el conector de 8 pines de interconexión del arnés delantero al conector hembra de 8 vías del interruptor de caudal del arnés trasero.

Conecte el conector de 2 pines de la bomba de enjuague del arnés delantero al conector hembra de 2 vías de la bomba de enjuague del arnés trasero.

Conecte el conector de 2 pines del arnés delantero para la alimentación del carrete de la manguera al conector hembra de 2 vías del arnés trasero para la alimentación del carrete de la manguera.

Conecte el conector de 10 pines de interconexión del arnés delantero al conector hembra de 10 vías de interconexión del arnés trasero.

Para facilitar la conexión del arnés eléctrico y del arnés de datos de navegación, asegúrese de que el conector hembra de 1 vía del arnés de cables trasero y el conector hembra de 4 vías del arnés de cables trasero estén alineados en la parte superior del arnés.

Sujete el relé de interrupción de la bomba del arnés de cables trasero al soporte derecho para el ángulo del soporte del asiento.


Enrute el tubo del sensor de presión del indicador del salpicadero a lo largo del arnés de cables trasero de la máquina.

Fije el tubo del sensor de presión al arnés de cables trasero con 3 bridas junto a las 3 grapas en los puntos de anclaje del chasis del arnés de cables trasero.
Important: No apriete ni doble el tubo del sensor de presión; apriete las bridas solo lo suficiente para sostener el tubo.
Alinee los orificios del soporte de montaje del módulo de control del motor con el orificio en el soporte del motor y la carcasa de accesorios del motor.


Sujete el soporte de montaje al motor con los 3 pernos con arandela prensada y la tuerca con arandela prensada que retiró en el paso 1 de Retirada del módulo de control del motor y del soporte de montaje; apriete los pernos y las tuercas a mano.
Alinee el protector de bajos con el chasis inferior de la máquina.


Inserte las arandelas prensadas de montaje hacia delante del protector de bajos sobre los pernos y el perno de cuello cuadrado en los soportes de montaje del motor de la máquina.
Sujete el protector de bajos a los pernos y soportes de los bastidores del motor con las 4 contratuercas con arandela prensada (5/16") que retiró en el paso 2 de Retirada del protector de bajos.
Alinee los orificios de la parte trasera del protector de bajos con los orificios del chasis.

Monte la parte trasera del protector de bajos al chasis con los herrajes que retiró en el paso 1 de Retirada del protector de bajos del siguiente modo:
Máquinas de 2016 —7 pernos con arandela prensada (5/16" x 7/8") y 7 arandelas (5/16")
Máquinas de 2017 y posteriores—5 pernos con arandela prensada (5/16" x 7/8") y 5 arandelas (5/16")
Apriete los pernos y las tuercas a 1129–1.582 N·cm.
Piezas necesarias en este paso:
| Brida | 3 |
Enrute la rama de 203 cm del arnés de cables por dentro del tirante del bastidor de las válvulas y hacia atrás, hacia el soporte de las 10 válvulas.

Enrute la rama de 81 cm del arnés de cables del caudalímetro y la válvula de agitación por delante del bastidor del distribuidor.
Introduzca las grapas de la rama de 81 cm del arnés de cables en los orificios de la pestaña inferior del soporte del distribuidor.
Enrute la rama de 203 cm del arnés de cables por detrás del bastidor de 10 válvulas con los 10 conectores de las válvulas de sección hacia atrás y por debajo de las válvulas.

Introduzca las grapas de la rama de 203 cm del arnés de cables en los orificios de la pestaña inferior del bastidor de 10 válvulas.
Enrute la rama de 86 cm del arnés de cables del solenoide de la bomba de fumigación por encima del perfil del bastidor de fumigación y hacia abajo, hasta el solenoide de la bomba de fumigación.

Introduzca la grapa de la rama de 86 cm del arnés de cables en el orificio del perfil del bastidor del fumigador.
Enrute los conectores de la rama de 203 cm del arnés de cables con la etiqueta Flow Meter (Caudalímetro) y Pressure Transducer (Transductor de presión) por detrás del bastidor del distribuidor.

Conecte el conector hembra de 3 vías de la rama de 203 cm del arnés de cables del caudalímetro (sin etiquetar) en el conector de 3 pines del arnés del caudalímetro.
Conecte el conector hembra de 3 vías de la rama de 203 cm del arnés de cables con la etiqueta Pressure Transducer (Transductor de presión) en el conector de 3 pines del transductor de presión.
Fije los anclajes magnéticos de los arneses del caudalímetro y el transductor de presión en la superficie del bastidor del distribuidor.
Enrute el conector de 3 pines del arnés de cables de la válvula de agitación por delante del bastidor del distribuidor.

Conecte el conector de 3 pines del arnés de la válvula de agitación al conector hembra de 3 vías de la rama de 203 cm del arnés de cables con la etiqueta Agitation Valve (Válvula de agitación).

En la parte inferior del distribuidor de los cilindros de elevación, conecte el conector hembra de 2 vías del arnés de cables trasero con la etiqueta Enable Solenoid (Solenoide de activación) al conector de 2 pines del solenoide de activación.


En el solenoide inferior derecho, conecte el conector hembra de 2 vías del arnés de cables trasero con la etiqueta Right Down (Bajada derecho) en el conector de 2 pines del solenoide de bajada derecho.
En el solenoide superior derecho, conecte el conector hembra de 2 vías del arnés de cables trasero con la etiqueta Right Up (Elevación derecho) en el conector de 2 pines del solenoide de elevación derecho.
En el solenoide inferior izquierdo, conecte el conector hembra de 2 vías del arnés de cables trasero con la etiqueta Left Down (Bajada izquierdo) en el conector de 2 pines del solenoide de bajada izquierdo.
En el solenoide de subida izquierdo, conecte el conector hembra de 2 vías del arnés de cables trasero con la etiqueta Left Up (Elevación izquierdo) al conector de 2 pines del solenoide de subida izquierdo.
Enrute los conectores hembra de 3 vías de la rama de 203 cm del arnés de cables con la etiqueta Nozzle Valve 1 (Válvula de boquilla 1) a Nozzle Valve 5 (Válvula de boquilla 5) por detrás del bastidor de 10 válvulas y por debajo de las válvulas 1 a 5.

Enrute los conectores hembra de 3 vías de la rama de 203 cm del arnés de cables con la etiqueta Nozzle Valve 6 (Válvula de boquilla 6) a Nozzle Valve 10 (Válvula de boquilla 10) por detrás del bastidor de 10 válvulas y por debajo de las válvulas 6 a 10.
Conecte el conector hembra de 3 vías del arnés de cables trasero con la etiqueta Nozzle 1 (Boquilla 1) al conector de 3 pines del arnés de la válvula de boquilla 1.
Important: Es importante conectar cada conector hembra de 3 vías con etiqueta del arnés de cables trasero al conector de 3 pines correcto en la posición de cada válvula de boquilla.
Repita el paso 3 en las posiciones de válvula de boquilla 2 a 10.
En la parte trasera de la máquina (por dentro de la bomba de fumigación) conecte el conector hembra de 2 vías con la etiqueta Spray Pump Solenoid (Solenoide de la bomba de fumigación) de la rama de 86 cm del arnés de cables al conector de 2 pines del relé de la bomba.

En la parte trasera de la máquina (entre el larguero derecho del bastidor y el guardabarros derecho), conecte el conector de 3 pines del arnés del sensor de velocidad del motor de tracción hidráulica derecho al conector hembra de 3 vías (sin etiquetar) del arnés principal trasero.

Enrute la rama de 165 cm del arnés de cables hacia arriba y en la parte trasera del compartimento del motor, por el soporte derecho de la cubierta del motor, por delante del conducto que conecta el filtro de aire y el motor.
Note: Se sujetará la rama de 165 cm del arnés de cables trasero en Enrutado del arnés eléctrico y de datos de navegación hasta la batería.

Enrute la rama de 165 cm del arnés de cables a través del ángulo de la caja del asiento y hacia abajo por el soporte izquierdo del protector del motor.
Note: Se sujetará la rama de 165 cm del arnés de cables trasero en Enrutado del arnés eléctrico y de datos de navegación hasta la batería.

Enrute la rama de 165 cm del arnés de cables hacia abajo por el soporte izquierdo del protector del motor y por debajo del larguero izquierdo del bastidor.

Enrute el fusible de 50 A y los terminales de anillo positivo y negativo de la rama de 165 cm del arnés de cables a la parte superior de la batería.
Note: La instalación de los terminales de anillo se completará en los siguientes pasos.
Gire el asiento del conductor hacia delante y coloque la varilla de soporte del asiento en la muesca del canal de la consola.
Retire los 5 pernos con arandela prensada (¼" x ¾") que sujetan la cubierta a la izquierda de la consola central.

Retire la cubierta de la consola central.
Note: Si fuera necesario, gire el asiento del conductor hacia abajo al retirar la cubierta de la consola central.

Enrute la rama de 81 cm del arnés de cables trasero a lo largo del arnés de cables delantero hasta el anillo de goma en el canal de la consola.

Enrute la rama de 81 cm del arnés de cables trasero hacia delante, a lo largo del arnés de cables delantero y a través del anillo de goma en la parte posterior de la consola central.
Empuje el cierre del conector hembra de 8 vías en el interruptor de la bomba de fumigación y separe el conector del interruptor.

Coloque el conector hembra de 8 vías, de modo que pueda ver la parte posterior del conector y que el cierre está hacia arriba.


Introduzca el terminal en el extremo de la rama de 81 cm del arnés de cables trasero en la posición del terminal n.º 4 del conector hembra de 8 vías.
Note: Asegúrese de que el cierre del terminal se engancha con firmeza en el conector hembra de 8 vías.
Conecte el conector hembra de 8 vías en el arnés de cables con el conector de 8 pines en el interruptor de la bomba de fumigación.

Fije la rama de 81 cm del arnés de cables trasero al arnés de cables delantero de la máquina.

Alinee la cubierta que retiró (Figura 99) con la parte izquierda de la consola central.

Monte la cubierta en la consola central con los 5 pernos con arandela prensada (¼" x ¾") que retiró previamente (Figura 98) y apriete los pernos a entre 520 y 678 N∙cm.
Alinee el extremo del tubo del sensor de presión del indicador de presión en el salpicadero con el racor en el extremo de la sección de válvulas.

Inserte el tubo del sensor en el racor hasta que el tubo esté correctamente asentado.
Piezas necesarias en este paso:
| Receptor de navegación | 1 |
| Bastidor del receptor | 1 |
| Pernos(M5) | 4 |
| Arandela | 4 |
| Perno en U | 4 |
| Contratuerca con arandela prensada (⅜") | 4 |
Fije el receptor al soporte del receptor con 4 pernos (M5) y 4 arandelas.
Note: Asegúrese de que ambas flechas apuntan hacia la parte delantera de la máquina.

Alinee la flecha en el bastidor del receptor con el medio de la barra antivuelco y fije el conjunto en el ROPS con los 4 pernos en U y las 4 contratuercas (⅜").

Piezas necesarias en este paso:
| Bastidor de antena | 1 |
| Remache | 2 |
| Imán | 2 |
| Antena del módem | 1 |
| Antena de alta ganancia | 1 |
| Bridas | 7 |
Instale el soporte de la antena de módem a la barra antivuelco.

Limpie cualquier grasa o aceite de la superficie del bastidor de antena.
Retire el reverso del revestimiento adhesivo de doble cara y pegue la antena al bastidor.

Fije la antena y el arnés de cables al bastidor con 3 bridas para cable.

Coloque la antena de alta ganancia en la barra antivuelco.

Enrute los arneses de antena de módem a la derecha, a lo largo de la barra antivuelco.

Enrute el arnés hacia abajo y hacia delante.
Piezas necesarias en este paso:
| Pantalla | 1 |
| Soporte de bola | 1 |
| Brazo del monitor | 1 |
| Soporte del refuerzo | 1 |
| Perno con arandela prensada (¼" x 1½") | 4 |
| Arandela (¼") | 4 |
| Contratuerca con arandela prensada (¼") | 4 |
Localice las 4 tapas de los orificios perforados (¼") en el panel del salpicadero que se encuentran a la izquierda del agarradero.

Retire las 4 tapas de los orificios perforados del panel del salpicadero.
Retire los 2 tornillos Phillips de cabeza redonda (¼" x 1") y la contratuerca (¼") que fijan el soporte del capó al salpicadero.

Retire las 2 tuercas rápidas (¼") del soporte del capó.
Note: Conserve los tornillos Phillips de cabeza redonda, la contratuerca con arandela prensada y las tuercas rápidas; deseche el soporte del capó.
Monte las tuercas rápidas que retiró anteriormente en el soporte del refuerzo.

Monte el soporte en el salpicadero con los 4 pernos de arandela prensada (¼" x 1½") y las 4 arandelas, y sujételo a la pletina de refuerzo con 4 contratuercas (¼").

Monte provisionalmente la pletina de refuerzo con los 2 tornillos Phillips de cabeza redonda (¼" x 1") y la contratuerca con arandela prensada (¼") que retiró anteriormente.
Apriete los pernos con arandela prensada, los tornillos Phillips de cabeza redonda y la contratuerca con arandela prensada a entre 1163 y 1435 N∙cm.
Monte el conjunto de la pantalla en el soporte con 4 pernos (5/16") y 2 tuercas (5/16")

Apriete el pomo del brazo de la pantalla en la posición deseada.
Piezas necesarias en este paso:
| Adaptador del arnés | 1 |
| Arnés eléctrico y de datos | 1 |
| Brida para cable | 8 |

Enrute la rama de 302 cm del arnés eléctrico y de datos de navegación a lo largo del tubo del ROPS derecho con el conector hembra de 12 vías (gris) y el conector hembra de 12 vías (negro) arriba, hacia el receptor de navegación.
Important: Al fijar el arnés de cables al tubo del ROPS, deje algo de holgura en el arnés para que no tire de los conectores.
Conecte los 2 conectores del lado largo del conector hembra de 12 vías del arnés de cables con la etiqueta con las 2 ranuras de conector en el arnés del adaptador.

Enchufe el arnés del adaptador en el receptor.
Enrute la rama de 302 cm del arnés de datos del arnés eléctrico que tiene el conector de 4 pines con la etiqueta a la zona de interconexión de los arneses de cables delantero y trasero de la máquina; consulte Figura 78 en Conexión de los arneses de cables delantero y trasero.

Enrute la rama de 34 cm del arnés de datos del que tiene el conector de 4 pines con la etiqueta a la zona de interconexión de los arneses de cables delantero y trasero de la máquina; consulte Figura 78 en Conexión de los arneses de cables delantero y trasero.
Conecte el conector de 4 pines de la rama del arnés de datos con la etiqueta al conector hembra de 4 vías del arnés GeoLink trasero del circuito del controlador del fumigador/CAN 2.

Retire y deseche la resistencia de terminación del conector hembra de 6 vías del cable de datos.

Enrute la rama de alimentación de 270,5 cm del arnés eléctrico y de datos de navegación a través del ángulo de la caja del asiento y hacia abajo por el soporte izquierdo del protector del motor.

Sujete el arnés al soporte del protector del motor con bridas.
Enrute la rama de 270,5 cm de alimentación hacia abajo por el soporte izquierdo del protector del motor y por debajo del larguero izquierdo del bastidor.

Sujete el arnés al orificio del ángulo de la caja del asiento y al soporte del protector del motor con 3 bridas.

Enrute el fusible de 10 A y los terminales de anillo positivo y negativo de la rama de 220 cm del arnés eléctrico del sistema de navegación a la parte superior de la batería.
Note: La instalación de los terminales de anillo se completará en los siguientes pasos.
En el lado derecho del compartimento del motor, enrute la rama de 226 cm del arnés de datos para el monitor por delante del filtro de aire del motor y hacia abajo, hasta la esquina inferior derecha del radiador.

Enrute el arnés hacia delante y a través de las 2 abrazaderas en R en la parte inferior de la máquina y hacia arriba, a través del anillo de goma que rodea el taladro en el panel del suelo.

Fije el arnés al arnés de cables delantero de la máquina con 3 bridas.
Continúe enrutando la rama del arnés hacia arriba y a lo largo del arnés de cables delantero de la máquina y hacia arriba, a través del anillo de goma que rodea el taladro en el panel del salpicadero.
Enchufe el cable en la parte trasera del monitor.

Piezas necesarias en este paso:
| Arnés de alimentación del módem – 1850 mm (72-⅞") – Kit del sistema de fumigación de precisión GeoLink (modelo 41712 o modelo 41713) | 1 |
| Bridas – Kit del sistema de fumigación de precisión GeoLink (modelo 41712 o modelo 41713) | 5 |
Entre el soporte del depósito de combustible y el guardabarros delantero derecho, enrute el terminal de pestaña (con la etiqueta (conmutado)) y el terminal de anillo 2 (con la etiqueta (batería) y (masa)) del arnés de alimentación del módem bajo el bastidor de la máquina.

En la parte interna de la caja del asiento derecho, enrute el arnés de alimentación del módem hacia delante y el conector del arnés de alimentación con la etiqueta RS232 a lo largo del arnés de cables de la máquina.
Note: El conector con la etiqueta RS232 no se utiliza.


Enrute el arnés de alimentación del módem por la parte superior del radiador, a lo largo del arnés de cables de la máquina.


Enchufe el terminal del arnés de alimentación del módem con la etiqueta (conmutado) en el conector hembra para la alimentación de accesorios del bloque de fusibles.
Note: Si el bloque de fusibles de la máquina no dispone de un circuito de alimentación de accesorios disponible, instale un bloque de fusibles adicional; consulte a su distribuidor autorizado Toro.

Introduzca el fusible (10 A) en el zócalo del bloque de fusibles del circuito de alimentación de accesorios que utilizó en el paso 1.

Sujete la rama de corriente conmutada y masa del arnés de cables del kit al arnés de cables de la máquina con 5 bridas.
Enrute los terminales de anillo del arnés con la etiqueta (batería) y (masa) hacia atrás y sobre el soporte del asiento.

Enrute los terminales de anillo bajo el larguero izquierdo del bastidor y por la parte superior de la batería.
Note: Montará los terminales de anillo a los cables de la batería en los siguientes pasos.
Piezas necesarias en este paso:
| Arnés de datos del módem – 300 cm | 1 |
| Bridas | 8 |
Atornille el conector del arnés del módem en la pantalla.

Enrute el cable de datos del módem a través del compartimiento de almacenamiento.
Enrute el cable de datos del módem a lo largo del arnés de cables de la máquina y a través del anillo de goma en la chapa del suelo.

Fije el cable de datos del módem en los arneses de cable de la máquina con 4 bridas para cable.
En la parte inferior de la máquina, enrute el cable de datos del módem hacia atrás, a lo largo del arnés de cables de la máquina.

En el lateral trasero del radiador, enrute el cable de datos del módem hacia arriba.

Fije el cable de datos del módem en los arneses de cable de la máquina con 4 bridas para cable.
Enrute el cable de datos del módem a lo largo del arnés de alimentación del módem, fuera del lado derecho de la máquina, y entre el soporte del depósito de combustible y el guardabarros delantero derecho.


Piezas necesarias en este paso:
| Módem CL-55 | 1 |
| Soporte del módem | 1 |
| Perno (n.º 10 x 1¾") | 2 |
| Espaciador | 2 |
| Contratuerca (N.º 10) | 2 |
Enchufe el conector coaxial del arnés de la antena del módem con la etiqueta en el puerto coaxial del módem CL-55 con la marca WIFI/BT y apriete el conector coaxial.

Enchufe el conector a presión coaxial azul del arnés de la antena del módem con la etiqueta en el conector del módem CL-55 marcado , hasta que los conectores se enganchen con seguridad.
Enchufe el conector a presión coaxial violeta del arnés de la antena del módem con la etiqueta en el conector del módem CL-55 marcado , hasta que los conectores se enganchen con seguridad.
Solo módems CDMA: enchufe el conector a presión coaxial rojo del arnés de la antena del módem con la etiqueta LTE-2 en el conector del módem CL-55 con la marca 4G DIV, hasta que los conectores se enganchen con seguridad.
Note: El módem GSM no tiene un conector LTE-2.
Enchufe el conector de 4 pines del arnés de datos del módem con la etiqueta en el conector hembra de 4 vías (sin marcar) del módem CL-55 y apriete la tuerca moleteada del conector de 4 pines.

Enchufe el conector hembra de 18 vías del arnés de alimentación del módem con la etiqueta en el conector de 18 pines del módem CL-55.
Fije el módem al soporte con 2 pernos (n.º 10 x 1¾"), 2 espaciadores y 2 contratuercas (n.º 10)

Coloque el soporte del módem en el panel de la caja del asiento derecho sobre los cabezales de los pernos.
Important: Asegúrese de que los arneses de cables estén enrutados dentro del soporte del módem.

Piezas necesarias en este paso:
| Arnés de ISO-CAN bus – 302 cm | 1 |
| Bridas | 12 |
En la parte delantera de la máquina, alinee el conector de 4 pines del arnés de ISO-CAN bus – 302 cm con la etiqueta TO ISOBUS (A ISOBUS) hacia el panel del salpicadero.

Retire el terminador ISO bus del conector hembra de 4 vías del arnés de GeoLink con la etiqueta CAN 1 ISOBUS TERMINATOR (Terminador de CAN 1 ISOBUS).
Note: Ya no necesitará el tapón.

Enchufe el conector TO ISOBUS (A ISOBUS) del arnés de ISO-CAN bus en el conector CAN 1 ISOBUS TERMINATOR (terminador de CAN 1 ISOBUS) del arnés de GeoLink.
Enrute el otro extremo del arnés de ISO-CAN bus a través del anillo de goma del suelo.

Fije el arnés de ISO-CAN bus al arnés de cables de la máquina con 2 bridas.
En la parte inferior de la máquina, enrute el arnés de ISO-CAN bus a lo largo del arnés de cables de la máquina.

Fije el arnés de ISO-CAN bus al arnés de cables de la máquina con 3 bridas.
Gire el asiento del pasajero hacia delante y sujételo con la varilla de sujeción.
A la derecha del radiador, enrute el arnés de ISO-CAN bus hacia arriba, a lo largo del arnés de cables de la máquina y hacia la consola central.

Enrute el arnés de ISO-CAN bus bajo la base de la consola y a lo largo del arnés de cables de la máquina.

Enrute el conector de 3 pines (con la etiqueta TO TORO CANBUS (A TORO CANBUS)) y el conector hembra de 3 vías (con la etiqueta CAN PORT A (Puerto A CAN)) del arnés de ISO-CAN bus a través del taladro en la base de la consola.
Fije el arnés de ISO-CAN bus al arnés de cables de la máquina con 6 bridas.
Retire el tapón del conector hembra de 3 vías del arnés de cables de la máquina (con la etiqueta CAN DIAGNOSTICS INTERCONNECT (Interconexión de diagnóstico CAN).

Enchufe el conector de 3 pines del arnés ISO-CAN bus (con la etiqueta TO TORO CANBUS (A TORO CANBUS)) en el conector hembra de 3 vías del arnés de cables de la máquina (con la etiqueta CAN DIAGNOSTICS INTERCONNECT (Interconexión de diagnóstico CAN).
Baje el asiento del pasajero.
Retire los 4 tornillos con arandela prensada (¼" x ¾") que sujetan el panel lateral de la consola central.

Incline el asiento del pasajero hacia adelante y retire el tornillo con arandela prensada trasero inferior.
Retire el panel lateral de la consola central.
Hacia delante del controlador TEC, retire y conserve la resistencia de 75Ω del conector hembra de 3 vías (sin etiquetar) del arnés de cables de la máquina.
Note: Instalará el panel lateral en la consola central al instalar el kit de AutoSteer para el fumigador de césped Multi Pro 5800 con GeoLink; consulte las instrucciones de configuración en las Instrucciones de instalación del kit de AutoSteer.

Monte el panel lateral en el bastidor de la consola con 4 tornillos con arandela prensada (¼" x ¾").

Incline el asiento hacia adelante e instale el tornillo con arandela prensada trasero inferior.
Piezas necesarias en este paso:
| Arnés del adaptador – 13 cm | 1 |
| Brida para cable | 1 |
En el receptor de satélite y en la antena, retire y deseche el terminador ISO bus del conector hembra de 6 vías.

Enchufe el conector de 6 pines del arnés del adaptador – 13 cm en el conector hembra de 6 vías del arnés de GeoLink.
Fije el arnés del adaptador en el arnés de GeoLink con una brida.
Enrute el terminal positivo (cable rojo), el terminal negativo (cable negro) y el bloque de fusibles (50 A) del arnés de cables trasero hacia arriba entre la caja de la batería y el chasis de la máquina.

Enrute el terminal positivo (cable rojo), el terminal negativo (cable negro) y el bloque de fusibles de 10 A del arnés eléctrico de navegación hacia arriba entre la caja de la batería y el chasis de la máquina.
Enrute los terminales de anillo con la etiqueta (batería) y (masa) del arnés de alimentación del módem hacia arriba, entre la caja de la batería y el chasis de la máquina.
Retire los pernos en T y las tuercas hexagonales de los terminales de los cables positivo y negativo de la batería (Figura 156).
Ensamble un perno en T a través del terminal positivo (cable rojo) del arnés de cables trasero, el terminal positivo del arnés eléctrico de navegación, el arnés de alimentación del módem y el terminal del cable positivo de la batería.
Sujete provisionalmente los terminales y el perno en T con una tuerca hexagonal.
Ensamble un perno en T a través del terminal negativo (cable negro) del arnés de cables trasero, el terminal negativo del arnés eléctrico de navegación, el arnés de alimentación del módem y el terminal del cable negativo de la batería.
Sujete provisionalmente los terminales y el perno en T con una tuerca hexagonal.
Conecte la batería; consulte el Manual del operador.
Introduzca la llave en el interruptor de encendido y gire la llave a la posición de CONECTADO.
Note: No arranque el motor.
En la pantalla de presentación, mantenga pulsado el botón 5 (extremo derecha) del InfoCenter para acceder a la pantalla del Menú principal.


En el Menú principal, pulse el botón 1 o el botón 2 hasta que aparezca resaltada la opción Settings (Ajustes) y pulse el botón 4 para desplazarse por los menús de los ajustes.

En el menú Settings (Configuración), pulse el botón 1 o el botón 2 hasta que aparezca resaltada la opción GeoLink y pulse el botón 4 para desplazarse hasta el menú de GeoLink.

En el menú GeoLink, pulse el botón 4 para seleccionar la opción Yes (Sí) y pulse el botón 5 para guardar los ajustes y salir del menú.

Gire el interruptor de encendido a la posición de DESCONECTADO.

Gire el interruptor de encendido a la posición de CONECTADO.
Note: En el InfoCenter debe aparecer la pantalla inicial del sistema GeoLink.

Gire el interruptor de encendido a la posición de DESCONECTADO.
Gire la llave de contacto a la posición de CONECTADO.
Compruebe que cada uno de los siguientes componentes indica que recibe alimentación:
Consola de control – muestra gráficos y texto

Receptor de satélite – se enciende el indicador PWR

Módem – se encienden los indicadores LED.

Controlador automático de secciones — se enciende el indicador de ESTADO

Gire la llave de contacto a la posición de DESCONECTADO.
Compruebe que los componentes siguientes no reciben corriente:
Consola de control
Receptor de satélite
Controlador automático de secciones
Consulte la Guía de software del sistema GeoLink.
Realice los siguientes procedimientos:
Verificación de la versión de software.
Selección de las unidades de medida.
Creación de una parcela.
Creación de un nuevo producto y caudal de aplicación.
Cree una tarea de fumigación.
Comprobación del sistema de fumigación.
Equilibrado de la válvula de desvío de agitación.
Calibración del caudalímetro.
Comprobación del estado de las comunicaciones móviles.
Calibración de la brújula en las instalaciones del distribuidor.
Borrado de la memoria NVRAM en las instalaciones del cliente.
Calibración de la brújula en las instalaciones del cliente.