Note: Dieses Kit ist für die Montage mit Modell 41712 oder Modell 41713 vorgesehen.
Das GeoLink Sprühsystem ist ein Anbaugerät für ein Toro Multi Pro Rasensprühfahrzeug und sollte nur von geschultem Bedienpersonal in gewerblichen Anwendungen eingesetzt werden. Es ist hauptsächlich für das Sprühen von Gras auf gepflegten Grünflächen in Parkanlagen, Golfplätzen, Sportplätzen und öffentlichen Anlagen gedacht. Der zweckfremde Einsatz dieser Maschine kann für Sie und Unbeteiligte gefährlich sein.
Lesen Sie diese Informationen sorgfältig durch, um sich mit dem ordnungsgemäßen Einsatz und der Wartung des Geräts vertraut zu machen und Verletzungen und eine Beschädigung des Geräts zu vermeiden. Sie tragen die Verantwortung für einen ordnungsgemäßen und sicheren Einsatz des Geräts.
Besuchen Sie Toro.com, hinsichtlich Produktsicherheit und Schulungsunterlagen, Zubehörinformationen, Standort eines Händlers, oder Registrierung des Produkts.
Wenden Sie sich an Ihren autorisierten Service-Vertragshändler oder Kundendienst, wenn Sie eine Serviceleistung, Toro Originalersatzteile oder zusätzliche Informationen benötigen. Halten Sie hierfür die Modell- und Seriennummern Ihres Produkts griffbereit. In Bild 1 ist angegeben, wo an dem Produkt die Modell- und die Seriennummer angebracht sind. Tragen Sie hier die Modell- und Seriennummern des Geräts ein.
Important: Scannen Sie mit Ihrem Mobilgerät den QR-Code (falls vorhanden) auf dem Typenschild, um auf Garantie-, Ersatzteil- oder andere Produktinformationen zuzugreifen.

In dieser Anleitung werden potenzielle Gefahren angeführt, und Sicherheitshinweise werden vom Sicherheitswarnsymbol (Bild 2) gekennzeichnet. Dieses Warnsymbol weist auf eine Gefahr hin, die zu schweren oder tödlichen Verletzungen führen kann, wenn Sie die empfohlenen Sicherheitsvorkehrungen nicht einhalten.

In dieser Anleitung werden zwei Begriffe zur Hervorhebung von Informationen verwendet. Wichtig weist auf spezielle mechanische Informationen hin, und Hinweis hebt allgemeine Informationen hervor, die Ihre besondere Beachtung verdienen.
Die im Sprühsystem verwendeten Chemikalien können gefährlich und giftig für Sie, Unbeteiligte, Tiere, Pflanzen, Boden oder anderes Eigentum sein.
Lesen Sie die chemischen Warnaufkleber und die Sicherheitsdatenblätter für alle verwendeten Chemikalien sorgfältig durch, und halten Sie sich an die Angaben. Tragen Sie außerdem die vom Chemikalienhersteller empfohlene Schutzkleidung. Tragen Sie z. B. geeignete Schutzanzüge, einschließlich Atemschutzmaske und Schutzbrille, Handschuhe oder andere Kleidung, damit Sie nicht mit den Chemikalien in Kontakt kommen.
Denken Sie daran, dass mehrere Chemikalien verwendet werden, und dass Sie alle Angaben berücksichtigen müssen.
Weigern Sie sich, das Sprühfahrzeug einzusetzen, wenn diese Informationen nicht verfügbar sind.
Vor dem Umgang mit einem Sprühsystem sollten Sie sicherstellen, dass es dreimal ausgespült und gemäß den Empfehlungen der Chemikalienhersteller neutralisiert wurde; alle Ventile müssen auch dreimal ausgespült werden.
Stellen Sie sicher, dass eine ausreichende Menge an frischem Wasser und Seife in der Nähe verfügbar sind, und waschen Sie unverzüglich jede Chemikalie ab, mit der Sie in Kontakt kommen.
![]() |
Die Sicherheits- und Bedienungsaufkleber sind für den Bediener gut sichtbar und befinden sich in der Nähe der möglichen Gefahrenbereiche. Tauschen Sie beschädigte oder verloren gegangene Aufkleber aus. |



Siehe Bedienungsanleitung für Ihre Maschine.
Stellen Sie die Maschine auf einer ebenen Fläche ab und aktivieren Sie die Feststellbremse.
Fahren Sie die linken und rechten Auslegerabschnitte in die horizontale Stellung aus.
Stellen Sie den Motor ab, ziehen Sie den Schlüssel ab und trennen Sie den Akku.
Reinigen Sie das Sprühfahrzeug.
Important: Sie müssen den Sprühbehälter komplett leeren, bevor Sie das Finishingkit für das GeoLink-Sprühsystem installieren.
Entfernen Sie die folgenden Befestigungsteile, mit denen die Rückseite der Fahrwerkabdeckung am Chassis der Maschine befestigt ist, und bewahren Sie sie auf:
Maschinen Baujahr 2016: sieben Bundkopfschrauben (5/16" x ⅞") und sieben Unterlegscheiben (5/16")
Maschinen ab Baujahr 2017: fünf Bundkopfschrauben (5/16" x ⅞") und fünf Unterlegscheiben (5/16")


Nehmen Sie die vier Sicherungsbundmuttern (5/16") von den Schrauben und der Schlossschraube ab, mit denen die Stützriemen der Fahrwerkabdeckung an den Befestigungshalterungen des Motors der Maschine befestigt sind, und bewahren Sie sie auf.
Note: Entfernen Sie die Schrauben nicht von der Maschine.

Heben Sie die Stützriemen über die Schrauben, mit denen die Fahrwerkabdeckung an den Befestigungshalterungen des Motors montiert ist.
Nehmen Sie die Fahrwerkabdeckung von der Maschine ab.
Entfernen Sie die drei Bundkopfschrauben und eine Bundmutter, mit denen die Befestigungshalterung für das Motorsteuermodul an der Stützhalterung für den Motor und den Zubehörkasten des Motors befestigt ist, und bewahren Sie sie auf.


Verschieben Sie das Motorsteuermodul und die Befestigungshalterung nach unten und hinten, um die Anschlüsse der vorderen und hinteren Kabelbäume der Maschine zugänglich zu machen.
Note: Entfernen Sie das Motorsteuermodul nicht von der Maschine und trennen Sie es nicht ab.
Suchen Sie den Druckmessschlauchanschluss am Ende des Ventils am rechten Auslegerabschnitt.

Drücken Sie den Ring der Schlauchkupplung hinein und ziehen Sie den Druckmessschlauch für das Manometer am Armaturenbrett heraus.
Note: Verwenden Sie eine Maschinenhebevorrichtung, wenn Sie den vorderen und hinteren Kabelbaum abtrennen.

Suchen Sie an der Maschinenunterseite entlang des rechten Rahmenrohrs die elektrischen Anschlüsse für den vorderen und hinteren Kabelbaum der Maschine (Bild 7).
Ziehen Sie die sechs Steckerpaare zwischen dem vorderen und hinteren Kabelbaum ab, wie in Bild 8 bis Bild 13 abgebildet.






Entfernen Sie die drei Eindrückbefestigungen, mit denen der hintere Kabelbaum in den Löchern im rechten Rahmenrohr der Maschine befestigt ist (Bild 14).

Ziehen Sie hinten an der Maschine (zwischen dem rechten Rahmenrohr und dem rechten Kotflügel) den 3-poligen Stecker des Geschwindigkeitssensorkabelbaums am rechten hydraulischen Antriebsmotor von der 3-poligen Buchse des hinteren Hauptkabelbaums ab.

Trennen Sie an der Rückseite der Verteilerbefestigung die 3-polige Buchse vom Rührwerkventil und die 3-poligen Buchsen von den drei Auslegerabschnittsventilen.

Entfernen Sie die Eindrückbefestigungen, mit denen der hintere Kabelbaum in den Löchern an der vorderen Seite und in der unteren Platte der Verteilerbefestigung befestigt ist.

Trennen Sie die 3-polige Buchse für den hinteren Kabelbaum vom 3-poligen Stecker für den Druckwandler.

Ziehen Sie hinten an der Maschine die folgenden 2-poligen Buchsen für den Hubzylinderverteiler wie folgt ab:
Magnetspule, rechts oben
Magnetspule, links oben
Aktivieren der Magnetspule
Magnetspule, rechts unten
Magnetspule, links unten

Trennen Sie hinten an der Maschine, innen an der Sprühpumpe, die 2-polige Buchse des hinteren Hauptkabelbaums vom 2-poligen Stecker des Relais für die Pumpe.

Entfernen Sie die Eindrückbefestigung, mit der der hintere Kabelbaum in den Löchern im hinteren Querrohr (hinter den Hydraulikantriebsmotoren) befestigt ist.

Ziehen Sie den Druckmessschlauch für das Messgerät am Armaturenbrett aus dem hinteren Maschinenkabelbaum.

Entfernen Sie den hinteren Kabelbaum von der Maschine.
Note: Sie benötigen den hinteren Hauptkabelbaum, den Sie von der Maschine entfernt haben, nicht mehr.
Für diesen Arbeitsschritt erforderliche Teile:
| Kabelbinder | 1 |
| Schalterblende | 1 |
Drücken Sie unter dem Armaturenbrett der Maschine die Verriegelungsnasen des Dosierungssteuerschalters zusammen und drücken Sie den Dosierungssteuerschalter aus dem Armaturenbrett.

Trennen Sie die 8-polige Buchse des vorderen Kabelbaums der Maschine (mit Rate Switch beschriftet) vom 8-poligen Stecker des Schalters.
Note: Sie benötigen den Dosierungsschalter, den Sie von der Maschine entfernt haben, nicht mehr.
Verlegen Sie den Zweig des vorderen Kabelbaums für den Dosierungsschalter durch die Öffnung im Armaturenbrett und befestigen Sie den Kabelzweig mit einem Kabelbinder am vorderen Kabelbaum.
Setzen Sie die Schalterblende in das Armaturenbrett ein, bis die Blende richtig in der Abdeckung einrastet.
Note: Bewahren Sie alle Teile für die spätere Montage und die Verwendung als Ersatzteile auf.
Entfernen Sie den Halter, mit dem der Anschlussstückdeckel gesichert ist, das T-Anschlussstück und den Druckwandler am Ende der Auslegerabschnittsventile.

Trennen Sie den Deckel, den Wandler und das T-Anschlussstück.
Note: Bewahren Sie alle Teile für die spätere Montage und die Verwendung als Ersatzteile auf, sofern nicht anders angegeben.
Entfernen Sie die zwei Schrauben, Unterlegscheiben und Sicherungsmuttern, mit denen die Ventilbefestigung an der Verteilerbefestigung angebracht ist.

Lösen Sie die zwei Bundkopfschrauben (¼" x 3"), die zwei Sicherungsbundmuttern (¼") und vier Unterlegscheiben, mit denen die drei Auslegerabschnittsventile an der Befestigungshalterung angebracht sind, ohne sie zu entfernen.

Entfernen Sie die Flanschklemme und die Dichtung, mit denen die drei Auslegerabschnittsventile am Durchflussmessgerät befestigt sind.
Note: Entfernen Sie das Durchflussmessgerät nicht.

Entfernen Sie am äußeren Auslegerabschnitt die Schlauchklemme, mit der der Zulaufschlauch für den Auslegerabschnitt am gezahnten T-Anschlussstück befestigt ist.

Nehmen Sie den Schlauch vom T-Anschlussstück ab.
Nehmen Sie das freie Ende des Schlauchs von der R-Klemme ab.
Wiederholen Sie die Schritte 1 bis 3 für den Zulaufschlauch am anderen äußeren Auslegerabschnitt.
Entfernen Sie unter dem mittleren Auslegerabschnitt die Schlauchklemme, mit der der Zulaufschlauch für den Auslegerabschnitt am gezahnten T-Anschlussstück befestigt ist.

Entfernen Sie die Befestigungen, mit denen die geraden Anschlussstücke an den Schnellkupplungsanschlussstücken der Auslegerabschnittsventile befestigt sind.

Entfernen Sie die von den Auslegerabschnittsventilen getrennten Schläuche.
Entfernen Sie am unteren Ende des oberen Überlaufschlauchs die Bundkopfschraube (5/16" x ¾"), die Unterlegscheibe (5/16") und die R-Klemme, mit denen der obere Überlaufschlauch an der hinteren Sattelplatte der Maschine befestigt ist.


Entfernen Sie die zwei Schlauchklemmen, mit denen der obere und untere Überlaufschlauch am gezahnten 90°-Anschlussstück befestigt ist, und bewahren Sie sie auf.
Entfernen Sie das gezahnte 90°-Anschlussstück von den Schläuchen und bewahren Sie es auf.
Entfernen Sie die Schlauchklemmen, mit denen der Ablassventilschlauch und der hintere Behälterablassschlauch am gezahnten T-Anschlussstück befestigt sind.


Entfernen Sie das T-Anschlussstück vom Ablassventilschlauch vom hinteren Behälterablassschlauch.
Entfernen Sie den Halter, mit dem das gezahnte 90°-Anschlussstück des Überlaufschlauchs am Schnellkupplungsanschlussstück des Sicherheitsventils am rechten Auslegerabschnittsventil befestigt ist, und trennen Sie den Schlauch und die Ventilanschlussstücke.

Entfernen Sie die oberen und unteren Überlaufschläuche von der Maschine.
Note: Das Abstellventil, das T-Anschlussstück, der obere und untere Überlaufschlauch werden nicht mehr benötigt.

Setzen Sie das gezahnte 90°- Anschlussstück, das Sie in Schritt 3 entfernt haben, in den Ablassventilschlauch und den hinteren Behälterablassschlauch ein.


Befestigen Sie das gezahnte 90°- Anschlussstück und die Ablassschläuche mit den zwei Schlauchklemmen, die Sie in Schritt 2 entfernt haben.
Entfernen Sie den Halter, mit dem der Aktuator am Verteilerventil für das Abschnittventil befestigt ist, und bewahren Sie ihn auf.
Note: Drücken Sie die zwei Schenkel des Halters zusammen und nach unten.

Nehmen Sie den Aktuator vom Verteilerventil ab und bewahren Sie ihn auf.
Wiederholen Sie diese Schritte für die beiden anderen Ventilaktuatoren.
Entfernen Sie die zwei Schrauben (¼" x 3"), die vier Unterlegscheiben und die zwei Sicherungsmuttern (¼"), mit denen die Auslegerabschnittsventile an der Verteilerbefestigung befestigt sind (Bild 26).
Nehmen Sie die Auslegerabschnittsventile aus der Verteilerbefestigung und legen Sie die Ventile zur Seite.
Note: Bewahren Sie die Auslegerabschnittsventile auf. Sie können die Schrauben, Unterlegscheiben und Sicherungsmuttern entsorgen.
Für diesen Arbeitsschritt erforderliche Teile:
| Ventilbefestigung und Ventilbaugruppe | 1 |
| Dosier-/Abschnittsteuerung | 1 |
| Magnet | 4 |
| Schraube (Nr. 8) | 4 |
| Unterlegscheibe (8) | 4 |
| Sicherungsmutter (Nr. 8) | 4 |
| Flachscheibe (1/4") | 2 |
| Bundkopfschraube (5/16" x ¾") | 8 |
| Sicherungsbundmuttern (5/16") | 8 |
| Bundkopfschraube (¼" x ¾") | 2 |
| Sicherungsbundmutter (¼") | 2 |
Kapazität der Hebevorrichtung: 23 kg
Verwenden Sie eine Hebevorrichtung mit der angegebenen Kapazität, heben Sie die Ventilbefestigung an und fluchten Sie sie über dem mittleren Auslegerabschnitt aus.

Fluchten Sie die Löcher in der Befestigungshalterung der Ventilbefestigung mit den Löchern im Trägerrahmen des mittleren Auslegerabschnitts aus.

Befestigen Sie die Ventilbefestigung mit vier Schrauben (5/16" x ¾") und vier Sicherungsbundmuttern (5/16") am Trägerrahmen.

Wiederholen Sie die Schritte oben für die andere Befestigungshalterung der Ventilbefestigung am anderen Trägerrahmen.
Ziehen Sie die Bundkopfschrauben und die Sicherungsbundmuttern mit 1978-2542 N∙cm an.
Entfernen Sie die Halter, mit denen die Deckel an der Verteilerbaugruppe befestigt sind, und fluchten Sie die Überlaufhalterungen über den Oberseiten der Ventile aus.

Schrauben Sie die Deckel und die Halter wieder auf, um die Überlaufhalterungen an der Verteilerbaugruppe zu sichern.

Montieren Sie die Überlaufhalterungen und die Verteilerbaugruppe mit vier Schrauben (¼" x 3"), acht Unterlegscheiben (⅝") und vier Sicherungsmuttern (¼") wie in Bild 45 dargestellt an der Ventilbefestigung.

Befestigen Sie die Magneten und Flachscheiben (¼") mit vier Schrauben (Nr. 8) und vier Sicherungsmuttern (Nr. 8) an der Dosier-/Abschnittsteuerung.
Note: Ziehen Sie sie eine weitere Viertelumdrehung von Hand fest, um die Baugruppe zu sichern. Durch zu festes Anziehen können die Magneten beschädigt werden.

Setzen Sie die Steuerungsbaugruppe auf die Ventilbefestigung.

Für diesen Arbeitsschritt erforderliche Teile:
| Gezahntes Flanschanschlussstück (1") | 1 |
| Schlauch (1" x 7-1/4") | 1 |
| Schlauchklemme | 4 |
| Druckwandler | 1 |
| Verteiler | 1 |
| Schlauch (1" x 8-1/2") | 1 |
| R-Klemme | 1 |
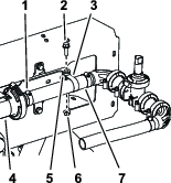
Richten Sie den Anschlussstückdeckel mit dem Druckwandler und der Dichtung am T-Anschlussflansch am Verteiler aus.

Befestigen Sie den Anschlussstückdeckel und die Dichtung mit der Flanschklemme am T-Anschlussstück.
Befestigen Sie den Schlauch (1" x 7¼") am gezahnten Krümmer des Druckwandlers und Verteilers.

Befestigen Sie die Schläuche und die gezahnten Anschlussstücke mit Schlauchklemmen.
Befestigen Sie den Schlauch (1" x 8½") am anderen gezahnten Krümmer des Druckwandlers und Verteilers.
Befestigen Sie den Schlauch und das gezahnte Anschlussstück mit einer Schlauchklemme.
Befestigen Sie den Schlauch (1" x 7¼"), der am Druckwandler und Verteiler befestigt ist, am gezahnten Flanschanschlussstück des Durchflussmessgeräts.

Befestigen Sie den Schlauch lose mit einer Schlauchklemme am gezahnten Flanschanschlussstück.
Befestigen Sie den Druckwandler und den Verteiler mit einer R-Klemme und der enthaltenen Bundkopfschraube (¼" x ¾") und Sicherungsbundmutter (¼") an der Verteilerbefestigung.
Befestigen Sie den Schlauch (1" x 8½") über dem 90°-Flanschanschlussstück (1").

Befestigen Sie den Schlauch mit einer Schlauchklemme am Flanschanschlussstück.
Ziehen Sie die Schlauchklemme an, mit der der Schlauch (1" x 7-1/4") am gezahnten Flanschanschlussstück befestigt ist, den Sie in Montieren des Druckwandlers an der Maschine montiert haben, siehe Bild 51.
Schneiden Sie die Schläuche zwischen den Drehköpfen durch.


Entfernen Sie die Sicherungsbundmutter (5/16"), mit der der Drehkopf an der Stütze befestigt ist.
Note: Die Sechskantschraube (5/16" x ¾", Edelstahl) kommt aus der oberen Klemmenhälfte heraus, wenn Sie die Klemme öffnen. Bewahren Sie die Schraube für einen späteren Einbau auf.Bewahren Sie die Sicherungsbundmutter und den Drehkopf auf.Entsorgen Sie die Schlauchzähne und die abgeschnittenen Schlauchstücke.

Entfernen Sie die Edelstahlschrauben (Nr. 12 x 1¼") und die gezahnten Schlauchschäfte.
Note: Die Sechskantschraube (5/16" x ¾", Edelstahl) kommt aus der oberen Klemmenhälfte heraus wenn Sie die Klemme öffnen. Bewahren Sie die Schraube für einen späteren Einbau auf.

Für diesen Arbeitsschritt erforderliche Teile:
| Zulaufschlauch, 279 cm | 2 |
| Zulaufschlauch, 234 cm | 2 |
| Zulaufschlauch, 188 cm | 4 |
| Zulaufschlauch, 81 cm | 2 |
| R-Klemme | 2 |
| Doppelte R-Klemme | 2 |
| Einfache R-Klemme | 2 |
Note: Stellen Sie sicher, dass das gezahnte Anschlussstück fest auf der Kupplung sitzt.
Befestigen Sie die gezahnten Anschlussstücke mit einer Halterung an den Kupplungen.

Note: Der Zulaufschlauch (81 cm) hat ein T-Anschlussstück mit zwei Zweigschläuchen und zwei gezahnten Einzelschlauchschäften.
| Auslegerabschnitt | Abschnittsventil | Düse | Zulaufschlauch |
|---|---|---|---|
| Links | 1 | 1 | 279 cm |
| 2 | 2 | 234 cm | |
| 3 | 3 | 188 cm | |
| 4 | 4 | 188 cm | |
| Mitte | 5 | 5 und 6 | 81 cm |
| 6 | 7 und 8 | 81 cm | |
| Rechts | 7 | 9 | 188 cm |
| 8 | 10 | 188 cm | |
| 9 | 11 | 234 cm | |
| 10 | 12 | 279 cm |

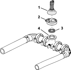
Fluchten Sie den Transferschlauch im Sattel eines Drehkopfes [mit dem Loch in der Seite des gezahnten Einzelschlauchschafts (½") aus].

Schließen Sie die obere Klemmenhälfte um den gezahnten Schlauchschaft und befestigen die Klemmenhälfte und das Drehkopfgehäuse mit der Edelstahlschraube (Nr. 12 x 1¼"). Ziehen Sie die Edelstahlschraube auf ein Drehmoment von 14-18 N∙m an.
Note: Stellen Sie sicher, dass die Sechskantschraube (5/16" x ¾") in der Vertiefung in der oberen Klemmenhälfte sitzt, wenn Sie die Klemme schließen.
Befestigen Sie die Drehköpfe mit den zuvor entfernten Sicherungsbundmuttern (5/16") an den Halterungen.

Ziehen Sie die Sicherungsbundmutter bis auf 1978-2542 N∙cm an.
Stellen Sie sicher, dass die Schläuche und gezahnten Kupplungen (13 mm x 810 mm) mit der Vorderseite des mittleren Auslegerabschnitts zwischen den linken und rechten Stützhalterungen für den mittleren Abschnitt ausgefluchtet sind.
Verlegen Sie den Schlauch (13 mm) und den gezahnten Schlauchschaft zwischen den Trägerstreben des äußeren Trägers.


Verlegen Sie den Schlauch und den gezahnten Schlauchschaft über der Trägerstrebe nach außen zur äußeren Düsenaufnahme.
Verlegen Sie den anderen Schlauch (13 mm) und den gezahnten Schlauchschaft zwischen den Trägerstreben des inneren Trägers.
Verlegen Sie den Schlauch und den gezahnten Schlauchschaft über der Trägerstrebe nach innen zur inneren Düsenaufnahme.
Wiederholen Sie die Schritte 2 bis 7 für den anderen Schlauch und die andere Düse am anderen äußeren Träger.
Verlegen Sie den Schlauch und die gezahnte Kupplung (13 mm x 810 mm) an der Seite des mittleren Auslegerabschnitts mit der linken und rechten Stützhalterung für den Auslegerabschnitt.
Entfernen Sie die Edelstahlschraube, mit der die obere Klemmhälfte am Sattel befestigt ist.

Ermitteln Sie das Loch in der Seite des gezahnten Einzelschlauchschafts am Ende des Schlauchs 25 cm vom Schlauch (Sprühventil 5 oder 6) für den mittleren Auslegerabschnitt.

Fluchten Sie den Transferschlauch im Sattel eines Drehkopfes mit dem Loch in der Seite des gezahnten Einzelschlauchschafts (½") aus.
Schließen Sie die obere Klemmenhälfte um den gezahnten Schlauchschaft und befestigen die Klemmenhälfte und das Sprühdüsengehäuse mit der Edelstahlschraube (Nr. 12 x 1¼"). Ziehen Sie die Edelstahlschraube bis auf 226-282 N∙cm an.
Important: Ziehen Sie die Edelstahlschraube nicht zu fest an.
Note: Stellen Sie sicher, dass die Sechskantschraube (5/16" x ¾") in der Vertiefung in der oberen Klemmenhälfte sitzt, wenn Sie die Klemme schließen.
Wiederholen Sie die Schritte 2 bis 4 an den gezahnten Einzelschlauchschäften der anderen Schläuche (Sprühventil 5 oder 6) für den mittleren Auslegerabschnitt.
Fluchten Sie die zuvor entfernte Sechskantschraube (5/16" x ¾") des Drehkopfes durch das Loch in der Aufnahme aus und befestigen Sie den Drehkopf mit einer Sicherungsbundmutter (5/16") lose an der Aufnahme.

Wiederholen Sie den Schritt oben für die drei anderen Drehköpfe für den mittleren Auslegerabschnitt.
Ziehen Sie die Sicherungsbundmuttern bis auf 1978–2542 N·cm an.
Für diesen Arbeitsschritt erforderliche Teile:
| Hinterer Kabelbaum | 1 |
| Kabelbinder | 3 |
Ermitteln Sie den 165-cm-Zweig und den 203-cm-Zweig des neuen elektrischen Kabelbaums.

Verlegen Sie den 165-cm-Zweig und den 203-cm-Zweig des neuen elektrischen Kabelbaums zwischen die Ventilbefestigung für die 10 Sprühventile und die rechte Stütze für die Verteilerbefestigung.

Verlegen Sie den 165-cm-Zweig und den 203-cm-Zweig des elektrischen Kabelbaums nach vorne entlang des rechten Rahmenrohrs.

Stecken Sie die Eindrückbefestigungen des 203-cm-Zweiges des hinteren Kabelbaums in die Löcher im rechten Rahmenrohr, aus denen Sie die Eindrückbefestigungen des alten hinteren Kabelbaums entfernt haben, siehe Schritt 3 in Abtrennen des vorderen und hinteren Kabelbaums.
Note: Verwenden Sie eine Maschinenhebevorrichtung, wenn Sie den vorderen und hinteren Kabelbaum anschließen.
Suchen Sie an der Maschinenunterseite entlang des rechten Rahmenrohrs die elektrischen Anschlüsse für den vorderen und hinteren Kabelbaum der Maschine.

Verbinden Sie die 10-polige Buchse des vorderen Kabelbaums für die Sprühkabelbaumverbindung mit dem 10-poligen Stecker des hinteren Kabelbaums für die Sprühkabelbaumverbindung (Bild 73).

Stecken Sie den 8-poligen Stecker des vorderen Kabelbaums für die Sprühkabelbaumverbindung in die 8-polige Buchse des hinteren Kabelbaums für den Dosierungsschalter.

Stecken Sie den 2-poligen Stecker des vorderen Kabelbaums für die Spülpumpe in die 2-polige Buchse des hinteren Kabelbaums für die Spülpumpe.

Stecken Sie den 2-poligen Stecker des vorderen Kabelbaums für den Schlauchtrommelstrom in die 2-polige Buchse des hinteren Kabelbaums für den Schlauchtrommelstrom.

Stecken Sie den 10-poligen Stecker des vorderen Kabelbaums für die Sprühkabelbaumverbindung in die 10-polige Buchse des hinteren Kabelbaums für die Sprühkabelbaumverbindung.

Um den Anschluss der Kabelbäume für die Navigationselektrik und -daten zu vereinfachen, stellen Sie sicher, dass die 1-polige Buchse des hinteren Kabelbaums und die 4-polige Buchse des hinteren Kabelbaums oben am Kabelbaum ausgerichtet sind.

Befestigen Sie das Pumpen-Unterbrecherrelais des hinteren Kabelbaums an der rechten Stützhalterung des Sitzstützwinkels.


Verlegen Sie den Druckmessschlauch für das Messgerät am Armaturenbrett entlang des hinteren Kabelbaums der Maschine.

Befestigen Sie den Druckmessschlauch mit drei Kabelbindern neben den drei Eindrückbefestigungen an den Chassisankerpunkten für den hinteren Kabelbaum am hinteren Kabelbaum.
Important: Klemmen Sie den Druckmessschlauch nicht ein oder drücken ihn zusammen; ziehen Sie die Kabelbinder nur so weit an, dass sie den Schlauch stützen.
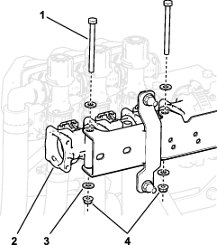
Fluchten Sie die Löcher in der Befestigungshalterung für das Motorsteuermodul mit dem Loch in der Stützhalterung des Motors und dem Zubehörkasten des Motors aus.


Befestigen Sie die Befestigungshalterung mit drei Bundkopfschrauben und einer Bundmutter, die Sie in Schritt 1 in Entfernen von Motorsteuermodul und Befestigungshalterung entfernt haben, am Motor und ziehen Sie die Schrauben und Mutter mit der Hand an.
Fluchten Sie die Fahrwerkabdeckung mit dem unteren Chassis der Maschine aus.


Schieben Sie die vorderen Befestigungsflansche der Fahrwerkabdeckung über die Schrauben und die Schlossschraube an den Motorbefestigungshalterungen der Maschine.
Befestigen Sie die Fahrwerkabdeckung mit den vier Sicherungsbundmuttern (5/16"), die Sie in Schritt 2 von Entfernen der Fahrwerkabdeckung entfernt haben, an den Befestigungshalterungen des Motors.
Fluchten Sie die Löcher im hinteren Teil der Fahrwerkabdeckung mit den Löchern im Chassis aus.

Befestigen Sie den hinteren Teil der Fahrwerkabdeckung mit den in Schritt 1 von Entfernen der Fahrwerkabdeckung entfernten Befestigungsmitteln am Chassis wie folgt:
Maschinen Baujahr 2016: sieben Bundkopfschrauben (5/16" x ⅞") und sieben Unterlegscheiben (5/16")
Maschinen ab Baujahr 2017: fünf Bundkopfschrauben (5/16" x ⅞") und fünf Unterlegscheiben (5/16")
Ziehen Sie die Muttern und Schrauben bis auf 1129–1582 N·cm an.
Für diesen Arbeitsschritt erforderliche Teile:
| Kabelbinder | 3 |
Verlegen Sie den 203-cm-Zweig des Kabelbaums an der Innenseite der Stützstrebe für die Ventilbefestigung und nach hinten zur 10-Ventil-Befestigung.

Verlegen Sie den 81-cm-Kabelbaumzweig für das Durchflussmessgerät und das Rührwerkventil über die Vorderseite der Verteilerbefestigung.
Stecken Sie die Eindrückbefestigungen des 81-cm-Kabelbaumzweigs in die Löcher im unteren Flansch der Verteilerbefestigung.
Verlegen Sie den 203-cm-Kabelbaumzweig so über die Rückseite der 10-Ventil-Befestigung, dass sich die zehn Anschlüsse für die Abschnittsventile hinten und unter den Ventilen befinden.

Stecken Sie die Eindrückbefestigungen des 203-cm-Kabelbaumzweigs in die Löcher im unteren Flansch der 10-Ventil-Befestigung.
Verlegen Sie den 86-cm-Kabelbaumzweig für die Magnetspule der Sprühpumpe über die Oberseite des Sprührahmenkanals und nach unten zur Magnetspule der Sprühpumpe.

Stecken Sie die Eindrückbefestigung des 86-cm-Kabelbaumzweigs in das Loch im Sprühfahrzeug-Rahmenkanal.
Verlegen Sie die Anschlüsse des 203-cm-Kabelbaumzweigs, der mit Flow Meter und Pressure Transducer beschriftet ist, an der Rückseite der Verteilerbefestigung.

Verbinden Sie die 3-polige Buchse des 203-cm-Kabelbaumzweigs für das Durchflussmessgerät (nicht beschriftet) mit dem 3-poligen Stecker des Kabelbaums des Durchflussmessgeräts.
Verbinden Sie die 3-polige Buchse des 203-cm-Kabelbaumzweigs (mit Pressure Transducer beschriftet) mit dem 3-poligen Stecker des Druckwandlers.
Befestigen Sie die magnetischen Kabelbaumanker für das Durchflussmessgerät und den Druckwandler an der Oberfläche der Verteilerbefestigung.
Verlegen Sie den 3-poligen Stecker für den Kabelbaum des Rührwerkventils nach vorne zur Verteilerbefestigung.

Stecken Sie den 3-poligen Stecker für den Kabelbaum des Rührwerkventils in die 3-polige Buchse des 203-cm-Kabelbaumzweigs, der mit Agitation Valve“ beschriftet ist.

Verbinden Sie unten am Hubzylinderverteiler die 2-polige Buchse des hinteren Kabelbaums, die mit Enable Solenoid beschriftet ist, mit dem 2-poligen Stecker zum Aktivieren der Magnetspule.


Verbinden Sie an der rechten Magnetspule unten die 2-polige Buchse des hinteren Kabelbaums, der mit Right Down beschriftet ist, mit dem 2-poligen Stecker für die rechte Magnetspule unten.
Verbinden Sie an der rechten Magnetspule oben die 2-polige Buchse des hinteren Kabelbaums, der mit Right Up beschriftet ist, mit dem 2-poligen Stecker für die rechte Magnetspule oben.
Verbinden Sie an der linken Magnetspule unten die 2-polige Buchse des hinteren Kabelbaums, der mit Left Down beschriftet ist, mit dem 2-poligen Stecker für die linke Magnetspule unten.
Verbinden Sie an der linken Magnetspule oben die 2-polige Buchse des hinteren Kabelbaums, der mit Left Up beschriftet ist, mit dem 2-poligen Stecker für die linke Magnetspule oben.
Verlegen Sie die 3-poligen Buchsen des 203-cm-Kabelbaumzweigs, die mit Nozzle Valve 1 bis Nozzle Valve 5 beschriftet sind, an der Rückseite der 10-Ventil-Befestigung und unterhalb der Ventile 1 bis 5.

Verlegen Sie die 3-poligen Buchsen des 203-cm-Kabelbaumzweigs, der mit Nozzle Valve 6 bis Nozzle Valve 10 beschriftet ist, an der Rückseite der 10-Ventil-Befestigung und unterhalb der Düsenventilen 6 bis 10.
Verbinden Sie die 3-polige Buchse des hinteren Kabelbaums, der mit Nozzle 1 beschriftet ist, mit dem 3-poligen Stecker des Kabelbaums für das Düsenventil 1.
Important: Es ist wichtig, dass Sie jede beschriftete 3-polige Buchse des hinteren Kabelbaums an den richtigen 3-poligen Stecker jeder Düsenventilposition anschließen.
Wiederholen Sie Schritt 3 an den Düsenventilpositionen 2 bis 10.
Verbinden Sie hinten an der Maschine, innen an der Sprühpumpe, die mit Spray Pump Solenoid beschriftete 2-polige Buchse des 86-cm-Kabelbaumzweigs mit dem 2-poligen Stecker des Relais für die Pumpe.

Verbinden Sie hinten an der Maschine (zwischen dem rechten Rahmenrohr und dem rechten Kotflügel) den 3-poligen Stecker des Geschwindigkeitssensorkabelbaums am rechten hydraulischen Antriebsmotor mit der 3-poligen Buchse (nicht beschriftet) des hinteren Hauptkabelbaums.

Verlegen Sie den 165-cm-Zweig des Kabelbaums nach oben und in den hinteren Teil des Motorraums, entlang der rechten Stütze für die Motorhaube und an der Vorderseite des Schachts, der den Luftfilter und den Motor verbindet.
Note: Sie befestigen den 165-cm-Zweig des hinteren Kabelbaums in Verlegen des Navigationsdaten- und Elektrokabelbaums zum Akku..

Verlegen Sie den 165-cm-Zweig des Kabelbaums über den Sitzkastenwinkel und nach unten entlang der linken Stütze für die Motorhaube.
Note: Sie befestigen den 165-cm-Zweig des hinteren Kabelbaums in Verlegen des Navigationsdaten- und Elektrokabelbaums zum Akku..

Verlegen Sie den 165-cm-Zweig des Kabelbaums nach unten entlang der linken Stütze für die Motorhaube und unter dem linken Rahmenrohr.

Verlegen Sie die 50-A-Sicherung und die Pluspol- und Minuspol-Ringkabelschuhe des 165-cm-Zweigs des Kabelbaums zur Oberseite des Akkus.
Note: Sie schließen die Installation der Ringkabelschuhe in späteren Schritten ab.
Drehen Sie den Fahrersitz nach vorne und setzen Sie die Stützstange für den Sitz in die Arretierung im Konsolenkanal.
Entfernen Sie die fünf Bundkopfschrauben (¼" x ¾"), mit denen die Abdeckung an der linken Seite der mittleren Konsole befestigt ist.

Nehmen Sie die Abdeckung von der mittleren Konsole ab.
Note: Drehen Sie den Fahrersitz ggf. nach unten, wenn Sie die Abdeckung von der mittleren Konsole entfernen.

Verlegen Sie den 81-cm-Zweig des hinteren Kabelbaums entlang des vorderen Kabelbaums und nach oben durch die Durchführung im Konsolenkanal.

Verlegen Sie den 81-cm-Zweig des hinteren Kabelbaums nach vorne entlang des vorderen Kabelbaums und durch die Durchführung an der Rückseite der mittleren Konsole.
Drücken Sie den Riegel für die 8-polige Buchse am Sprühpumpenschalter hinein und trennen Sie die Buchse vom Schalter.

Positionieren Sie die 8-polige Buchse so, dass Sie die Rückseite der Buchse sehen können und der Riegel nach oben zeigt.


Stecken Sie die Anschlussklemme am Ende des 81-cm-Zweigs des hinteren Kabelbaums in die Anschlussklemmenposition Nr. 4 der 8-poligen Buchse.
Note: Stellen Sie sicher, dass der Riegel der Anschlussklemme in die 8-polige Buchse einrastet.
Verbinden Sie die 8-polige Buchse des Kabelbaums mit dem 8-poligen Stecker des Sprühpumpenschalters.

Befestigen Sie den 81-cm-Zweig des hinteren Kabelbaums am vorderen Kabelbaum der Maschine.

Fluchten Sie die Abdeckung, die Sie entfernt haben (Bild 99), mit der linken Seite der mittleren Konsole aus.

Befestigen Sie die Abdeckung mit den fünf Bundkopfschrauben (¼" x ¾"), die Sie zuvor entfernt haben (Bild 98), an der mittleren Konsole und ziehen Sie die Schrauben auf 520-678 N∙cm an.
Richten Sie das Ende des Druckmessschlauches vom Manometer am Armaturenbrett zur Kupplung am Ende des Ventilabschnitts aus.

Führen Sie den Messschlauch in die Kupplung ein, bis der Schlauch fest sitzt.
Für diesen Arbeitsschritt erforderliche Teile:
| Navigationsempfänger | 1 |
| Empfängerbefestigung | 1 |
| Schrauben(M5) | 4 |
| Unterlegscheibe | 4 |
| U-Bügel | 4 |
| Sicherungsbundmutter (⅜") | 4 |
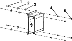
Befestigen Sie den Empfänger mit vier Schrauben (M5) und vier Unterlegscheiben an der Empfängerbefestigung.
Note: Achten Sie darauf, dass beide Pfeile zur Vorderseite der Maschine zeigen.

Richten Sie den Pfeil an der Empfängerbefestigung an der Mitte des Überrollbügels aus und befestigen Sie die Baugruppe mit 4 U-Bügeln und 4 Sicherungsmuttern (⅜") am Überrollschutz.

Für diesen Arbeitsschritt erforderliche Teile:
| Antennenhalterung | 1 |
| Niete | 2 |
| Magnet | 2 |
| Modem Antenne | 1 |
| Antenne mit hoher Verstärkung | 1 |
| Kabelbinder | 7 |
Montieren Sie die Halterung der Modemantenne am Überrollbügel.

Reinigen Sie die Oberfläche der Antennenhalterung von Fett oder Öl.
Entfernen Sie die Schutzfolie des doppelseitigen Klebebands und kleben Sie die Antenne auf die Halterung.

Befestigen Sie die Antenne und den Kabelbaum mit drei Kabelbindern an der Halterung.

Platzieren Sie die Antenne mit hoher Verstärkung am Überrollbügel.

Verlegen Sie die Modemantennen-Kabelbäume nach rechts, entlang des Überrollbügels.

Führen Sie den Kabelbaum nach unten und nach vorne.
Für diesen Arbeitsschritt erforderliche Teile:
| Anzeige | 1 |
| Kugelbefestigung | 1 |
| Monitorarm | 1 |
| Verstärkungshalterung | 1 |
| Bundkopfschraube (¼" x 1½") | 4 |
| Unterlegscheibe (¼") | 4 |
| Sicherungsbundmutter (¼") | 4 |
Ermitteln Sie die vier Lochausstanzungen (¼") im Armaturenbrett, die sich links vom Haltegriff befinden.

Entfernen Sie die vier Lochausstanzungen vom Armaturenbrett.
Entfernen Sie die zwei Kreuzschlitzschrauben (¼" x 1") und die Sicherungsmutter (¼"), mit denen die Haubenhalterung am Armaturenbrett befestigt ist.

Entfernen Sie die zwei Clipmuttern (¼") von der Haubenhalterung.
Note: Bewahren Sie die Kreuzschlitzschrauben, die Sicherungsbundmutter und die Clipmuttern auf; entsorgen Sie die Haubenhalterung.
Bringen Sie die zuvor entfernen Clipmuttern an der Verstärkungshalterung an.

Montieren Sie die Halterung mit den vier Bundkopfschrauben (¼" x 1½") und vier Unterlegscheiben am Armaturenbrett und befestigen Sie sie mit vier Sicherungsbundmuttern (¼") an der Verstärkungsplatte.

Montieren Sie die Verstärkungsplatte lose mit den beiden zuvor entfernen Kreuzschlitzschrauben (¼" x 1") und der Sicherungsbundmutter (¼").
Ziehen Sie die Bundkopfschrauben, die Kreuzschlitzschrauben und die Sicherungsbundmutter auf 1163-1435 N∙cm an.
Befestigen Sie die Anzeigenbaugruppe mit vier Schrauben (5/16") und vier Muttern (5/16") an der Halterung.

Ziehen Sie das Handrad des Anzeigenarms in der gewünschten Position fest.
Für diesen Arbeitsschritt erforderliche Teile:
| Kabelbaumadapter | 1 |
| Daten- und Elektrokabelbaum | 1 |
| Kabelbinder | 8 |

Verlegen Sie den 302-cm-Navigationsdaten- und Elektrokabelbaumzweig entlang des rechten Überrollschutzrohrs mit der 12-poligen Buchse (grau) und der 12-poligen Buchse (schwarz) nach oben zum Navigationsempfänger.
Important: Lassen Sie beim Befestigen des Kabelbaums am Überrollschutzrohr den Kabelbaum etwas durchhängen, sodass kein Zug auf die Stecker ausgeübt wird.
Verbinden Sie die beiden Stecker an der langen Seite der 12-poligen Buchse des Datenkabelbaums mit der Bezeichnung mit den beiden Steckplätzen im Adapterkabelbaum.

Stecken Sie den Adapterkabelbaum in den Empfänger ein.
Verlegen Sie den 302-cm-Datenkabelbaumzweig des Elektrokabelbaums mit dem 4-poligen Stecker mit der Bezeichnung nach unten zu dem Bereich in dem der vordere und hintere Kabelbaum für die Maschine angeschlossen werden, siehe Bild 78 in Anschließen des vorderen und hinteren Kabelbaums.

Verlegen Sie den 34-cm-Zweig des Datenkabelbaums mit dem 4-poligen Stecker mit der Bezeichnung nach unten zu dem Bereich, in dem der vordere und hintere Kabelbaum für die Maschine angeschlossen werden, siehe Bild 78 in Anschließen des vorderen und hinteren Kabelbaums.
Stecken Sie den 4-poligen Stecker des Datenkabelbaums mit der Bezeichnung in die 4-polige Buchse des hinteren GeoLink-Kabelbaums für das CAN 2/Sprühsteuergerät.

Entfernen Sie den Abschlusswiderstand von der 6-poligen Buchse des Datenkabels und entsorgen Sie ihn.

Verlegen Sie den 270,5-cm-Stromzweig des Navigationsdaten- und Elektrokabelbaums über den Sitzkastenwinkel und nach unten entlang der linken Stütze für die Motorhaube.

Befestigen Sie den Kabelbaum mit Kabelbindern an der Motorhaubenstütze.
Verlegen Sie den 270,5-cm-Stromzweig entlang der linken Stütze für die Motorhaube und unter dem linken Rahmenrohr.

Befestigen Sie den Kabelbaum mit drei Kabelbindern im Loch im Sitzkastenwinkel und in der Motorhaubenstütze.

Verlegen Sie die 10-A-Sicherung und die Pluspol- und Minuspol-Ringkabelschuhe des 220-cm-Zweigs des elektrischen Kabelbaums für das Navigationssystem zur Oberseite des Akkus.
Note: Sie schließen die Installation der Ringkabelschuhe in späteren Schritten ab.
Verlegen Sie auf der rechten Seite des Motorraums den 226-cm-Datenkabelbaumzweig für den Monitor vor dem Motorluftfilter und nach unten zur rechten unteren Ecke des Kühlers.

Verlegen Sie den Kabelbaum nach vorne und durch die zwei R-Klemmen unten an der Maschine und nach oben durch die Durchführung durch das Loch im Bodenblech.

Befestigen Sie den Kabelbaum mit drei Kabelbindern am vorderen Kabelbaum der Maschine.
Verlegen Sie den Kabelbaumzweig weiter nach oben und entlang des vorderen Kabelbaums der Maschine und nach oben durch die Durchführung durch das Loch im Armaturenbrett.
Stecken Sie das Kabel auf der Rückseite des Monitors ein.

Für diesen Arbeitsschritt erforderliche Teile:
| Modem-Stromkabelbaum, 1850 mm, GeoLink Präzisionssprühsystem-Kit (Modell 41712 oder Modell 41713) | 1 |
| Kabelbinder, GeoLink Präzisionssprühsystem-Kit (Modell 41712 oder Modell 41713) | 5 |
Verlegen Sie zwischen der Kraftstofftankhalterung und dem Kotflügel vorne rechts den Flachstecker (beschriftet mit ) und die zwei Ringkabelschuhe (beschriftet mit und ) des Modem-Stromkabelbaums unterhalb des Rahmens der Maschine.

Verlegen Sie den Modem-Stromkabelbaum auf der Innenseite des rechten Sitzkastens nach vorne und den mit RS232 beschrifteten Stromkabelbaumstecker entlang des Maschinenkabelbaums.
Note: Der mit RS232 beschriftete Stecker wird nicht verwendet.


Verlegen Sie den Modem-Stromkabelbaum über die Oberseite des Kühlers, entlang des Maschinenkabelbaums.


Stecken Sie die Klemme des Modem-Stromkabelbaums mit der Bezeichnung in die Steckdose für die optionale Stromversorgung des Sicherungskastens.
Note: Wenn der Sicherungskasten Ihrer Maschine keine optionale Stromversorgung besitzt, installieren Sie einen zusätzlichen Sicherungskasten für Optionen; wenden Sie sich hierzu an Ihren Toro Vertragshändler.

Stecken Sie die Sicherung (10 A) in die Sicherungskastensteckdose für die optionale Stromversorgung, die Sie in Schritt 1 verwendet haben.

Befestigen Sie den Abzweig der Stromversorgung und Erdung des Kit-Kabelbaums mit fünf Kabelbindern am Maschinenkabelbaum.
Verlegen Sie die Ringkabelschuhe des Kabelbaums mit der Bezeichnung und nach hinten und über die Sitzstütze.

Verlegen Sie die Ringkabelschuhe unter dem linken Rahmenrohr und über die Oberseite des Akkus.
Note: Sie bringen die Ringkabelschuhe in späteren Schritten an den Akkukabeln an.
Für diesen Arbeitsschritt erforderliche Teile:
| Modem-Datenkabelbaum (300 cm) | 1 |
| Kabelbinder | 8 |
Schrauben Sie den Stecker des Modem-Datenkabelbaums in die Anzeige.

Verlegen Sie das Modem-Datenkabel durch das Ablagefach.
Verlegen Sie das Modem-Datenkabel entlang des Kabelbaums der Maschine und durch die Durchführung in der Bodenplatte.

Befestigen Sie das Modem-Datenkabel mit vier Kabelbindern an den Maschinenkabelbäumen.
Verlegen Sie das Modem-Datenkabel unten an der Maschine nach hinten, entlang des Kabelbaums der Maschine.

Verlegen Sie das Modem-Datenkabel auf der Rückseite des Kühlers nach oben.

Befestigen Sie das Modem-Datenkabel mit vier Kabelbindern an den Maschinenkabelbäumen.
Verlegen Sie das Modem-Datenkabel entlang des Modem-Stromkabelbaums außen an der rechten Seite der Maschine und zwischen der Kraftstofftankhalterung und dem Kotflügel vorne rechts.


Für diesen Arbeitsschritt erforderliche Teile:
| CL-55-Modem | 1 |
| Modem-Halterung | 1 |
| Schraube (Nr. 10 x 1¾") | 2 |
| Distanzstück | 2 |
| Sicherungsmutter (Nr. 10) | 2 |
Stecken Sie den Koaxialstecker des Modem-Antennenkabelbaums, der mit beschriftet ist, in den Koaxialanschluss des CL-55-Modems, der mit WIFI/BT beschriftet ist, und ziehen Sie den Koaxialstecker fest.

Stecken Sie den blauen Koaxialsteckverbinder des Modem-Antennenkabelbaums mit der Bezeichnung in den mit gekennzeichneten Anschluss des CL-55-Modems, bis die Stecker fest einrasten.
Stecken Sie den violetten Koaxialsteckverbinder des Modem-Antennenkabelbaums mit der Bezeichnung in den mit gekennzeichneten Anschluss des CL-55-Modems, bis die Stecker fest einrasten.
Nur CDMA-Modems: Stecken Sie den roten Koaxialsteckverbinder des Modem-Antennenkabelbaums mit der Bezeichnung LTE-2 in den Anschluss des CL-55-Modems mit der Bezeichnung 4G DIV, bis die Stecker fest einrasten.
Note: Das GSM-Modem verfügt über keinen LTE-2-Anschluss.
Stecken Sie den 4-poligen Stecker des Modemdaten-Kabelbaums mit der Bezeichnung in die 4-polige Buchse (ohne Beschriftung) des CL-55-Modems und ziehen Sie die Rändelmutter des 4-poligen Steckers fest.

Verbinden Sie die 18-polige Buchse des Modem-Stromkabelbaums mit der Bezeichnung mit dem 18-poligen Stecker des CL-55-Modems.
Befestigen Sie das Modem mit zwei Schrauben (Nr. 10 x 1¾"), zwei Distanzstücken und zwei Sicherungsmuttern (Nr. 10) an der Halterung.

Platzieren Sie die Modem-Halterung am rechten Sitzkastenblech über den Schraubenköpfen.
Important: Stellen Sie sicher, dass die Kabelbäume durch die Modem-Halterung geführt werden.

Für diesen Arbeitsschritt erforderliche Teile:
| ISO-CAN-Bus-Kabelbaum (302 cm) | 1 |
| Kabelbinder | 12 |
Richten Sie an der Vorderseite der Maschine den 4-poligen Stecker des ISO-CAN-Bus-Kabelbaums (302 cm) mit der Bezeichnung TO ISOBUS zum Armaturenbrett aus.

Entfernen Sie den ISO-Bus-Abschlusswiderstand von der 4-poligen Buchse des GeoLink-Kabelbaums mit der Bezeichnung CAN 1 ISOBUS TERMINATOR.
Note: Die Kappe wird nicht mehr benötigt.

Stecken Sie den Stecker des ISO-CAN-Bus-Kabelbaums mit der Bezeichnung TO ISOBUS in die Buchse des GeoLink-Kabelbaums mit der Bezeichnung CAN 1 ISOBUS TERMINATOR.
Verlegen Sie das andere Ende des ISO-CAN-Bus-Kabelbaums durch die Durchführung im Boden.

Befestigen Sie den ISO-CAN-Bus-Kabelbaum mit zwei Kabelbindern am Maschinenkabelbaum.
Verlegen Sie den ISO-CAN-Bus-Kabelbaum unten an der Maschine entlang des Kabelbaums der Maschine.

Befestigen Sie den ISO-CAN-Bus-Kabelbaum mit drei Kabelbindern am Maschinenkabelbaum.
Drehen Sie den Beifahrersitz nach vorne und stützen Sie ihn mit der Stützstange ab.
Verlegen Sie den ISO-CAN-Bus-Kabelbaum auf der rechten Seite des Kühlers nach oben, entlang des Maschinenkabelbaums und zur mittleren Konsole.

Verlegen Sie den ISO-CAN-Bus-Kabelbaum unter dem Konsolensockel und entlang des Maschinenkabelbaums.

Verlegen Sie den 3-poligen Stecker (beschriftet mit TO TORO CANBUS) und die 3-polige Buchse (beschriftet mit CAN PORT A) des ISO-CAN-Bus-Kabelbaums durch das Loch im Konsolensockel.
Befestigen Sie den ISO-CAN-Kabelbaum mit sechs Kabelbindern am Maschinenkabelbaum.
Entfernen Sie die Kappe von der 3-poligen Buchse des Maschinenkabelbaums (beschriftet mit CAN DIAGNOSTICS INTERCONNECT).

Stecken Sie den 3-poligen Stecker des ISO-CAN-Bus-Kabelbaums (beschriftet mit TO TORO CANBUS) in die 3-polige Buchse des Maschinenkabelbaums (beschriftet mit CAN DIAGNOSTICS INTERCONNECT).
Klappen Sie den Beifahrersitz herunter.
Entfernen Sie die vier Bundkopfschrauben (¼" x ¾"), mit denen die seitliche Abdeckung der mittleren Konsole befestigt ist.

Kippen Sie den Beifahrersitz nach vorne und entfernen Sie die untere hintere Bundkopfschraube.
Nehmen Sie die Seitenplatte von der mittleren Konsole ab.
Entfernen Sie vor dem TEC-Steuergerät den 75-Ω-Widerstand von der 3-poligen Buchse (nicht beschriftet) des Maschinenkabelbaums und bewahren Sie ihn auf.
Note: Sie montieren die Seitenplatte an der mittleren Konsole, wenn Sie das AutoSteer-Kit für das Rasensprühfahrzeug Multi Pro 5800 mit GeoLink montieren; siehe die Einrichtungsanweisungen in den Montageanweisungen für das AutoSteer-Kit.

Befestigen Sie die Seitenplatte mit vier Bundkopfschrauben (¼" x ¾") am Konsolenrahmen.

Kippen Sie den Sitz nach vorne und bringen Sie die untere hintere Bundkopfschraube an.
Für diesen Arbeitsschritt erforderliche Teile:
| Adapterkabelbaum (13 cm) | 1 |
| Kabelbinder | 1 |
Entfernen Sie am Satellitenempfänger und an der Antenne den ISO-Bus-Abschlusswiderstand für die 6-polige Buchse und entsorgen Sie ihn.

Stecken Sie den 6-poligen Stecker des Adapterkabelbaums (13 cm) in die 6-polige Buchse des GeoLink-Kabelbaums.
Befestigen Sie den Adapterkabelbaum mit einem Kabelbinder am GeoLink-Kabelbaum.
Verlegen Sie den Pluspol (rotes Kabel), den Minuspol (schwarzes Kabel) und den Sicherungskasten (50 A) des hinteren Kabelbaums nach oben zwischen dem Akkukasten und dem Chassis der Maschine.

Verlegen Sie den Pluspol (rotes Kabel), den Minuspol (schwarzes Kabel) und den 10-A-Sicherungskasten des elektrischen Navigationskabelbaums nach oben zwischen dem Batteriekasten und dem Chassis der Maschine.
Verlegen Sie die Ringkabelschuhe mit der Bezeichnung und des Modem-Stromkabelbaums nach oben zwischen dem Akkukasten und dem Chassis der Maschine.
Entfernen Sie die T-Schrauben und Sechskantmuttern von den Polen der Plus- und Minuskabel der Batterie (Bild 156).
Setzen Sie eine T-Schraube durch den Pluspol (rotes Kabel) des hinteren Kabelbaums, den Pluspol des Navigations-/Elektrokabelbaums, des Modem-Stromkabelbaums und den Pol des Pluskabels des Akkus ein.
Befestigen Sie die Pole und die T-Schraube lose mit einer Sechskantmutter.
Setzen Sie eine T-Schraube durch den Minuspol (schwarzes Kabel) des hinteren Kabelbaums, den Minuspol des Navigations-Elektrokabelbaums, des Modem-Stromkabelbaums und den Pol des Minuskabels des Akkus ein.
Befestigen Sie die Pole und die T-Schraube lose mit einer Sechskantmutter.
Schließen Sie die Batterie an, siehe Bedienungsanleitung.
Stecken Sie den Schlüssel in das Zündschloss und drehen Sie ihn in die EIN-Stellung.
Note: Lassen Sie den Motor nicht an.
Halten Sie auf dem Begrüßungsbildschirm die Taste 5 (ganz rechts) auf dem InfoCenter gedrückt, um auf das Hauptmenü zuzugreifen.


Drücken Sie im Hauptmenü die Taste 1 oder Taste 2, bis die Option Einstellungen“ markiert ist; drücken Sie die Taste 4, um zu den Menüs Einstellungen“ zu navigieren.

Drücken Sie im Menü Einstellungen“ die Taste 1 oder Taste 2, bis die Option GeoLink“ markiert ist; drücken Sie die Taste 4, um zum Menü GeoLink“ zu navigieren.

Im GeoLink-Menü: Drücken Sie die Taste 4, um die Option Ja“ auszuwählen. Drücken Sie die Taste 5, um die Einstellungen zu speichern und das Menü zu beenden.

Drehen Sie das Zündschloss in die AUS-Stellung.

Drehen Sie das Zündschloss in die EIN-Stellung.
Note: Der Begrüßungsbildschirm für das GeoLink-System sollte im InfoCenter angezeigt werden.

Drehen Sie das Zündschloss in die AUS-Stellung.
Drehen Sie den Zündschlüssel in die EIN-Stellung.
Vergewissern Sie sich, dass die folgenden Komponenten anzeigen, dass sie mit Strom versorgt werden:
Bedienkonsole: zeigt Grafiken und Texte an

Satellitenempfänger: die PWR-Anzeige leuchtet

Modem: die LED-Anzeigen leuchten.

Automatische Abschnittssteuerung: die STATUSanzeige leuchtet

Drehen Sie den Zündschlüssel in die AUS-Stellung.
Vergewissern Sie sich, dass die folgenden Komponenten ausgeschaltet sind:
Steuerkonsole
Satellitenempfänger
Automatische Abschnittsteuerung
Siehe Softwarehandbuch für Ihr GeoLink System.
Führen Sie die folgenden Verfahren durch:
Überprüfen Sie die Softwareversion.
Wählen Sie die Maßeinheiten aus.
Erstellen Sie einen Bereich.
Erstellen Sie ein neues Produkt und eine neue Ausbringungsmenge.
Erstellen Sie eine Sprühaufgabe.
Überprüfen Sie das Sprühsystem.
Gleichen Sie das Rührwerksicherheitsventil aus.
Kalibrieren Sie den Durchflussmesser.
Überprüfen Sie die Signalstärke des Mobilfunks.
Kalibrieren Sie den Kompass am Standort des Vertriebspartners.
Löschen Sie das NVRAM am Kundenstandort.
Kalibrieren Sie den Kompass am Kundenstandort.