保守
保守作業時の安全確保
-
清掃、整備、調整等を行う前に以下を行ってください:
-
平らな場所に駐車する。
-
すべての動作が停止するのを待つ。
-
本機をトラクションユニットから切り離す。
-
ジャッキスタンドを降ろす。.
-
保守作業は、各部が十分冷えてから行う。
-
-
このマニュアルに記載されている以外の保守整備作業は行わないでください。大がかりな修理が必要になった時や補助が必要な時は、Toro 正規代理店にご相談ください。
-
機体の下で作業をするときには、機体をブロックやジャッキスタンドで確実に支えてください。
-
整備作業終了後は、必ずすべてのガード類を確実に取り付けてください。
-
適切な訓練を受けていない人には機械の整備をさせないでください。
-
各部品が良好な状態にあり、ボルトナット類が十分にしまっているか常に点検してください。破損するなどして読めなくなったステッカーは交換してください。
-
安全装置の作動を妨げるようなことや、安全装置による保護を弱めるようなことはしないでください。安全装置が適切に作動するかを定期的に点検してください。
-
大がかりな修理が必要になった時や補助が必要な時は、Toro 正規代理店にご相談ください。
-
機体の改造を行うと、機械の挙動や性能、耐久性などが変化し、そのために事故が起きる可能性があります。このような使い方をすると Toro® の製品保証が適用されなくなります。
ブロアのグリスアップ作業
駆動シャフトの潤滑
| 整備間隔 | 整備手順 |
|---|---|
| 使用するごとまたは毎日 |
|
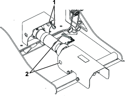
取り付けキットの駆動シャフトに付いているベアリングとブッシュを定期的に潤滑する必要があります。普通に使用している場合には、2号リチウムグリスを使用します。ブロアを水洗いしたときは整備間隔に関係なく直ちにグリスアップしてください。
-
平らな場所に駐車し、ブロアを床面まで降下させる。
-
グリスポイントは全部で 9 ヶ所です;取り付けキットの整備デカルまたは 図 23を参照。

ギアボックスの潤滑油の点検
| 整備間隔 | 整備手順 |
|---|---|
| 使用開始後最初の 50 時間 |
|
| 150運転時間ごと |
|
ギアボックスの容量: 177ml
吹き出し口の点検
| 整備間隔 | 整備手順 |
|---|---|
| 使用するごとまたは毎日 |
|
吹き出し口のクランプの点検とポジションの調整
警告
吹き出し口から噴出する風は非常に強く、まともに吹かれるとケガをする危険があります。
平らな床面にトラクションユニットを駐車し、PTO を止め、キーを抜き取り、各部の動きが完全に停止したのを確認してください。
-
吹き出し口のクランプを点検します(図 26);ゆるんでいないことを毎日確認してください。
Note: 障害物を強引に乗り越えたり不整地で牽引したりするとノズルがゆるむ可能性があります。
-
すきまの大きさが 13 mm に維持されるようにクランプを締め付けてください。
吹き出し口は、手で自由に回せるのが正常です。

吹き出し口のガイドの清掃
ノズルベルトの調整
| 整備間隔 | 整備手順 |
|---|---|
| 使用開始後最初の 8 時間 |
|
| 50運転時間ごと |
|
ノズルの方向を変える時にベルトがスリップするようになったら、ベルトの調整を行ってください。
格納保管
-
ブロアの各部に付着している泥や刈りかすをきれいに落とす。
Important: 機体は中性洗剤と水で洗うことができます。ただし高圧洗浄器は使用しないでください。大量の水をかけないでください。
-
全部のボルト・ナットの締まりを点検する。磨耗している部品は交換する。
-
機体の塗装がはげていればタッチアップ修理をする。ペイントは代理店で入手することができる。
-
汚れていない乾燥したガレージなどの格納施設で保管する。ジャッキスタンドを使って、立てた状態で保管する。ブロアを床に寝かせないこと。
































