Entretien
Consignes de sécurité pendant l'entretien
-
Avant de nettoyer, réparer ou régler la machine, effectuez la procédure suivante :
-
Garez la machine sur une surface plane et horizontale.
-
Attendez l'arrêt complet de toutes les pièces en mouvement.
-
Détachez la machine du groupe de déplacement.
-
Abaissez le cric.
-
Laissez refroidir les composants de la machine avant d'effectuer tout entretien.
-
-
Effectuez uniquement les opérations d'entretien décrites dans ce manuel. Si la machine nécessite une réparation importante ou si vous avez besoin de renseignements, adressez-vous à un distributeur Toro agréé.
-
Soutenez la machine avec des cales ou des chandelles avant de travailler dessous.
-
Assurez-vous que toutes les protections sont bien fixées en place après tout entretien ou réglage de la machine.
-
Ne confiez pas l'entretien de la machine à des personnes non qualifiées.
-
Maintenez toutes les pièces en bon état de marche et toutes les fixations bien serrées. Remplacez tous les autocollants endommagés ou manquants.
-
Ne cherchez jamais à modifier la fonction prévue d'un dispositif de sécurité ni à réduire la protection qu'il assure. Vérifiez régulièrement qu'il fonctionne correctement.
-
Si la machine nécessite une réparation importante ou si vous avez besoin de renseignements, faites appel à un concessionnaire Toro agréé.
-
Toute modification de la machine susceptible d'en altérer le fonctionnement, les performances, la durabilité ou l'utilisation peut entraîner des blessures parfois mortelles. Une telle utilisation pourrait aussi annuler la garantie produit de The Toro® Company.
Graissage du souffleur
| Périodicité d'entretien | Procédure d'entretien |
|---|---|
| Toutes les 50 heures |
|
Le souffleur de débris possède des paliers et des bagues qu'il faut graisser régulièrement. Si vous utilisez la machine dans des conditions normales, lubrifiez les roulements avec de la graisse au lithium nº 2. Lubrifiez les graisseurs immédiatement après chaque lavage, quelle que soit la fréquence d'entretien indiquée.
Les points de graissage sont les suivants :
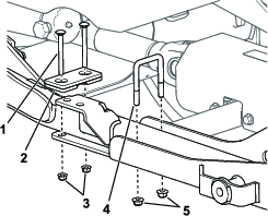
Poulie d'entraînement (Figure 21)

Arbre de roue pivotante (2) (Figure 22)

Graissage de l'arbre d'entraînement
| Périodicité d'entretien | Procédure d'entretien |
|---|---|
| À chaque utilisation ou une fois par jour |
|
L'arbre d'entraînement du kit de montage comprend des roulements et des bagues qu'il faut graisser régulièrement. Si vous utilisez la machine dans des conditions normales, lubrifiez les roulements avec de la graisse au lithium nº 2. Lubrifiez les graisseurs immédiatement après chaque lavage, quelle que soit la fréquence d'entretien indiquée.
-
Placez la machine sur une surface plane et horizontale et abaissez le souffleur.
-
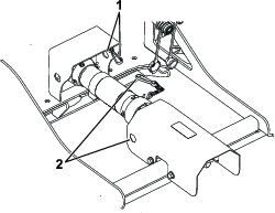
La machine comprend 9 points de graissage ; voir l'autocollant d'entretien du kit de montage ou Figure 23.

Contrôle du niveau d'huile de la boîte d'engrenages
| Périodicité d'entretien | Procédure d'entretien |
|---|---|
| Après les 50 premières heures de fonctionnement |
|
| Toutes les 150 heures |
|
Capacité de la boîte d'engrenages : 177ml
-
Placez la machine sur une surface plane et horizontale et abaissez le souffleur.
-
Retirez les 5 boulons et rondelles qui fixent le couvercle de la boîte d'engrenages au souffleur (Figure 24).

-
Déposez le couvercle pour exposer la boîte d'engrenages du souffleur (Figure 24).
-
Retirez le bouchon de contrôle/remplissage sur le côté de la boîte d'engrenages (Figure 25).

-
Vérifiez que le niveau de lubrifiant atteint l'orifice du bouchon dans la boîte d'engrenages. Si le niveau de lubrifiant est trop bas, ajoutez une quantité suffisante d'huile pour engrenages SAE 80-90 pour le faire monter jusqu'au trou.
-
Remettez le bouchon de contrôle/remplissage sur la boîte d'engrenages.
-
Remettez le couvercle en place.
Contrôle de l'embout
| Périodicité d'entretien | Procédure d'entretien |
|---|---|
| À chaque utilisation ou une fois par jour |
|
Contrôle du collier de l'emboutet réglage de la position
Attention
L'air est éjecté avec une force considérable qui peut vous blesser ou vous faire perdre l'équilibre.
Garez le groupe de déplacement sur une surface plane et horizontale, désengagez la PDF, retirez la clé et attendez l'arrêt complet de toutes les pièces mobiles avant de régler la position de l'embout du souffleur.
-
Contrôlez chaque jour le (Figure 26) serrage du collier de l'embout.
Note: L'embout peut se desserrer si vous le traînez sur des obstacles ou sur les accidents de terrain.
-
Serrez les colliers de manière à maintenir un espace de 1,3 cm.
L'embout doit tourner librement lorsque vous le déplacez à la main.

Nettoyage des guides de l'embout
Enlevez l'herbe, la saleté ou les débris accumulés autour et entre les guide de l'embout (Figure 27).
Enlevez systématiquement les débris sur l'embout pour éviter de faire caler le moteur.

Réglage de la courroie d'embout
| Périodicité d'entretien | Procédure d'entretien |
|---|---|
| Après les 8 premières heures de fonctionnement |
|
| Toutes les 50 heures |
|
Réglez la courroie si elle glisse quand vous changer l'orientation de l'embout.
-
Exercez une pression de 30 N·m au centre du long brin de la courroie (Figure 28).
Note: La courroie doit présenter une flèche de 4,8 mm.
-
Si ce n'est pas le cas, passez à l'opération suivante. Si la tension est correcte, poursuivez l'opération.

-
Desserrez l'écrou hexagonal et serrez l'écrou à embase pour augmenter la tension de la courroie (Figure 28).
Note: Ne la tendez pas excessivement.
-
Serrez l'écrou hexagonal pour bloquer le réglage.
Remisage
-
Débarrassez entièrement l'extérieur du souffleur des déchets d'herbe coupée, de la saleté et de la crasse.
Important: Vous pouvez laver la machine avec de l'eau et un détergent doux. N'utilisez pas de nettoyeur haute pression. Évitez d'utiliser une trop grande quantité d'eau.
-
Contrôlez et serrez tous les boulons et écrous. Remplacez les pièces usées.
-
Peignez toutes les surfaces métalliques éraflées ou mises à nu. Une peinture pour retouches est disponible chez les concessionnaires-réparateurs agréés.
-
Rangez la machine dans un endroit propre et sec, comme un garage ou une remise. Utilisez le cric pour ranger le souffleur en position verticale. Ne couchez pas le souffleur sur le sol.


























