Wartung
Wartungssicherheit
-
Führen Sie folgende Schritte vor dem Reinigen, Reparieren oder Einstellen der Maschine aus:
-
Stellen Sie die Maschine auf einer ebenen Fläche ab.
-
Warten Sie, bis alle beweglichen Teile zum Stillstand gekommen sind.
-
Entfernen Sie die Maschine von der Zugmaschine.
-
Senken Sie den Achsstand ab.
-
Lassen Sie alle Maschinenteile abkühlen, ehe Sie mit Wartungsarbeiten beginnen.
-
-
Führen Sie nur die in dieser Anleitung beschriebenen Wartungsarbeiten durch. Wenden Sie sich bei größeren Reparaturen oder anderen Fragen an den offiziellen Toro-Vertragshändler.
-
Stützen Sie die Maschine mit Blöcken oder Achsständern ab, wenn Sie unter der Maschine arbeiten.
-
Stellen Sie nach der Wartung oder Einstellung der Maschine sicher, dass alle Schutzvorrichtungen fest montiert sind.
-
Die Maschine sollte nie von ungeschulten Personen gewartet werden.
-
Halten Sie alle Teile in gutem Betriebszustand und alle Befestigungen angezogen. Ersetzen Sie alle beschädigten oder fehlenden Aufkleber.
-
Beeinträchtigen Sie niemals die beabsichtigte Funktion einer Sicherheitseinrichtung oder den von einer Sicherheitseinrichtung vorgesehenen Schutz. Prüfen Sie ihre einwandfreie Funktion in regelmäßigen Abständen.
-
Wenden Sie sich an den Toro-Vertragshändler, falls größere Reparaturen erforderlich sind oder Sie praktische Unterstützung benötigen.
-
Wenn Sie diese Maschine auf irgendeine Weise verändern, kann sich dies auf das Fahrverhalten, die Leistung, Haltbarkeit und Nützlichkeit auswirken, was Verletzungen ggf. tödliche Verletzungen zur Folge haben kann. Dies kann ggf. die Produktgarantie von The Toro® Company ungültig machen.
Schmieren des Laubbläsers
| Wartungsintervall | Wartungsmaßnahmen |
|---|---|
| Alle 50 Betriebsstunden |
|
Der Laubbläser hat zwei Lager und Büchsen, die regelmäßig geschmiert werden müssen. Wenn die Maschine unter normalen Bedingungen betrieben wird, schmieren Sie die Lager mit Lithiumfett Nr. 2 ab. Fetten Sie die Schmiernippel unmittelbar nach jeder Wäsche, ungeachtet des aufgeführten Intervalls.
Schmierstellen:
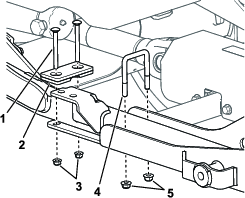
Antriebsscheibe (Bild 21)

Laufradwelle (2) (Bild 22)

Schmieren der Antriebswelle
| Wartungsintervall | Wartungsmaßnahmen |
|---|---|
| Bei jeder Verwendung oder täglich |
|
Die Antriebswelle des Befestigungskits enthält Lager und Buchsen, die Sie regelmäßig schmieren müssen. Wenn die Maschine unter normalen Bedingungen betrieben wird, schmieren Sie die Lager mit Lithiumfett Nr. 2 ab. Fetten Sie die Schmiernippel unmittelbar nach jeder Wäsche, ungeachtet des aufgeführten Intervalls.
-
Stellen Sie die Maschine und den Bläser auf eine ebene Fläche und senken Sie den Bläser ab.
-
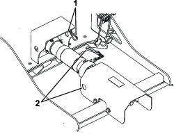
Es gibt neun Schmierpunkte; siehe Serviceaufkleber des Befestigungskits oder Bild 23.

Prüfen des Ölstands im Getriebe
| Wartungsintervall | Wartungsmaßnahmen |
|---|---|
| Nach 50 Betriebsstunden |
|
| Alle 150 Betriebsstunden |
|
Fassungsvermögen des Getriebes: 177ml
-
Stellen Sie die Maschine und den Bläser auf eine ebene Fläche und senken Sie den Bläser ab.
-
Entfernen Sie die fünf Schrauben und Scheiben, mit denen die Getriebeabdeckung am Bläser befestigt ist Bild 24).

-
Nehmen Sie die Abdeckung ab, um das Bläsergetriebe freizulegen (Bild 24).
-
Entfernen Sie die Prüf-/Füllschraube an der Seite des Getriebes (Bild 25).

-
Überprüfen Sie den Ölstand und stellen sicher, dass er am Schraubenloch am Getriebe liegt. Wenn der Schmiermittelstand niedrig ist, füllen Sie SAE 80-90 wt. Schmiermittel ein, bis der Stand am Loch liegt.
-
Setzen Sie die Prüf-/Füllschraube in das Getriebe ein.
-
Setzen Sie die Abdeckung auf.
Prüfen der Bläserdüse
| Wartungsintervall | Wartungsmaßnahmen |
|---|---|
| Bei jeder Verwendung oder täglich |
|
Prüfen der Düsenklemme und Einstellen der Position
Warnung:
Ausgestoßene Luft hat große Kraft und kann Verletzungen oder zu einem Verlust des Halts führen.
Stellen Sie die Zugmaschine auf einer ebenen Fläche ab, kuppeln Sie die Zapfwelle aus, ziehen Sie den Schlüssel ab und warten Sie, bis alle beweglichen Teile zum Stillstand gekommen sind, bevor Sie die Position der Laubbläserdüse einstellen.
-
Prüfen Sie die Düsenklemme(Bild 26) täglich, um sicherzustellen, dass diese dicht ist.
Note: Die Düse kann sich lösen, wenn sie über Hindernisse oder durch niedrige Bereiche im Gelände gezogen wird.
-
Ziehen Sie die Klemmenbefestigungen an, um einen Abstand von 1,3 cm einzuhalten.
Die Bläserdüse sollte sich frei drehen lassen, wenn Sie diese mit der Hand bewegen.

Reinigen der Düsenführungen
Prüfen und entfernen Sie bei Bedarf alles Fett, Schmutz oder Schutt, der sich um und zwischen den Düsenführungen angesammelt hat (Bild 27).
Halten Sie die Bläserdüse frei von Schmutz, damit der Motor nicht abwürgt.

Einstellen des Düsenriemens
| Wartungsintervall | Wartungsmaßnahmen |
|---|---|
| Nach acht Betriebsstunden |
|
| Alle 50 Betriebsstunden |
|
Stellen Sie den Treibriemen ein, wenn dieser beim Richtungswechsel der Bläserdüse rutscht.
-
Drücken Sie den Treibriemen, in der Mitte der längsten Spannweite, mit einer Kraft von 30 N∙m ein (Bild 28).
Note: Der Treibriemen sollte sich 4,8 mm durchbiegen.
-
Machen Sie bei einem falschen Durchbiegungswert mit dem nächsten Schritt weiter. Setzen Sie den Betrieb fort, wenn der Wert korrekt ist.

-
Lösen Sie die Sechskantmutter und ziehen Sie die Bundmutter an, um die Treibriemenspannung (Bild 28) zu erhöhen.
Note: Ziehen Sie sie nicht zu fest.
-
Ziehen Sie die Sechskantmutter an, um die Einstellung zu arretieren.
Einlagern
-
Entfernen Sie Schnittgut und Schmutz von allen äußeren Teilen des ganzen Bläsers.
Important: Sie können die Maschine mit einem milden Reinigungsmittel und Wasser waschen. Waschen Sie die Maschine nicht mit einem Hochdruckreiniger. Gehen Sie mit dem Wasser sparsam um.
-
Prüfen Sie alle Muttern und Schrauben und ziehen diese bei Bedarf nach. Tauschen Sie verschlissene Teile aus.
-
Bessern Sie alle zerkratzten oder abgeblätterten Metallflächen aus. Die passende Farbe erhalten Sie bei Ihrem Vertragshändler.
-
Lagern Sie die Maschine in einer sauberen, trockenen Garage, oder an einem anderen geeigneten Ort ein. Lagern Sie den Bläser mit dem Achsstand in der vertikalen Stellung. Legen Sie den Bläser nicht auf den Boden.


























