Onderhoud
Veiligheid bij onderhoud
-
Doe het volgende wanneer u de machine schoonmaakt, afstelt of er onderhoudswerkzaamheden aan verricht:
-
Parkeer de machine op een horizontaal oppervlak.
-
Wacht totdat alle bewegende onderdelen tot stilstand zijn gekomen.
-
De machine verwijderen van de tractie-eenheid.
-
Laat de kriksteun zakken.
-
Laat de onderdelen van de machine afkoelen voordat u onderhoudswerkzaamheden uitvoert.
-
-
Verricht onderhoudswerkzaamheden uitsluitend volgens de instructies in deze handleiding. Indien belangrijke reparaties nodig zijn of als u hulp nodig hebt, moet u contact opnemen met een erkende Toro distributeur.
-
Ondersteun de machine met blokken of kriksteunen als u eronder moet werken.
-
Zorg ervoor dat alle veiligheidsschermen goed zijn bevestigd nadat u onderhoud hebt verricht aan de machine of nadat u deze hebt afgesteld.
-
Laat personeel dat niet bekend is met de instructies nooit onderhoudswerkzaamheden aan de machine uitvoeren.
-
Zorg ervoor dat alle onderdelen in goede staat verkeren en al het bevestigingsmateriaal stevig vastzit. Vervang alle beschadigde of ontbrekende stickers.
-
Voer geen handelingen uit die van invloed zijn op de bedoelde werking van een veiligheidsvoorziening of die de bescherming waarin de veiligheidsvoorziening voorziet verminderen. Controleer de goede werking ervan regelmatig.
-
Indien grote reparaties nodig zijn of hulp is vereist, moet u contact opnemen met een erkende Toro distributeur.
-
Elke verandering aan deze machine kan gevolgen hebben voor de werking, prestaties of levensduur van de machine, en kan letsel of de dood veroorzaken. Dergelijke veranderingen kunnen ertoe leiden dat de garantie op het product van The Toro® Company komt te vervallen.
De blazer smeren
| Onderhoudsinterval | Onderhoudsprocedure |
|---|---|
| Om de 50 bedrijfsuren |
|
De bladblazer heeft lagers en lagerbussen die regelmatig moeten worden gesmeerd. Als de machine in normale omstandigheden wordt gebruikt, moet u de lagers smeren met nr. 2 smeervet op lithiumbasis. Smeer de nippels onmiddellijk na elke wasbeurt, ongeacht het voorgeschreven interval.
De smeerpunten zijn als volgt:
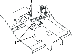
Aandrijfpoelie (Figuur 21)

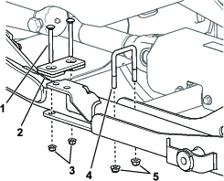
As van zwenkwiel (2) (Figuur 22)

De aandrijfas smeren
| Onderhoudsinterval | Onderhoudsprocedure |
|---|---|
| Bij elk gebruik of dagelijks |
|
De aandrijfas van de bevestigingsset heeft lagers en lagerbussen die u regelmatig moet smeren. Als u de machine in normale omstandigheden gebruikt, moet u de lagers smeren met nr. 2 smeervet op lithiumbasis. Smeer de nippels onmiddellijk na elke wasbeurt, ongeacht het voorgeschreven interval.
-
Plaats de machine en de bladblazer op een vlakke ondergrond en laat de bladblazer zakken.
-
Er zijn 9 smeerpunten; raadpleeg de onderhoudssticker van de bevestigingsset of Figuur 23.

Smering van tandwielkast controleren
| Onderhoudsinterval | Onderhoudsprocedure |
|---|---|
| Na de eerste 50 bedrijfsuren |
|
| Om de 150 bedrijfsuren |
|
Capaciteit van tandwielkast: 177 ml
-
Plaats de machine en de bladblazer op een vlakke ondergrond en laat de bladblazer zakken.
-
Verwijder de 5 bouten en ringen waarmee de afdekkap van de tandwielkast aan de bladblazer is bevestigd (Figuur 24).

-
Neem de kap weg om toegang te krijgen tot de tandwielkast van de bladblazer (Figuur 24).
-
Verwijder de controle-/vulplug aan de zijkant van de tandwielkast (Figuur 25).

-
Controleer of het oliepeil tot de plugopening in de tandwielkast reikt. Als het oliepeil te laag is, voeg dan tandwielolie klasse SAE 80-90 toe tot de olie tot de opening reikt.
-
Breng de controle-/vulplug aan op de tandwielkast.
-
Plaats het deksel terug.
De afvoer controleren
| Onderhoudsinterval | Onderhoudsprocedure |
|---|---|
| Bij elk gebruik of dagelijks |
|
Controleren van de afvoerklem en de afstellen van de positie
Waarschuwing
De uitgeblazen lucht heeft een aanzienlijke kracht en waardoor u letsel kunt oplopen of wegglijden.
Parkeer de tractie-eenheid op een horizontaal oppervlak, schakel de aftakas uit, verwijder het sleuteltje en wacht tot alle bewegende onderdelen tot stilstand zijn gekomen voordat u de positie van de afvoer van de blazer afstelt.
-
Controleer de afvoerklem (Figuur 26) dagelijks om te controleren of deze goed vastzit.
Note: De afvoer kan loskomen als deze over obstakels of door kuilen in het terrein wordt gesleept.
-
Draai de klembevestigingen vast om een speling van 1,3 cm te behouden.
Het mondstuk moet vrij kunnen draaien wanneer u het met de hand beweegt.

De geleiders van de afvoer schoonmaken
Zoek resten van gras, vuil en afval rond en tussen de geleiders van de afvoer en verwijder ze (Figuur 27).
Hou de afvoer vuilvrij om te voorkomen dat de motor stilvalt.

De riem van de afvoer afstellen
| Onderhoudsinterval | Onderhoudsprocedure |
|---|---|
| Na de eerste 8 bedrijfsuren |
|
| Om de 50 bedrijfsuren |
|
Stel de riem af als deze doorslipt wanneer u de richting van de afvoer verandert.
-
Druk de riem in het midden van het langste eind in met een kracht van 30 N·m (Figuur 28).
Note: De riem moet 4,8 mm doorbuigen.
-
Als de speling niet correct is, gaat u verder met de volgende stap. Indien de speling correct is, gaat u verder met uw werkzaamheden.

-
Zet de zeskantmoer los en draai de flensmoer aan om de riemspanning te verhogen (Figuur 28).
Note: Niet te vast zetten.
-
Draai de zeskantmoer vast om de afstelling te borgen.
Stalling
-
Verwijder maaisel, vuil en vet van de buitenkant van de gehele bladblazer.
Important: U kunt het voertuig met een mild reinigingsmiddel en water wassen. Was de machine nooit met een hogedrukreiniger. Vermijd het gebruik van teveel water.
-
Controleer alle bouten en moeren en draai deze vast. Vervang versleten onderdelen.
-
Werk alle krassen en beschadigingen van de lak bij. Bijwerklak is verkrijgbaar bij een erkende servicedealer.
-
Stal de machine in een schone, droge garage of opslagruimte. Stal de bladblazer verticaal met de kriksteun. Leg de bladblazer niet op de grond.


























