Mantenimiento
Seguridad en el mantenimiento
-
Antes de limpiar, reparar o ajustar la máquina, siga estos pasos:
-
Aparque la máquina en una superficie nivelada.
-
Espere a que se detengan todas las piezas móviles.
-
Retire la máquina de la unidad de tracción.
-
Baje el caballete.
-
Deje que se enfríen los componentes de la máquina antes de realizar cualquier tarea de mantenimiento.
-
-
Realice solamente las operaciones de mantenimiento descritas en este manual. Si se requieren reparaciones importantes o si necesita ayuda, póngase en contacto con un distribuidor autorizado Toro.
-
Apoye la máquina sobre bloques o caballetes al trabajar debajo de la misma.
-
Asegúrese de que todos los protectores están instalados correctamente después de realizar tareas de mantenimiento o ajustes en la máquina.
-
No permita que personas que no hayan recibido formación realicen mantenimiento en la máquina.
-
Mantenga todas las piezas en buenas condiciones de funcionamiento y todas las fijaciones apretadas. Sustituya todas las pegatinas deterioradas o que falten.
-
No interfiera con la función prevista de un dispositivo de seguridad ni reduzca la protección que proporcione un dispositivo seguridad. Compruebe con frecuencia que funcionan correctamente.
-
Si alguna vez es necesario efectuar reparaciones importantes, o si necesita ayuda, póngase en contacto con un Servicio Técnico Autorizado.
-
La modificación de esta máquina de cualquier manera que pudiera afectar a la operación de la máquina, su rendimiento, durabilidad o uso, podría dar lugar a lesiones o a la muerte. Dicho uso podría invalidar la garantía de The Toro® Company.
Lubricación del soplador
| Intervalo de mantenimiento y servicio | Procedimiento de mantenimiento |
|---|---|
| Cada 50 horas |
|
El soplador de residuos tiene cojinetes y casquillos que deben lubricarse regularmente. Si la máquina se utiliza en condiciones normales, lubrique los cojinetes con grasa de litio n.º 2. Lubrique inmediatamente después de cada lavado, aunque no corresponda a uno de los intervalos citados.
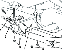
Los puntos de lubricación son los siguientes:
Polea motriz (Figura 21)

Eje de la rueda giratoria (2) (Figura 22)

Lubricación del árbol de transmisión
| Intervalo de mantenimiento y servicio | Procedimiento de mantenimiento |
|---|---|
| Cada vez que se utilice o diariamente |
|
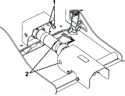
El árbol de transmisión del kit de montaje tiene cojinetes y casquillos que debe lubricar con regularidad. Si utiliza la máquina en condiciones normales, lubrique los cojinetes con grasa de litio n.º 2. Lubrique inmediatamente después de cada lavado, aunque no corresponda a uno de los intervalos citados.
-
Coloque la máquina y el soplador sobre una superficie nivelada y baje el soplador.
-
Hay 9 puntos de engrase; consulte la pegatina de mantenimiento del kit de montaje o la Figura 23.

Comprobación de la lubricación de la caja de engranajes
| Intervalo de mantenimiento y servicio | Procedimiento de mantenimiento |
|---|---|
| Después de las primeras 50 horas |
|
| Cada 150 horas |
|
Capacidad de la caja de engranajes: 177ml.
-
Coloque la máquina y el soplador sobre una superficie nivelada y baje el soplador.
-
Retire los 5 pernos y las arandelas que fijan la tapa de la caja de engranajes al soplador (Figura 24).

-
Retire la tapa para tener acceso a la caja de engranajes del soplador (Figura 24).
-
Retire el tapón de verificación/llenado del lateral de la caja de engranajes (Figura 25).

-
Compruebe el nivel de aceite para asegurarse de que llega al orificio del tapón de la caja de engranajes. Si el nivel de lubricante es bajo, añada lubricante para engranajes SAE 80-90 hasta que el nivel llegue al orificio.
-
Instale el tapón de verificación/llenado en la caja de engranajes.
-
Instale la tapa.
Comprobación de la tobera
| Intervalo de mantenimiento y servicio | Procedimiento de mantenimiento |
|---|---|
| Cada vez que se utilice o diariamente |
|
Comprobación de la abrazadera de la toberay ajuste de la posición
Advertencia
El aire expulsado tiene una fuerza considerable, y podría causar lesiones o una pérdida de equilibrio.
Aparque la unidad de tracción en una superficie nivelada, desengrane la TDF, retire la llave y espere a que se detengan todas las piezas en movimiento antes de ajustar la posición de la tobera del soplador.
-
Compruebe la abrazadera de la tobera (Figura 26) cada día para asegurarse de que está bien apretada.
Note: Si la tobera es arrastrada por encima de obstáculos o zonas bajas del terreno, podría soltarse de la abrazadera.
-
Apriete las fijaciones de la abrazadera dejando una distancia de 13 mm.
La tobera debe girar libremente cuando la mueva con la mano.

Limpieza de las guías de la tobera
Limpie cualquier acumulación de hierba, suciedad y residuos de alrededor de y entre las guías de la tobera (Figura 27).
Mantenga la tobera libre de residuos para evitar que se cale el motor..

Ajuste de la correa de la tobera
| Intervalo de mantenimiento y servicio | Procedimiento de mantenimiento |
|---|---|
| Después de las primeras 8 horas |
|
| Cada 50 horas |
|
Ajuste la correa si la correa patina al cambiar la orientación de la tobera.
-
Presione la correa en el centro del tramo más largo con una fuerza de 30 N·m (Figura 28).
Note: La correa debe desviarse 4,8 mm.
-
Si la desviación no es la correcta, continúe con el paso siguiente. Si es correcta, siga usando la máquina.

-
Afloje la tuerca hexagonal y apriete la tuerca con arandela prensada para aumentar la tensión de la correa (Figura 28).
Note: No apriete excesivamente.
-
Apriete la tuerca para afianzar el ajuste.
Almacenamiento
-
Elimine los recortes de hierba y la suciedad de las piezas externas del soplador.
Important: La máquina puede lavarse con un detergente suave y agua. No lave la máquina a presión. Evite el uso excesivo de agua.
-
Compruebe y apriete todos los pernos y tuercas. Cambie las piezas desgastadas.
-
Pinte las superficies que estén arañadas o donde esté visible el metal. Puede adquirir la pintura en su Servicio Técnico Autorizado.
-
Guarde la máquina en un garaje o almacén seco y limpio. Utilice el caballete para guardar el soplador en la posición vertical. No coloque el soplador plano sobre el suelo.


























