Note: Instale este kit con el modelo 41712 o 41713.
El sistema de fumigación GeoLink es un apero para un vehículo de fumigación de césped Toro Multi Pro y está indicado para que lo usen operadores profesionales contratados en aplicaciones comerciales. Está diseñado principalmente para fumigar en césped bien mantenido en parques, campos de golf, campos deportivos y zonas verdes comerciales. El uso de este producto para otros propósitos que los previstos podría ser peligroso para usted y para otras personas.
Lea este manual detenidamente para aprender a utilizar y mantener correctamente su producto, y para evitar lesiones y daños al producto. Usted es responsable de utilizar el producto de forma correcta y segura.
Visite www.Toro.com para buscar materiales de formación y seguridad o información sobre accesorios, para localizar un distribuidor o para registrar su producto.
Cuando necesite asistencia técnica, piezas genuinas Toro o información adicional, póngase en contacto con un Servicio Técnico Autorizado o con Asistencia al Cliente Toro, y tenga a mano los números de modelo y serie de su producto. Figura 1 identifica la ubicación de los números de modelo y serie en el producto. Escriba los números en el espacio provisto.
Important: Con su dispositivo móvil, puede escanear el código QR (si dispone del mismo) de la placa del número de serie para acceder a información sobre la garantía, las piezas, y otra información sobre el producto.

El símbolo de alerta de seguridad (Figura 2) que aparece en este manual y en la máquina identifica mensajes de seguridad importantes que usted debe observar para evitar accidentes.

El símbolo de alerta de seguridad aparece encima de información que le alerta ante acciones o situaciones inseguras, y va seguido de la palabra PELIGRO, ADVERTENCIA, o CUIDADO.
PELIGRO: Indica una situación peligrosa inminente, que si no se evita, causará la muerte o lesiones graves.
ADVERTENCIA: indica una situación potencialmente peligrosa que si no se evita, podría causar la muerte o lesiones graves.
CUIDADO: Indica una situación potencialmente peligrosa que si no se evita, podría causar lesiones menores o moderadas.
Este manual utiliza dos palabras más para resaltar información. Importante llama la atención sobre información mecánica especial, y Nota resalta información general que merece una atención especial.
Las sustancias químicas utilizadas en el sistema de fumigación pueden ser peligrosas y tóxicas para usted y para otras personas, animales, plantas, suelos y otros elementos.
Lea cuidadosamente y observe las indicaciones de todas las etiquetas de advertencia y Fichas de Datos de Seguridad de Materiales (FDSM) respecto a todos los productos químicos utilizados, y protéjase siguiendo las instrucciones del fabricante de los mismos. Por ejemplo, utilice Equipos de Protección Individual (EPI) incluyendo protección para la cara y los ojos, guantes y otros equipos para prevenir el contacto con un producto químico.
Puede haber más de un producto químico; debe evaluarse la información sobre cada uno de los productos.
¡Niéguese a utilizar o trabajar con el fumigador si esta información no está disponible!
Antes de trabajar con un sistema de fumigación, asegúrese de que el sistema ha sido sometido a un triple enjuague y neutralización con arreglo a las recomendaciones de los fabricantes de los productos químicos, y que todas las válvulas han sido abiertas y cerradas 3 veces.
Compruebe que hay un suministro adecuado de agua limpia y jabón en las inmediaciones, y lávese inmediatamente para eliminar cualquier producto químico que entre en contacto con usted.
![]() |
Las calcomanías de seguridad e instrucciones están a la vista del operador y están ubicadas cerca de cualquier zona de peligro potencial. Sustituya cualquier calcomanía que esté dañada o que falte. |




Consulte el Manual del operador de la máquina.
Aparque la máquina en una superficie nivelada y ponga el freno de estacionamiento.
Extienda las secciones de brazo izquierda y derecha a la posición horizontal.
Apague la máquina, retire la llave y desconecte la batería.
Limpie el fumigador.
Important: Debe vaciar completamente el depósito de fumigación antes de instalar el Kit de acabado del Sistema de fumigación GeoLink.
Desconecte el conector hembra de 2 vías del arnés de cables de la máquina que está conectado al conector del interruptor del asiento.

Retire la chaveta que sujeta la varilla de sujeción al soporte en la parte inferior de la chapa del asiento.

Retire las 2 chavetas que fijan el acoplamiento de giro de la chapa del asiento a los soportes del chasis.


Retire los 2 pasadores de giro que sujetan el asiento y la chapa del asiento al chasis.
Levante el asiento y la chapa del asiento y retírelos de la máquina.

Gire hacia arriba las palancas de los cierres del panel de acceso del motor.

Levante el panel de acceso del motor y retírelo de la máquina.
Retire y deseche las 2 grapas que sujetan el guardabarros delantero izquierdo al perfil inferior del ROPS.

Retire los 3 pernos (5/16" x 1") y las 3 arandelas (5/16") que sujetan el guardabarros al bastidor de la máquina.

Retire el guardabarros de la máquina.
Retire las 6 grapas y las 5 arandelas (9/16" x ½") que sujetan el panel interior del guardabarros al bastidor de la máquina.

Retire el panel interior del guardabarros de la máquina.

Repita los pasos 1 a 5 con el guardabarros y el panel interior del guardabarros del otro lado de la máquina.
Note: Si daña las grapas al retirarlas, sustitúyalas con la pieza nº. 117-2382 de Toro.
Retire los 2 tornillos de caperuza (5/16" x 1") y las 2 arandelas (5/16") que fijan la cubierta de la consola inferior y la cubierta de la consola del extremo a la máquina, y retire las cubiertas.


Retire el tornillo de caperuza (5/16" x 1") y la arandela (5/16") que fija el guardabarros delantero derecho al suelo de la plataforma.

Retire con cuidado las 2 grapas que fijan el guardabarros delantero derecho al bastidor de perfil de la barra antivuelco.


Retire el tornillo de caperuza (5/16" x 1") y la arandela (5/16") que fija el guardabarros delantero derecho al soporte del travesaño.

Retire el guardabarros delantero derecho de la máquina.
Retire las 6 grapas y las 5 arandelas (9/16" x ½") que sujetan el panel interior del guardabarros a los tubos superior derecho e inferior derecho del bastidor.

Retire el panel interior del guardabarros de la máquina.
Note: Conserve el panel interior del guardabarros delantero derecho, los tornillos de caperuza, las arandelas y las grapas que no se hayan dañado.Sustituya las grapas con la pieza n.º 117-2382 de Toro.
Desconecte los 2 conectores hembra de 2 vías del arnés de cables de la máquina de los conectores de 2 pines de los faros derecho e izquierdo.

Retire y conserve las 9 grapas que sujetan el capó al salpicadero y al bastidor de la máquina.

Retire y deseche el capó de la máquina.
Tire del tubo del sensor de presión del indicador del salpicadero para sacarlo del racor del tubo.

Desconecte los conectores hembra de 3 vías con la etiqueta LEFT SPRAY VALVE (válvula de fumigación izquierda), CENTER SPRAY VALVE (válvula de fumigación central) y RIGHT SPRAY VALVE (válvula de fumigación derecha) del arnés de cables de la máquina de los conectores de 3 pines de los actuadores de las 3 válvulas de fumigación.

Desconecte el conector hembra de 4 vías del arnés de cables de la máquina con la etiqueta RATE VALVE (válvula de caudal) del conector de 4 pines del actuador de la válvula de caudal.

Desconecte el conector hembra de 3 vías del arnés de cables de la máquina con la etiqueta MASTER SPRAY VALVE (válvula de fumigación maestra) del conector de 3 pines del actuador de la válvula de fumigación maestra.
Note: Conserve todas las piezas retiradas, a menos que se indique lo contrario.
En la sección de brazo exterior, retire la abrazadera que sujeta la manguera al acoplamiento en T dentado.

Retire la manguera del acoplamiento en T.
Retire el extremo libre de la manguera de la abrazadera en R.
Repita los pasos 1 a 3 con la manguera de suministro de la otra sección de fumigación exterior.
Debajo de la sección de brazo central, retire la abrazadera que sujeta la manguera de suministro de la sección de fumigación central al acoplamiento en T dentado.

Retire las horquillas de retención que sujetan las mangueras de suministro izquierda, central y derecha a los acoplamientos rápidos de las válvulas de sección (Figura 24).

Retire y deseche las mangueras de suministro de las secciones izquierda, central y derecha de los acoplamientos rápidos de las válvulas de sección y retire las mangueras de la máquina.
Retire las mangueras de los orificios de extensión de los cilindros de elevación derecho e izquierdo.

Retire y deseche las mangueras de los siguientes elementos:
Orificios C1, C2, C3 y C4 del distribuidor del cilindro de elevación
Orificios de extracción y extensión del cilindro de elevación izquierdo y derecho.
Note: Conserve todas las piezas retiradas, a menos que se indique lo contrario.
Utilice un equipo de izado de la capacidad especificada para sujetar la sección de fumigación exterior.
Retire el pasador y la chaveta que sujetan el extremo de la varilla del cilindro de elevación al soporte de giro.

Retire la contratuerca con arandela prensada (5/16") y el perno con arandela prensada (5/16" x ¾") que sujetan el pasador de giro al bastidor del cilindro.

Retire el pasador de giro y el cilindro de elevación de la máquina.
Capacidad del equipo de elevación: 46 kg (100 lb)
El izado de maquinas y accesorios pesados de forma incorrecta podría causar lesiones graves o incluso la muerte.
Para levantar máquinas y accesorios pesados, utilice equipos de izado, como cadenas y correas, con capacidad suficiente para sostener el peso del equipo.
Note: A menos que se indique lo contrario, guarde todas las fijaciones que retire; se utilizarán esas fijaciones para instalar la extensión del brazo central.
Retire el perno con arandela prensada (5/16" x 1") y la contratuerca con arandela prensada (5/16") que sujetan el pasador de giro al soporte de giro.

Retire el pasador de giro del soporte de giro de la sección de brazo central y del acoplamiento de giro de la sección de brazo exterior.
Separe la sección de brazo exterior de la sección de fumigación central y retire la sección exterior de la máquina.
Retire y deseche los 2 casquillos con brida de nylon del acoplamiento de giro de la sección de fumigación exterior.
Repita los pasos 1 a 3 en Retirada de los cilindros de elevación para la sección de brazo exterior en el otro lado de la máquina.
Repita los pasos 1 a 4 de esta sección con la sección de brazo exterior del otro lado de la máquina.
Retire las 2 contratuercas con arandela prensada (5/16") y los 2 pernos con arandela prensada (5/16" x 1") que sujetan el soporte del distribuidor de elevación de sección al bastidor del cilindro y retire el distribuidor y el soporte del bastidor del cilindro.

Sujete el distribuidor de elevación de sección atándolo al soporte de montaje de las válvulas de con un trozo de cuerda.
Capacidad del equipo de izado: 41 kg
Sujete la sección de brazo central con un equipo de izado de la capacidad especificada.

Retire y conserve los 4 pernos con arandela prensada (⅜" x 1¼") y las 4 contratuercas con arandela prensada (⅜") que fijan la sección de brazo central a los soportes de sujeción.

Eleve la sección de brazo central y retírela de la máquina.
Piezas necesarias en este paso:
| Perno con arandela prensada (⅜" x 1") | 2 |
| Contratuercas con arandela prensada (⅜") | 2 |
| Extensión del brazo central | 1 |
| Bastidor del cilindro (ancho) | 1 |
| Pletina de unión (ancha) | 1 |
| Perno de cuello cuadrado (½" x 1¼") | 4 |
| Contratuerca con arandela prensada (½") | 4 |
En la sección de brazo central, retire y conserve la contratuerca con arandela prensada que sujeta la torreta al bastidor.


Retire el tornillo de acero inoxidable (n.º 12 x 1¼") que sujeta la mitad superior de la abrazadera y el conector de manguera de dentado simple o doble (¾") al cuerpo de la torreta, y separe el conector de manguera dentado y la manguera de la boquilla.
Note: El perno de cabeza hexagonal (5/16" x ¾" – acero inoxidable) se separará de la mitad superior de la abrazadera al abrirse la abrazadera; guarde el perno para la instalación.

Retire la torreta de la sección de brazo central.
Repita los pasos 1 y 2 para las otras 2 torretas.
Retire las mangueras (¾" de diámetro interno), los conectores dentados, las abrazaderas y el acoplamiento en T dentado de la sección de brazo central.
Note: Ya no necesitará la manguera, los conectores, las abrazaderas y el acoplamiento en T; conserve las demás piezas.
Retire los 2 pernos con arandela prensada (⅜" x 1") y las 2 contratuercas (⅜") que sujetan las pestañas verticales de los perfiles izquierdo y derecho del travesaño.

Retire los 2 pernos de cuello cuadrado (½" x 1¼") y las 2 contratuercas (½") que sujetan el bastidor de cilindro estrecho, los perfiles izquierdo y derecho del travesaño y la pletina de unión estrecha.

Note: Conserve los pernos con arandela prensada, los pernos de cuello cuadrado y las contratuercas. Ya no necesitará el bastidor de cilindro estrecho y la pletina de unión estrecha.
Separe los perfiles izquierdo y derecho del travesaño.
Sujete provisionalmente la extensión del brazo central al perfil del travesaño con los 2 pernos con arandela prensada (⅜" x 1") y las 2 contratuercas con arandela prensada (⅜") que retiró anteriormente.

Sujete provisionalmente la extensión del brazo central al otro perfil del travesaño con los 2 pernos con arandela prensada (⅜" x 1") y las 2 contratuercas con arandela prensada (⅜").
Inserte la pletina de unión en el perfil del travesaño y la extensión del brazo central, y alinee el orificio de la pletina con los orificios situados en la línea central de los perfiles y de la extensión del brazo.

Monte el bastidor del cilindro, los travesaños, la extensión del brazo central y la pletina de unión con los 6 pernos de cuello cuadrado (½" x 1¼") y las 6 contratuercas con arandela prensada (½").
Note: 2 de los perno de cuello cuadrado y las contratuercas son de piezas retiradas anteriormente.
Apriete los pernos con arandela prensada (⅜") y las contratuercas con arandela prensada a entre 37 y 45 N·m.
Apriete las contratuercas con arandela prensada (½") a entre 91 y 113 N∙m.
Piezas necesarias en este paso:
| Torreta | 2 |
| Manguera (válvula 5 o 6) | 2 |
| Contratuerca con arandela prensada (5/16") | 2 |
Utilizando un equipo de izado, eleve la nueva sección de brazo central a una altura de trabajo cómoda.
Retire el tornillo de acero inoxidable que fija las mitades superiores de la abrazadera a la base.

Localice el orificio en el lateral del conector de manguera de dentado simple, al final de la manguera de 25 cm (10") (válvula 5 o 6) de la sección de brazo central.

Alinee el tubo de transferencia en la base de una torreta con el orificio del lateral del conector de manguera de dentado simple (½").
Cierre la mitad superior de la abrazadera alrededor del conector de manguera dentado y sujete la mitad de la abrazadera y el cuerpo de la boquilla de fumigación con el tornillo de acero inoxidable (n.º 12 x 1¼"); apriete el tornillo de acero inoxidable a entre 14 y 18 N∙m.
Important: No apriete en exceso el tornillo de acero inoxidable.
Note: Asegúrese de que el perno de cabeza hexagonal (5/16" x ¾") está asentado en el hueco de la mitad superior de la abrazadera al cerrar la abrazadera.
Repita los pasos 3 a 5 con los conectores de manguera de dentado simple del otro conjunto de mangueras (válvula del fumigación 5 o 6) de la sección de brazo central.
Enrute la manguera de 13 x 250 mm y el conjunto de la torreta entre los tirantes del perfil exterior.

Enrute la manguera y la boquilla por encima del tirante y hacia fuera hasta llegar al bastidor de la boquilla exterior.
Sujete provisionalmente la torreta al bastidor con el perno de cabeza hexagonal (5/16" x ¾") y una contratuerca (5/16").

Enrute la otra manguera de 13 mm y el conjunto de la torreta entre los tirantes del perfil exterior.
Enrute la manguera y la torreta por encima del tirante y hacia dentro hasta llegar al bastidor de la torreta interior.
Sujete provisionalmente la torreta al bastidor con un perno de cabeza hexagonal (5/16" x ¾") y una contratuerca (5/16").
Apriete la contratuerca con arandela prensada a entre 1978 y 2542 N·cm.
Enrute la manguera y el racor dentado de 13 mm x 810 mm por el lado de la sección de fumigación central que tiene los soportes de sujeción izquierdo y derecho.
Repita los pasos 1 a 8 con la otra manguera y torreta en el otro perfil exterior.
Piezas necesarias en este paso:
| Tapón (acoplamiento rápido) | 3 |
| Horquilla de retención | 3 |
Retire la horquilla de retención pequeña que fija el acoplamiento de desconexión rápida de la manguera de desvío al acoplamiento de desconexión rápida de la válvula de desvío de la sección derecha.

Retire y conserve la horquilla de retención grande que sujeta el acoplamiento dentado de 90° del extremo inferior de la manguera de desvío al conector pasamuros del depósito de fumigación.

Retire y deseche la manguera de desvío de la máquina.
Retire las 3 horquillas de retención que sujetan los 3 actuadores de válvula a las válvulas de sección izquierda, central y derecha.

Retire los actuadores de válvula de las válvulas de sección izquierda, central y derecha.
Retire la horquilla de retención que sujeta el tapón al acoplamiento de desconexión rápida de la válvula de desvío y retire el tapón.

Retire y conserve los 2 pernos de cabeza hexagonal (¼" x 3"), las 2 contratuercas (¼") y las 4 arandelas (¼") que fijan las válvulas de sección al bastidor del distribuidor.

Retire la horquilla de retención y retire las válvulas de sección del bastidor del distribuidor.
Piezas necesarias en este paso:
| Arnés trasero | 1 |


Enrute las ramas de 84 cm, 60 cm y 66 cm del arnés de trasero por el lado izquierdo de la máquina junto al arnés de cables de la máquina.


Enrute las ramas de 84 cm, 60 cm y 66 cm del arnés trasero hacia adelante por el perfil izquierdo del bastidor.



Enrute las ramas de 84 cm, 60 cm y 66 cm del arnés de trasero junto al arnés de cables de la máquina, por fuera del conjunto del freno de estacionamiento.

Enrute las ramas de 84 cm, 60 cm y 66 cm del arnés trasero a través del tubo de sujeción del amortiguador.

Fije el arnés trasero al arnés de cables de la máquina.
En la parte trasera de la máquina, enrute la rama de 89 cm del arnés de cables hacia adelante, por delante del distribuidor de elevación y a la derecha del caudalímetro.

Enrute la rama de 102 cm del arnés de cables por detrás del distribuidor de elevación y hacia la derecha.
Conecte el conector de 3 pines de la rama de 89 cm del arnés trasero con la etiqueta LEFT SPRAY (fumigación izquierda) al conector hembra de 3 vías del arnés de cables de la máquina con la etiqueta LEFT SPRAY VALVE (válvula de fumigación izquierda).

Conecte el conector de 3 pines del arnés trasero con la etiqueta CENTER SPRAY (fumigación central) al conector hembra de 3 vías del arnés de cables de la máquina con la etiqueta CENTER SPRAY VALVE (válvula de fumigación central).
Conecte el conector de 3 pines del arnés trasero con la etiqueta RIGHT SPRAY (fumigación derecha) al conector hembra de 3 vías del arnés de cables de la máquina con la etiqueta RIGHT SPRAY VALVE (válvula de fumigación derecha).
Introduzca la grapa del arnés de trasero en el orificio de la pestaña del soporte de montaje de las válvulas.
Conecte el conector hembra de 3 vías de la rama de 89 cm del arnés de cables con la etiqueta FLOW METER (caudalímetro) al conector de 3 pines del caudalímetro.

Conecte el conector de 3 pines de la rama de 89 cm del arnés trasero con la etiqueta MASTER VALVE (válvula maestra) al conector hembra de 3 vías del arnés de cables de la máquina con la etiqueta MASTER SPRAY VALVE (válvula de fumigación maestra).

Conecte el conector de 3 pines del actuador de la válvula de fumigación maestra al conector hembra de 3 vías de la rama de 89 cm del arnés trasero con la etiqueta MASTER VALVE (válvula maestra).
Conecte el conector de 4 pines del actuador de la válvula de caudal al conector hembra de 4 vías de la rama de 89 cm del arnés trasero con la etiqueta RATE VALVE (válvula de caudal).

Piezas necesarias en este paso:
| Conector dentado recto (1" x 2") | 1 |
| Abrazadera (¾" a 1½") | 3 |
| Manguera (1" x 8½") | 1 |
| Distribuidor | 1 |
| Manguera (1" x 16") | 1 |
Conecte la manguera (1" x 8½") en el conector dentado recto (1" x 2") con una abrazadera (¾" a 1½") y apriete la abrazadera a mano.

Conecte el otro extremo de la manguera (1" x 8½") en el acoplamiento dentado del distribuidor con una abrazadera y apriete la abrazadera a mano.
Conecte la manguera (1" x 16") al otro acoplamiento dentado del distribuidor con una abrazadera y apriete la abrazadera a mano.
Conecte el conector dentado recto (1" x 2") a la brida del caudalímetro con la junta de 38 mm y la abrazadera para bridas de 51 mm.

Apriete la abrazadera para bridas a mano.
Piezas necesarias en este paso:
| Conjunto de manguera de desvío | 1 |
| Válvula de cierre | 1 |
Alinee el conjunto de manguera de desvío con el depósito.


Fije el acoplamiento dentado de 90° en el conector pasamuros del depósito con una horquilla de retención.
Capacidad del equipo de izado: 55 kg
Mediante el equipo de izado con la capacidad de elevación especificada, eleve la sección de brazo central y alinee la sección de brazo con los orificios en los soportes de sujeción.

Monte la sección del brazo central en los soportes de sujeción con los 4 pernos con arandela prensada (⅜" x 1¼") y las 4 contratuercas con arandela prensada (⅜").
Apriete los pernos y las tuercas a entre 37 y 45 N·m.
Desate el distribuidor de elevación del soporte de montaje de la válvula.
Alinee los orificios del soporte de sujeción del distribuidor de elevación con los orificios del bastidor de los cilindros.

Monte el soporte de sujeción en el bastidor de los cilindros con 2 pernos con arandela prensada (5/16" x 1") y 5 tuercas con arandela prensada (5/16").
Apriete los pernos y las tuercas a entre 1978 y 2542 N·cm.
Piezas necesarias en este paso:
| Bastidor de las válvulas y conjunto de válvulas | 1 |
| Controlador de tasa/sección | 1 |
| Imán | 4 |
| Perno (n.º 8) | 4 |
| Arandela (¼") | 2 |
| Arandela plana | 4 |
| Contratuerca(n.º 8) | 4 |
| Tapón (acoplamiento rápido) | 2 |
| Pernos con arandela prensada (5/16" x ¾") | 8 |
| Contratuercas con arandela prensada (5/16") | 8 |
| Abrazadera | 1 |
| Grapa (brida) | 1 |
| Grapa (anclaje del conector) | 3 |
Fije los imanes al controlador con 4 pernos (n.º 8), 2 arandelas (¼"), 4 arandelas planas y 4 contratuercas (n.º 8).

Coloque el conjunto del controlador en el bastidor de válvulas.

Alinee las 3 válvulas de sección en la brida de la válvula 7 del conjunto de válvulas de fumigación.
Important: Las válvulas de sección izquierda, central y derecha se identifican en el sistema de fumigación GeoLink de la manera siguiente: válvula de sección izquierda – válvula de boquilla 8, válvula de la sección central – válvula de boquilla 9, y válvula de sección derecha – válvula de boquilla 10.

Fije el conector hembra del acoplamiento de desconexión rápida de la válvula de desvío de la válvula de sección 8 en el acoplamiento de desconexión rápida de la válvula de desvío de la válvula de sección 7 con la horquilla de retención que retiró anteriormente.

Monte las válvulas de sección en el bastidor de válvulas con los 2 pernos de cabeza hexagonal (¼" x 3"), 4 arandelas (¼") y 2 contratuercas (¼").

Apriete los pernos con arandela prensada y las contratuercas a entre 1017 y 1243 N·m.
Capacidad del equipo de izado: 23 kg
Usando un equipo de izado con la capacidad especificada, eleve el conjunto de bastidor de las válvulas y las válvulas de sección y alinéelo sobre la sección de brazo central.

Alinee los orificios del soporte de montaje del bastidor de las válvulas con los orificios del perfil de travesaño de la sección de brazo central.

Monte el bastidor de las válvulas en el perfil del travesaño con 4 pernos (5/16" x ¾") y 4 contratuercas con arandela prensada (5/16").

Repita los pasos 2 a 3 con el otro soporte de montaje del bastidor de las válvulas en el otro perfil del travesaño.
Apriete los pernos con arandela prensada y las contratuercas con arandela prensada a entre 1978 y 2542 N·cm.
Conecte la manguera (1" x 16") al acoplamiento con brida de 90° (1").

Fije la manguera al acoplamiento con brida con una abrazadera.
Retire las horquillas de retención de los conectores hembra de los acoplamientos de conexión rápida.
Conecte el acoplamiento de conexión rápida de la manguera de desvío al acoplamiento de desconexión rápida de la válvula de desvío en la válvula de sección 10.

Fije los acoplamientos de desconexión rápida de la manguera de desvío y la válvula de desvío con la horquilla de retención.
Repita los pasos 1 a 3 con los acoplamientos de desconexión rápida de la válvula de sección 1.
Coloque las grapas de los conectores eléctricos del actuador de la válvula en los orificios del bastidor de válvulas.

Conecte el conector hembra de 3 vías de la rama de 89 cm del arnés trasero con la etiqueta NOZZLE VALVE 1 (válvula de boquilla 1) en el conector de 3 pines del actuador de la válvula más a la izquierda (posición 1).
Note: Las posiciones 1 a 10 de los actuadores de válvula están dispuestos de izquierda a derecha, visto desde detrás de la máquina.

Conecte el conector hembra de 3 vías de la rama de 89 cm del arnés trasero (NOZZLE VALVE 2 (válvula de boquilla 2)) en el conector de 3 pines del actuador de la válvula (posición 2).
Conecte los demás conectores hembra de 3 vías de la rama de 89 cm del arnés trasero a los conectores de 3 pines de los actuadores de las válvulas.
Note: Asegúrese de que los conectores hembra de 3 vías están conectados a los actuadores de válvula correspondientes.
Inserte la rama de 61 cm del conector hembra de 3 vías del arnés trasero con la etiqueta PRESSURE TRANSDUCER GREEN WEDGE (cuña verde del transductor de presión) en el conector de 3 pines del arnés del transductor de presión.

Inserte el conector hembra de 40 vías de la rama de 102 cm del arnés trasero en el conector de 40 pines del controlador de fumigación ASC 10.

Enrosque el tornillo moleteado del conector hembra de 40 vías en el conector ASC 10.
Inserte el conector hembra de 4 vías del arnés trasero con la etiqueta TO ASC 10 (a asc 10) en el conector de 4 pines del controlador de fumigación ASC 10.

Piezas necesarias en este paso:
| Manguera hidráulica (¼" x 24¾") | 4 |
Alinee el extremo fijo del cilindro de elevación con el orificio de 16 mm del bastidor del cilindro.
Note: Asegúrese de que los orificios de extensión y retracción del cilindro están alineados.

Sujete el cilindro al bastidor del cilindro con el pasador de giro, el perno con arandela prensada y una tuerca con arandela prensada.
Apriete el perno y la tuerca a entre 1978 y 2542 N·cm.
Repita los pasos 1 a 3 con el otro cilindro de elevación en el otro lado del bastidor de los cilindros.
Conecte provisionalmente una manguera hidráulica nueva (¼" x 24¾") entre el orificio de extensión del cilindro de elevación del brazo izquierdo y el orificio C3 del distribuidor de elevación de los brazos.

Conecte provisionalmente una manguera hidráulica nueva (¼" x 24¾") entre el orificio de retracción del cilindro de elevación del brazo izquierdo y el orificio C4 del distribuidor de elevación de los brazos.
Conecte provisionalmente una manguera hidráulica nueva (¼" x 24¾") entre el orificio de extensión del cilindro de elevación del brazo derecho y el orificio C1 del distribuidor de elevación de los brazos.

Conecte provisionalmente una manguera hidráulica nueva (¼" x 24¾") entre el orificio de retracción del cilindro de elevación del brazo derecho y el orificio C2 del distribuidor de elevación de los brazos.
Apriete los acoplamientos de las mangueras en los orificios de extensión y retracción de los cilindros de elevación a entre 21 y 26 N·m.
Apriete las tuercas giratorias de las mangueras del distribuidor de elevación de los brazos a entre 24 y 30 N·m.
Piezas necesarias en este paso:
| Casquillo con brida de nylon | 4 |
| Conjunto de manguera de suministro 188 cm | 1 |
| Conjunto de manguera de suministro 234 cm | 1 |
| Conjunto de manguera de suministro 279 cm | 1 |
Corte la manguera entre 2 torretas.

Retire la contratuerca con arandela prensada (5/16") que sujeta la torreta al bastidor de torretas.
Repita los pasos para las otras 3 torretas.
Note: Conserve la contratuerca con arandela prensada y las torretas.
Note: Deseche las mangueras, las abrazaderas y los acoplamientos en T.
Repita los pasos para la otra sección de brazo exterior.
Retire los tornillos de acero inoxidable (n.º 12 x 1¼") que sujetan las mitades superiores de las abrazaderas y los conectores de manguera de dentado simple o doble (¾") al cuerpo de cada boquilla de fumigación, y separe los conectores de manguera dentados.
Note: El perno de cabeza hexagonal (5/16" x ¾" – acero inoxidable) se separará de la mitad superior de la abrazadera al abrirse la abrazadera; guarde el perno para la instalación.

Capacidad del equipo de elevación: 46 kg (100 lb)
Usando un equipo de izado de la capacidad especificada, eleve el brazo exterior.
Inserte un casquillo con brida de nylon en el orificio de 31,8 mm de cada lado del acoplamiento de giro.

Alinee los casquillos del acoplamiento de giro con los orificios de las pestañas del soporte de giro situados en el extremo de la sección de brazo central.

Monte el acoplamiento de giro en el soporte de giro con el pasador de giro, un perno con arandela prensada (5/16" x 1") y una contratuerca con arandela prensada (5/16").
Apriete el perno y la tuerca a entre 1978 y 2542 N·cm.
Alinee la rótula del cilindro de elevación con el orificio de 25 mm del brazo del acoplamiento de giro.

Fije el cilindro de elevación en el acoplamiento de giro con el pasador y la chaveta.
Repita los pasos 1 a 7 en la sección de brazo exterior del otro lado de la máquina.
Piezas necesarias en este paso:
| Manguera de suministro de 279 cm | 2 |
| Manguera de suministro de 234 cm | 2 |
| Manguera de suministro de 188 cm | 4 |
| Manguera de suministro de 81 cm | 2 |
Note: Asegúrese de que el racor dentado está correctamente asentado en el racor.
Fije los acoplamientos dentados en los racores con una horquilla de retención.

Note: El conjunto de la manguera de suministro de 81 cm tiene un acoplamiento en T con 2 mangueras derivadas y 2 conectores de manguera de dentado simple.
| Sección de brazo | Válvula de sección | Boquilla | Manguera de suministro |
|---|---|---|---|
| Izquierda | 1 | 1 | 279 cm |
| 2 | 2 | 234 cm | |
| 3 | 3 | 188 cm | |
| 4 | 4 | 188 cm | |
| Central | 5 | 5 y 6 | 81 cm |
| 6 | 7 y 8 | 81 cm | |
| Derecha | 7 | 9 | 188 cm |
| 8 | 10 | 188 cm | |
| 9 | 11 | 234 cm | |
| 10 | 12 | 279 cm |

Alinee el tubo de transferencia en la base de una torreta con el orificio del lateral del conector de manguera de dentado simple (½").

Cierre la mitad superior de la abrazadera alrededor del conector de manguera dentado y sujete la mitad de la abrazadera y el cuerpo de la torreta con el tornillo de acero inoxidable (n.º 12 x 1¼"); apriete el tornillo de acero inoxidable a entre 14 y 18 N∙m.
Note: Asegúrese de que el perno de cabeza hexagonal (5/16" x ¾") está asentado en el hueco de la mitad superior de la abrazadera al cerrar la abrazadera.
Fije las torretas a los bastidores con las contratuercas con arandela prensada (5/16") que se retiraron anteriormente.

Apriete la contratuerca con arandela prensada a entre 1978 y 2542 N·cm.
Introduzca el tubo del sensor de presión en el racor del tubo hasta que quede bien asentado.

Piezas necesarias en este paso:
| Placa del receptor de navegación | 1 |
| Bastidor del receptor | 1 |
| Perno (⅜" x 3¼") | 1 |
| Arandela de freno (⅜") | 1 |
| Arandela (⅜" x 13/16") | 1 |
| Espaciador (⅜" x 1") | 1 |
| Contratuerca con arandela prensada (⅜") | 1 |
| Perno con arandela prensada (5/16" x ¾") | 1 |
| Contratuerca con arandela prensada (5/16") | 1 |
| Perno con arandela prensada (⅜" x 1½") | 2 |
| Espaciador (⅜" x 7/16") | 2 |
| Receptor de navegación | 1 |
| Soporte de antena de módem | 1 |
| Perno de cabeza hexagonal (5 x 16 mm) | 3 |
| Arandela (5 mm) | 3 |
Fije la placa del receptor al bastidor del receptor con 1 perno (⅜" x 1¼"), 1 arandela de freno, 1 arandela, 1 espaciador (⅜" x 1") y 1 contratuerca (⅜").

Monte el perno con arandela prensada (5/16" x ¾") y la tuerca con arandela prensada (5/16") en el orificio más pequeño del bastidor del receptor y la ranura de la placa del receptor.

Apriete los pernos y las tuercas hasta que pueda girar la placa del receptor con una ligera resistencia.
Monte el bastidor del receptor y el espaciador (⅜" x 7/16") en la barra antivuelco con el perno con arandela prensada (⅜" x 1½").

Apriete los pernos hasta que pueda girar la placa del receptor con una ligera resistencia.
Nivele la placa del receptor de izquierda a derecha.

Apriete el perno con arandela prensada (5/16" x ¾") y la tuerca con arandela prensada (5/16") a entre 1978 y 2542 N·cm.
Nivele la placa del receptor de delante hacia atrás.
Apriete el perno (⅜" x 3¼") y la contratuerca con arandela prensada (⅜" ) a entre 37 y 45 N·m.
Instale el receptor en el bastidor con 4 pernos (5 x 16 mm) y 4 arandelas.
Note: Asegúrese de que ambas flechas apuntan hacia la parte delantera de la máquina.

Apriete los 3 pernos a entre 576 y 712 N·cm.
Piezas necesarias en este paso:
| Bastidor de antena | 1 |
| Remache | 2 |
| Imán | 2 |
| Antena del módem | 1 |
| Antena de alta ganancia (se vende por separado) | 1 |
Instale el soporte de la antena de módem a la barra antivuelco.

Limpie cualquier grasa o aceite de la superficie del bastidor de antena.
Retire el reverso del revestimiento adhesivo de doble cara y pegue la antena al bastidor.

Fije la antena y el arnés de cables al bastidor con 3 bridas para cable.

Instale la antena de alta ganancia (se vende por separado):
Máquinas sin capota – coloque la antena sobre la barra antivuelco.
Máquinas con capota – fije la antena sobre la capota con las almohadillas adhesivas incluidas.

Enrute los arneses de antena de módem a la derecha, a lo largo de la barra antivuelco.


Enrute el arnés hacia abajo y hacia delante.

Piezas necesarias en este paso:
| Adaptador del arnés | 1 |
| Arnés eléctrico y de datos | 1 |
| Brida para cable | 8 |

Enrute la rama de 302 cm del arnés eléctrico y de datos de navegación a lo largo del tubo del ROPS derecho con el conector hembra de 12 vías (gris) y el conector hembra de 12 vías (negro) arriba, hacia el receptor de navegación.
Conecte los 2 conectores del lado largo del conector hembra de 12 vías del arnés de cables con la etiqueta con las 2 ranuras de conector en el arnés del adaptador.

Enchufe el arnés del adaptador en el receptor.
Enrute el arnés eléctrico y de datos de navegación a lo largo del tubo de la barra antivuelco derecha y el arnés de la antena del módem hasta el travesaño del soporte del asiento.

Fije los arneses a la barra antivuelco con brida para cables.
Note: Asegúrese de que hay holgura en el arnés entre los conectores hembra de 12 vías y la brida para cables.
Enrute la rama de 227 cm del arnés eléctrico y de datos de navegación a lo largo de la parte inferior de la consola de control de la máquina.

Enrute la rama de 258 cm del arnés eléctrico y de datos de navegación a través del tubo de sujeción del amortiguador y hacia la batería.
Fije el soporte magnético del arnés trasero en el bastidor del tubo superior derecho de la máquina.

Enchufe el conector de 4 pines con la etiqueta del arnés de datos en el conector hembra de 4 vías con la etiqueta (alimentación ASC10 y CAN desde X30) del arnés trasero.
Piezas necesarias en este paso:
| Bastidor de la pantalla | 1 |
| Perno con arandela prensada (6 x 12 mm) | 3 |
| Perno en U (5/16") | 2 |
| Perno con arandela prensada (5/16" x ¾") | 4 |
| Contratuerca con arandela prensada (5/16") | 8 |
| Soporte de bola | 1 |
| Brazo de pantalla | 1 |
Marque la posición del volante respecto a la válvula de dirección con un trozo de cinta.

Retire el embellecedor del volante.
Retire la tuerca (⅝") y la arandela (⅝") que sujetan el volante a la válvula de dirección y retire el volante.
Alinee el bastidor de la pantalla con la máquina, tal y como se muestra.

Monte el bastidor de la pantalla en el alojamiento de la válvula de dirección con los 3 pernos con arandela prensada (6 mm x 12 mm).

Monte la placa del bastidor de la pantalla en el tubo del chasis de la máquina con los 2 pernos en U y las 4 tuercas con arandela prensada (5/16").

Apriete los 3 pernos con arandela prensada (6 mm x 12 mm) de la válvula de dirección a entre 972 y 1198 N·cm; apriete las contratuercas con arandela prensada del tubo de sujeción a entre 1978 y 2542 N·cm.
Alinee la cinta del volante con la cinta del alojamiento de la válvula de dirección.

Monte el volante en el eje de la válvula de dirección con la arandela (⅝") y la tuerca (⅝") retiradas anteriormente.
Apriete la tuerca a entre 206 y 254 N∙m.
Instale el embellecedor.
Monte el soporte de bola en el soporte del bastidor de la pantalla con los 4 pernos con arandela prensada (5/16" x ¾") y las 4 contratuercas con arandela prensada (5/16").

Apriete los pernos y las tuercas a entre 1978 y 2542 N·cm.
Conecte el acoplamiento de bola de la pantalla y el soporte de bola de la máquina al brazo largo de la pantalla.

Ajuste la pantalla de manera que quede visible desde la posición del operador de la máquina y apriete el pomo del brazo de la pantalla a mano.
Enrute la rama de 227 cm del arnés eléctrico y de datos de navegación (la rama con el conector hembra de 26 vías) hacia arriba y a lo largo del tubo de sujeción de la pantalla.
Enchufe el arnés de datos de navegación en el monitor.

Retire la resistencia de terminación del conector hembra de 6 vías con la etiqueta CAN 2 TERMINATOR (terminador de CAN2) del cable de datos, tal y como se muestra.
Note: Ya no necesitará la resistencia de terminación.

Piezas necesarias en este paso:
| Arnés de datos del módem – 300 cm | 1 |
Atornille el conector del arnés del módem en la pantalla.

Enrute el arnés de datos del módem a lo largo del arnés de datos de la pantalla.
Enrutado del arnés de datos del módem bajo el tubo de sujeción del amortiguador de la máquina
Enrute el arnés de datos del módem a través de la parte trasera de los relés y hacia abajo.

Alinee el conector de 4 pines con la etiqueta del arnés de datos del módem junto a los 4 conectores del arnés de la antena del módem, tal y como se muestra.

En el bastidor del tubo superior derecho, agrupe el arnés eléctrico y de datos de navegación y la rama del arnés de cables CAN 2 ASC 10 BUS en el arnés del fumigador del kit con 2 bridas para cable.
Agrupe el arnés de antena de módem y fíjelo al conjunto del arnés del fumigador del kit con 2 bridas para cable.

Fije el arnés de datos del módem y el arnés eléctrico y de datos de navegación al tubo del monitor con una brida para cable.

Fije el arnés de datos del módem al arnés eléctrico y de datos de navegación con una brida para cable.
Piezas necesarias en este paso:
| Arnés de alimentación del módem | 1 |
Alinee el arnés de alimentación del módem en la máquina.

Enrute los terminales de anillo del arnés de alimentación del módem con la etiqueta (batería) y (masa) hacia la batería.

Enrute el conector de 4 pines con la etiqueta y el conector hembra de 18 vías con la etiqueta del arnés de alimentación del módem bajo el bloque de fusibles de la máquina.
En la parte delantera de la máquina, enrute el conector de 4 pines con la etiqueta y el conector hembra de 18 vías con la etiqueta del arnés de alimentación del módem a la máquina, tal y como se muestra.

Enchufe el terminal del arnés de alimentación del módem con la etiqueta (conmutado) en el conector hembra para la alimentación de accesorios del bloque de fusibles.
Note: Si el bloque de fusibles de la máquina no dispone de un circuito de alimentación de accesorios disponible, instale un bloque de fusibles adicional; consulte a su distribuidor autorizado Toro.
Junto al bloque de fusibles, agrupe el arnés de alimentación del módem en el conector de 9 pines con la etiqueta y sujete el arnés con 2 bridas para cable, tal y como se muestra.

Agrupe el arnés de alimentación del módem en el cable negativo de la batería y sujete el conjunto en el cable de la batería con una brida para cable.
Introduzca el fusible (10 A) en el zócalo del bloque de fusibles (Figura 135) del circuito de alimentación de accesorios que utilizó en el paso 5.

Piezas necesarias en este paso:
| Módem CL-55 | 1 |
| Soporte del módem | 1 |
| Perno (n.º 10-24 x 1⅜") | 2 |
| Contratuerca (n.º 10-24") | 2 |
| Imán | 2 |
| Remache | 2 |
Retire la fijación a presión que fija el arnés de cables de la máquina al soporte de la varilla de sujeción.

Fije el módem al soporte con 2 pernos (n.º 10-24 x 1⅜") y 2 tuercas (n.º 10-24).

Fije los imanes al soporte del módem con los remaches.

Coloque el soporte del módem bajo el soporte de la varilla de sujeción y detrás de la brida del bastidor de la máquina.

Inserte la grapa superior del arnés de cables en los orificios del soporte de la varilla de sujeción.

Enchufe el conector coaxial del arnés de la antena del módem con la etiqueta en el puerto coaxial del módem CL-55 con la marca WIFI/BT y apriete el conector coaxial.

Enchufe el conector a presión coaxial azul del arnés de la antena del módem con la etiqueta en el conector del módem CL-55 marcado , hasta que los conectores se enganchen con seguridad.
Enchufe el conector a presión coaxial violeta del arnés de la antena del módem con la etiqueta en el conector del módem CL-55 marcado , hasta que los conectores se enganchen con seguridad.
Enchufe el conector a presión coaxial rojo del arnés de la antena del módem con la etiqueta en el conector del módem CL-55 marcado , hasta que los conectores se enganchen con seguridad.
Enchufe el conector de 4 pines del arnés de datos del módem con la etiqueta en el conector hembra de 4 vías (sin marcar) del módem CL-55 y apriete la tuerca moleteada del conector de 4 pines.

Enchufe el conector hembra de 18 vías del arnés de alimentación del módem con la etiqueta en el conector de 18 pines del módem CL-55.
En la parte interna de la consola de control de la máquina, retire y conserve la resistencia de terminación pasiva del conector de 3 pines sin etiqueta del arnés de cables de la máquina.


Piezas necesarias en este paso:
| Arnés de ISO-CAN bus – 302 cm | 1 |
En la parte delantera de la consola de control de la máquina, enrute el conector con al etiqueta (A ISOBUS) del arnés de ISO-CAN en la parte inferior de la pantalla.

Retire el tapón del conector hembra de 4 vías con la etiqueta del arnés eléctrico y de datos de navegación.

Enchufe el conector de 4 pines con la etiqueta (a isobus) del arnés de ISO-CAN bus en el conector hembra de 4 vías con la etiqueta del arnés eléctrico y de datos de navegación.

Enrute los conectores con la etiqueta (A Toro CANBUS) y (Puerto CAN A) del arnés de ISO-CAN bus hacia el bloque de fusibles.


En el bloque de fusibles, retire el tapón del conector hembra de 3 vías con la etiqueta (Diagnóstico de CAN Bus) del arnés de cables de la máquina.

Enchufe el conector de 3 pines con la etiqueta (A TORO CANBUS) del arnés de ISO-CAN bus en el conector hembra de 3 vías con la etiqueta (Diagnóstico de CAN Bus) del arnés de cables de la máquina.
Important: No conecte los conectores del arnés con la etiqueta (Conexión de diagnóstico) y (Interconexión de diagnóstico CAN) del arnés trasero.
Agrupe el arnés de ISO-CAN bus y sujételo al arnés eléctrico y de datos de navegación con una brida para cable.

Fije el arnés de ISO-CAN bus y el arnés eléctrico y de datos de navegación al tubo del bastidor derecho con una brida para cable, tal y como se muestra.
Piezas necesarias en este paso:
| Arnés del adaptador – 13 cm | 1 |
En el receptor de satélite, retire y deseche el terminador ISO bus del conector hembra de 6 vías del arnés de GeoLink.

Enchufe el conector de 6 pines del arnés del adaptador – 13 cm en el conector hembra de 6 vías del arnés de GeoLink.
Enchufe la resistencia en el conector hembra de 3 vías del arnés del adaptador.
Fije el arnés del adaptador en el arnés de GeoLink con una brida.
Desconecte el conector hembra de 2 vías del arnés de cables de la máquina con la etiqueta (bobina de la bomba de fumigación) del conector de 2 pines del embrague de la bomba.

Conecte el conector de 2 pines de la rama de 84 cm del arnés del fumigador del kit en el conector hembra de 2 vías del arnés de cables de la máquina con la etiqueta (bobina de la bomba de fumigación).

Conecte el conector hembra de 2 vías del arnés del fumigador del kit en el conector de 2 pines del embrague de la bomba.
Enrute la rama de 84 cm del arnés de cables junto al motor y la bomba de fumigación, de modo que el arnés quede alejado de la correa del alternador.

Piezas necesarias en este paso:
| Soporte de la batería | 1 |
| Tope | 1 |
| Contratuerca con arandela prensada (¼") | 2 |
| Pletina | 1 |
| Batería (650 A) | 1 |
| Soporte del alternador | 1 |
| Polea de transmisión (279 mm) | 1 |
| Perno (¼" x 2¼") | 4 |
| Alternador (60 A) | 1 |
| Perno con arandela prensada (8 x 25 mm) | 1 |
| Perno con arandela prensada (⅜" x 1½") | 1 |
| Correa en V | 1 |
Retire las 2 contratuercas con arandela prensada y la varilla de sujeción de los 2 pernos en J que sujetan la batería al soporte de la batería de la máquina.

Retire y deseche los 2 pernos en J y la bandeja de la batería del soporte de la batería.

Retire la batería de la máquina.
Note: Ya no necesitará las tuercas con arandela prensada, la varilla de sujeción y la batería (300 A).
Retire y conserve los 3 pernos (10-24 x ¾") y las 3 tuercas (10-24) que sujetan los bloques de fusibles al soporte de la batería.

Retire y conserve los 2 pernos con arandela prensada (⅜" x ¾") que sujetan el soporte de la batería al tubo de sujeción del amortiguador de la máquina.
Retire y conserve los 2 pernos (10-24 x ¾"), las 2 contratuercas (10-24) y el clip de soporte de cables que sujetan los bloques y los cables de masa al soporte de la batería.
Note: Deseche el clip de soporte de cables.

Retire y deseche el soporte de la batería de la máquina.

Monte los 2 topes en el soporte de la batería con 2 contratuercas con arandela prensada (¼").

Monte la correa a través de las 2 ranuras en el soporte de la batería.

Alinee el nuevo soporte de la batería con el tubo de sujeción del amortiguador y los bloques de fusibles.

Monte el soporte de la batería en el tubo de sujeción del amortiguador con los 2 pernos con arandela prensada (⅜" x ¾") retirados anteriormente.

Apriete los pernos con arandela prensada a entre 37 y 54 N·m.
Fije el bloque de terminales de tierra en el soporte de la batería con los 2 pernos (10-24 x ¾") y las 2 contratuercas (10-24) retirados anteriormente y fije el clip de soporte de cables en el borde del soporte.

Fije los bloques de fusibles al soporte de la batería con los 3 pernos (10–24 x ¾") y las 3 tuercas (10-24) retirados anteriormente.

Monte la batería (650 A) en el soporte de la batería.

Pase la cincha de la correa de la batería a través de la hebilla y apriete la correa hasta que la batería esté fija.
En el cabezal de la bomba, afloje los 2 pernos para dejar un espacio de 7 a 10 mm entre el cabezal de los pernos y la bomba.
Note: No es necesario retirar los pernos de la bomba de fumigación.

Alinee el soporte del alternador entre los pernos y el cabezal de la bomba.

Apriete los pernos a entre 61 y 75 N.
Afloje la tuerca del eje de la polea tensora.
Note: Asegúrese de que no hay tensión de la correa.

Gire el perno tensor de la correa para eliminar la tensión de la correa de la bomba de fumigación.
Retire los 4 pernos (¼" x 1") y las 4 arandelas de freno (¼") que sujetan la polea a la bomba de fumigación.
Important: No retire la polea.
Note: Conserve la arandela de freno; los pernos ya no serán necesarios.

Alinee los orificios de la polea del alternador (kit) con los orificios de la polea de la bomba de fumigación.

Monte la polea del alternador en la polea de la bomba de fumigación y la bomba de fumigación con los 4 pernos (¼" x 2¼") y 4 arandelas de freno (¼").
Apriete los pernos a entre 1017 y 1243 N∙m.
Gire el perno tensor de la correa para aumentar la tensión de la correa hasta que la correa se desvíe 9,5 mm al aplicar una fuerza de 4,5 kg en el punto intermedio entre los piñones del motor y la bomba de fumigación.

Apriete la tuerca del eje de la polea tensora a entre 37 y 44 N·m.
Monte el alternador (60 A) en el saliente roscado del soporte del alternador con el perno con arandela prensada (⅜" x 1½").

Sujete la pestaña roscada del alternador a la pestaña ranurada del soporte del alternador con el perno con arandela prensada (8 mm x 25 mm).
Coloque la correa en V sobre la polea motriz (279 mm) y la polea del alternador.

Gire el alternador hacia arriba para aumentar la tensión de la correa hasta que la correa se desvíe 9,5 mm al aplicar una fuerza de 4,5 kg en el punto intermedio entre la polea del alternador y la polea de transmisión (279 mm).

Apriete el perno con arandela prensada (8 mm x 25 mm) a 23 – 29 N·m.
Apriete el perno con arandela prensada (⅜" x 1½") a 37 – 45 N∙m.
Piezas necesarias en este paso:
| Cable del alternador (rojo – calibre 6) | 1 |
| Relé | 1 |
| Grapa | 1 |
| Fusible (15 A) | 1 |
Conecte el conector hembra de 2 vías del extremo del cable rosa de 57 cm del arnés en el conector de 2 pines del alternador (50 A).

Enrute el cable rosa del sensor lejos de las correas del alternador, y sujete el cable con una brida.
Retire la tuerca del borne del alternador (50 A).

Conecte el extremo del cable rojo del alternador de calibre 6 con la tapa aislante en el borne del alternador (50 A) con la tuerca.
Enrute el otro extremo del cable del alternador hacia los terminales de la batería, alejados de la polea y la correa del alternador.
Apriete la tuerca a entre 47 y 57 N∙m.
Coloque la tapa aislante sobre el borne del alternador.
Conecte el conector de 5 pines del relé en el conector hembra de 5 vías del arnés de con la etiqueta ASC 10 ENABLE RELAY (relé de habilitación asc 10).

Alinee el orificio de la pestaña de montaje del relé con el orificio del tubo de sujeción del amortiguador y sujete el relé al tubo con una grapa.
Prepare un multímetro para realizar una prueba de continuidad.
En el bloque de fusibles 3 de la máquina, introduzca la sonda del multímetro en el contacto 4 (columna de la derecha) de la ranura 2.

En el lado delantero de los bloques de fusibles, utilice la otra sonda del multímetro para identificar el conector plano del extremo del cable rojo de calibre 10 que se conecta al contacto 4 de la ranura 2.

Utilice un trozo de cinta para marcar el conector y el cable que identificó en el paso anterior.
Conecte el conector plano que marcó en el paso anterior al conector hembra del extremo del cable rosa de 51 mm del arnés.

Inserte el fusible (15 A) en la ranura 2 del bloque de fusibles 3 hasta que esté correctamente asentado.

Piezas necesarias en este paso:
| Abrazadera de conexión rápida (palanca roja) | 1 |
| Abrazadera de conexión rápida (palanca negra) | 1 |
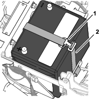
Retire las tuercas hexagonales y las arandelas de las abrazaderas de desconexión rápida con palancas.
Abra la palanca de la abrazadera de conexión rápida con la palanca negra.

Monte la abrazadera de conexión rápida en el borne negativo de la batería, con el espárrago roscado de la abrazadera orientado hacia el centro de la batería.
Cierre la palanca de la abrazadera de conexión rápida.
Note: Si es necesario ajustar la fuerza de apriete de la abrazadera de conexión rápida, abra la palanca, gire la tuerca moleteada para aumentar o reducir la fuerza de apriete y cierre la palanca de la abrazadera.
Repita los pasos con la abrazadera de palanca roja en el borne positivo de la batería.
Un enrutado incorrecto de los cables de la batería podría dañar la máquina y los cables, causando chispas. Las chispas podrían hacer explotar los gases de la batería, causando lesiones personales.
Desconecte siempre el cable negativo (negro) de la batería antes de desconectar el cable positivo (rojo).
Conecte siempre el cable positivo (rojo) de la batería antes de conectar el cable negativo (negro).
Los bornes de la batería o las herramientas metálicas podrían hacer cortocircuito con los componentes metálicos, causando chispas. Las chispas podrían hacer explotar los gases de la batería, causando lesiones personales.
Al retirar o colocar la batería, no deje que los bornes toquen ninguna parte metálica de la máquina.
No deje que las herramientas metálicas hagan cortocircuito entre los bornes de la batería y las partes metálicas de la máquina.
Haga un corte en la tapa aislante del cable positivo de la batería que va al motor de arranque.

Monte los siguientes cables y terminales en el espárrago roscado del borne positivo de la batería en el orden siguiente:
Important: Asegúrese de que el terminal del cable positivo que va desde la batería al motor de arranque está situado encima de la pila de terminales del espárrago roscado.
Terminal de anillo – rama de 165 cm del arnés de alimentación del módem (con la etiqueta (batería)
Terminal del cable de la batería (positivo) – al alternador (50 A)
Terminal de anillo – rama de 258 cm del arnés eléctrico y de datos de navegación (con la etiqueta (batería (+)))
Terminal de anillo – rama de 21,6 cm del arnés de la máquina (con la etiqueta (a positivo de la batería))
Terminal de anillo – rama de 24 cm del arnés de fumigador del kit
Terminal del cable de la batería (positivo) – al motor de arranque

Monte la tuerca hexagonal (¼") y la arandela (¼") en el espárrago roscado, y apriete la tuerca a entre 1017 y 1234 N·cm.
Coloque la tapa aislante del cable positivo de la batería que va al motor de arranque sobre el espárrago roscado.
Monte los siguientes cables y terminales en el espárrago roscado del borne negativo de la batería en el orden siguiente:
Important: Asegúrese de que el terminal del cable negativo que va desde la batería a la conexión de masa del motor y el chasis está situado encima de la pila de terminales del espárrago roscado.
Terminal de anillo – rama de 258 cm del arnés eléctrico y de datos de navegación (sin etiqueta – aislamiento de cable negro)
Terminal de anillo – rama de 165 cm del arnés de alimentación del módem (con la etiqueta (masa))
Terminal del cable de la batería (negativo) – a la conexión de masa del motor y el chasis

Recoja el exceso de cables del arnés de datos contra el tubo superior derecho del bastidor.

Sujete el arnés de datos al tubo de sujeción del amortiguador con una brida para cable.
Sujete el conjunto del arnés de datos al tubo superior derecho del bastidor con una brida para cable.
Compruebe que hay espacio suficiente entre las poleas y las correas y el arnés de datos, el arnés de la batería, el arnés de cables del kit y los cables de la batería.
Fije el arnés de cables y los cables con bridas, según sea necesario, para mantenerlos alejados de las correas y de las poleas.
Piezas necesarias en este paso:
| Tapón del interruptor | 1 |
Retire los 4 tornillos con arandela prensada (¼" x ½") que sujetan el panel de 3 interruptores a la consola de control.

Apriete las pestañas de bloqueo del interruptor de control de caudal y saque el interruptor del panel de 3 interruptores.

Desconecte el conector hembra de 8 vías del arnés de cables de la máquina (con la etiqueta Rate Switch (interruptor de caudal)) del conector de 8 pines del interruptor.
Note: Ya no necesitará el interruptor de caudal que retiró de la máquina.
Enrute la rama del arnés delantero del interruptor de caudal por el hueco del panel de 3 interruptores, y sujete la rama del arnés contra una rama de cables adyacente con una brida.
Monte el panel de 3 interruptores en la consola de control con los 4 tornillos con arandela prensada (¼" x ½") que retiró en el paso 1.
Alinee el tapón del interruptor con el orificio del panel de 3 interruptores de donde retiró el interruptor de caudal.
Inserte el tapón del interruptor en el panel de 3 interruptores hasta que el tapón encaje firmemente en el panel.
Piezas necesarias en este paso:
| Grapa | 13 |
Alinee los orificios del capó con los orificios del salpicadero y del bastidor de la máquina.

Fije el capó al salpicadero y al bastidor con 9 grapas.
Conecte los 2 conectores hembra de 2 vías del arnés de cables de la máquina a los conectores de 2 pines de los faros derecho e izquierdo.

Alinee el panel interior del guardabarros con los tubos superior izquierdo e inferior izquierdo del bastidor.

Fije el panel interior del guardabarros a los tubos del bastidor con las 6 grapas.
Alinee los orificios del guardabarros con los orificios del chasis de la máquina.

Monte provisionalmente el guardabarros al bastidor con los 3 pernos (5/16 x 1") y las 3 arandelas (5/16") que se retiraron anteriormente.
Fije el guardabarros al perfil del bastidor con las 2 grapas.

Apriete el perno (5/16" x 1") a entre 1978 y 2542 N·cm.
Repita los pasos 1 a 6 con el panel interior del guardabarros y el guardabarros del otro lado de la máquina.
Alinee el panel interior del guardabarros con los tubos superior derecho e inferior derecho del bastidor.


Fije el panel interior del guardabarros a los tubos del bastidor con las 6 grapas y las 5 arandelas (9/16" x ½").
Alinee el guardabarros delantero derecho con la máquina y alinee los orificios del taladro con los orificios del bastidor.

Fije el guardabarros delantero derecho en la tuerca rápida del soporte del travesaño con el tornillo de caperuza (5/16" x 1") y la arandela (5/16").
Fije el guardabarros delantero derecho en el bastidor de perfil de la barra antivuelco con 2 grapas.

Alinee el orificio del guardabarros delantero derecho con el orificio en el suelo de la plataforma y sujete el guardabarros al suelo con un tornillo de caperuza (5/16" x 1") y una arandela (5/16").

Alinee el orificio en la cubierta de la consola inferior con el orificio en el tubo de sujeción del amortiguador y el orificio en la cubierta de la consola del extremo con el orificio en el tubo de sujeción del travesaño.

Fije las cubiertas a los tubos con 2 tornillos de caperuza (5/16" x 1") y 2 arandelas (5/16").
Alinee los cierres del panel de acceso del motor con los casquillos de los soportes de sujeción del panel en la barra antivuelco.

Monte el panel en los soportes.
Gire las palancas de los cierres hacia abajo para sujetar el panel a los soportes.
Alinee el asiento y la chapa del asiento con el chasis de la máquina.

Alinee los orificios de los acoplamientos de giro de la base del asiento con los orificios del soporte del chasis.


Sujete la base del asiento a los soportes del chasis con los 2 pasadores de giro.
Fije los pasadores de giro a la máquina con las 2 chavetas.
Monte la varilla de sujeción al soporte del asiento con la arandela y la chaveta.

Enchufe el conector hembra de 2 vías del arnés de cables de la máquina en el conector del interruptor del asiento hasta que los conectores encajen firmemente.

Gire el asiento ligeramente hacia adelante, retire la varilla de sujeción de la muesca de retención, y gire el asiento hacia abajo hasta que se enganche correctamente.
Introduzca la llave en el interruptor de encendido y gírela a la posición de CONECTADO.
La pantalla de presentación aparece en la pantalla del InfoCenter y el testigo se enciende momentáneamente.
Note: No arranque el motor.

En la pantalla de Inicio, pulse el botón central del InfoCenter para acceder a la pantalla de navegación.

Pulse el botón central del InfoCenter para acceder al menú principal.
En la pantalla MAIN MENU (Menú principal), pulse el botón central para desplazarse a la opción SETTING (Ajuste), y pulse el botón derecho para seleccionar esa opción.

En la pantalla SETTING (Ajuste), pulse el botón central para desplazarse a la opción PROTECTED SETTINGS (Ajustes protegidos), y pulse el botón derecho para seleccionar esa opción.

Introduzca el código PIN como se indica a continuación:
Pulse el botón central las veces que sea necesario para introducir el número del código PIN que corresponde a la posición de la izquierda.

Pulse el botón derecho para desplazarse al número siguiente del código PIN.
Repita los pasos 1 y 2 para los 3 números restantes del código PIN.
Cuando termine de introducir los números del código PIN, pulse el botón derecho y luego el botón central para introducir el código PIN.
El testigo se enciende momentáneamente.

Pulse el botón central para desplazarse a la opción GEOLINK y pulse el botón derecho para seleccionar la opción.

Aparece la pantalla de confirmación de GeoLink en el InfoCenter.

Gire el interruptor de encendido a la posición de DESCONECTADO y luego a la posición de CONECTADO.
La pantalla de presentación de GEOLINK aparece inicialmente cuando se gira la llave de contacto a la posición de CONECTADO.

Gire la llave de contacto a la posición de MARCHA (gasolina) o PRECALENTAMIENTO/MARCHA (diésel).
Compruebe que cada uno de los siguientes componentes indica que recibe alimentación:
Consola de control – muestra gráficos y texto

Receptor de satélite – se enciende el indicador PWR

Módem – se encienden los indicadores LED.

Controlador automático de secciones — se enciende el indicador de ESTADO

Gire la llave de contacto a la posición de DESCONECTADO.
Compruebe que los componentes siguientes no reciben corriente:
Consola de control
Receptor de satélite
Controlador automático de secciones
Consulte la Guía de software del sistema GeoLink.
Realice los siguientes procedimientos:
Verificación de la versión de software.
Selección de las unidades de medida.
Creación de una parcela.
Creación de un nuevo producto y caudal de aplicación.
Creación de una tarea de fumigación.
Equilibrado de las válvulas de sección.
Comprobación del sistema de fumigación.
Equilibrado de la válvula de desvío de agitación.
Calibración del caudalímetro.
Comprobación del estado de las comunicaciones móviles.
Calibración de la brújula en las instalaciones del distribuidor.
Borrado de la memoria NVRAM en las instalaciones del cliente.
Calibración de la brújula en las instalaciones del cliente.