Note: Installez ce kit avec le modèle 41712 ou le modèle 41713.
Le kit système de pulvérisation GeoLink est un outil pour pulvérisateur Toro Multi Pro destiné aux utilisateurs professionnels et temporaires employés à des applications professionnelles. Il est principalement conçu pour pulvériser les pelouses entretenues régulièrement dans les parcs, les terrains de golf, les terrains de sport et les espaces verts professionnels. L'utilisation de ce produit à d'autres fins que celle prévue peut être dangereuse pour vous-même et toute personne à proximité.
Lisez attentivement cette notice pour apprendre comment utiliser et entretenir correctement votre produit, et éviter ainsi de l'endommager ou de vous blesser. Vous êtes responsable de l'utilisation sûre et correcte du produit.
Rendez-vous sur www.Toro.com pour tout document de formation à la sécurité et à l'utilisation des produits, pour tout renseignement concernant un produit ou un outil, pour obtenir l'adresse des concessionnaires ou pour enregistrer votre produit.
Pour obtenir des prestations de service, des pièces d'origine Toro ou des renseignements complémentaires, munissez-vous des numéros de modèle et de série du produit et contactez un concessionnaire-réparateur agréé ou le service client Toro. La Figure 1 indique l'emplacement des numéros de modèle et de série sur le produit. Inscrivez les numéros dans l'espace réservé à cet effet.
Important: Avec votre appareil mobile, vous pouvez scanner le QR code (selon l'équipement) sur la plaque du numéro de série pour accéder aux renseignements sur la garantie, les pièces et autres informations concernant le produit.

Le symbole de sécurité (Figure 2) utilisé dans ce manuel et sur la machine identifie d'importants messages de sécurité dont vous devez tenir compte pour éviter des accidents.

Le symbole de sécurité apparaît au-dessus de toute information signalant des actions ou des situations dangereuses. Il est suivi de la mention DANGER, ATTENTION ou PRUDENCE
DANGER signale un danger immédiat qui, s'il n'est pas évité, entraînera obligatoirement des blessures graves ou mortelles.
ATTENTION signale un danger potentiel qui, s'il n'est pas évité, risque d'entraîner des blessures graves ou mortelles.
PRUDENCE signale un danger potentiel qui, s'il n'est pas évité, peut éventuellement entraîner des blessures légères ou modérées.
Ce manuel utilise également deux autres termes pour faire passer des informations essentielles : Important pour attirer l'attention sur des informations d'ordre mécanique spécifiques, et Remarque pour souligner des informations d'ordre général méritant une attention particulière.
Les substances chimiques utilisées dans le système de pulvérisation peuvent être nocives et toxiques pour vous-même, toute personne présente, les animaux, les plantes, le sol ou autres.
Lisez attentivement les étiquettes signalétiques et les fiches de données de sécurité (FDS) de tous les produits chimiques utilisés et protégez-vous en suivant les recommandations des fabricants des produits chimiques. Utilisez, par exemple, un équipement de protection individuelle (EPI), y compris une protection faciale et oculaire, des gants ou tout autre équipement de protection adapté au produit chimique.
Plusieurs produits chimiques peuvent être utilisés et vous devez donc prendre connaissance des données relatives à chacun d'eux.
Refusez d'utiliser ou d'intervenir sur le pulvérisateur si ces renseignements ne sont pas disponibles.
Avant toute intervention sur un système de pulvérisation, assurez-vous qu'il a été rincé à trois reprises et neutralisé en conformité avec les recommandations du ou des fabricant(s) des produits chimiques et que toutes les vannes ont effectué 3 cycles.
Assurez-vous de disposer d'une source d'eau propre et de savon à proximité afin de pouvoir vous laver immédiatement en cas de contact direct avec un produit chimique.
![]() |
Des autocollants de sécurité et des instructions bien visibles par l'utilisateur sont placés près de tous les endroits potentiellement dangereux. Remplacez tout autocollant endommagé ou manquant. |




Voir le Manuel de l'utilisateur de la machine.
Garez la machine sur une surface plane et horizontale, et serrez le frein de stationnement.
Déployez les sections de rampe droite et gauche horizontalement.
Coupez le moteur, retirez la clé et débranchez la batterie.
Nettoyez le pulvérisateur.
Important: Vous devez vider complètement la cuve du pulvérisateur avant de monter le kit de finition du système de pulvérisation GeoLink.
Débranchez le connecteur à 2 douilles du faisceau de la machine qui est relié au connecteur du contacteur du siège.

Retirez la goupille fendue qui fixe la béquille au support au bas du plateau du siège.

Retirez les 2 goupilles fendues qui fixent le pivot du plateau du siège aux supports du châssis.


Retirez les 2 axes de pivot qui fixent le siège et son plateau au châssis.
Soulevez le siège et son plateau, et déposez-les de la machine.

Faites pivoter vers le haut les poignées des verrous du panneau d'accès au moteur.

Soulevez le panneau d'accès au moteur et déposez-le de la machine.
Retirez et mettez au rebut les 2 fixations enfichables qui fixent l'aile avant gauche au profilé inférieur du ROPS.

Retirez les 3 boulons (5/16" x 1") et les 3 rondelles (5/16") qui fixent l'aile au cadre de la machine.

Déposez l'aile de la machine.
Retirez les 6 fixations à enfichables et les 5 rondelles (9/16" x ½") qui fixent la doublure d'aile au cadre de la machine.

Déposez la doublure d'aile de la machine.

Répétez les opérations 1 à 5 pour la doublure d'aile de l'autre côté de la machine.
Note: Si vous endommagez les fixations enfichables en les retirant, remplacez-les par les fixations réf. Toro 117-2382.
Retirez les 2 vis (5/16" x 1") et les 2 rondelles (5/16") qui fixent le couvercle inférieur et le couvercle d'extrémité de la console sur la machine, et déposez les couvercles.


Retirez la vis (5/16" x 1") et la rondelle (5/16") qui fixent l'aile avant droite au plancher de la plateforme.

Retirez avec précaution les 2 fixations enfichables qui fixent l'aile avant droite au profilé de montage de l'arceau de sécurité.


Retirez la vis (5/16" x 1") et la rondelle (5/16") qui fixent l'aile avant droite au support de la traverse.

Déposez l'aile avant droite de la machine.
Retirez les 6 fixations enfichables et les 5 rondelles (9/16" x ½") qui fixent la doublure d'aile aux tubes supérieur droit et inférieur droit du cadre.

Déposez la doublure d'aile de la machine.
Note: Conservez l'aile avant droite, la doublure d'aile, les vis, les rondelles et les fixations enfichables.Remplacez les fixations enfichables endommagées par des fixations réf. Toro 117-2382.
Débranchez les 2 connecteurs à 2 douilles du faisceau de la machine du connecteur à 2 broches des phares gauche et droit.

Retirez et conservez les 9 fixations enfichables qui maintiennent le capot sur la planche de bord et le cadre de la machine.

Déposez le capot de la machine et mettez-le au rebut.
Tirez le tube de détection de pression du manomètre de la planche de bord hors du raccord de tube.

Sur le faisceau de la machine, débranchez les connecteurs à 3 douilles étiquetés LEFT SPRAY VALVE, CENTER SPRAY VALVE et RIGHT SPRAY VALVE des connecteurs à 3 broches des 3 actionneurs des vannes de pulvérisation).

Débranchez le connecteur à 4 douilles du faisceau de la machine étiqueté RATE VALVE du connecteur à 4 broches de l'actionneur de vanne de débit.

Débranchez le connecteur à 3 douilles du faisceau de la machine étiqueté MASTER SPRAY VALVE du connecteur à 3 broches de l'actionneur de vanne de pulvérisation générale.
Note: Conservez toutes les pièces déposées sauf indication contraire.
Sur la section de rampe extérieure, retirez le collier qui fixe le flexible au raccord en T cannelé.

Débranchez le flexible du raccord en T.
Sortez l'extrémité libre du flexible du collier en R.
Répétez les opérations 1 à 3 pour le flexible d'alimentation de l'autre section de rampe extérieure.
Sous la section de rampe centrale, retirez le collier qui fixe le flexible d'alimentation de la section de pulvérisation centrale au raccord en T cannelé.

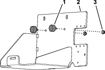
Retirez les étriers qui fixent les raccords rapides des flexibles d'alimentation gauche, central et droit aux raccords rapides des vannes de section de pulvérisation (Figure 24).

Débranchez et mettez au rebut les flexibles d'alimentation des sections gauche, centrale et droite des raccords rapides des vannes de section, et déposez les flexibles de la machine.
Débranchez les flexibles des orifices de déploiement des vérins de levage gauche et droit.

Retirez et mettez au rebut les flexibles des éléments suivants :
Orifices C1, C2, C3 et C4 du collecteur du vérin de levage
Orifices de rétraction et de déploiement des vérins de levage gauche et droit
Note: Conservez toutes les pièces déposées sauf indication contraire.
Utilisez un matériel de levage de la capacité spécifiée pour soutenir la section de pulvérisation extérieure.
Retirez la goupille fendue et l'axe de chape qui fixent l'extrémité de la tige du vérin de levage au support de pivot.

Retirez le contre-écrou à embase (5/16") et le boulon à embase (5/16" x ¾") qui fixent l'axe de pivot au support de vérin.

Déposez l'axe de pivot et le vérin de levage de la machine.
Capacité du matériel de levage : 46 kg
Des accidents graves ou mortels sont possibles si vous ne levez pas les machines et accessoires lourds de la manière correcte.
Lorsque vous devez lever des machines et des accessoires lourds, utilisez un matériel de levage (chaînes et sangles par exemple) capable d'en supporter le poids.
Note: Sauf indication contraire, conservez toutes les fixations que vous retirez ; elles vous serviront pour le montage de l'extension de la rampe centrale.
Retirez le boulon à embase (5/16" x 1") et le contre-écrou à embase (5/16") qui fixent l'axe de pivot au support de pivot.

Retirez l'axe de pivot du support de pivot de la section de rampe centrale et la fixation de pivot de la section de rampe extérieure.
Séparez la section de rampe extérieure de la section de rampe centrale et déposez la section extérieure de la machine.
Retirez et mettez au rebut les 2 bagues à embase en nylon de la fixation de pivot de la section de rampe extérieure.
Répétez les opérations 1 à 3 sous Dépose des vérins de levage pour la section de rampe extérieure de l'autre côté de la machine.
Répétez les opérations 1 à 4 de cette section pour la section de rampe extérieure de l'autre côté de la machine.
Retirez les 2 contre-écrous à embase (5/16") et les 2 boulons à embase (5/16" x 1") qui fixent le support du collecteur de levage de section au support de vérin, et séparez le collecteur et son support du support de vérin.

Soutenez le collecteur de levage de section en l'attachant à la patte du support de vannes avec de la ficelle.
Capacité du matériel de levage : 41 kg
Soutenez la section de rampe centrale avec un matériel de levage de la capacité spécifiée.

Retirez et conservez les 4 boulons à embase (⅜" x 1¼") et les 4 contre-écrous à embase (¾") qui fixent la section de rampe centrale aux pattes de support.

Soulevez la section de rampe centrale et déposez-la de la machine.
Pièces nécessaires pour cette opération:
| Boulon à embase (⅜" x 1") | 2 |
| Contre-écrous à embase (⅜") | 2 |
| Extension de rampe centrale | 1 |
| Support de vérin (large) | 1 |
| Plaque de liaison (large) | 1 |
| Boulon de carrosserie (½" x 1¼") | 4 |
| Contre-écrou à embase (½") | 4 |
Sur la section de rampe centrale, retirez et conservez le contre-écrou à embase qui fixe les tourettes sur le support.


Retirez la vis en acier inoxydable (nº 12 x 1¼") qui fixe le demi-collier supérieur et la douille cannelée simple ou double (¾") sur le corps de la tourette, et séparez la douille cannelée et le flexible de la buse.
Note: Le boulon à tête hexagonale (5/16" x ¾" en acier inoxydable) se détache du demi-collier supérieur quand vous ouvrez ce dernier ; conservez le boulon pour la pose.

Déposez la tourette de la section de rampe centrale.
Répétez les opérations 1 et 2 pour les 2 autres tourettes.
Retirez les flexibles (¾" diamètre intérieur), les douilles cannelées, les colliers et le raccord en T cannelé de la section de rampe centrale.
Note: Vous n'avez plus besoin du flexible, des douilles, des colliers et du raccord en T ; conservez tous les autres composants.
Retirez les 2 boulons à embase (⅜" x 1") et les 2 contre-écrous (⅜") qui fixent les brides verticales des cadres en treillis droit et gauche.

Retirez les 2 boulons de carrosserie (½" x 1¼") et les 2 contre-écrous (½") qui fixent le support de vérin étroit, les cadres en treillis droit et gauche, et la plaque de liaison étroite.

Note: Conservez les boulons à embase, les boulons de carrosserie et les contre-écrous. Vous n'avez plus besoin du support de vérin étroit ni de la plaque de liaison étroite.
Séparez les cadres en treillis droit et gauche.
Fixez légèrement l'extension de rampe centrale au cadre en treillis à l'aide des 2 boulons à embase (⅜" x 1") et des 2 contre-écrous à embase (⅜") retirés précédemment.

Fixez légèrement l'extension de rampe centrale à l'autre cadre en treillis à l'aide des 2 boulons à embase (⅜" x 1") et des 2 contre-écrous à embase (⅜").
Insérez la plaque de liaison dans le cadre en treillis et l'extension de rampe centrale, et alignez le trou dans la plaque de liaison et les trous dans l'axe des cadres en treillis et de l'extension de rampe centrale.

Montez le support de vérin, les cadres en treillis, l'extension de rampe centrale et la plaque de liaison à l'aide de 6 boulons de carrosserie (½" x 1¼") et de 6 contre-écrous à embase (½").
Note: Deux des boulons de carrosserie et des contre-écrous proviennent des pièces retirées précédemment.
Serrez les boulons à embase (⅜") et les contre-écrous à embase à un couple de 37 à 45 N·m.
Serrez les contre-écrous à embase (1/2") à un couple de 91 à 113 N·m.
Pièces nécessaires pour cette opération:
| Tourette | 2 |
| Flexible (vanne 5 ou 6) | 2 |
| Contre-écrou à embase (5/16") | 2 |
À l'aide d'un matériel de levage, soulevez la section de rampe centrale neuve à une hauteur de travail confortable.
Retirez la vis en acier inoxydable qui fixe le demi-collier supérieur au demi-collier inférieur.

Localisez le trou dans le côté de la douille cannelée simple au bout du flexible de 25 cm du flexible (vanne 5 ou 6) pour la section de rampe centrale.

Alignez le tube de transfert dans le demi-collier inférieur d'une tourette et le trou dans le côté de la douille cannelée simple (½").
Fermez le demi-collier supérieur autour de la douille cannelée et fixez le demi-collier et le corps de la buse de pulvérisation avec la vis en acier inoxydable (nº 12 x 1¼") ; serrez la vis en acier inoxydable à un couple de 14 à 18 N·m.
Important: Ne serrez pas excessivement la vis en acier inoxydable.
Note: Veillez à bien engager le boulon à tête hexagonale (5/16" x ¾") dans le creux du demi-collier supérieur quand vous fermez le collier.
Répétez les opérations 3 à 5 pour les douilles cannelées simples des autres ensembles de flexibles (vanne 5 ou 6) de la section de rampe centrale.
Faites passer l'ensemble flexible (13 x 250 mm) et tourette entre les raidisseurs du cadre en treillis extérieur.

Faites passer le flexible et la tourette au-dessus du raidisseur de cadre en treillis et vers l'extérieur vers le support de buse extérieur.
Fixez légèrement la tourette sur le support à l'aide du boulon à tête hexagonale (5/16" x ¾") et d'un contre-écrou (5/16").

Faites passer l'autre ensemble flexible (13 mm) et tourette entre les raidisseurs du cadre en treillis extérieur.
Faites passer le flexible et la tourette au-dessus du raidisseur de cadre en treillis et vers l'intérieur vers le support de tourette intérieur.
Fixez légèrement la tourette sur le support à l'aide d'un boulon à tête hexagonale (5/16" x ¾") et d'un contre-écrou (5/16").
Serrez les contre-écrous à embase à un couple de 19,78 à 25,42 N·m.
Acheminez le flexible et le raccord cannelé (13 x 810 mm) vers le côté de la section de pulvérisation centrale avec les pattes de support gauche et droite.
Répétez les opérations 1 à 8 pour l'autre ensemble flexible et tourette sur l'autre cadre en treillis extérieur.
Pièces nécessaires pour cette opération:
| Chapeau (raccord rapide) | 3 |
| Étrier de fixation | 3 |
Retirez le petit étrier qui fixe le raccord rapide du flexible de dérivation au raccord rapide de la vanne de dérivation de la section droite.

Retirez et conservez le grand étrier qui fixe le raccord à 90° cannelé situé à l'extrémité inférieure du flexible de dérivation au raccord de traversée de la cuve du pulvérisateur.

Débranchez le flexible de dérivation de la machine et mettez-le au rebut.
Retirez les 3 étriers qui fixent les 3 actionneurs aux vannes de section gauche, centrale et droite.

Déposez les actionneurs des vannes de section gauche, centrale et droite.
Retirez l'étrier qui fixe le chapeau au raccord rapide de la vanne de dérivation, déposez le chapeau et mettez-le au rebut.

Retirez et conservez les 2 boulons à tête hexagonale (¼" x 3"), les 2 contre-écrous (¼") et les 4 rondelles (¼") qui fixent les vannes de section au support du collecteur.

Retirez l’étrier et déposez les vannes de section du support du collecteur.
Pièces nécessaires pour cette opération:
| Faisceau arrière | 1 |


Acheminez les branches de 84 cm, 60 cm et 66 cm du faisceau arrière vers le côté gauche de la machine, en suivant le faisceau de machine.


Acheminez les branche de 84 cm, 60 cm et 66 cm du faisceau arrière vers l'avant, le long du profilé de cadre gauche.



Acheminez les branches de 84 cm, 60 cm et 66 cm du faisceau arrière le long du faisceau de la machine, à l'extérieur du frein de stationnement.

Acheminez les branches de 84 cm, 60 cm et 66 cm du faisceau arrière transversalement sur le tube de support amortisseur.

Branchez le faisceau arrière au faisceau de la machine.
À l'arrière de la machine, acheminez la branche de 89 cm du faisceau vers l'avant du collecteur de levage et à droite du débitmètre.

Acheminez la branche de 102 cm du faisceau vers l'arrière du collecteur de levage et vers la droite.
Branchez le connecteur à 3 broches de la branche de 89 cm du faisceau arrière étiquetée LEFT SPRAY au connecteur à 3 douilles du faisceau de la machine étiqueté LEFT SPRAY VALVE.

Branchez le connecteur à 3 broches du faisceau arrière étiqueté CENTER SPRAY au connecteur à 3 douilles de la machine étiqueté CENTER SPRAY VALVE.
Branchez le connecteur à 3 broches du faisceau arrière étiqueté RIGHT SPRAY au connecteur à 3 douilles de la machine étiqueté RIGHT SPRAY VALVE.
Insérez la fixation enfichable du faisceau arrière dans le trou de la bride de la patte de support de vannes.
Branchez le connecteur à 3 douilles de la branche de 89 cm du faisceau arrière étiqueté FLOW METER au connecteur à 3 broches du débitmètre.

Branchez le connecteur à 3 broches de la branche de 89 cm du faisceau arrière étiqueté MASTER VALVE au connecteur à 3 douilles du faisceau de la machine étiqueté MASTER SPRAY VALVE.

Branchez le connecteur à 3 broches de l'actionneur de la vanne de pulvérisation générale au connecteur à 3 douilles de la branche de 89 cm du faisceau arrière étiqueté MASTER VALVE.
Branchez le connecteur à 4 broches de l'actionneur de la vanne de débit au connecteur à 4 douilles de la branche de 89 cm du faisceau arrière étiqueté RATE VALVE.

Pièces nécessaires pour cette opération:
| Raccord cannelé droit (1" x 2") | 1 |
| Collier (¾" à 1½") | 3 |
| Flexible (1" x 8½") | 1 |
| Collecteur | 1 |
| Flexible (1" x 16") | 1 |
Branchez le flexible (1" x 8½") sur le raccord cannelé droit (1" x 2") et fixez-le avec un collier (¾" à 1½") serré à la main.

Branchez l'autre extrémité du flexible (1" x 8½") sur le raccord cannelé du collecteur et fixez-le avec un collier, puis serrez le collier à la main.
Branchez le flexible (1" x 16") à l'autre raccord cannelé du collecteur et fixez-le avec un collier serré à la main.
Montez le raccord cannelé droit (1" x 2") sur la bride du débitmètre avec le joint (38 mm) et le collier bride (51 mm).

Serrez le collier à la main.
Pièces nécessaires pour cette opération:
| Flexible de dérivation | 1 |
| Vanne de coupure | 1 |
Montez l'ensemble flexible de dérivation sur la cuve.


Fixez le raccord à 90° cannelé sur le raccord de traversée de la cuve au moyen d'un étrier.
Capacité du matériel de levage : 55 kg
Avec un matériel de levage de la capacité spécifiée, élevez la section de rampe centrale et alignez-la sur les trous des supports.

Fixez la section de rampe centrale sur les supports à l'aide des 4 boulons à embase (⅜" x 1¼") et des 4 contre-écrous à embase (⅜").
Serrez les écrous et les boulons à un couple de de 37 à 45 N·m.
Détachez le collecteur de levage de la patte de support de vannes.
Alignez les trous du support du collecteur de levage de section et les trous du support de vérin.

Fixez le support du collecteur au support de vérin à l'aide des 2 boulons à embase (5/16" x 1") et des contre-écrous à embase (5/16").
Serrez les boulons et écrous à un couple de 19,78 à 25,42 N·m.
Pièces nécessaires pour cette opération:
| Support de vannes et bloc de vannes | 1 |
| Contrôleur de débit/section | 1 |
| Aimant | 4 |
| Boulon (nº 8) | 4 |
| Rondelle (¼") | 2 |
| Rondelle plate | 4 |
| Contre-écrou(nº 8) | 4 |
| Obturateur (raccord rapide femelle) | 2 |
| Boulons à embase (5/16" x ¾") | 8 |
| Contre-écrous à embase (5/16") | 8 |
| Collier | 1 |
| Fixation à pression (attache-câble) | 1 |
| Fixation à pression (ancrage de connecteur) | 3 |
Fixez les aimants sur le contrôleur à l'aide de 4 boulons (nº 8), 2 rondelles (¼"), 4 rondelles plates et 4 contre-écrous (nº 8).

Placez le contrôleur sur le support de vannes.

Placez les 3 vannes de section sur la bride de la vanne 7 du bloc de vannes de pulvérisation.
Important: Les vannes de section gauche, centrale et droite sont identifiées dans le système GeoLink comme suit : vanne de section gauche – buse 8, vanne de section centrale – buse 9 et vanne de section droite – buse 10.

Fixez le raccord rapide femelle de la vanne de dérivation pour la vanne de section 8 sur le raccord rapide mâle de la vanne de dérivation de la vanne de section 7 à l'aide de l'étrier retiré précédemment.

Fixez les vannes de section sur le support de vannes à l'aide des 2 boulons à embase (¼" x 3"), des 4 rondelles (¼") et des 2 contre-écrous (¼") retirés précédemment.

Serrez les boulons à embase et les contre-écrous à un couple de 1017 à 1243 N·m.
Capacité du matériel de levage : 23 kg
Avec un matériel de levage de la capacité de levage spécifiée, soulevez le support de vannes et le bloc de vannes de pulvérisation, et alignez-le au-dessus de la section de rampe centrale.

Placez les trous de la patte de montage du support de vannes en face des trous dans le cadre en treillis de la section de rampe centrale.

Montez le support de vannes sur le cadre en treillis à l'aide de 4 boulons (5/16" x ¾") et de 4 contre-écrous à embase (5/16").

Répétez les opérations 2 à 3 pour l'autre patte de montage du support de vannes sur l'autre cadre en treillis.
Serrez les boulons à embase et les contre-écrous à embase à un couple de 19,78 à 25,42 N·m.
Branchez le flexible (1" x 16") sur le raccord à bride à 90° (1").

Fixez le flexible au raccord à bride avec un collier.
Retirez les étriers de fixation des douilles des raccords rapides.
Branchez le raccord rapide femelle du flexible de dérivation au raccord rapide mâle de la vanne de dérivation sur la vanne de section 10.

Fixez les raccords rapides du flexible de dérivation et de la vanne de dérivation avec l'étrier.
Répétez les opérations 1 à 3 pour les autres raccords rapides de la vanne de section 1.
Insérez les fixations enfichables des connecteurs électriques des actionneurs de vannes dans les trous du support de vannes.

Branchez le connecteur à 3 douilles de la branche de 89 cm du faisceau arrière étiqueté NOZZLE VALVE 1 sur le connecteur à 3 broches de l'actionneur de vanne extrême gauche (position 1).
Note: Les positions 1 à 10 des actionneurs de vanne se suivent de gauche à droite vu de l'arrière de la machine.

Branchez le connecteur à 3 douilles de la branche de 89 cm du faisceau arrière étiqueté NOZZLE VALVE 2 sur le connecteur à 3 broches de l'actionneur de vanne (position 2).
Branchez le connecteur à 3 douilles restant de la branche de 89 cm du faisceau arrière sur le connecteur à 3 broches des actionneurs de vanne.
Note: Vérifiez que le connecteur à 3 douilles est bien relié à la position correspondante de l'actionneur de vanne.
Branchez le connecteur à 3 douilles de la branche de 61 cm du faisceau arrière étiqueté PRESSURE TRANSDUCER GREEN WEDGE sur le connecteur à 3 broches du transducteur de pression.

Insérez le connecteur à 40 douilles de la branche de 102 cm du faisceau arrière dans le connecteur à 40 broches du contrôleur ASC 10.

Vissez à la main la vis à oreilles du connecteur à 40 douilles dans le connecteur du contrôleur ASC 10.
Insérez le connecteur à 4 douilles du faisceau arrière étiqueté TO ASC 10 dans le connecteur à 4 broches du contrôleur ASC 10.

Pièces nécessaires pour cette opération:
| Flexible hydraulique (¼" x 24¾") | 4 |
Placez l'extrémité fixe du vérin de levage en face du trou de 16 mm du support de vérin.
Note: Vérifiez que les orifices de déploiement et de rétraction du vérin s'alignent.

Fixez le vérin à son support avec l'axe de pivot, le boulon à embase et l'écrou à embase.
Serrez le boulon et l'écrou à un couple de 19,78 à 25,42 N·m.
Répétez les opérations 1 à 3 pour l'autre vérin de levage de l'autre côté du support.
Branchez, sans le serrer, un flexible hydraulique (¼" x 24¾") neuf entre l'orifice de déploiement du vérin de levage de rampe gauche et l'orifice C3 du collecteur de levage de rampe.

Branchez, sans le serrer, un flexible hydraulique (¼" x 24¾") neuf entre l'orifice de rétraction du vérin de levage de rampe gauche et l'orifice C4 du collecteur de levage de rampe.
Branchez, sans le serrer, un flexible hydraulique (¼" x 24¾") neuf entre l'orifice de déploiement du vérin de levage de rampe droit et l'orifice C1 du collecteur de levage de rampe.

Branchez, sans le serrer, un flexible hydraulique (¼" x 24¾") neuf entre l'orifice de rétraction du vérin de levage de rampe droit et l'orifice C2 du collecteur de levage de rampe.
Serrez les raccords des flexibles reliés aux orifices de déploiement et de rétraction des vérins de levage à un couple de 21 à 26 N·m.
Serrez les écrous orientables des flexibles sur le collecteur de levage de rampe à un couple de 24 à 30 N·m.
Pièces nécessaires pour cette opération:
| Bague à embase en nylon | 4 |
| Flexible d'alimentation (188 cm) | 1 |
| Flexible d'alimentation (234 cm) | 1 |
| Flexible d'alimentation (279 cm) | 1 |
Coupez le flexible entre les 2 tourettes.

Retirez le contre-écrou à embase (5/16") qui fixe la tourette sur son support.
Répétez les opérations pour les 3 autres tourettes.
Note: Conservez le contre-écrou à embase et les tourettes.
Note: Mettez au rebut les flexibles, les colliers et le raccord en T.
Répétez les opérations pour l'autre section de rampe extérieure.
Retirez les vis en acier inoxydable (nº 12 x 1¼") qui fixent les demi-colliers supérieurs et les douilles cannelées simples ou doubles (¾") sur le corps de chaque buse de pulvérisation, et déposez les douilles cannelées.
Note: Le boulon à tête hexagonale (5/16" x ¾" en acier inoxydable) se détache du demi-collier supérieur quand vous ouvrez ce dernier ; conservez le boulon pour la pose.

Capacité du matériel de levage : 46 kg
Avec un matériel de levage de la capacité spécifiée, soulevez la rampe extérieure.
Insérez une bague à embase en nylon dans le trou de 31,8 mm de chaque côté de la fixation de pivot.

Alignez les bagues insérées dans la fixation de pivot et les trous dans les brides du support de pivot, au bout de la section de rampe centrale.

Montez la fixation de pivot sur le support de pivot à l'aide de l'axe, du boulon à embase (5/16" x 1") et du contre-écrou à embase (5/16").
Serrez le boulon et l'écrou à un couple de 19,8 à 25,4 N·m.
Placez la tige du vérin de levage en face du trou de 25 mm dans la fourche de la fixation de pivot.

Fixez le vérin de levage à la fixation de pivot à l'aide d'un axe de chape et d'une goupille fendue.
Répétez les opérations 1 à 7 pour la section de rampe extérieure de l'autre côté de la machine.
Pièces nécessaires pour cette opération:
| Flexible d'alimentation de 279 cm | 2 |
| Flexible d'alimentation de 234 cm | 2 |
| Flexible d'alimentation de 188 cm | 4 |
| Flexible d'alimentation de 81 cm | 2 |
Note: Vérifiez que le raccord cannelé est complètement engagé sur le raccord de vanne.
Fixez les raccords cannelés aux raccords avec un étrier.

Note: Le flexible d'alimentation de 81 cm comprend un raccord en T avec 2 flexibles d'embranchement et 2 douilles cannelées simples.
| Section de rampe | Vanne de section | Buse | Flexible d'alimentation |
|---|---|---|---|
| Gauche | 1 | 1 | 279 cm |
| 2 | 2 | 234 cm | |
| 3 | 3 | 188 cm | |
| 4 | 4 | 188 cm | |
| Centrale | 5 | 5 et 6 | 81 cm |
| 6 | 7 et 8 | 81 cm | |
| Droite | 7 | 9 | 188 cm |
| 8 | 10 | 188 cm | |
| 9 | 11 | 234 cm | |
| 10 | 12 | 279 cm |

Alignez le tube de transfert dans le demi-collier inférieur d'une tourette et le trou dans le côté de la douille cannelée simple (½").

Fermez le demi-collier supérieur autour de la douille cannelée et fixez le demi-collier et le corps de la tourette avec la vis en acier inoxydable (nº 12 x 1¼") ; serrez la vis en acier inoxydable à un couple de 14 à 18 N·m.
Note: Veillez à bien engager le boulon à tête hexagonale (5/16" x ¾") dans le creux du demi-collier supérieur quand vous fermez le collier.
Fixez les tourettes sur les supports à l'aide des contre-écrous à embase (5/16") retirés précédemment.

Serrez les contre-écrous à embase à un couple de 19,78 à 25,42 N·m.
Insérez le tube de détection de pression dans le raccord du tube jusqu'à ce qu'il soit complètement engagé.

Pièces nécessaires pour cette opération:
| Socle du récepteur de navigation | 1 |
| Support de récepteur | 1 |
| Boulon (⅜" x 3¼") | 1 |
| Rondelle-frein (⅜") | 1 |
| Rondelle (⅜" x 13/16") | 1 |
| Entretoise (⅜" x 1") | 1 |
| Contre-écrou à embase (⅜") | 1 |
| Boulon à embase (5/16" x ¾") | 1 |
| Contre-écrou à embase (5/16") | 1 |
| Boulon à embase (⅜" x 1½") | 2 |
| Entretoise (⅜" x 7/16") | 2 |
| Récepteur de navigation | 1 |
| Support d'antenne de modem | 1 |
| Boulon à tête hexagonale (5 x 16 mm) | 3 |
| Rondelle (5 mm) | 3 |
Fixez le socle du récepteur sur le support à l'aide de 1 boulon (⅜" x 3¼"), 1 rondelle de blocage, 1 rondelle, 1 entretoise (⅜" x 1") et 1 contre-écrou (⅜").

Insérez le boulon à embase (5/16" x ¾") et le contre-écrou (5/16") dans le petit trou du support du récepteur et dans la fente du socle.

Serrez les boulons et les écrous de manière à pouvoir faire pivoter le socle du récepteur avec une légère résistance.
Fixez le support du récepteur et l'entretoise (⅜" x 7/16") à l'arceau de sécurité avec le boulon à embase (⅜" x 1½").

Serrez les boulons de manière à pouvoir faire pivoter le socle du récepteur avec une légère résistance.
Mettez le socle du récepteur de niveau à droite et à gauche

Serrez le boulon à embase (5/16" x ¾") et le contre-écrou à embase (5/16") à un couple de 19,78 à 25,42 N·m.
Mettez le socle du récepteur de niveau à l'avant et à l'arrière.
Serrez le boulon (⅜" x 3¼") et le contre-écrou à embase (⅜") à un couple de 37 à 45 N·m.
Fixez le récepteur sur le support à l'aide de 4 boulons (5 x 16 mm) et de 4 rondelles.
Note: Vérifiez que les flèches sont dirigées vers l'avant de la machine.

Serrez les 3 boulons à un couple de 5,76 à 7,12 N·m.
Pièces nécessaires pour cette opération:
| Support d'antenne | 1 |
| Rivet | 2 |
| Aimant | 2 |
| Antenne de modem | 1 |
| Antenne à gain élevé (vendue séparément) | 1 |
Montez le support de l'antenne de modem sur l'arceau de sécurité.

Nettoyez les traces de graisse ou d'huile sur la surface de montage de l'antenne.
Retirez la pellicule de protection du revêtement adhésif double face et collez l'antenne sur son support.

Fixez l'antenne et le faisceau sur le support avec 3 attache-câbles.

Installation de l'antenne à gain élevé (vendue séparément) :
Modèles sans abri – placez l'antenne au sommet de l'arceau de sécurité.
Modèles avec abri – fixez l'antenne au sommet de l'abri à l'aide des tampons adhésifs inclus.

Faites passer les faisceaux d'antenne du modem sur la droite, le long de l'arceau de sécurité.


Faites descendre le faisceau vers l'avant.

Pièces nécessaires pour cette opération:
| Adaptateur de faisceau | 1 |
| Faisceau de données et électrique | 1 |
| Attache-câble | 8 |

Acheminez la branche de 302 cm du faisceau de données de navigation et électrique le long du tube droit de la structure ROPS, en orientant le connecteur à 12 douilles (gris) et le connecteur à 12 douilles (noir) vers le haut et le récepteur de navigation.
Branchez les 2 connecteurs sur la face allongée du connecteur à 12 douilles du faisceau de données étiqueté avec les 2 fentes de connexion dans le faisceau adaptateur.

Branchez le faisceau adaptateur dans le récepteur.
Acheminez le faisceau de données de navigation et électrique le long du tube droit de l'arceau de sécurité et le faisceau de l'antenne de modem vers la traverse du support de siège.

Fixez les faisceaux à l'arceau de sécurité avec des attache-câbles.
Note: Veillez à ne pas trop tendre le faisceau entre les connecteurs à 12 douilles et l'attache-câble.
Acheminez la branche de 227 cm du faisceau de données de navigation et électrique le long du bas de la console de commande de la machine.

Acheminez la branche de 258 cm du faisceau de données de navigation et électrique en travers du tube de support amortisseur et vers la batterie.
Appliquez le support magnétique du faisceau arrière sur le cadre tubulaire supérieur droit de la machine.

Branchez le connecteur à 4 broches étiqueté du faisceau de données sur le connecteur à 4 douilles étiqueté du faisceau arrière.
Pièces nécessaires pour cette opération:
| Support de l'écran | 1 |
| Boulon à embase (6 x 12 mm) | 3 |
| Étrier fileté (5/16") | 2 |
| Boulon à embase (5/16" x ¾") | 4 |
| Contre-écrou à embase (5/16") | 8 |
| Support à rotule | 1 |
| Bras de l'écran | 1 |
Avec un morceau de ruban adhésif, repérez la position du volant par rapport à la valve de direction.

Déposez le couvre-moyeu du volant.
Retirez l'écrou (⅝") et la rondelle (⅝") qui fixent le volant à la valve de direction, et déposez le volant.
Placez le support de l'écran sur la machine comme montré.

Fixez le support du moniteur sur le boîtier de la valve de direction à l'aide des 3 boulons à embase (6 x 12 mm).

Fixez la plaque du support de l'écran au tube de support du châssis de la machine à l'aide des 2 étriers filetés et des 4 contre-écrous à embase (5/16").

Serrez les 3 boulons à embase (6 x 12 mm) de la valve de direction à un couple de 9,72 à 11,98 N·m. Sur le tube de support, serrez les contre-écrous à embase à un couple de 19,78 à 25,42 N·m.
Alignez le ruban de repérage du volant et le ruban de repérage sur le boîtier de la valve de direction.

Fixez le volant sur l'arbre de la valve de direction avec la rondelle (⅝") et l'écrou (⅝") retirés précédemment.
Serrez l'écrou à un couple de 206 à 254 N·m.
Reposez le couvercle.
Fixez le support à rotule à la patte de montage du support de l'écran à l'aide des 4 boulons à embase (5/16" x ¾") et des 4 contre-écrous à embase (5/16").

Serrez les boulons et écrous à un couple de 19,78 à 25,42 N·m.
Engagez la rotule de l'écran et le support à rotule situé sur la machine dans le bras de l'écran.

Ajustez la position de l'écran pour qu'il soit visible par l'utilisateur de la machine, et serrez le bouton du bras de l'écran à la main.
Acheminez la branche de 227 cm du faisceau de données de navigation et électrique (la branche munie du connecteur à 26 douilles) vers le haut et le long du tube de support de l'écran.
Branchez le faisceau de données de navigation dans l'écran.

Retirez la résistance de terminaison du connecteur à 6 douilles étiqueté CAN 2 TERMINATOR du câble de données.
Note: Vous n'avez plus besoin de la résistance de terminaison.

Pièces nécessaires pour cette opération:
| Faisceau de données du modem – 300 cm | 1 |
Vissez le connecteur du faisceau du modem dans l'écran.

Acheminez le faisceau de données du modem le long du faisceau de données de l'écran.
Acheminez le faisceau de données du modem sous le tube de support amortisseur de la machine.
Acheminez le faisceau de données du modem en travers de l'arrière des relais et vers le bas.

Placez le connecteur à 4 broches étiqueté du faisceau de données du modem près des 4 connecteurs du faisceau d'antenne du modem, comme montré.

Sur le cadre tubulaire supérieur, rassemblez le faisceau de données de navigation et électrique, et la branche du faisceau étiquetée CAN 2 ASC 10 BUS sur le faisceau de pulvérisateur du kit avec 2 attache-câbles
Rassemblez le faisceau d'antenne de modem et fixez-le au faisceau de pulvérisateur du kit avec 2 attache-câble.

Fixez le faisceau de données du modem et le faisceau de données de navigation et électrique au tube de l'écran avec un attache-câble.

Fixez le faisceau de données du modem sur le faisceau de données de navigation et électrique avec un attache-câble.
Pièces nécessaires pour cette opération:
| Faisceau d'alimentation du modem | 1 |
Placez le faisceau d'alimentation du modem sur la machine.

Acheminez les cosses à anneau du faisceau d'alimentation du modem étiquetées et vers la batterie.

Acheminez le connecteur à 4 broches étiqueté et le connecteur à 18 douilles étiqueté du faisceau d'alimentation du modem sous le porte-fusibles de la machine.
À l'avant de la machine, acheminez le connecteur à 4 broches étiqueté et le connecteur à 18 douilles étiqueté du faisceau d'alimentation du modem vers la machine, comme montré.

Branchez la borne du faisceau d'alimentation du modem étiquetée sur le connecteur à douille pour l'alimentation des options du porte-fusibles.
Note: Si le porte-fusibles de votre machine n'a pas de circuit disponible pour l'alimentation des options, installez un porte-fusibles supplémentaire pour les options ; consultez votre distributeur Toro agréé.
Près du porte-fusibles, rassemblez le faisceau d'alimentation du modem au niveau du connecteur à 9 broches étiqueté et fixez le faisceau avec 2 attache-câbles.

Rassemblez le faisceau d'alimentation du modem près du câble négatif de la batterie, et rassemblez-les avec un attache-câble.
Insérez le fusible (10 A) dans l'emplacement sur le porte-fusibles (Figure 135) correspondant au circuit d'alimentation des options que vous avez utilisé à l'opération 5.

Pièces nécessaires pour cette opération:
| Modem CL-55 | 1 |
| Support du modem | 1 |
| Boulon (nº 10-24 x 1⅜") | 2 |
| Contre-écrou (nº 10-24") | 2 |
| Aimant | 2 |
| Rivet | 2 |
Retirez la fixation enfichable qui maintient le faisceau de câblage de la machine sur le support de la béquille.

Fixez le modem sur le support à l'aide de 2 boulons (nº 10-24 x 1⅜") et 2 écrous (nº 10-24).

Fixez les aimants sur le support du modem avec les rivets.

Placez le support du modem sous le support de la béquille et derrière la bride du cadre de la machine.

Insérez la fixation enfichable supérieure du faisceau dans les trous du support de la béquille.

Branchez le connecteur coaxial du faisceau d'antenne du modem étiqueté dans la prise coaxiale du modem CL-55 étiquetée WIFI/BT, et serrez le connecteur coaxial.

Insérez le connecteur enfichable coaxial bleu du faisceau d'antenne du modem étiqueté dans le connecteur du modem CL-55 étiqueté jusqu'à ce que les connecteurs s'enclenchent solidement l'un dans l'autre.
Insérez le connecteur enfichable coaxial violet du faisceau d'antenne du modem étiqueté dans le connecteur du modem CL-55 étiqueté jusqu'à ce que les connecteurs s'enclenchent solidement l'un dans l'autre.
Insérez le connecteur enfichable coaxial rouge du faisceau d'antenne du modem étiqueté dans le connecteur du modem CL-55 étiqueté jusqu'à ce que les connecteurs s'enclenchent solidement l'un dans l'autre.
Branchez le connecteur à 4 broches du faisceau de données du modem étiqueté sur le connecteur à 4 douilles (non marqué) du modem CL-55, et serrez l'écrou moleté du connecteur.

Branchez le connecteur à 18 douilles du faisceau d'alimentation du modem étiqueté sur le connecteur à 18 broches du modem CL-55.
Sur le côté intérieur de la console de commande de la machine, retirez et conservez la résistance de terminaison passive du connecteur à 3 broches non étiqueté du faisceau de la machine.


Pièces nécessaires pour cette opération:
| Faisceau du bus ISO-CAN – 302 cm | 1 |
À l'avant de la la console de commande de la machine, acheminez le connecteur étiqueté du faisceau du bus ISO-CAN dans le bas de l'écran.

Retirez le capuchon du connecteur à 4 douilles étiqueté . du faisceau de données de navigation et électrique.

Branchez le connecteur à 4 broches étiqueté du faisceau du bus ISO-CAN dans le connecteur à 4 douilles étiqueté du faisceau de données de navigation et électrique.

Acheminez les connecteurs étiquetés et du faisceau du bus ISO-CAN vers le porte-fusibles.


Au niveau du porte-fusibles, retirez le capuchon du connecteur à 3 douilles étiqueté du faisceau de la machine.

Branchez le connecteur à 3 broches étiqueté du faisceau du bus ISO-CAN dans le connecteur à 3 douilles étiqueté du faisceau de la machine.
Important: Ne branchez pas les connecteurs de faisceau étiquetés et du faisceau arrière.
Rassemblez le faisceau du bus ISO-CAN et attachez-le au faisceau de données de navigation et électrique avec un attache-câble.

Fixez le faisceau du bus ISO-CAN et le faisceau de données de navigation et électrique sur le tube de cadre droit avec un attache-câble comme montré.
Pièces nécessaires pour cette opération:
| Faisceau adaptateur – 13 cm | 1 |
Sur le récepteur satellite, déposez la terminaison de bus ISO du connecteur à 6 douilles du faisceau GeoLink et mettez-la au rebut.

Branchez le connecteur à 6 broches du faisceau adaptateur de 13 cm dans le connecteur à 6 douilles du faisceau GeoLink.
Branchez la résistance dans le connecteur à 3 douilles du faisceau adaptateur.
Fixez le faisceau adaptateur au faisceau GeoLink avec un attache-câble.
Débranchez le connecteur à 2 douilles sur faisceau de la machine étiqueté du connecteur à 2 broches de l'embrayage de la pompe.

Branchez le connecteur à 2 broches de la branche de 84 cm du faisceau de pulvérisateur du kit au connecteur à 2 douilles du faisceau de la machine étiqueté .

Branchez le connecteur à 2 douilles du faisceau de pulvérisateur du kit sur le connecteur à 2 broches de l'embrayage de la pompe.
Acheminez la branche de 84 cm du faisceau contre le moteur et la pompe de pulvérisation de manière que le faisceau ne touche pas la courroie d'alternateur.

Pièces nécessaires pour cette opération:
| Support de batterie | 1 |
| Pare-chocs | 1 |
| Contre-écrou à embase (¼") | 2 |
| Sangle | 1 |
| Batterie (650 A) | 1 |
| Support d'alternateur | 1 |
| Poulie d'entraînement de 279 mm | 1 |
| Boulon (¼" x 2¼") | 4 |
| Alternateur (60 A) | 1 |
| Boulon à embase (8 x 25 mm) | 1 |
| Boulon à embase (⅜" x 1½") | 1 |
| Courroie trapézoïdale | 1 |
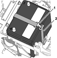
Retirez les 2 contre-écrous à embase et la tige de maintien des 2 boulons en J qui fixent la batterie à son support sur la machine.

Retirez et mettez au rebut les 2 boulons en J et le socle de la batterie du support de batterie.

Retirez la batterie de la machine.
Note: Vous n'avez plus besoin des écrous à embase, de la tige de maintien et de la batterie (300 A).
Retirez et conservez les 3 boulons (10-24 x ¾") et les 3 écrous (10-24) qui fixent les porte-fusibles au support de batterie.

Retirez et conservez les 2 boulons à embase (⅜" x ¾") qui fixent le support de batterie au tube de support amortisseur de la machine.
Retirez et conservez les 2 boulons (10-24 x ¾"), les 2 écrous (10-24) et le clip de support de fil qui fixent le bornier de masse et le fil au support de batterie.
Note: Mettez au rebut le clip de support de fil.

Déposez le support de batterie de la machine et mettez au rebut.

Fixez les 2 butées sur le support de batterie à l'aide de 2 contre-écrous à embase (¼").

Passez la sangle dans les 2 fentes du support de la batterie.

Placez le nouveau support de batterie devant le tube de support amortisseur de la machine et les porte-fusibles.

Fixez le support de batterie au tube de support amortisseur à l'aide des 2 boulons à embase (⅜" x ¾") retirés précédemment.

Serrez les 2 boulons à embase à un couple de 37 à 45 N·m.
Fixez le bornier de masse et le support de la batterie à l'aide des 2 boulons (10-24 x ¾") et des 2 contre-écrous (10-24) retirés précédemment, et fixez le clip de support de fil au bord du support de la batterie.

Fixez les porte-fusibles au support de batterie à l'aide des 3 boulons (10–24 x ¾") et des 3 écrous (10-24) retirés précédemment.

Montez la batterie (650 A) dans son support.

Passez la bande tissée de la sangle de la batterie dans la boucle, et serrez la sangle jusqu'à ce que la batterie soit solidement fixée en place.
À la tête de la pompe, desserrez les 2 boulons (pour obtenir un jeu de 7 à 10 mm entre la tête des boulons et la pompe.
Note: Il n'est pas nécessaire de retirer les boulons de la pompe de pulvérisation.

Placez le support de l'alternateur entre les boulons et la tête de la pompe.

Serrez les boulons à un couple de 61 à 75 N·m.
Desserrez l'écrou de l'axe de la poulie de tension.
Note: Vérifiez que la courroie est détendue.

Tournez le boulon de tension de la courroie pour détendre complètement la courroie de la pompe de pulvérisation.
Retirez les 4 boulons (¼" x 1") et les 4 rondelles frein (¼") qui fixent la poulie à la pompe de pulvérisation.
Important: Ne déposez pas la poulie.
Note: Conservez la rondelle de blocage ; vous n'avez plus besoin des boulons.

Alignez les trous de la poulie d'alternateur (kit) et les trous de la poulie de la pompe de pulvérisation.

Fixez la poulie d'alternateur à la poulie de pompe de pulvérisation et la pompe de pulvérisation avec les 4 boulons (¼" x 2¼") et les 4 rondelles frein (¼").
Serrez les boulons à un couple de 1 017 à 1243 N·m.
Tournez le boulon de tension pour augmenter la tension de la courroie jusqu'à obtention d'une flèche de 9,5 mm quand vous exercez une force de 4,5 kg entre les pignons de moteur et de pompe de pulvérisation.

Serrez l'écrou de l'axe de la poulie de tension à un couple de 37 à 44 N·m.
Fixez l'alternateur (60 A) sur le bossage fileté du support d'alternateur avec le boulon à embase (⅜" x 1½").

Fixez la bride filetée de l'alternateur à la bride fendue du support d'alternateur avec le boulon à embase (8 x 25 mm).
Chaussez la courroie trapézoïdale sur la poulie d'entraînement (279 mm) et la poulie de l'alternateur.

Tournez l'alternateur () pour augmenter la tension de la courroie jusqu'à obtention d'une flèche de 9,5 mm quand vous exercez une force de 4,5 kg entre la poulie d'alternateur et la poulie d'entraînement (279 mm).

Serrez le boulon à embase (8 x 25 mm) à un couple de 23 à 29 N·m.
Serrez le boulon à embase (⅜" x 1½") à un couple de 37 à 45 N·m.
Pièces nécessaires pour cette opération:
| Câble d'alternateur (rouge, calibre 6) | 1 |
| Relais | 1 |
| Fixation enfichable | 1 |
| Fusible (15 A) | 1 |
Branchez le connecteur à 2 douilles du fil rose de 57 cm du faisceau sur le connecteur à 2 broches de l'alternateur (50 A).

Acheminez le fil de détection rose à l'écart de la courroie d'alternateur et fixez le fil avec un attache-câble.
Retirez l'écrou de la borne de l'alternateur (50 A).

Fixez l'extrémité du câble d'alternateur rouge (calibre 6) muni du capuchon isolant sur la borne de l'alternateur (50 A) avec l'écrou.
Acheminez l'autre extrémité du câble d'alternateur vers les bornes de la batterie, à l'écart de la poulie et de la courroie d'alternateur.
Serrez l'écrou à un couple de 47 à 57 N·m.
Placez le capuchon isolant sur la borne de l'alternateur.
Branchez le connecteur à 5 broches du relais sur le connecteur à 5 douilles du faisceau étiqueté ASC 10 ENABLE RELAY.

Alignez le trou dans la patte de montage du relais et le trou dans le tube de support amortisseur, puis fixez le relais au tube avec une fixation enfichable.
Préparez un multimètre pour effectuer un test de continuité.
Sur le porte-fusibles 3 de la machine, insérez la sonde du multimètre dans le contact 4 (colonne droite) de la douille de fusible 2.

Sur l'avant des porte-fusibles, utilisez la sonde du multimètre pour identifier le connecteur à lame au bout du fil rouge (calibre 10) qui est relié à la douille de fusible 2 – contact 4.

Avec un morceau de ruban adhésif, repérez le connecteur et le fil que vous avez identifié à l'opération précédente.
Branchez le connecteur à lame que vous avez repéré à l'opération précédente sur le connecteur à douille au bout du fil rose de 51 mm du faisceau.

Insérez le fusible (15 A) dans la douille 2 du porte-fusibles 3 jusqu'à ce qu'il soit complètement engagé.

Pièces nécessaires pour cette opération:
| Collier de connexion rapide (poignée rouge) | 1 |
| Collier de connexion rapide (poignée noire) | 1 |
Retirez les écrous hexagonaux et les rondelles des colliers de connexion rapide à poignée rouge et noire.
Ouvrez la poignée de verrouillage du collier de connexion rapide à poignée noire.

Assemblez le collier de connexion rapide sur la borne négative de la batterie, en dirigeant le tenon fileté du collier vers le centre de la batterie.
Fermez la poignée de verrouillage du collier de connexion rapide.
Note: Si vous avez besoin de régler la force de serrage du collier de connexion rapide, ouvrez la poignée, tournez l'écrou moleté pour augmenter ou réduire la force de serrage, puis refermez la poignée du collier.
Répétez les opérations pour le collier à poignée rouge sur la borne positive de la batterie.
S'ils sont mal acheminés, les câbles de la batterie peuvent subir des dommages ou endommager la machine et produire des étincelles. Les étincelles peuvent provoquer l'explosion des gaz de la batterie et vous blesser.
Débranchez toujours le câble négatif (noir) de la batterie avant le câble positif (rouge).
Connectez toujours le câble positif (rouge) de la batterie avant le câble négatif (noir).
Les bornes de la batterie ou les outils en métal peuvent causer des courts-circuits au contact des pièces métalliques et produire des étincelles. Les étincelles peuvent provoquer l'explosion des gaz de la batterie et vous blesser.
Lors du retrait ou de la mise en place de la batterie, les bornes ne doivent toucher aucune partie métallique de la machine.
Évitez de créer des courts-circuits entre les bornes de la batterie et les parties métalliques de la machine avec des outils en métal.
Fendez le capuchon isolant du câble positif de la batterie relié au démarreur.

Assemblez les cosses des fils et câbles ci-après sur le tenon fileté de la borne positive de la batterie dans l'ordre suivant :
Important: Vérifiez que la cosse du câble de batterie (positif) relié au démarreur est placée en haut de la pile de cosses sur le tenon fileté.
Cosse à anneau – branche de faisceau d'alimentation du modem de 165 cm (étiquetée
Cosse de câble de batterie (positif) – à l'alternateur (50 A)
Cosse à anneau – branche du faisceau de données de navigation et électrique de 258 cm (étiquetée )
Cosse à anneau – branche du faisceau de la machine de 21,6 cm (étiquetée )
Cosse à anneau – branche du faisceau de pulvérisateur du kit de 24 cm (non étiqueté)
Cosse de câble de batterie (positif) – au démarreur

Placez l'écrou hexagonal (¼") et la rondelle (¼") sur le tenon fileté et serrez l'écrou à un couple de 10,17 à 12,34 N·m.
Placez le capuchon isolant du câble positif de la batterie relié au démarreur sur le tenon fileté.
Assemblez les cosses des fils et câbles ci-après sur le tenon fileté de la borne négative de la batterie dans l'ordre suivant :
Important: Vérifiez que la cosse du câble de batterie (négatif) relié au moteur et à la masse du châssis est placée en haut de la pile de cosses sur le tenon fileté.
Cosse à anneau – branche du faisceau de données de navigation et électrique de 258 cm (non étiquetée – gaine isolante noire)
Cosse à anneau – branche de faisceau d'alimentation du modem de 165 cm (étiquetée )
Cosse de câble de batterie (négatif) – au moteur et à la masse du châssis

Rassemblez l'excédent du faisceau de données contre le tube de cadre supérieur droit.

Placez le faisceau de données sur le tube de support amortisseur, et fixez-le sur le tube avec un attache-câble.
Placez le faisceau de données rassemblé sur le tube de cadre supérieur droit, et fixez-le sur le tube avec un attache-câble.
Vérifiez qu'un espace existe entre les poulies et courroies et le faisceau de données, le faisceau de batterie, le faisceau du kit et les câbles de la batterie.
Attachez le faisceau et les câbles avec des attache-câbles pour les éloigner des courroies et des poulies.
Pièces nécessaires pour cette opération:
| Cache d'interrupteur | 1 |
Retirez les 4 vis à embase (¼" x ½") qui fixent le bloc de 3 interrupteurs à la console de commande.

Pincez les languettes de verrouillage de l'interrupteur de régulation de débit et poussez l'interrupteur hors du bloc de 3 interrupteurs.

Débranchez le connecteur à 8 douilles du faisceau de la machine (étiqueté Rate Switch) du connecteur à 8 broches de l'interrupteur.
Note: Vous n'avez plus besoin de l'interrupteur de régulation de débit que vous avez retiré de la machine.
Passez la branche du faisceau avant de l'interrupteur de débit dans l'ouverture du bloc de 3 interrupteurs et attachez-la contre une branche adjacente avec un attache-câble.
Fixez le bloc de 3 interrupteurs à la console de commande à l'aide des 4 vis à embase (¼" x ½") que vous avez retirées à l'opération 1.
Placez le cache d'interrupteur en face de l'ouverture dans le bloc de 3 interrupteurs occupée précédemment par l'interrupteur de débit.
Insérez le cache dans le bloc de 3 interrupteurs jusqu'à ce qu'il s'enclenche solidement à l'intérieur.
Pièces nécessaires pour cette opération:
| Fixation enfichable | 13 |
Alignez les trous dans le capot sur les trous dans la planche de bord et le cadre de la machine.

Fixez le capot à la planche de bord et au cadre avec 9 fixations enfichables.
Branchez les 2 connecteurs (à 2 douilles) du faisceau de la machine aux connecteurs à 2 broches des phares gauche et droit.

Placez la doublure d'aile sur les tubes supérieur gauche et inférieur gauche du cadre.

Fixez la doublure d'aile aux tubes du cadre avec les 6 fixations enfichables.
Alignez les trous de l'aile et les trous du cadre de la machine.

Fixez légèrement l'aile sur le cadre à l'aide des 3 boulons (5/16" x 1") et des 3 rondelles (5/16") retirés précédemment.
Fixez l'aile au profilé de cadre avec les 2 fixations enfichables.

Serrez le boulon (5/16" x 1") à un couple de 19,78 à 25,42 N·m.
Répétez les opérations 1 à 6 pour la doublure d'aile et l'aile de l'autre côté de la machine.
Placez la doublure d'aile sur les tubes supérieur droit et inférieur droit du cadre.


Fixez la doublure d'aile aux tubes du cadre avec les 6 fixations enfichables et 5 rondelles (9/16" x ½").
Placez l'aile avant droite devant la machine et alignez les trous de l'aile sur les trous du cadre.

Fixez l'aile avant droite sur le clip écrou du support de traverse à l'aide de la vis (5/16" x 1") et de la rondelle (5/16").
Fixez l'aile avant droite sur l'arceau de sécurité à l'aide de 2 fixations enfichables.

Alignez le trou dans l'aile avant droite sur le trou dans le plancher de la plate-forme, et fixez l'aile au plancher à l'aide d'une vis (5/16" x 1") et d'une rondelle (5/16").

Alignez le trou dans le couvercle de console inférieur sur le trou dans le tube de support amortisseur, et le trou dans le couvercle d'extrémité de la console sur le trou dans le tube de traverse.

Fixez les couvercles sur les tubes à l'aide de 2 vis (5/16" x 1") et 2 rondelles (5/16").
Placez les verrous du panneau d'accès au moteur en face des bagues des supports du panneau sur l'arceau de sécurité.

Montez le panneau sur les supports.
Abaissez les poignées de verrouillage pour fixer le panneau sur les supports.
Placez le siège et son plateau sur le châssis de la machine.

Alignez les trous des pivots du plateau du siège et les trous du support de châssis.


Fixez le plateau du siège aux supports du châssis avec les 2 axes de pivot.
Fixez les axes de pivot à la machine avec les 2 goupilles fendues.
Fixez la béquille au support du siège avec la rondelle et la goupille fendue.

Branchez le connecteur à 2 douilles du faisceau de la machine au connecteur du contacteur du siège jusqu'à ce que le connecteur s'enclenche solidement.

Basculez le siège légèrement vers l'avant, sortez la béquille de l'encoche de verrouillage, puis rabattez le siège jusqu'à ce qu'il se verrouille solidement en place.
Introduisez la clé dans le commutateur d'allumage et tournez-la à la position CONTACT.
L'écran de présentation s'affiche sur l'InfoCenter et le témoin s'allume brièvement.
Note: Ne mettez pas le moteur en marche.

Sur l'écran d'accueil, appuyez sur le bouton central de l'InfoCenter pour ouvrir l'écran de navigation.

Appuyez sur le bouton central de l'InfoCenter pour accéder au menu principal.
Dans l'écran du MENU PRINCIPAL, appuyez sur le bouton central pour naviguer jusqu'à l'option RéGLAGES, puis appuyez sur le bouton droit pour la sélectionner.

Dans l'écran RéGLAGES, appuyez sur le bouton central pour naviguer jusqu'à l'option RéGLAGES PROTéGéS, puis appuyez sur le bouton droit pour la sélectionner.

Entrez le code PIN comme suit :
Appuyez sur le bouton central comme nécessaire pour saisir le chiffre gauche du code PIN.

Appuyez sur le bouton droit pour passer au chiffre suivant du code PIN.
Répétez les opérations 1 et 2 pour les 3 autres chiffres du code PIN.
Après avoir saisi tous les chiffres du code PIN, appuyez sur le bouton droit, puis sur le bouton central pour entrer le code PIN.
Le témoin s'allume brièvement.

Appuyez sur le bouton central pour naviguer jusqu'à l'option GEOLINK, puis appuyez sur le bouton droit pour la sélectionner.

L'écran de confirmation GeoLink s'affiche sur l'InfoCenter.

Tournez le commutateur d'allumage à la position ARRêT puis à la position CONTACT.
L'écran de démarrage GEOLINK s'affiche initialement quand vous tournez le commutateur d'allumage à la position CONTACT.

Tournez la clé de contact à la position CONTACT (modèle essence) ou PRéCHAUFFAGE/CONTACT (modèle diesel).
Vérifiez que les composants suivants indiquent qu'ils sont alimentés :
Console de commande – affiche graphiques et texte

Récepteur satellite – le témoin PWR s'allume

Modem – les LED s'allument

Contrôleur de section automatique – le témoin d'éTAT s'allume

Tournez la clé de contact à la position ARRêT.
Vérifiez que l'alimentation est coupée pour les composants suivants :
Console de commande
Récepteur satellite
Contrôleur de section automatique
Voir le Guide du logiciel du système GeoLink.
Effectuez les procédures suivantes :
Vérifiez la version du logiciel.
Sélectionnez les unités de mesure.
Créez un champ.
Créez un nouveau produit et un nouveau débit d'application.
Créez une tâche de pulvérisation.
Équilibrez les vannes de section.
Contrôlez le système de pulvérisation.
Équilibrez la vanne de dérivation d'agitation.
Étalonnez le débitmètre.
Vérifiez l'état cellulaire.
Étalonnez le compas chez le distributeur.
Effacez la RAM non volatile chez le client.
Étalonnez le compas chez le client.