| Périodicité d'entretien | Procédure d'entretien |
|---|---|
| À chaque utilisation ou une fois par jour |
|
Ce véhicule utilitaire est principalement destiné à un usage hors route pour le transport de personnes et de matériaux. L'utilisation de ce produit à d'autres fins que celle prévue peut être dangereuse pour vous-même et toute personne à proximité.
Lisez attentivement cette notice pour apprendre comment utiliser et entretenir correctement votre produit, et éviter ainsi de l'endommager ou de vous blesser. Vous êtes responsable de l'utilisation sûre et correcte du produit.
Rendez-vous sur www.Toro.com pour tout document de formation à la sécurité et à l'utilisation des produits, pour tout renseignement concernant un produit ou un accessoire, pour obtenir l'adresse des dépositaires ou pour enregistrer votre produit.
Pour obtenir des prestations de service, des pièces Toro d'origine ou des renseignements complémentaires, munissez-vous des numéros de modèle et de série du produit et contactez un dépositaire-réparateur ou le service client Toro agréé. La Figure 1 indique l'emplacement des numéros de modèle et de série du produit. Inscrivez les numéros dans l'espace réservé à cet effet.
Important: Avec votre appareil mobile, vous pouvez scanner le code QR sur l'autocollant du numéro de série (le cas échéant) pour accéder à l'information sur la garantie, les pièces détachées et autres renseignements concernant le produit.

Ce manuel utilise deux termes pour faire passer des renseignements essentiels. Important pour attirer l'attention sur une information d'ordre mécanique spécifique, et Remarque pour souligner une information d'ordre général méritant une attention particulière.
Le symbole de sécurité (Figure 2) apparaît à la fois dans ce manuel et sur la machine pour identifier d'importants messages de sécurité dont il est nécessaire de tenir compte pour éviter les accidents. Ce symbole apparaît avec la mention Danger, Attention ou Prudence.
Danger signale un danger immédiat qui, s'il n'est pas évité, entraînera obligatoirement des blessures graves ou mortelles.
Attention signale un danger potentiel qui, s'il n'est pas évité, risque d'entraîner des blessures graves ou mortelles.
Prudence signale un danger potentiel qui, s'il n'est pas évité, peut éventuellement entraîner des blessures légères ou modérées.

Ce produit est conforme à toutes les directives européennes pertinentes. Pour plus de renseignements, reportez-vous à la Déclaration de conformité spécifique du produit fournie séparément.
Vous commettez une infraction à la section 4442 ou 4443 du Code des ressources publiques de Californie si vous utilisez cette machine dans une zone boisée, broussailleuse ou recouverte d'herbe, à moins d'équiper le moteur d'un pare-étincelles en bon état, tel que défini dans la section 4442, ou à moins que le moteur soit construit, équipé et entretenu correctement pour prévenir les incendies.
Le manuel du propriétaire du moteur ci-joint est fourni à titre informatif concernant la réglementation de l'Agence américaine pour la protection de l'environnement (EPA) et la réglementation antipollution de l'état de Californie relative aux systèmes antipollution, à leur entretien et à leur garantie. Vous pouvez vous en procurer un nouvel exemplaire en vous adressant au constructeur du moteur.
Si cette machine est équipée d’un dispositif télématique, demandez à votre dépositaire Toro agréé comment procéder pour l’activer.
|
Certification de compatibilité électromagnétique |
|
Usage résidentiel : Ce dispositif est conforme à la partie 15 de la réglementation de la FCC. Son utilisation est assujettie aux deux conditions suivantes : (1) Ce dispositif ne doit pas causer de parasites nuisibles et (2) ce dispositif doit accepter tous les parasites, y compris ceux pouvant en perturber le fonctionnement. |
|
ID FCC : OF7RTS24 IC : 3575A-RTS24 |
|
Cet équipement a été testé et déclaré conforme aux limites afférentes à un appareil numérique de classe B, en vertu de la section 15 des règles de la FCC. Ces limites sont conçues pour assurer une protection raisonnable contre les interférences nuisibles dans une installation résidentielle. Cet équipement produit, utilise et peut émettre des fréquences radioélectriques et, s'il n'est pas installé et utilisé conformément aux instructions, peut créer des interférences préjudiciables aux radiocommunications. Toutefois, rien ne garantit l'absence d'interférences dans une installation particulière. Si cet équipement entraîne des interférences préjudiciables à la réception des signaux de radio ou de télévision, identifiable en mettant l’équipement hors tension, puis sous tension, il est recommandé que l’utilisateur tente de résoudre ce problème au moyen d’une ou plusieurs des mesures suivantes :
|
|
Argentine |
![]() |
|
Australie |
![]() |
|
Maroc |
|
|---|---|
|
AGRÉÉ PAR L’ANRT MAROC |
|
|
Numéro d’agrément : |
MR00003613ANRT2024 |
|
Délivrance de l'agrément : |
22/08/2024 |
CALIFORNIE
Proposition 65 - Avertissement
L'état de Californie considère les gaz d'échappement des moteurs diesel et certains de leurs composants comme susceptibles de provoquer des cancers, des malformations congénitales et autres troubles de la reproduction.
Les bornes de la batterie et accessoires connexes contiennent du plomb et des composés de plomb. L'état de Californie considère ces substances chimiques comme susceptibles de provoquer des cancers et des troubles de la reproduction. Lavez-vous les mains après avoir manipulé la batterie.
Ce produit peut vous blesser. Respectez toujours toutes les consignes de sécurité pour éviter des blessures graves.
Vous devez lire et comprendre le contenu de ce Manuel de l'utilisateur avant de démarrer la machine. Assurez-vous que tous les utilisateurs de ce produit en connaissent le maniement et comprennent les mises en garde.
Accordez toute votre attention à l'utilisation de la machine. Ne vous livrez à aucune activité risquant de vous distraire, au risque de causer des dommages corporels ou matériels.
N'approchez pas les mains ou les pieds des composants mobiles de la machine.
N'utilisez pas la machine si tous les capots et autres dispositifs de protection appropriés ne sont pas en place et en bon état de marche.
N'admettez personne, notamment les enfants, dans le périmètre de travail. N'autorisez jamais un enfant à utiliser la machine.
Arrêtez la machine, coupez le moteur et enlevez la clé avant de faire un entretien ou le plein de carburant.
L'usage ou l'entretien incorrect de cette machine
peut occasionner des accidents. Pour réduire les risques d'accidents
et de blessures, respectez les consignes de sécurité
qui suivent. Tenez toujours compte des mises en garde signalées
par le symbole de sécurité (
) et la mention Prudence,
Attention ou Danger. Le non respect de ces instructions peut entraîner
des blessures graves voire mortelles.
![]() |
Des autocollants de sécurité et des instructions bien visibles par l'opérateur sont placés près de tous les endroits potentiellement dangereux. Remplacez tout autocollant endommagé ou manquant. |











Note: Les côtés gauche et droit de la machine sont déterminés d'après la position d'utilisation normale.
Pièces nécessaires pour cette opération:
| Volant | 1 |
| Couvercle | 1 |
| Rondelle (½ po) | 1 |
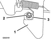
Si le couvre-moyeu est monté, déposez-le du volant (Figure 3).
Retirez le contre-écrou (½ po) de l'arbre de direction (Figure 3).
Glissez le volant et la rondelle (½ po) sur l'arbre de direction (Figure 3).
Fixez le volant sur l'arbre à l'aide d'un contre-écrou (½ po) serré à un couple de 27 à 34 N·m (20 à 25 pi-lb).
Reposez le couvre-moyeu sur le volant (Figure 3).

S'ils sont mal acheminés, les câbles de la batterie peuvent subir des dommages ou endommager la machine et produire des étincelles. Les étincelles risquent de provoquer l'explosion des gaz de la batterie et de vous blesser.
Débranchez toujours le câble négatif (noir) de la batterie avant le câble positif (rouge).
Connectez toujours le câble positif (rouge) de la batterie avant le câble négatif (noir).
Appuyez de chaque côté du couvercle de la batterie pour dégager les pattes de la base de la batterie (Figure 4).

Déposez le couvercle de la base de la batterie (Figure 4).
Branchez le câble positif (rouge) de la batterie à la borne positive (+) de la batterie et fixez-le en place avec les boulons et écrous (Figure 5).

Placez ensuite le capuchon isolant sur la borne positive.
Note: Le capuchon isolant évite d'éventuels courts-circuits à la masse.
Branchez le câble négatif (noir) de la batterie à la borne négative (–) de la batterie, et fixez-le en place avec les boulons et écrous.
Alignez le couvercle de la batterie sur la base de la batterie (Figure 4).
Serrez le couvercle de la batterie, alignez les pattes sur la base de la batterie et dégagez le couvercle de la batterie (Figure 4).
Contrôlez le niveau d'huile moteur avant et après le premier démarrage du moteur; voir Contrôle du niveau d'huile moteur.
Contrôlez le niveau de liquide de frein avant le premier démarrage du moteur; voir Contrôle du niveau de liquide de frein.
Contrôlez le niveau de liquide de la boîte-pont avant le premier démarrage du moteur; voir Contrôle du niveau de liquide de la boîte-pont.
Contrôlez la pression des pneus; voir Contrôle de la pression des pneus.
Pour assurer l'efficacité optimale du système de freinage, rodez les freins avant d'utiliser la machine.
Amenez la machine à la vitesse maximum, appuyez rapidement sur la pédale de frein pour arrêter la machine sans bloquer les roues.
Répétez 10 fois cette procédure, avec 1 minute d'intervalle entre chaque arrêt pour éviter de faire surchauffer les freins.
Important: Cette procédure est particulièrement efficace si la machine transporte une charge de 227 kg (500 lb).
Pièces nécessaires pour cette opération:
| Manuel de l'utilisateur | 1 |
| Manuel du propriétaire du moteur | 1 |
| Fiche d'enregistrement | 1 |
| Fiche de contrôle avant livraison | 1 |
| Certificat de qualité | 1 |
| Clé | 2 |
Lisez le Manuel de l'utilisateur et le manuel du propriétaire du moteur.
Remplissez la fiche d'enregistrement.
Remplissez la Fiche de contrôle avant livraison.
Lisez le Certificat de qualité.

Familiarisez-vous avec toutes les commandes avant de mettre le moteur en marche et d'utiliser la machine.

Utilisez la pédale d'accélérateur (Figure 7) pour varier la vitesse de déplacement de la machine. Appuyez sur la pédale d'accélérateur pour démarrer le moteur. Appuyez davantage sur la pédale pour accroître la vitesse de déplacement. Relâchez la pédale pour ralentir et pour couper le moteur.
Note: La vitesse de pointe en marche avant est 26 km/h (16 mi/h).
Elle permet d'arrêter la machine ou de réduire la vitesse de déplacement (Figure 7).
Un accident est possible si vous utilisez la machine alors que les freins sont usés ou mal réglés.
Si la pédale en bout de course se trouve à moins de 25 mm (1 po) du plancher, réglez ou réparez les freins.
Le levier du frein de stationnement se trouve entre les sièges (Figure 6 et Figure 7). Chaque fois que vous coupez le moteur, serrez le frein de stationnement pour éviter tout déplacement accidentel de la machine. Tirez sur le levier pour serrer le frein de stationnement. Poussez le levier vers le bas pour desserrer le frein de stationnement.
L'inverseur de marche est situé entre les sièges et sous le levier du frein de stationnement. L'inverseur de marche a 3 positions de réglage : MARCHE AVANT, MARCHE ARRIèRE et POINT MORT (Figure 6).
Note: Le moteur démarre et tourne dans les 3 positions.
Important: Arrêtez toujours la machine avant de changer la direction de déplacement.
L'interrupteur de l'avertisseur sonore est situé sur le panneau de commande (Figure 7). Appuyez dessus pour actionner l'avertisseur sonore.
L'interrupteur (Figure 7) permet d'allumer les phares. Appuyez sur le haut de l'interrupteur pour allumer les phares. Appuyez sur le bas de l'interrupteur pour éteindre les phares.
Le compteur horaire indique le nombre total d'heures de fonctionnement de la machine. Le compteur horaire (Figure 7) se déclenche chaque fois que vous tournez la clé à la position CONTACT ou quand le moteur tourne.
Le témoin de la batterie (Figure 7) s'allume pendant quelques secondes au démarrage du moteur et s'éteint lorsque le moteur tourne. Si le témoin reste allumé quand le moteur est en marche, cela signifie que l'alternateur, la batterie ou le système électrique est défectueux.
Le témoin de pression d'huile moteur (Figure 7) s'allume pour signaler que la pression d'huile est descendue au-dessous du niveau admissible. Si le témoin s'allume et reste allumé, coupez le moteur et vérifiez le niveau d'huile moteur. Faites l'appoint d'huile moteur au besoin ; voir Contrôle du niveau, vidange de l'huile moteur et remplacement du filtre à huile.
Note: Le témoin de pression d'huile clignote légèrement parfois ; cela est normal et ne nécessite aucune intervention.
Ce témoin (Figure 7) avertit l'utilisateur que le liquide de refroidissement est trop chaud pour le bon fonctionnement du moteur (surchauffe du moteur). Coupez le moteur et laissez refroidir la machine. Vérifiez le niveau du liquide de refroidissement ainsi que les courroies du ventilateur et de la pompe à eau. Faites l'appoint de liquide de refroidissement au besoin et remplacez les courroies usées, endommagées ou qui patinent.
Important: Si la surchauffe du moteur persiste, faites contrôler et réparer la machine par un dépositaire-réparateur Toro agréé.
Le témoin de préchauffage (Figure 7) s'allume en rouge quand les bougies de préchauffage sont activées.
Important: Le témoin de préchauffage s'allume pendant 15 secondes supplémentaires, quand le commutateur revient à la position DéMARRAGE.
Le commutateur d'allumage (Figure 7) sert à démarrer et arrêter le moteur.
Le commutateur d'allumage a 3 positions : ARRêT, CONTACT et DéMARRAGE. Tournez la clé dans le sens horaire à la position CONTACT pour activer les bougies de préchauffage. Lorsque le témoin de préchauffage s'éteint, tournez la clé dans le sens horaire à la position DéMARRAGE. Lorsque le moteur démarre, tournez la clé dans le sens antihoraire à la position CONTACT.
Pour couper le moteur, tournez la clé dans le sens antihoraire à la position ARRêT.
La prise USB (Figure 7) permet d'alimenter des appareils mobiles.
Important: Lorsque vous n'utilisez pas la prise USB, insérez l'obturateur en caoutchouc pour la protéger d'éventuels dommages.
La jauge de carburant (Figure 8) est située sur le réservoir de carburant, près du bouchon de remplissage, sur le côté gauche de la machine. Elle indique la quantité de carburant dans le réservoir.

Les poignées de maintien sont situées sur le côté droit du tableau planche de bord et à l'extérieur de chaque siège (Figure 9).

Note: Les spécifications et la conception peuvent faire l'objet de modifications sans préavis.
| Poids de base | 590 kg (1 300 lb) à sec |
| Capacité nominale (sur surface plane et horizontale) | 749 kg (1 650 lb) au total, ce qui comprend 90,7 kg (200 lb) pour l'utilisateur et 90,7 kg (200 lb) pour le passager, le chargement, le poids à la flèche de la remorque, le poids brut de la remorque, les accessoires et les équipements. |
| Poids nominal brut du véhicule (PNVB) – sur surface plane et horizontale | 1341 kg (2 950 lb) au total, tous les poids susmentionnés compris |
| Capacité de charge maximale (sur surface plane et horizontale) | 567 kg (1 250 lb) au total, ce qui comprend le poids à la flèche de la remorque et le poids brut de la remorque. |
| Capacité de remorquage : | |
| Attelage standard | Poids à la flèche : 45 kg (100 lb) |
| Poids maximum de la remorque : 363 kg (800 lb) | |
| Attelage renforcé | Poids à la flèche : 45 kg (100 lb) |
| Poids maximum de la remorque : 544 kg (1 200 lb) | |
| Largeur hors tout | 155 cm (61 po) |
| Longueur hors tout | 307 cm (121 po) |
| Garde au sol | 25 cm (10 po) à l'avant, sans charge et sans utilisateur, et 18 cm (7 po) à l'arrière, sans charge et sans utilisateur |
| Empattement | 206 cm (81 po) |
| Voie (entraxe) | 125 cm (49 po) à l'avant et 120 cm (47¼ po) à l'arrière |
| Longueur du plateau de chargement | 113 cm (44,5 po) à l'intérieur, 137 cm (54 po) à l’extérieur |
| Largeur du plateau de chargement | 125 cm (49 po) à l'intérieur et 155 cm (61 po) à l'extérieur des ailes moulées |
| Hauteur du plateau de chargement | 25 cm (10 po) à l'intérieur |
| Vitesse maximale | 26 km/h (16 mi/h) |
| Régime moteur (non réglable) | Ralenti : 1 200 à 1 300 tr/min |
| Ralenti accéléré : 3 420 à 3 520 tr/min |
Une sélection d'outils et accessoires agréés par Toro est disponible pour augmenter et améliorer les capacités de la machine. Pour obtenir la liste de tous les accessoires et outils agréés, contactez votre dépositaire-réparateur ou votre distributeur Toro agréé, ou rendez-vous sur www.Toro.com.
Pour garantir un rendement optimal et conserver la certification de sécurité de la machine, utilisez uniquement des pièces de rechange et accessoires Toro d'origine. Les pièces de rechange et accessoires d'autres constructeurs peuvent être dangereux et leur utilisation risque d'annuler la garantie de la machine.
Note: Les côtés gauche et droit de la machine sont déterminés d'après la position d'utilisation normale.
Ne confiez jamais l'utilisation ou l'entretien de la machine à des enfants ou des personnes qui n'ont pas les compétences nécessaires ou ne sont physiquement aptes. La réglementation locale peut imposer un âge minimum pour les utilisateurs. Le propriétaire de la machine doit assurer la formation de tous les utilisateurs et mécaniciens.
Familiarisez-vous avec le maniement correct du matériel, les commandes et les symboles de sécurité.
Avant de quitter la position d'utilisation, coupez le moteur de la machine, enlevez la clé et attendez l'arrêt complet de tout mouvement. Laissez refroidir la machine avant de la régler, d'en faire l'entretien, de la nettoyer ou de la remiser.
Apprenez à arrêter la machine et à couper le moteur rapidement.
Assurez-vous que le nombre d'occupants (vous et votre ou vos passagers) n'est pas supérieur au nombre de poignées de maintien prévues sur la machine.
Assurez-vous que tous les dispositifs de protection et tous les autocollants sont présents. Réparez ou remplacez tous les dispositifs de sécurité et remplacez tous les autocollants illisibles ou manquants. N'utilisez pas la machine s'ils sont absents et ne fonctionnent pas correctement.
Faites preuve de la plus grande prudence quand vous manipulez du carburant, en raison de son inflammabilité et du risque d'explosion des vapeurs qu'il dégage.
Éteignez cigarettes, cigares, pipes et autres sources d'étincelles.
Utilisez exclusivement un bidon à carburant homologué.
N'enlevez pas le bouchon du réservoir de carburant et n'ajoutez pas de carburant quand le moteur tourne ou est encore chaud.
N'ajoutez pas de carburant et ne vidangez pas le réservoir dans un local fermé.
Ne remisez pas la machine ni les bidons de carburant à proximité d'une flamme nue, d'une source d'étincelles ou d'une veilleuse, telle celle d'un chauffe-eau ou autre appareil.
Si vous renversez du carburant, ne mettez pas le moteur en marche. Évitez toute source possible d'inflammation jusqu'à dissipation complète des vapeurs de carburant.
| Périodicité d'entretien | Procédure d'entretien |
|---|---|
| À chaque utilisation ou une fois par jour |
|
Avant de démarrer la machine chaque jour, effectuez les procédures décrites à la section Liste de contrôle pour l'entretien journalier.
| Périodicité d'entretien | Procédure d'entretien |
|---|---|
| À chaque utilisation ou une fois par jour |
|
Spécifications de gonflage des pneus : 0,55 à 1,03 bar (8 à 22 psi)
Important: Ne dépassez pas la pression de gonflage maximale indiquée sur le flanc des pneus.
Note: La pression de gonflage des pneus est déterminée par la charge que vous avez l'intention de transporter.
Contrôlez la pression des pneus.
Note: Les pneus avant et arrière doivent être gonflés entre 0,55 et 1,03 bar (8 et 22 psi).
Réduisez la pression des pneus pour transporter des charges légères, pour réduire le compactage du sol, pour un plus grand confort de roulement et pour minimiser les traces laissées sur le sol.
Augmentez la pression de gonflage pour transporter de lourdes charges à des vitesses plus élevées.
Si nécessaire, gonflez ou dégonflez les pneus pour obtenir la pression correcte.

Le moteur fonctionne avec du carburant diesel propre et neuf ayant un indice de cétane minimum de 40. Pour garantir la fraîcheur du carburant, n'achetez pas plus que la quantité normalement consommée en 1 mois.
Utilisez du carburant diesel de qualité été (nº 2-D) si la température ambiante est supérieure à -7 °C (20 °F) et du carburant diesel de qualité hiver (nº 1-D ou mélange nº 1-D/2-D) en dessous de cette température. L'usage de carburant de qualité hiver à basses températures réduit le point d'éclair et procure des caractéristiques d'écoulement à froid qui facilitent le démarrage et réduisent le colmatage du filtre à carburant.
L'usage de carburant diesel de qualité été au-dessus de -7 °C (20 °F) contribue à prolonger la vie des composants de la pompe.
Important: N'utilisez jamais de kérosène ou d'essence à la place du carburant diesel sous peine d'endommager le moteur.
Capacité du réservoir de carburant : 26,5 litres (7 gallons américains)
Nettoyez la surface autour du bouchon du réservoir de carburant.
Enlevez le bouchon du réservoir de carburant (Figure 11).

Remplissez le réservoir jusqu'à 2,5 cm (1 po) environ sous la base du goulot de remplissage, puis remettez le bouchon en place.
Note: Ne remplissez pas excessivement le réservoir de carburant.
Revissez fermement le bouchon du réservoir de carburant.
Essuyez le carburant éventuellement répandu.
| Périodicité d'entretien | Procédure d'entretien |
|---|---|
| Après les 100 premières heures de fonctionnement |
|
Appliquez les directives qui suivent pour assurer le fonctionnement correct de la machine.
Veillez à roder les freins; voir Rodage des freins.
Contrôlez régulièrement les niveaux de liquide et d'huile moteur. Restez attentif(ve) aux signes de surchauffe de la machine ou de ses composants.
Si le moteur est froid, laissez-le tourner pendant environ 15 secondes avant d'utiliser la machine.
Note: Prévoyez plus de temps pour le réchauffement du moteur lorsque la température ambiante est basse.
Variez la vitesse de déplacement de la machine pendant l'utilisation. Évitez les démarrages brutaux et les arrêts rapides.
L'utilisation d'une huile moteur spéciale rodage n'est pas nécessaire. L'huile moteur d'origine est du même type que celle qui est spécifiée pour les entretiens courants.
Voir les contrôles spéciaux à effectuer pendant le rodage à la section .
Contrôlez la suspension avant et réglez sa position si nécessaire; voir Réglage de la géométrie des roues avant.
Le propriétaire/l'utilisateur est responsable des accidents pouvant entraîner des dommages corporels et matériels et peut les prévenir.
Les passagers ne doivent s'asseoir qu'aux emplacements désignés. Ne transportez pas de passagers sur le plateau de chargement. N'admettez personne, notamment les enfants, dans le périmètre de travail.
Portez une tenue adéquate, y compris une protection oculaire, un pantalon, des chaussures solides à semelle antidérapante et des protecteurs d'oreilles. Attachez les cheveux longs et ne portez pas de bijoux ni de vêtements amples.
Accordez toute votre attention à l'utilisation de la machine. Ne vous livrez à aucune activité risquant de vous distraire, au risque de causer des dommages corporels ou matériels.
N'utilisez pas la machine si vous êtes malade ou fatigué(e), ni sous l'emprise de l'alcool, de drogues ou de médicaments.
Utilisez la machine uniquement à l'extérieur ou dans un lieu bien ventilé.
Ne dépassez pas le poids brut (PBV) maximum de la machine.
Si le plateau transporte une lourde charge, redoublez de prudence en roulant, lorsque vous freinez ou changez de direction.
Le transport de charges surdimensionnées sur le plateau réduit la stabilité de la machine. Ne dépassez pas la capacité de transport du plateau de chargement.
Le transport d'une charge qui ne peut pas être arrimée sur le plateau peut affecter la direction, le freinage et la stabilité de la machine. Lorsque vous transportez une charge qui ne peut pas être arrimée sur la machine, changez de direction et freinez avec prudence.
Ralentissez et allégez la charge transportée sur les terrains accidenté et inégaux, ainsi que près de bordures, trous et autres accidents de terrain. Le chargement peut se déplacer et rendre la machine instable.
Avant de mettre la machine en marche, assurez-vous que la transmission est au point mort, que le frein de stationnement est serré et que vous êtes au poste d'utilisation.
Vous et vos passagers devez rester assis pendant le déplacement de la machine. Gardez les mains sur le volant; les passagers doivent se tenir aux poignées de maintien prévues à cet effet. Gardez toujours les bras et les jambes à l'intérieur de la machine.
Utilisez la machine uniquement quand la visibilité est bonne. Méfiez-vous des trous, ornières, bosses, rochers ou autres obstacles cachés. Les irrégularités du terrain peuvent provoquer le retournement de la machine. L'herbe haute peut masquer les accidents du terrain. Faites preuve de prudence à l'approche de tournants sans visibilité, de buissons, d'arbres ou d'autres objets susceptibles de gêner la vue.
Ne conduisez pas la machine près de fortes dénivellations, de fossés ou de berges. La machine pourrait se retourner brusquement si une roue passe par-dessus une dénivellation quelconque et se retrouve dans le vide, ou si un bord s'effondre.
Méfiez-vous des obstacles en surplomb, tels que branches d'arbres, jambages de portes, passerelles, etc.
Avant de faire marche arrière, vérifiez que la voie est libre juste derrière la machine et sur sa trajectoire.
Lorsque vous utilisez la machine sur la voie publique, respectez le code de la route et utilisez les accessoires supplémentaires éventuellement exigés par la loi, tels éclairages, clignotants, panneau « véhicule lent » (SMV) et autres.
Si la machine vibre de façon anormale, arrêtez-la immédiatement, coupez le moteur, attendez l'arrêt complet de tout mouvement et recherchez d'éventuels dommages. Réparez tout dommage de la machine avant de recommencer à travailler.
L'arrêt de la machine peut demander plus de temps sur les surfaces mouillées que sur les surfaces sèches. Pour sécher les freins par temps de pluie, conduisez lentement sur une surface plane en appuyant légèrement sur la pédale de frein.
Si vous conduisez la machine à grande vitesse et que vous freinez brusquement, les roues arrière peuvent se bloquer et vous risquez alors de perdre le contrôle de la machine.
Ne touchez pas le moteur, la transmission, le silencieux ou le collecteur du silencieux pendant que le moteur tourne ou juste après son arrêt au risque de vous brûler.
Ne laissez pas la machine en marche sans surveillance.
Avant de quitter la position d'utilisation :
Garez la machine sur une surface plane et horizontale.
Sélectionnez le POINT MORT de la transmission.
Serrez le frein de stationnement.
Coupez le moteur de la machine et enlevez la clé.
Attendez l'arrêt complet de tout mouvement.
N'utilisez pas la machine si la foudre menace.
Utilisez uniquement des accessoires et équipements agréés par The Toro® Company.
Note: Un système de protection antiretournement (ROPS) à 2 montants est un accessoire disponible pour cette machine. Utilisez un système ROPS si vous tondez près de fortes dénivellations, d'étendues d'eau, sur un terrain accidenté ou sur une pente qui pourrait entraîner le retournement de la machine. Pour plus de renseignements, contactez un distributeur Toro agréé.
Les pentes augmentent significativement les risques de perte de contrôle et de basculement de la machine pouvant entraîner des accidents graves, voire mortels.
Examinez le site avec attention pour identifier les pentes permettant d'utiliser la machine sans risque, et établissez vos propres procédures et règles de travail à appliquer sur les pentes en question. Faites toujours preuve de bon sens et de discernement quand vous réalisez cette étude.
N'utilisez pas la machine sur une pente si vous ne vous sentez pas à l'aise.
Déplacez-vous à vitesse réduite et progressivement sur les pentes. Ne changez pas brusquement de vitesse ou de direction.
Évitez d'utiliser la machine sur les terrains humides. Les pneus pourraient perdre en adhérence. La machine peut se retourner avant que les pneus perdent de l'adhérence.
Montez et descendez toujours les pentes en ligne droite.
Si la machine commence à perdre de la puissance pendant la montée d'une pente, freinez progressivement et redescendez lentement la pente en ligne droite et en marche arrière.
Il est dangereux de faire demi-tour en montant ou descendant une pente. Si vous devez tourner sur une pente, faites-le lentement et avec prudence.
Les lourdes charges compromettent la stabilité de la machine sur les pentes. Allégez la charge transportée et ralentissez sur les pentes ou si le centre de gravité de la charge est très élevé. Arrimez solidement la charge sur le plateau de chargement de la machine pour l'empêcher de se déplacer. Redoublez de prudence lorsque vous transportez des charges qui se déplacent facilement (liquide, pierres, sable, etc.).
Évitez de démarrer, de vous arrêter ou de tourner sur les pentes, surtout quand vous transportez une charge. Il faut plus longtemps à la machine pour s'arrêter sur une pente que sur une surface horizontale. Si vous devez arrêter la machine, évitez les variations de vitesse soudaines qui pourraient la faire se renverser ou se retourner. Ne freinez pas brutalement en marche arrière, car la machine pourrait se retourner.
Ne dépassez pas le poids nominal brut (PNBV) de la machine lorsque le plateau est chargé et/ou lorsque vous tractez une remorque; voir Caractéristiques techniques.
Répartissez la charge uniformément sur le plateau pour améliorer la stabilité et le contrôle de la machine.
Avant de décharger le plateau, vérifiez que personne ne se trouve derrière la machine.
Ne déchargez pas le plateau quand la machine est garée transversalement sur une pente. La modification de la répartition de la charge peut causer le retournement de la machine.
Le plateau levé peut retomber et blesser toute personne qui travaille dessous.
Calez toujours le plateau avec la béquille avant de travailler dessous.
Déchargez le plateau avant de le lever.
Ne conduisez pas la machine en laissant le plateau de chargement levé, car elle pourrait se renverser ou se retourner facilement. Vous risquez d'endommager la structure du plateau de chargement si vous conduisez la machine en le laissant levé.
Conduisez la machine avec le plateau de chargement baissé.
Baissez le plateau de chargement après l'avoir déchargé.
Si une charge est concentrée à l'arrière du plateau de chargement, celui-ci peut basculer brusquement lorsque vous le déverrouillez, et vous blesser ou blesser d'autres personnes.
Centrez les charges sur le plateau si possible.
Maintenez le plateau de chargement baissé et assurez-vous que personne n'est penché dessus ou ne se tient juste derrière lorsque vous le déverrouillez.
Déchargez complètement le plateau avant de le lever pour effectuer l'entretien de la machine.
Le plateau de chargement peut être lourd. Il peut écraser les mains ou d'autres parties du corps.
N'approchez pas les mains ni aucune autre partie du corps du plateau de chargement pendant qu'il s'abaisse.
Assurez-vous que le plateau est baissé et verrouillé.
Passez les doigts dans les poignées du hayon pour le soulever (Figure 14).

Alignez les bords de verrouillage du hayon sur les ouvertures entre les bords de verrouillage du plateau de chargement (Figure 14).
Faites pivoter le hayon vers l'arrière et le bas (Figure 14).
Après avoir déchargé des matériaux en vrac (sable, pierres pour aménagement paysager ou copeaux de bois) du plateau, une petite partie peut rester coincée au niveau des charnières du hayon. Avant de refermer le hayon, procédez comme suit :
Enlevez à la main autant des débris logés dans les charnières que possible.
Inclinez le hayon à environ 45° (Figure 15).

Agitez légèrement le hayon pour le faire pivoter d'avant en arrière plusieurs fois (Figure 15).
Note: Cela facilite l'élimination des débris présents aux niveau des charnières.
Baissez le hayon et vérifiez qu'il ne reste aucun débris au niveau des charnières.
Répétez les opérations 1 à 4 jusqu'à ce qu'il ne reste plus de débris dans les charnières.
Faites pivoter le hayon vers le haut et l'avant jusqu'à ce que les bords de verrouillage soient au niveau du creux dans le plateau de chargement (Figure 14).
Note: Levez ou baissez le hayon pour aligner les bords de verrouillage sur les ouvertures verticales entre les bords du plateau de chargement prévus pour recevoir les bords du hayon.
Baissez le hayon jusqu'à ce qu'il soit engagé à l'arrière du plateau de chargement (Figure 14).
Note: Les bords de verrouillage du hayon sont parfaitement fixés par les bords du plateau de chargement.
Important: Ne poussez pas ou ne remorquez pas la machine pour la faire démarrer.
Asseyez-vous sur le siège du conducteur, insérez la clé dans le commutateur d’allumage, enfoncez la pédale de frein et tournez la clé dans le sens horaire à la position CONTACT.
Note: Si l'alarme de marche arrière est présente et que la MARCHE ARRIèRE est sélectionnée, l'alarme se déclenche pour prévenir l'utilisateur.
Lorsque le témoin de préchauffage s'éteint, tournez la clé dans le sens horaire à la position DéMARRAGE.
Lorsque le moteur démarre, tournez la clé dans le sens antihoraire à la position CONTACT.
Desserrez le frein de stationnement.
Important: Lorsque vous vous arrêtez sur un plan incliné, utilisez les freins de service pour arrêter la machine et le frein de stationnement pour l'immobiliser. Vous risquez d'endommager la machine si vous utilisez l'accélérateur pour la caler sur une pente.
Enlevez le pied de la pédale d'accélérateur.
Enfoncez lentement la pédale de frein pour serrer les freins de service jusqu'à ce que la machine s'immobilise complètement.
Note: La distance d'arrêt peut varier selon la charge et la vitesse de la machine.
Garez la machine sur une surface plane et horizontale.
Serrez le frein de stationnement.
Tournez la clé à la position ARRêT et enlevez-la.
Respectez les consignes suivantes pour charger le plateau et utiliser la machine :
Respectez la capacité de charge de la machine et limitez le poids de la charge transportée sur le plateau comme décrit à la section Caractéristiques techniques, et comme indiqué sur l'étiquette du poids nominal brut de la machine.
Note: La charge nominale spécifiée n'est valable que si la machine est utilisée sur une surface plane.
Allégez la charge transportée sur le plateau de chargement lorsque vous utilisez la machine sur un terrain en pente ou accidenté.
Allégez la charge transportée sur le plateau si elle est haute (et que son centre de gravité est élevé), par exemple un tas de briques, des éléments en bois pour aménagements paysagers ou des sacs d'engrais. Répartissez la charge aussi bas que possible pour qu'elle ne réduise pas la visibilité derrière la machine pendant l'utilisation.
Maintenez les charges au centre du plateau en procédant comme suit :
Répartissez la charge uniformément d'un côté à l'autre du plateau de chargement.
Important: La charge est plus susceptible de basculer si elle est rassemblée d'un seul côté sur le plateau.
Répartissez la charge uniformément de l'avant à l'arrière du plateau.
Important: Vous risquez de perdre le contrôle de la direction ou la machine risque de basculer si vous placez la charge derrière l'essieu arrière car l'adhérence des roues avant sera alors réduite.
Redoublez de prudence lorsque vous transportez des charges surdimensionnées sur le plateau de chargement, surtout s'il est impossible de centrer le poids de la charge.
Dans la mesure du possible, arrimez la charge sur le plateau pour l'empêcher de bouger.
Lorsque vous transportez du liquide, faites preuve de prudence quand vous montez ou descendez une pente, quand vous changez de vitesse ou que vous arrêtez la machine soudainement, ou quand vous traversez des surfaces accidentées.
Le plateau de chargement a une capacité de charge de 0,37 m3 (13 pi3). La quantité (le volume) de matériau que le plateau peut transporter sans dépasser les charges nominales de la machine peut varier largement suivant la densité du matériau en question.
Les volumes de charge maximum pour divers matériaux sont indiqués dans le tableau suivant :
| Matériau | Densité | Capacité de charge maximale du plateau(sur surface horizontale) |
| Gravier, sec | 1522 kg/m3 (95 lb/pi3) | Niveau maximum |
| Gravier, humide | 1922 kg/m3 (120 lb/pi3) | 3/4 plein |
| Sable, sec | 1442 kg/m3 (90 lb/pi3) | Niveau maximum |
| Sable, humide | 1922 kg/m3 (120 lb/pi3) | 3/4 plein |
| Bois | 721 kg/m3 (45 lb/pi3) | Niveau maximum |
| Écorce | <721 kg/m3 (<45 lb/pi3) | Niveau maximum |
| Terre, compacte | 1602 kg/m3 (100 lb/pi3) | 3/4 plein (approximativement) |
Avant de quitter la position d'utilisation :
Garez la machine sur une surface plane et horizontale.
Sélectionnez le POINT MORT de la transmission.
Serrez le frein de stationnement.
Coupez le moteur de la machine et enlevez la clé.
Attendez l'arrêt complet de tout mouvement.
Laissez refroidir la machine avant de la régler, d'en faire l'entretien, de la nettoyer ou de la remiser.
Ne remisez pas la machine à proximité d'une flamme nue, d'une source d'étincelles ou d'une veilleuse, telle celle d'un chauffe-eau ou autre appareil.
Maintenez toutes les pièces de la machine en bon état de marche et toutes les fixations bien serrées.
Faites l'entretien de la ou des ceintures de sécurité et nettoyez-les au besoin.
Remplacez tous les autocollants usés, endommagés ou manquants.
Procédez avec prudence pour charger la machine sur une remorque ou un camion, ainsi que pour la décharger.
Utilisez des rampes d'une seule pièce pour charger la machine sur une remorque ou un camion.
Arrimez solidement la machine.
L'emplacement des points d'arrimage sur la machine est indiqué à la Figure 16 et la Figure 17.
Note: Chargez la machine sur la remorque en dirigeant l'avant vers l'avant de la remorque. Si cela s'avère impossible, fixez le capot de la machine au cadre avec une sangle, ou déposez le capot et fixez-le et transportez-le séparément, car il pourrait s'envoler pendant le transport.


En cas d'urgence, vous pouvez remorquer la machine sur une courte distance; toutefois cette procédure ne doit pas être employée de manière habituelle.
Le remorquage à des vitesses excessives peut entraîner la perte du contrôle de la direction et provoquer des accidents.
Ne remorquez jamais la machine à plus de 8 km/h (5 mi/h).
Le remorquage de la machine nécessite l'intervention de 2 personnes. Si vous devez déplacer la machine sur une longue distance, faites-la transporter par camion ou chargez-la sur une remorque; voir Tracter une remorque
Retirez la courroie d'entraînement de la machine; voir Remplacement de la courroie d'entraînement.
Attachez un câble de remorquage à la flèche d'attelage à l'avant du cadre de la machine (Figure 16).
Placez la transmission au POINT MORT et desserrez le frein de stationnement.
La machine peut tracter des remorques. Une barre de remorquage est disponible pour la machine. Contactez votre dépositaire-réparateur agréé pour plus de détails.
Lorsque vous transportez une charge ou tractez une remorque, ne surchargez pas la machine ou la remorque. La surcharge de la machine ou de la remorque peut réduire les performances ou endommager les freins, l'essieu, le moteur, la boîte-pont, la direction, la suspension, la structure de la caisse ou les pneus.
Lorsque vous chargez la remorque, placez toujours 60 % de la charge à l'avant. Cela place environ 10 % du poids brut de la remorque (PBR) sur la flèche d'attelage de la machine.
Pour assurer un freinage et une motricité adéquats, chargez toujours le plateau quand vous tractez une remorque. Ne dépassez pas le PBR ou PBV maximum.
Évitez de garer la machine attelée d'une remorque sur une pente. S'il est impossible de faire autrement, serrez le frein de stationnement et calez les roues de la remorque.
Ne confiez pas l'entretien de la machine à des personnes non qualifiées.
Avant de quitter la position d'utilisation :
Garez la machine sur une surface plane et horizontale.
Sélectionnez le POINT MORT de la transmission.
Serrez le frein de stationnement.
Coupez le moteur de la machine et enlevez la clé.
Attendez l'arrêt complet de tout mouvement.
Laissez refroidir la machine avant de la régler, d'en faire l'entretien, de la nettoyer ou de la remiser.
Soutenez la machine avec des chandelles chaque fois que vous devez travailler dessous.
Ne travaillez pas sous le plateau levé sans mettre la béquille de sécurité en place.
Ne chargez pas les batteries pendant l'entretien de la machine
Vérifiez l'état de la machine dans son ensemble et maintenez toutes les fixations serrées au couple prescrit.
Pour réduire les risques d'incendie, débarrassez la machine de tout excès de graisse, débris d'herbe, feuilles et saletés.
Si possible, n'effectuez aucun entretien pendant que le moteur tourne. Ne vous approchez pas des pièces mobiles.
Si le moteur de la machine doit tourner pour effectuer un réglage, n'approchez pas les mains, les pieds et autres parties du corps, ou les vêtements du moteur et des pièces mobiles. N'autorisez personne à s'approcher de la machine.
Nettoyez les coulées éventuelles d'huile ou de carburant.
Contrôlez le fonctionnement du frein de stationnement comme recommandé dans le programme d'entretien, et réglez-le ou révisez-le selon les besoins.
Maintenez toutes les pièces de la machine en bon état de marche et toutes les fixations serrées au couple correct. Remplacez tous les autocollants usés ou endommagés.
Ne cherchez jamais à modifier la fonction prévue d'un dispositif de sécurité ni à réduire la protection qu'il assure.
Ne faites pas tourner le moteur à une vitesse excessive en modifiant le réglage du régulateur. Pour garantir la sécurité et la précision du fonctionnement, demandez à un dépositaire-réparateur agréé de contrôler le régime moteur maximum avec un compte-tours.
Si la machine nécessite une réparation importante ou si vous avez besoin de renseignements, adressez-vous à un distributeur Toro agréé.
Toute modification de la machine susceptible d'en altérer le fonctionnement, les performances, la durabilité ou l'utilisation peut entraîner des blessures parfois mortelles. Une telle utilisation risque d'annuler la garantie produit offerte par The Toro® Company.
| Périodicité d'entretien | Procédure d'entretien |
|---|---|
| Après les 8 premières heures de fonctionnement |
|
| Après les 50 premières heures de fonctionnement |
|
| Après les 100 premières heures de fonctionnement |
|
| À chaque utilisation ou une fois par jour |
|
| Toutes les 100 heures |
|
| Toutes les 150 heures |
|
| Toutes les 200 heures |
|
| Toutes les 300 heures |
|
| Toutes les 400 heures |
|
| Toutes les 600 heures |
|
| Toutes les 800 heures |
|
| Toutes les 1000 heures |
|
Note: Téléchargez gratuitement un exemplaire du schéma électrique recherché en vous rendant sur www.Toro.com et en cherchant votre machine sous le lien Manuels sur la page d'accueil.
Important: Reportez-vous au manuel du propriétaire du moteur pour toutes procédures d'entretien supplémentaires.
Un mauvais entretien de la machine peut entraîner la défaillance prématurée des divers systèmes et vous blesser ou blesser toute personne à proximité.
Maintenez la machine bien entretenue et en bon état de marche, conformément aux instructions du présent manuel.
Ne confiez l'entretien, les réparations, les réglages et les contrôles de la machine qu'à du personnel qualifié et autorisé.
Évitez les risques d'incendie et prévoyez du matériel de sécurité incendie dans la zone de travail. Ne vérifiez pas les niveaux de liquides, les fuites de carburant, d'électrolyte ou de liquide de refroidissement à l'aide d'une flamme nue.
N'utilisez pas de récipients ouverts contenant du carburant ou des solvants inflammables pour nettoyer les pièces.
Si vous laissez la clé dans le commutateur d'allumage, quelqu'un pourrait mettre le moteur en marche accidentellement et vous blesser gravement, ainsi que toute personne à proximité.
Coupez le moteur et enlevez la clé du commutateur d'allumage avant d'effectuer un entretien.
Copiez cette page pour pouvoir vous en servir régulièrement.
| Entretiens à effectuer | Pour la semaine du : | ||||||
|---|---|---|---|---|---|---|---|
| Lundi | Mardi | Mercredi | Jeudi | Vendredi | Samedi | Dimanche | |
| Contrôlez le fonctionnement du frein et du frein de stationnement. | |||||||
| Contrôlez le fonctionnement de l'inverseur de marche/du point mort. | |||||||
| Contrôlez le niveau de carburant. | |||||||
| Contrôlez le niveau d'huile moteur. | |||||||
| Contrôlez le niveau de liquide de frein. | |||||||
| Contrôlez le niveau de liquide de la boîte-pont. | |||||||
| Examinez le filtre à air. | |||||||
| Examinez les ailettes de refroidissement du moteur. | |||||||
| Vérifiez les bruits anormaux en provenance du moteur. | |||||||
| Vérifiez les bruits de fonctionnement anormaux. | |||||||
| Contrôlez la pression des pneus. | |||||||
| Recherchez les fuites éventuelles. | |||||||
| Vérifiez le fonctionnement des instruments. | |||||||
| Vérifiez le fonctionnement de l'accélérateur. | |||||||
| Lavez la machine. | |||||||
| Retouchez les peintures endommagées. | |||||||
Important: Doublez la fréquence des entretiens si vous utilisez la machine dans les conditions suivantes :
Utilisation dans le désert
Utilisation sous climat froid – en dessous de 10 °C (50 °F)
Traction d'une remorque
Utilisation fréquente dans une atmosphère poussiéreuse
Travaux de construction
Après une utilisation prolongée dans la boue, le sable, l'eau ou autres environnements sales, effectuez les opérations suivantes :
Faites vérifier et nettoyer vos freins dès que possible. Cela évite que des particules abrasives causent une usure excessive.
Lavez la machine avec de l'eau pure ou additionnée de détergent doux.
Important: Ne nettoyez pas la machine avec de l'eau saumâtre ou recyclée.
Beaucoup des sujets abordés dans cette section consacrée à l'entretien nécessitent de lever et de baisser le plateau. Pour prévenir les blessures graves ou les accidents mortels, prenez les précautions suivantes.
Garez la machine sur une surface plane et horizontale.
Sélectionnez le POINT MORT de la transmission.
Serrez le frein de stationnement.
Coupez le moteur et enlevez la clé.
Videz et levez le plateau de chargement.
La machine peut être instable si elle soutenue par un cric. Elle pourrait glisser duc cric et blesser la personne qui se trouve dessous.
Ne mettez pas la machine en marche lorsqu'elle est en appui sur un cric.
Retirez toujours la clé du commutateur avant de descendre de la machine.
Calez les roues lorsque la machine est soutenue par un équipement de levage.
Soutenez la machine avec des chandelles après l'avoir levée.
Important: Si le moteur de la machine doit tourner à des fins d'entretien et/ou de diagnostic, placez des chandelles sous l'essieu arrière afin de soulever les roues arrière à 25 mm (1 po) au-dessus du sol.
Le point de levage avant de la machine est situé à l'avant du cadre, derrière la flèche d'attelage (Figure 18).

Le point de levage arrière de la machine est situé sous les tubes d'essieu (Figure 19).

Soulevez la poignée des loquets en caoutchouc de chaque côté du capot (Figure 20).

Ouvrez le capot.
Baissez le capot avec précaution.
Fixez le capot en place en alignant les loquets en caoutchouc sur les ancrages de verrouillage de chaque côté du capot (Figure 20).
| Périodicité d'entretien | Procédure d'entretien |
|---|---|
| Toutes les 300 heures |
|
Spécifications de la graisse : Mobilgrease XHP™-222
Soulevez l'avant de la machine et soutenez-le avec des chandelles.
Retirez les 4 écrous qui fixent la roue sur le moyeu (Figure 21).

Retirez les boulons à embase (â…œ x ¾ po) qui fixent le support du frein à la fusée et séparez le frein de la fusée (Figure 22).
Note: Soutenez le frein avant de passer à l'opération suivante.

Déposez le couvre-moyeu du moyeu (Figure 23).

Retirez la goupille fendue et l'arrêt d'écrou de la fusée et de son écrou (Figure 23).
Retirez l'écrou de la fusée et déposez l'ensemble moyeu et disque de la fusée (Figure 23 et Figure 24).

Essuyez la fusée avec un chiffon.
Répétez les opérations 1 à 7 pour le moyeu et le disque de l'autre côté de la machine.
Déposez le roulement extérieur et la bague de roulement du moyeu (Figure 25).

Déposez le joint et le roulement intérieur du moyeu (Figure 25).
Essuyez le joint et vérifiez s'il est usé ou endommagé.
Note: Ne nettoyez pas le joint avec un solvant de nettoyage. Remplacez le joint s'il est usé ou endommagé.
Nettoyez les roulements et les bagues, et vérifiez s'ils sont usés ou endommagés.
Note: Remplacez toutes les pièces usées ou endommagées. Vérifiez que les roulements et les bagues sont propres et secs.
Éliminez la graisse, la saleté et les débris à l'intérieur de la cavité du moyeu (Figure 25).
Garnissez les roulements avec la graisse spécifiée.
Remplissez 50 à 80 % de la cavité du moyeu avec la graisse spécifiée (Figure 25).
Montez le roulement intérieur sur la bague, sur le côté intérieur du moyeu, puis posez le joint (Figure 25).
Répétez les opérations 1 à 8 pour les roulements de l'autre moyeu.
Appliquez une fine couche de la graisse spécifiée sur la fusée (Figure 26).

Montez le moyeu et le disque sur la fusée, en plaçant le disque à l'intérieur (Figure 26).
Montez le roulement extérieur sur la fusée et poussez-le contre la bague extérieure (Figure 26).
Placez la rondelle à languette sur la fusée (Figure 26).
Vissez l'écrou de fusée sur la fusée et serrez-le à 15 N·m (11 pi-lb) tout en tournant le moyeu pour asseoir le roulement (Figure 26).
Serrez l'écrou de fusée jusqu'à ce que le moyeu tourne librement.
Serrez l'écrou de fusée à un couple de 1,70 à 2,25 N·m (15 à 20 po-lb).
Placez l'arrêt d'écrou sur l'écrou et vérifiez que la fente dans l'arrêt et le trou dans la fusée sont alignés afin de pouvoir insérer la goupille fendue (Figure 27).
Note: Si la fente dans l'arrêt d'écrou et le trou dans la fusée ne sont pas alignés, alignez-les en serrant l'écrou de fusée à 2,26 N·m (20 po-lb) maximum.

Insérez la goupille fendue et repliez chacune de ses pattes autour de l'arrêt d'écrou (Figure 27).
Reposez le couvre-moyeu sur le moyeu (Figure 27).
Répétez les opérations 1 à 10 pour le moyeu et le disque de l'autre côté de la machine.
Nettoyez les 2 boulons à embase (â…œ x ¾ po) et appliquez une couche de frein-filet moyenne résistance sur le filetage des boulons.
Placez les plaquettes de frein de chaque côté du disque (Figure 22), puis alignez les trous du support d'étrier et les trous du support de frein sur le porte-fusée (Figure 26).
Fixez le support d'étrier au porte-fusée (Figure 22) à l'aide des 2 boulons à embase (â…œ x ¾ po).
Serrez les 2 boulons à embase à un couple de 47 à 54 N·m (35 à 40 pi-lb).
Alignez les trous de la roue et les goujons du moyeu, puis montez la roue sur le moyeu en plaçant la valve à l'extérieur (Figure 21).
Note: Vérifiez que la surface de montage de la roue affleure le moyeu.
Fixez la roue au moyeu avec les écrous de roue (Figure 21).
Serrez les écrous de roues à un couple de 108 à 122 N·m (80 à 90 pi-lb).
Répétez les opérations 1 à 5 pour le frein et la roue de l'autre côté de la machine.
Avant de vérifier le niveau d'huile ou de faire l'appoint d'huile dans le carter, coupez le moteur, enlevez la clé et attendez l'arrêt complet de toutes les pièces mobiles.
Gardez les mains, les pieds, le visage et toute autre partie du corps ainsi que les vêtements à l'écart du silencieux et autres surfaces brûlantes.
| Périodicité d'entretien | Procédure d'entretien |
|---|---|
| Toutes les 100 heures |
|
Note: Nettoyez le filtre à air plus fréquemment si vous travaillez dans des conditions très poussiéreuses ou sableuses.
Levez le plateau de chargement et bloquez-le en position avec la béquille.
Vérifiez si le boîtier du filtre à air présente des dommages susceptibles d'occasionner des fuites d'air (Figure 28).
Note: Assurez-vous que le couvercle est parfaitement ajusté sur le boîtier du filtre à air.
Note: Remplacez le couvercle ou le boîtier du filtre à air s'il est endommagé.

Tirez le dispositif de verrouillage vers l'extérieur et tournez le couvercle du filtre à air dans le sens antihoraire (Figure 28).
Déposez le couvercle du boîtier du filtre à air.
Sortez l'élément filtrant du boîtier du filtre à air (Figure 28) avec précaution pour ne pas déloger trop de poussière.
Note: Évitez de cogner l'élément contre le boîtier du filtre à air.
Examinez l'élément filtrant.
Si l'élément filtrant est propre, remettez-le en place.
Si l'élément filtrant est endommagé, remplacez-le ; voir Remplacement du filtre à air.
Remplacez l'élément filtrant.
Vérifiez que l'élément de rechange n'a pas été endommagé pendant le transport.
Note: Vérifiez l'extrémité étanche du filtre.
Important: N'installez pas l'élément s'il est endommagé.
Posez l'élément filtrant neuf; voir Montage du filtre à air.
Important: Pour ne pas endommager le moteur, ne le faites jamais tourner sans un filtre à air complet.
Note: N'utilisez pas l'élément filtrant s'il est endommagé.
Note: Il est déconseillé de nettoyer un élément filtrant usagé, car cela risque d'endommager le matériau dont il est constitué.
Nettoyez l'orifice d'éjection des impuretés situé sur le couvercle du filtre à air (Figure 28).
Retirez la valve de sortie en caoutchouc du couvercle, nettoyez la cavité et remettez la valve en place (Figure 28).
Insérez l'élément filtrant dans le boîtier du filtre à air en appuyant sur le bord extérieur de l'élément pour l'engager parfaitement dans le boîtier (Figure 28).
Note: Vérifiez que l'élément filtrant est bien étanche en appuyant sur son bord extérieur lors de la pose. N'appuyez pas sur la partie centrale souple du filtre.
Alignez le couvercle du filtre à air sur le boîtier en orientant la valve de sortie en caoutchouc vers le bas, à peu près entre les positions 5 heures et 7 heures vu de l'extrémité, comme montré à la Figure 28.
Fixez le couvercle au boîtier avec les attaches (Figure 28).
Baissez le plateau de chargement.
Note: Vidangez l'huile plus souvent si vous travaillez dans des conditions très poussiéreuses ou sableuses.
Note: Débarrassez-vous de l'huile moteur et du filtre à huile usagés dans un centre de recyclage agréé.
Type d'huile : huile détergente (classe de service API CH-4, CI-4, CJ-4 ou mieux)
Capacité du carter : 1,4 L (1,5 pte américaine) avec filtre neuf
Viscosité : voir le tableau ci-dessous.

| Périodicité d'entretien | Procédure d'entretien |
|---|---|
| À chaque utilisation ou une fois par jour |
|
Garez la machine sur une surface plane et horizontale.
Serrez le frein de stationnement.
Coupez le moteur et enlevez la clé.
Levez le plateau de chargement.
Avec un chiffon, nettoyez la surface autour de la jauge d'huile (Figure 30) pour éviter de faire tomber des impuretés dans le tube de la jauge ou le goulot de remplissage et d'endommager le moteur.

Retirez la jauge d'huile et essuyez-la soigneusement.
Insérez la jauge tout au fond du tube (Figure 30).
Ressortez la jauge et examinez l'extrémité.
Note: Versez l'huile lentement et vérifiez souvent le niveau durant la procédure. Ne remplissez pas excessivement le carter moteur.
Réinsérez la jauge d'huile au fond du tube de remplissage (Figure 30).
Baissez le plateau de chargement.
| Périodicité d'entretien | Procédure d'entretien |
|---|---|
| Après les 50 premières heures de fonctionnement |
|
| Toutes les 150 heures |
|
Garez la machine sur une surface plane et horizontale.
Serrez le frein de stationnement.
Démarrez le moteur et laissez-le tourner quelques minutes.
Coupez le moteur et enlevez la clé de contact.
Levez le plateau de chargement et bloquez-le en position avec la béquille.
Débranchez le câble négatif de la batterie ; voir Débranchement de la batterie.
Placez un bac de vidange sous le bouchon de vidange (Figure 31).

Enlevez le bouchon de vidange (Figure 31).
Note: Vidangez toute l'huile moteur.
Remettez le bouchon de vidange et le joint (Figure 31) en place, et serrez le bouchon à un couple de 45 à 53 N·m (33 à 39 pi-lb).
Versez de l'huile dans l'orifice de remplissage jusqu'à ce que le niveau atteigne le repère maximum sur la jauge.
Versez l'huile lentement et vérifiez souvent le niveau durant la procédure.
Note: Ne remplissez pas excessivement le carter moteur.
Remettez fermement en place le bouchon de remplissage et la jauge.
Rebranchez la batterie et abaissez le plateau de chargement.
| Périodicité d'entretien | Procédure d'entretien |
|---|---|
| Après les 50 premières heures de fonctionnement |
|
| Toutes les 150 heures |
|
Vidangez l'huile moteur.
Retirez le filtre à huile existant (Figure 31).
Appliquez une fine couche d'huile propre sur le joint du filtre de rechange.
Vissez le filtre neuf sur l'adaptateur jusqu'à ce que le joint touche la plaque de montage, puis serrez-le encore de 1/2 à 3/4 de tour (Figure 31).
Important: Ne serrez pas le filtre à huile excessivement.
Remplissez le carter moteur de l'huile spécifiée (Figure 29).
Démarrez et faites tourner le moteur pour rechercher d'éventuelles fuites d'huile.
Coupez le moteur et vérifiez le niveau d'huile moteur.
Note: Au besoin, faites l'appoint d'huile spécifiée dans le carter moteur pour faire monter le niveau au repère maximum sur la jauge.
| Périodicité d'entretien | Procédure d'entretien |
|---|---|
| Toutes les 400 heures |
|
Vérifiez que les canalisations de carburant, les raccords et les colliers ne présentent pas de fuites, ne sont pas détériorés, endommagés ou desserrés.
Note: Réparez les fuites ou les composants endommagés du système d'alimentation avant d'utiliser la machine.
| Périodicité d'entretien | Procédure d'entretien |
|---|---|
| Toutes les 800 heures |
|
Levez le plateau et bloquez-le en position avec la béquille.
Tournez la clé à la position ARRêT et enlevez-la.
Placez un bac de vidange sous le filtre à carburant.
Dévissez le filtre à carburant du support (Figure 32).

Posez le filtre de rechange en le vissant jusqu'à ce qu'il touche le haut du support, puis serrez-le encore de 3/4 de tour.
Débranchez la batterie avant de réparer la machine. Débranchez la borne négative de la batterie avant la borne positive. Rebranchez la borne positive avant la borne négative.
Chargez la batterie dans un endroit dégagé et bien aéré, à l'écart des flammes ou sources d'étincelles. Débranchez le chargeur avant de brancher ou de débrancher la batterie. Portez des vêtements de protection et utilisez des outils isolés.
Tension batterie : 12 V avec 300 A de démarrage à froid à -18 °C (0 °F).
Maintenez toujours la batterie propre et chargée au maximum.
Si les bornes de la batterie sont corrodées, nettoyez-les avec un mélange constitué de 4 volumes d'eau pour 1 volume de bicarbonate de soude.
Enduisez les bornes de la batterie d'une mince couche de graisse pour éviter la corrosion.
S'ils sont mal acheminés, les câbles de la batterie peuvent subir des dommages ou endommager la machine et produire des étincelles. Les étincelles peuvent provoquer l'explosion des gaz de la batterie et vous blesser.
Débranchez toujours le câble négatif (noir) de la batterie avant le câble positif (rouge).
Connectez toujours le câble positif (rouge) de la batterie avant le câble négatif (noir).
Laissez toujours la sangle de la batterie en place pour protéger et immobiliser la batterie.
Les bornes de la batterie ou les outils en métal peuvent causer des courts-circuits au contact des pièces métalliques de la machine et produire des étincelles. Les étincelles peuvent provoquer l'explosion des gaz de la batterie et vous blesser.
Lors du retrait ou de la mise en place de la batterie, évitez que les bornes touchent les parties métalliques de la machine.
Évitez de créer des courts-circuits entre les bornes de la batterie et les parties métalliques de la machine avec des outils en métal.
Débranchez les câbles de la batterie; voir Débranchement de la batterie.
Retirez le contre-écrou, le boulon de carrosserie et la barrette qui fixent la batterie à son support (Figure 33).
Déposez la batterie de son support (Figure 33).
Placez la batterie sur son support sur la machine (Figure 33).
Note: Vérifiez que les bornes positive et négative de la batterie sont alignées, comme montré à la Figure 33.
Fixez la batterie à son support à l'aide de la barrette de maintien, du boulon de carrosserie et du contre-écrou (Figure 33).
Rebranchez les câbles de la batterie ; voir Branchement de la batterie.
La batterie en charge produit des gaz susceptibles d'exploser.
Ne fumez jamais à côté de la batterie et tenez-la à l'écart de toutes flammes ou sources d'étincelles.
Important: La batterie doit toujours être chargée au maximum. Cela est particulièrement important pour prévenir la dégradation de la batterie si la température tombe en dessous de 0 °C (32 °F).
Déposez la batterie de la machine; voir Débranchement de la batterie.
Connectez un chargeur de batterie de 3 à 4 A aux bornes de la batterie. Chargez la batterie à un régime de 3 à 4 A pendant 4 à 8 heures (12 V).
Note: Ne chargez pas la batterie excessivement.
Mettez la batterie en place; voir Mise en place de la batterie.
Si vous remisez la machine pendant plus d'un mois de suite, enlevez la batterie et chargez-la au maximum. Rangez-la sur une étagère ou remettez-la sur la machine. Ne rebranchez pas les câbles si vous remettez la batterie sur la machine. Rangez la batterie dans un endroit frais pour éviter qu'elle ne se décharge trop rapidement. Pour protéger la batterie du gel, maintenez-la chargée au maximum.
Le système électrique est protégé par 7 fusibles. Ils sont situés sous le capot (Figure 34).
| Alarme/Prise USB | 10 A |
| Moteur | 10 A |
| Phares | 10 A |
| Fusible de la machine | 15 A |
| Levage | 15 A |
| Levage arrière | 15 A |
| Avertisseur sonore | 30 A |

Si vous installez une ampoule de plus forte intensité que celle prévue pour le système, vous risquez d'endommager l'alimentation 12 V ou, tout au moins, de faire griller un fusible.
Utilisez toujours l'ampoule à DEL spécifiée par Toro pour éviter ce problème.
Les ampoules deviennent extrêmement chaudes lorsqu'elles sont allumées. Vous pouvez vous brûler et vous blesser gravement en manipulant une ampoule chaude.
Laissez toujours refroidir les ampoules avant de les remplacer. Manipulez toujours les ampoules avec précaution.
Spécifications : voir le Catalogue de pièces.
Débranchez la batterie; voir Débranchement de la batterie.
Ouvrez le capot.
Débranchez le connecteur électrique sur le faisceau du connecteur de l'ampoule au dos du boîtier du phare (Figure 35).

Tournez l'ampoule d'un quart de tour dans le sens antihoraire et tirez-la en arrière hors du boîtier (Figure 35).
Insérez l'ampoule neuve dans le boîtier du phare et alignez les languettes sur les fentes du boîtier (Figure 35).
Fixez l'ampoule en place en la tournant d'un quart de tour dans le sens horaire (Figure 35).
Branchez le connecteur électrique de faisceau sur le connecteur de l'ampoule neuve (Figure 35).
Rebranchez la batterie et refermez le capot ; voir Branchement de la batterie.
Débranchez la batterie ; voir Débranchement de la batterie.
Ouvrez le capot ; voir Ouverture du capot.
Débranchez le connecteur électrique sur le faisceau du connecteur du phare (Figure 36).

Retirez les clips rapides qui fixent le phare sur son support (Figure 36).
Note: Conservez toutes les pièces pour monter le phare de rechange.
Déposez le phare en le poussant vers l'avant et hors de l'ouverture dans le pare-chocs avant (Figure 36).
Insérez le phare de rechange dans l'ouverture du pare-chocs (Figure 36).
Note: Veillez à ce que les ergots soient bien alignés sur les trous du support de montage derrière le pare-chocs.
Fixez le phare en place avec les clips rapides retirés à l'opération 4.
Branchez le connecteur électrique du faisceau sur le connecteur du phare (Figure 36).
Réglez les phares de façon à diriger les faisceaux à la position voulue; voir Réglage des phares.
Chaque fois que vous déposez ou remplacez un phare, réglez la position du faisceau comme suit :
Tournez la clé à la position MARCHE et allumez les phares.
Au dos du phare, tournez les vis de réglage (Figure 36) afin de faire pivoter le phare et d'aligner la position du faisceau projeté.
| Périodicité d'entretien | Procédure d'entretien |
|---|---|
| Toutes les 100 heures |
|
Vérifiez l'état et l'usure des pneus et des jantes.
Note: Les accidents de conduite, comme une collision contre une bordure de trottoir, peuvent endommager un pneu ou une jante et dérégler également la géométrie des roues. Pour cette raison, vérifiez l'état des pneus après tout accident.
Serrez les écrous de roues à un couple de 108 à 122 N·m (80 à 90 pi-lb).
| Périodicité d'entretien | Procédure d'entretien |
|---|---|
| Toutes les 100 heures |
|
Le volant étant centré (Figure 37), tournez-le vers la gauche ou la droite. Si vous tournez le volant de plus de 13 mm (½ po) à gauche ou à droite et que les roues ne tournent pas, vérifiez le serrage et l'état des composants de la direction et de la suspension :
Joint de l'arbre de direction sur la crémaillère de direction.
Important: Vérifiez l'état et la fixation du joint de l'arbre de pignon (Figure 38).
Biellettes de crémaillère de direction


| Périodicité d'entretien | Procédure d'entretien |
|---|---|
| Toutes les 100 heures |
|
Vérifiez que les pneus avant sont gonflés à 0,82 bar (12 psi).
Placez une masse équivalente au poids moyen de l'utilisateur sur le siège du conducteur ou demandez à l'utilisateur de s'asseoir sur le siège. La masse ou l'utilisateur doit rester sur le siège pendant toute la procédure de réglage.
Sur une surface plane et horizontale, faites reculer la machine en ligne droite de 2 à 3 m (6 à 10 pi), puis repartez dans l'autre sens en ligne droite jusqu'à la position de départ. Cela permet à la suspension de se stabiliser à la position d'utilisation.
Outils fournis par le propriétaire de la machine : clé à ergots (réf. Toro 132-5069); voir un distributeur Toro agréé.
Important: Ne réglez le carrossage que si vous utilisez un accessoire avant ou si l'usure des pneus est irrégulière.
Contrôlez le carrossage de chaque roue; il doit être aussi proche de zéro que possible.
Note: La bande de roulement des pneus doit être disposée uniformément sur le sol pour prévenir une usure irrégulière.
Si le carrossage des roues n'est pas correct, utilisez la clé à ergots pour tourner le collet sur l'amortisseur et orienter la roue correctement (Figure 39).

Important: Avant de régler le pincement, vérifiez que le réglage du carrossage est aussi proche de zéro que possible; voir Réglage du carrossage.
Placez les roues avant en position ligne droite.
Mesurez la distance entre les roues avant à hauteur d'essieu, à l'avant et à l'arrière des roues (Figure 40).

Si la mesure n'est pas comprise entre 0 et 6 mm (0 et ¼ po), desserrez les écrous de blocage aux extrémités extérieures des biellettes (Figure 41).

Tournez les biellettes de façon à déplacer l'avant de la roue vers l'intérieur ou l'extérieur.
Resserrez les écrous de blocage des biellettes quand le réglage correct est obtenu.
Assurez-vous que le volant effectue toute sa course dans les deux sens.
| Périodicité d'entretien | Procédure d'entretien |
|---|---|
| Toutes les 100 heures |
|
Type de liquide : SAE 10W30 (classe de service API SJ ou mieux)
Garez la machine sur une surface plane et horizontale, placez la transmission au POINT MORT, serrez le frein de stationnement, coupez le moteur et enlevez la clé.
Enlevez le boulon de l'orifice indicateur de niveau (Figure 42).
Note: Le niveau de liquide dans la boîte-pont doit atteindre le bas de l'orifice indicateur de niveau.

Si le niveau de liquide dans la boîte-pont n'atteint pas le bas de l'orifice, versez le liquide spécifié dans le réservoir; voir Vidange du liquide de la boîte-pont.
| Périodicité d'entretien | Procédure d'entretien |
|---|---|
| Toutes les 800 heures |
|
Type de liquide : SAE 10W30 (classe de service API SJ ou mieux)
Capacité de liquide : 1.4 L (1.5 pte américaine)
Garez la machine sur une surface plane et horizontale, placez la transmission au POINT MORT, serrez le frein de stationnement, coupez le moteur et enlevez la clé.
Essuyez la surface autour des bouchons de remplissage et de vidange avec un chiffon (Figure 43).

Placez un bac de vidange de 2 L (2,1 ptes) ou plus sous le bouchon de vidange.
Dévissez et enlevez le bouchon de remplissage (Figure 43).
Note: Conservez le bouchon de remplissage et le joint pour la repose à l'opération 8.
Dévissez et enlevez le bouchon de vidange (Figure 43).
Note: Conservez le bouchon de vidange et le joint pour la repose à l'opération 6.
Note: Vidangez tout le liquide de la boîte-pont.
Remettez et serrez le bouchon de vidange et le joint dans l'orifice de la transmission (Figure 43).
Note: Débarrassez-vous du liquide usagé dans un centre de recyclage agréé.
Versez par l'orifice du bouchon de remplissage du réservoir (Figure 44) environ 1,4 L (1,5 pte américaine) du liquide spécifié, ou la quantité de liquide nécessaire, jusqu'à ce que le niveau de liquide atteigne le bas du filetage (Figure 43).

Remettez et serrez le bouchon de remplissage et le joint dans l'orifice de la transmission (Figure 43).
Démarrez le moteur et conduisez la machine.
Contrôlez le niveau de liquide et faites l'appoint si le niveau est en dessous du filetage de l'orifice du bouchon de remplissage (Figure 43).
| Périodicité d'entretien | Procédure d'entretien |
|---|---|
| À chaque utilisation ou une fois par jour |
|
| Toutes les 100 heures |
|
Lors des entretiens courants et/ou des diagnostics du moteur, vous devez placer la boîte-pont au POINT MORT (Figure 45). La position POINT MORT de l'inverseur de marche commande le point mort de la boîte-pont. Pour vérifier que le point mort de l'inverseur de marche actionne correctement le point mort de la boîte-pont, procédez comme suit :
Sélectionnez le POINT MORT de la transmission.
Vérifiez que la patte de réglage du point mort est à la position POINT MORT (au même niveau que le support de fixation du câble situé sous la patte d'inversion de marche) en tournant l'embrayage d'entraînement (Figure 45).
Note: La machine ne doit pas avancer ni reculer. Si elle se déplace, placez la patte de réglage du point mort à la position POINT MORT.

Tournez un des contre-écrous (Figure 45) pour obtenir un espace de 0,76 à 1,52 mm (0,03 à 0,06 po) entre le bas de l'écrou/la rondelle et la patte de réglage du point mort.
Note: Vous devez maintenir l'axe fileté au-dessous de la patte de réglage pour ajuster la position du contre-écrou au-dessus.
Tournez l'autre contre-écrou pour obtenir un espace de 0,76 à 1,52 mm (0,03 à 0,06 po) entre le bas de l'écrou/la rondelle et la patte de réglage du point mort.
Tirez sur chaque câble d'inverseur et vérifiez qu'un espace de 0,76 à 1,52 mm (0,03 à 0,06 po) existe entre l'écrou/la rondelle et la patte de réglage du point mort (Figure 46).
Note: Si l'espace est inexistant, serrez plus ou moins les écrous jusqu'à obtention de l'espace spécifié.

Démarrez le moteur, puis sélectionnez les positions MARCHE AVANT, MARCHE ARRIèRE et POINT MORT successivement plusieurs fois pour vérifier que la patte de réglage du point mort fonctionne correctement.
| Périodicité d'entretien | Procédure d'entretien |
|---|---|
| À chaque utilisation ou une fois par jour |
|
Vérifiez chaque jour que l'embrayage permet de changer correctement le sens de la marche. Si l'inversion de marche coince ou est laborieuse, ou si l'embrayage ne revient pas complètement au point mort lorsque le moteur tourne au ralenti, l'embrayage nécessite un simple nettoyage.
Note: Nettoyez tout particulièrement les débris présents sur et autour des pièces mobiles.
Garez la machine sur une surface plane et horizontale, serrez le frein de stationnement, coupez le moteur et enlevez la clé.
Levez et sécurisez le plateau de chargement.
Éliminez la saleté et la boue déposées sur l'embrayage à l'eau et séchez immédiatement l'embrayage à l'air comprimé pour éliminer l'excédent d'eau et de débris.
Note: Les débris qui subsistent peuvent être éliminés avec un produit de nettoyage de surface à séchage rapide.
| Périodicité d'entretien | Procédure d'entretien |
|---|---|
| Toutes les 200 heures |
|
Note: L'usure des composants internes est accélérée si vous conduisez la machine alors que l'embrayage est encrassé.
Garez la machine sur une surface plane et horizontale, serrez le frein de stationnement, coupez le moteur et enlevez la clé.
Levez et sécurisez le plateau de chargement.
Retirez les 6 boulons à embase qui fixent le couvercle de l'embrayage.
Mettez le couvercle, l'entretoise et le ressort de côté (Figure 47).

Éliminez la saleté et la boue déposées à l'eau et séchez immédiatement à l'air comprimé pour éliminer l'excédent d'eau et de débris.
Enlevez les débris restants à l'aide d'un produit de nettoyage de surface à séchage rapide ou d'un produit de nettoyage pour freins.
Note: Éliminez les débris dans et autour des pièces mobiles.
Si des débris ou des dépôts sont présents autour de la courroie et le long de l'arbre d'embrayage, utilisez un tampon abrasif fin ou un produit similaire pour les enlever.
Reposez le ressort, le couvercle d'embrayage et les boulons à embase.
Serrez les boulons à un couple de 12 à 13,5 N·m (105 à 120 po-lb).
L'ingestion de liquide de refroidissement moteur peut être toxique; rangez-le hors de la portée des enfants et des animaux.
Les projections de liquide de refroidissement brûlant sous pression ou le contact avec le radiateur brûlant et les pièces qui l'entourent peuvent causer des brûlures graves.
Laissez toujours refroidir le moteur pendant au moins 15 minutes avant d'enlever le bouchon de radiateur.
Servez-vous d'un chiffon pour ouvrir le bouchon du radiateur et desserrez-le lentement pour permettre à la vapeur de s'échapper.
N'utilisez jamais la machine sans les capots de protection.
N'approchez pas les doigts, les mains ou les vêtements du ventilateur et de la courroie d'entraînement en rotation.
Coupez le moteur et enlevez la clé avant d'effectuer des entretiens.
| Périodicité d'entretien | Procédure d'entretien |
|---|---|
| Toutes les 100 heures |
|
Important: Le moteur peut surchauffer et être endommagé si vous utilisez la machine alors que l'écran rotatif est bloqué, que les ailettes de refroidissement sont encrassées ou colmatées, ou que les déflecteurs de refroidissement sont déposés.
Important: Ne nettoyez jamais le moteur au jet d'eau au risque de contaminer le système d'alimentation.
Nettoyez le filtre rotatif, les ailettes de refroidissement et les surfaces extérieures du moteur.
Note: Nettoyez les composants de refroidissement du moteur plus fréquemment si l'atmosphère est extrêmement poussiéreuse ou sale.
| Périodicité d'entretien | Procédure d'entretien |
|---|---|
| À chaque utilisation ou une fois par jour |
|
Note: Utilisez un mélange 50/50 d'eau et d'éthylène glycol comme liquide de refroidissement.
Garez la machine sur une surface plane et horizontale, coupez le moteur, serrez le frein de stationnement et enlevez la clé.
Enlevez le bouchon du réservoir de trop-plein du radiateur (Figure 48).
Si le niveau de liquide de refroidissement est trop bas, faites l'appoint jusqu'à ce que le liquide atteigne la base du goulot de remplissage.
Note: Ne remplissez pas excessivement.
Rebouchez le réservoir de trop-plein du radiateur et nettoyez le liquide éventuellement renversé.
| Périodicité d'entretien | Procédure d'entretien |
|---|---|
| Toutes les 1000 heures |
|
Si le moteur vient de tourner, le liquide de refroidissement sous pression peut s'échapper et vous brûler.
N'enlevez pas le bouchon du radiateur si le moteur est en marche.
Laissez refroidir le moteur pendant au moins 15 minutes ou attendez que le bouchon du radiateur ne brûle plus quand vous le touchez.
Servez-vous d'un chiffon pour ouvrir le bouchon du radiateur et desserrez-le lentement pour permettre à la vapeur de s'échapper.
Note: Utilisez un mélange 50/50 d'eau et d'éthylène glycol comme liquide de refroidissement.
Garez la machine sur une surface plane et horizontale, coupez le moteur, serrez le frein de stationnement et enlevez la clé.
Enlevez le bouchon de remplissage (Figure 48) et faites le plein de liquide de refroidissement.

Remettez le bouchon de remplissage en place et retirez le bouchon du réservoir de trop-plein (Figure 48).
Note: N'enlevez jamais les deux bouchons en même temps ; cela perturbe le remplissage du réservoir.
Remplissez le réservoir de carburant jusqu'au bas du goulot de remplissage.
Rebouchez le réservoir de trop-plein du radiateur et nettoyez le liquide éventuellement renversé.
| Périodicité d'entretien | Procédure d'entretien |
|---|---|
| Toutes les 100 heures |
|
Important: Les freins sont un des composants de sécurité essentiels de la machine. Vérifiez-les attentivement aux intervalles d'entretien recommandés pour garantir des performances et une sécurité optimales.
Contrôlez l'état et l'usure de la garniture des freins. Remplacez la garniture (plaquette de frein) si elle fait moins de 1,6 mm (1/16 po), d'épaisseur.
Vérifiez si le support de garniture et autres composants semblent excessivement usés ou déformés. Remplacez les composants déformés.
Vérifiez que les canalisations de frein, les raccords et les colliers ne présentent pas de fuites, ne sont ps détériorés ou desserrés.
Contrôlez le niveau de liquide de frein; voir Contrôle du niveau de liquide de frein.
Note: Réparez les fuites ou les dommages des composants du circuit de freinage avant d'utiliser la machine.
| Périodicité d'entretien | Procédure d'entretien |
|---|---|
| Toutes les 200 heures |
|
Enlevez la poignée du levier de frein du stationnement (Figure 49).

Desserrez la vis qui fixe le bouton de réglage sur le levier du frein de stationnement (Figure 49).
Tournez le bouton de réglage du frein jusqu'à ce qu'une force de 133 à 156 N (30 à 35 lb-pi) soit nécessaire pour serrer le levier du frein de stationnement (Figure 49).
Note: Si vous avez tourné le bouton de réglage du frein sur toute la course du dispositif de réglage et que vous ne pouvez pas obtenir la force de 133 à 156 N (30 à 35 lb-pi) requise pour actionner le levier du frein de stationnement, réglez les câbles de frein; voir Réglage des câbles de frein.
Serrez la vis de fixation et remettez la poignée en place (Figure 49).
Enlevez la poignée du levier de frein du stationnement (Figure 49).
Desserrez la vis (Figure 49) qui fixe le bouton de réglage sur le levier du frein de stationnement, desserrez le frein de stationnement et desserrez le bouton de réglage.
Au bas de la machine, desserrez de 4 tours l'écrou de blocage arrière du dispositif de réglage fileté sur le câble de frein de stationnement (Figure 50).

Resserrez l'écrou de blocage avant (Figure 50).
Tournez le bouton de réglage du frein (Figure 49) jusqu'à ce qu'une force de 133 à 156 N (30 à 35 lb-pi) soit nécessaire pour actionner le levier du frein de stationnement.
Si vous ne pouvez pas ajuster le bouton de réglage du frein en le desserrant et en réglant entre 133 et 156 N (30 à 35 lb-pi) la force nécessaire pour actionner le levier du frein de stationnement, procédez comme suit :
Desserrez d'un tour l'écrou de blocage avant (Figure 50) du dispositif de réglage fileté du câble de frein de stationnement.
Resserrez l'écrou de blocage arrière (Figure 50).
Tournez le bouton de réglage du frein (Figure 49) jusqu'à ce qu'une force de 133 à 156 N (30 à 35 lb-pi) soit nécessaire pour actionner le levier du frein de stationnement.
Répétez les opérations 1 à 3 jusqu'à 2 fois pour régler la force nécessaire pour le frein de stationnement entre 133 et 156 N (30 à 35 lb-pi).
Si vous ne pouvez pas ajuster le bouton de réglage du frein en le serrant et en réglant entre 133 et 156 N (30 à 35 lb-pi) la force nécessaire pour actionner le levier du frein de stationnement, procédez comme suit :
Desserrez d'un tour l'écrou de blocage arrière (Figure 50) du dispositif de réglage fileté du câble de frein de stationnement.
Resserrez l'écrou de blocage avant (Figure 50).
Tournez le bouton de réglage du frein (Figure 49) jusqu'à ce qu'une force de 133 à 156 N (30 à 35 lb-pi) soit nécessaire pour actionner le levier du frein de stationnement.
Répétez les opérations 1 à 3 jusqu'à 3 fois pour régler la force nécessaire pour le frein de stationnement entre 133 et 156 N (30 à 35 lb-pi).
Note: Si vous ne pouvez pas ajuster le câble de frein de stationnement de manière à régler le bouton de réglage du frein dans les limites indiquées, vérifiez que les plaquettes de frein ne sont pas excessivement usées.
Serrez la vis et remettez la poignée en place (Figure 49).
| Périodicité d'entretien | Procédure d'entretien |
|---|---|
| À chaque utilisation ou une fois par jour |
|
Type de liquide de frein : DOT 3
Garez la machine sur une surface plane et horizontale.
Serrez le frein de stationnement.
Coupez le moteur et enlevez la clé.
Soulevez le capot pour accéder au maître-cylindre de frein et au réservoir (Figure 51).

Observez le repère de niveau sur le côté du réservoir (Figure 52).
Note: Le niveau doit se situer au-dessus du repère du minimum.

Si le niveau de liquide est trop bas, procédez comme suit :
Nettoyez la surface autour du bouchon du réservoir et enlevez le bouchon (Figure 51).
Versez du liquide de frein DOT 3 dans le réservoir jusqu'à ce que le niveau dépasse le repère minimum (Figure 52).
Note: Ne remplissez pas excessivement le réservoir de liquide de frein.
Remettez le bouchon du réservoir (Figure 51).
Fermez le capot.
| Périodicité d'entretien | Procédure d'entretien |
|---|---|
| Toutes les 1000 heures |
|
Contactez un dépositaire Toro agréé.
| Périodicité d'entretien | Procédure d'entretien |
|---|---|
| Après les 8 premières heures de fonctionnement |
|
| Toutes les 200 heures |
|
Garez la machine sur une surface plane et horizontale, serrez le frein de stationnement, coupez le moteur et enlevez la clé.
Levez le plateau de chargement et bloquez-le en position avec la béquille.
Sélectionnez le POINT MORT de la transmission.
Faites tourner la courroie (Figure 53) pour vérifier qu'elle n'est pas excessivement usée ou endommagée.
Note: Remplacez la courroie si elle est excessivement usée ou endommagée; voir Remplacement de la courroie d'entraînement.

Baissez le plateau de chargement.
Levez le plateau de chargement.
Sélectionnez le POINT MORT, serrez le frein de stationnement, tournez la clé à la position ARRêT et enlevez la clé.
Faites tourner la courroie et faites-la passer sur l'embrayage secondaire (Figure 53).
Enlevez la courroie de l'embrayage primaire (Figure 53).
Note: Mettez la courroie usagée au rebut.
Placez la courroie neuve sur l'embrayage principal (Figure 53).
Faites tourner la courroie et faites-la passer sur l'embrayage secondaire (Figure 53).
Baissez le plateau de chargement.
Note: Ne contrôlez la butée de tension de la courroie que pour rechercher l'origine de vibrations, procéder à une reconstruction ou en cas de défaillance du support moteur.
La butée de tension de la courroie (Figure 54) doit maintenir un espace de 2,2 mm (0,09 po).
Si la butée est trop proche de la patte de support du moteur, la courroie cause des vibrations excessives ; si la butée est trop loin de la patte de support du moteur, la courroie impose une contrainte excessive au moteur.
Pour régler le jeu, desserrez les 3 boulons à embase qui fixent la patte de support sur le cadre et déplacez la patte de la distance appropriée.
Une fois que le jeu est correct, resserrez les 3 boulons à embase.

Si les loquets du plateau de chargement sont déréglés, le plateau tressaute pendant que vous conduisez la machine. Vous pouvez régler les montants de sorte que les loquets maintiennent le plateau bien ajusté sur le châssis.
Desserrez le contre-écrou au bout de l'ergot de verrouillage (Figure 55).

Tournez l'ergot de verrouillage dans le sens horaire jusqu'à ce qu'il soit bien serré contre la partie en crochet du loquet (Figure 55).
Serrez le contre-écrou à un couple de 19,7 à 25,4 N·m (175 à 225 po-lb).
Répétez les opérations 1 à 3 pour le loquet de l'autre côté de la machine.
| Périodicité d'entretien | Procédure d'entretien |
|---|---|
| À chaque utilisation ou une fois par jour |
|
Au besoin, lavez la machine seulement avec de l'eau ou en y ajoutant un détergent doux. Vous pouvez laver la machine à l'aide d'un chiffon.
Important: Ne nettoyez pas la machine avec de l'eau saumâtre ou recyclée.
Important: Ne lavez pas la machine au jet haute pression. Cela pourrait endommager le système électrique, décoller des autocollants importants ou enlever la graisse nécessaire aux points de frottement. N'utilisez pas trop d'eau près du panneau de commande, du moteur et de la batterie.
Important: Ne lavez pas la machine pendant que le moteur tourne. Cela pourrait endommager les pièces internes du moteur.
Avant de quitter la position d'utilisation, coupez le moteur de la machine, enlevez la clé et attendez l'arrêt complet de tout mouvement. Laissez refroidir la machine avant de la régler, d'en faire l'entretien, de la nettoyer ou de la remiser.
Ne remisez pas la machine ni les bidons de carburant à proximité d'une flamme nue, d'une source d'étincelles ou d'une veilleuse, telle celle d'un chauffe-eau ou autre appareil.
| Périodicité d'entretien | Procédure d'entretien |
|---|---|
| Après les 50 premières heures de fonctionnement |
|
| Toutes les 200 heures |
|
| Toutes les 400 heures |
|
| Toutes les 600 heures |
|
Placez la machine sur une surface plane et horizontale, serrez le frein de stationnement, coupez le moteur et enlevez la clé.
Enlevez toutes les saletés et impuretés déposées sur la machine, y compris à l'extérieur du moteur.
Contrôlez les freins; voir Contrôle des freins.
Faites l'entretien du filtre à air; voir Entretien du filtre à air.
Bouchez l'entrée et l'orifice de sortie du filtre à air avec du ruban imperméable.
Vidangez l'huile moteur; voir Contrôle du niveau, vidange de l'huile moteur et remplacement du filtre à huile.
Rincez le réservoir avec du carburant frais et propre.
Branchez tous les raccords du système d'alimentation.
Contrôlez la pression des pneus; voir Contrôle de la pression des pneus.
Vérifiez la protection antigel et ajoutez un mélange 50/50 d'eau et d'antigel en fonction de la température minimale anticipée dans la région.
Retirez la batterie de la machine et chargez-la au maximum; voir Retrait de la batterie.
Note: Ne laissez pas les câbles connectés aux bornes de la batterie durant le remisage.
Important: La batterie doit être chargée au maximum pour éviter de geler et de subir des dommages à des températures inférieures à 0 °C (32 °F). Une batterie chargée au maximum conserve sa charge durant environ 50 jours à des températures inférieures à 4 °C (40 °F). Si la température doit descendre en dessous de 4 °C (40 °F), chargez-la tous les 30 jours.
Contrôlez et resserrez tous les boulons, écrous et vis. Réparez ou remplacez toute pièce endommagée.
Peignez toutes les surfaces métalliques éraflées ou mises à nu.
Note: Une peinture pour retouches est disponible chez les dépositaires-réparateurs agréés.
Rangez la machine dans un endroit propre et sec, comme un garage ou une remise.
Couvrez la machine pour la protéger et la garder propre.