| Intervalo de mantenimiento y servicio | Procedimiento de mantenimiento |
|---|---|
| Cada vez que se utilice o diariamente |
|
Este vehículo utilitario está diseñado principalmente para el uso fuera de las carreteras para el transporte de personas y materiales. Usar este producto con una finalidad diferente a la prevista puede ser peligroso para usted y para otras personas.
Lea detenidamente esta información para aprender a utilizar y a mantener el producto correctamente, y para evitar lesiones y daños al producto. Usted es responsable de utilizar el producto de forma correcta y segura.
Visite www.toro.com para buscar materiales de formación y seguridad o información sobre accesorios, para localizar un distribuidor o para registrar su producto.
Cuando necesite asistencia técnica, piezas genuinas Toro o información adicional, póngase en contacto con un Distribuidor de Servicio Autorizado o con Atención al cliente Toro, y tenga a mano los números de modelo y serie de su producto. La Figura 1 identifica la ubicación de los números de serie y de modelo en el producto. Escriba los números en el espacio provisto.
Important: Con su dispositivo móvil, puede escanear el código QR de la pegatina del número de serie (en su caso) para acceder a información sobre la garantía, las piezas y otra información sobre el producto.

Este manual utiliza 2 palabras para resaltar información. Importante llama la atención sobre información mecánica especial, y Nota resalta información general que merece una atención especial.
El símbolo de alerta de seguridad (Figura 2) aparece tanto en este manual como en la máquina para identificar mensajes de seguridad importantes que debe seguir para evitar accidentes. Este símbolo aparecerá junto a la palabra Peligro, Advertencia o Cuidado.
Peligro: Indica una situación peligrosa inminente, que si no se evita, causará la muerte o lesiones graves.
Advertencia indica una situación potencialmente peligrosa que si no se evita, podría causar la muerte o lesiones graves.
Cuidado indica una situación potencialmente peligrosa que si no se evita, podría causar lesiones menores o moderadas.

Este producto cumple todas las directivas europeas aplicables; si desea más detalles, consulte la Declaración de Conformidad (Declaration of Conformity – DOC) de cada producto.
El uso o la operación del motor en cualquier terreno forestal, de monte o cubierto de hierba a menos que el motor esté equipado con parachispas (conforme a la definición de la sección 4442) mantenido en buenas condiciones de funcionamiento, o que el motor haya sido fabricado, equipado y mantenido para la prevención de incendios, constituye una infracción de la legislación de California (Sección 4442 o 4443 del California Public Resource Code).
El manual del propietario del motor adjunto ofrece información sobre las normas de la Agencia de protección ambiental de EUA (U.S. Environmental Protection Agency/EPA) y de la Norma de control de emisiones de California (California Emission Control Regulation) sobre sistemas de emisiones, mantenimiento y garantía. Puede solicitarse un manual nuevo al fabricante del motor.
Si la máquina está equipada con un dispositivo telemático, consulte a su distribuidor autorizado Toro para obtener instrucciones para activar el dispositivo.
|
Certificación de compatibilidad electromagnética |
|
Nacional: Este dispositivo cumple las normas FCC Parte 15. El uso está sujeto a las dos condiciones siguientes: (1) Este dispositivo no puede causar interferencias dañinas y (2) este dispositivo debe aceptar cualquier interferencia que pueda recibir, incluyendo interferencias que puedan causar un funcionamiento indeseable. |
|
ID FCC: OF7RTS24 IC: 3575A-RTS24 |
|
Este equipo ha sido probado y se ha verificado que cumple los límites de un dispositivo digital de la Clase B, conforme con la Parte 15 de la normativa FCC. Estos límites están diseñados para proporcionar una protección razonable contra interferencias dañinas en una instalación residencial. El equipo genera, utiliza y puede radiar energía de radiofrecuencia, y si no es instalado y utilizado con arreglo a las instrucciones, puede causar interferencias dañinas para las radiocomunicaciones. Sin embargo, no podemos garantizar que no se produzcan interferencias en una instalación determinada. Si este equipo provoca interferencias dañinas en la recepción de radio o televisión (lo que podrá comprobar apagando y encendiendo el equipo), se recomienda al usuario que corrija la interferencia aplicando una o varias de las siguientes medidas:
|
|
Argentina |
![]() |
|
Australia |
![]() |
|
Marruecos |
|
|---|---|
|
AGREE PAR L’ANRT MAROC |
|
|
Numero d’agrement: |
MR00003613ANRT2024 |
|
Delivre d’agrement: |
22/08/2024 |
CALIFORNIA
Advertencia de la Propuesta 65
Es sabido por el Estado de California que los gases de escape de los motores diesel y algunos de sus componentes causan cáncer, defectos congénitos y otros peligros para la reproducción.
Los bornes, terminales y otros accesorios de la batería contienen plomo y compuestos de plomo, productos químicos reconocidos por el Estado de California como causantes de cáncer y daños reproductivos. Lávese las manos después de manejar el material.
Este producto es capaz de causar lesiones personales. Siga siempre todas las instrucciones de seguridad con el fin de evitar lesiones personales graves.
Lea y comprenda el contenido de este Manual del operador antes de arrancar la máquina. Asegúrese de que todas las personas que utilicen este producto sepan cómo utilizarlo y comprendan las advertencias.
Dedique toda su atención al manejo de la máquina. No realice ninguna actividad que pudiera distraerle; de lo contrario, podrían producirse lesiones o daños materiales.
No coloque las manos ni los pies cerca de las piezas en movimiento de la máquina.
No utilice la máquina si no están colocados y funcionando todos los protectores y dispositivos de seguridad.
Mantenga a otras personas y a los niños alejados de la zona de trabajo. Nunca permita a los niños utilizar la máquina.
Detenga y apague la máquina y retire la llave antes de realizar tareas de mantenimiento o de repostar.
El uso o mantenimiento incorrecto de esta máquina puede
causar lesiones. Para reducir el peligro de lesiones, cumpla estas
instrucciones de seguridad y preste atención siempre al símbolo
de alerta de seguridad
, que significa: Cuidado, Advertencia o Peligro
—instrucción relativa a la seguridad personal—.
El incumplimiento de estas instrucciones puede dar lugar a lesiones
personales o la muerte.
![]() |
Las pegatinas de seguridad e instrucciones están a la vista del operador y están ubicadas cerca de cualquier zona de peligro potencial. Sustituya cualquier pegatina que esté dañada o que falte. |











Note: Los lados derecho e izquierdo de la máquina se determinan desde la posición normal del operador.
Piezas necesarias en este paso:
| Volante | 1 |
| Tapa | 1 |
| Arandela (½") | 1 |
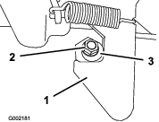
Si la tapa está instalada, retírela del centro del volante (Figura 3).
Retire la contratuerca (½") de la columna de dirección (Figura 3).
Coloque el volante y la arandela (½") sobre la columna de dirección (Figura 3).
Sujete el volante a la columna con la contratuerca (12 mm/½") y apriétela a 27–34 N∙m (20–25 pies-libra).
Instale la tapa en el volante (Figura 3).

Un enrutado incorrecto de los cables de la batería podría dañar la máquina y los cables, causando chispas. Las chispas podrían hacer explosionar los gases de la batería, causando lesiones personales.
Desconecte siempre el cable negativo (negro) de la batería antes de desconectar el cable positivo (rojo).
Conecte siempre el cable positivo (rojo) de la batería antes de conectar el cable negativo (negro).
Apriete la tapa de la batería para liberar las pestañas de la base de la batería (Figura 4).

Retire la tapa de la batería de la base (Figura 4).
Conecte el cable positivo (rojo) al borne positivo (+) de la batería y sujete el cable con los pernos y las tuercas (Figura 5).

Coloque la cubierta de goma sobre el borne positivo.
Note: La cubierta de goma evita posibles cortocircuitos a tierra.
Conecte el cable negativo (negro) al borne negativo (–) de la batería y sujete el cable con los pernos y las tuercas.
Alinee la tapa de la batería con la base de la batería (Figura 4).
Apriete la tapa de la batería, alinee las pestañas con la base de la batería, y suelte la tapa de la batería (Figura 4).
Compruebe el nivel de aceite del motor antes y después de arrancar el motor por primera vez; consulte Comprobación del nivel de aceite del motor.
Compruebe el nivel del líquido de frenos antes de arrancar el motor por primera vez; consulte Comprobación del nivel del líquido de frenos.
Compruebe el nivel del fluido del transeje antes de arrancar el motor por primera vez; consulte Comprobación del nivel de fluido del transeje.
Compruebe la presión de los neumáticos; consulte Comprobación de la presión de los neumáticos.
Para asegurar el rendimiento óptimo del sistema de frenos, debe bruñir (rodar) los frenos antes del uso.
Lleve la máquina a la velocidad máxima y aplique los frenos para detener el vehículo rápidamente sin bloquear las ruedas.
Repita este procedimiento 10 veces, esperando 1 minuto entre cada parada para evitar sobrecalentar los frenos.
Important: Este procedimiento es más eficaz si la máquina lleva una carga de 227 kg (500 libras).
Piezas necesarias en este paso:
| Manual del operador | 1 |
| Manual del usuario del motor | 1 |
| Tarjeta de registro | 1 |
| Formulario de Inspección Pre-entrega | 1 |
| Certificado de calidad | 1 |
| Llave | 2 |
Lea el Manual del operador y el manual del propietario del motor.
Rellene la tarjeta de registro.
Rellene el Formulario de Inspección Preentrega.
Revise el Certificado de calidad.

Antes de poner en marcha el motor y trabajar con la máquina, familiarícese con todos los controles.

El pedal del acelerador (Figura 7) le permite variar la velocidad de avance de la máquina. Pise el pedal del acelerador para arrancar el motor. Si se pisa más el pedal, la velocidad de avance aumenta. Si se suelta el pedal, la máquina va más lenta y el motor se apaga.
Note: La velocidad máxima hacia adelante es de 26 km/h (16 mph).
Utilice el pedal de freno para reducir la velocidad o para detener la máquina (Figura 7).
El uso de la máquina con los frenos desgastados o mal ajustados puede causar lesiones personales.
Si el recorrido del pedal de freno llega a menos de 25 mm (1") del suelo de la máquina, ajuste o repare los frenos.
La palanca del freno de estacionamiento está situada entre los asientos (Figura 6 y Figura 7). Cada vez que apague el motor, ponga el freno de estacionamiento para evitar que la máquina se desplace accidentalmente. Para poner el freno de estacionamiento, tire hacia arriba de la palanca del freno de estacionamiento. Para quitar el freno de estacionamiento, empuje la palanca hacia abajo.
El selector de marchas está situado entre los asientos, debajo de la palanca del freno de estacionamiento. El selector de marchas tiene 3 posiciones: ADELANTE, ATRáS y PUNTO MUERTO (Figura 6).
Note: El motor se arranca y funciona en cualquiera de las tres posiciones.
Important: Detenga siempre la máquina antes de cambiar de marcha.
El interruptor del claxon está situado en el panel de control (Figura 7). Pulse el interruptor del claxon para hacer sonar el claxon.
Utilice el interruptor de luces (Figura 7) para encender los faros. Presione el interruptor de luces hacia arriba para encender los faros. Presione el interruptor de luces hacia abajo para apagar los faros.
El horímetro muestra el número total de horas de operación de la máquina. El horímetro (Figura 7) empieza a funcionar cada vez que se gira el interruptor de encendido a la posición de CONECTADO o si el motor está en marcha.
El indicador de la batería (Figura 7) se enciende durante varios segundos al arrancar el motor por primera vez, y se apaga cuando el motor está en marcha. Si el indicador permanece encendido con el motor en marcha, está dañado el alternador, la batería, o el sistema eléctrico.
El indicador de presión del aceite del motor (Figura 7) le advierte si la presión de aceite del motor cae por debajo del nivel seguro de operación del motor. Si el indicador se enciende y permanece encendido, pare el motor y compruebe el nivel de aceite del motor. Añada aceite al motor si es necesario; consulte Mantenimiento del aceite de motor.
Note: El indicador de aceite puede parpadear; esto es normal y no es necesario hacer nada.
El indicador de temperatura de refrigerante de motor (Figura 7) le advierte que la temperatura del refrigerante del motor es demasiado alta para seguir usando el motor (el motor se sobrecalienta). Apague el motor y deje que la máquina se enfríe. Compruebe el nivel de refrigerante y las correas del ventilador y de la bomba de agua. Llene el depósito de refrigerante según sea necesario y cambie cualquier correa que esté desgastada o deteriorada, o que patina.
Important: Si el problema de sobrecalentamiento del motor persiste, póngase en contacto con el Servicio Técnico Autorizado para que haga un diagnóstico y repare la máquina.
La luz indicadora de las bujías (Figura 7) se enciende en rojo cuando las bujías están activadas.
Important: Se enciende el indicador de la bujía durante 15 segundos más cuando la llave vuelve a la posición de ARRANQUE.
Utilice el interruptor de encendido (Figura 7) para arrancar y apagar el motor.
El interruptor de encendido tiene tres posiciones: DESCONECTADO, CONECTADO y ARRANQUE. Gire la llave en sentido horario a la posición de CONECTADO para activar las bujías. Cuando el indicador de la bujía se apague, gire la llave en sentido horario a la posición de ARRANQUE. Cuando el motor arranque, gire la llave en sentido antihorario a la posición de MARCHA.
Para parar el motor, gire la llave en el sentido contrario a las agujas del reloj a la posición de DESCONECTADO.
Utilice el puerto de alimentación USB (Figura 7) para alimentar los dispositivos móviles.
Important: Cuando no utilice el puerto de alimentación USB, inserte el tapón de goma para evitar daños en el mismo.
El indicador de combustible (Figura 8) está situado en el depósito de combustible, junto al tapón de llenado, en el lado izquierdo de la máquina. El indicador muestra la cantidad de combustible que hay en el depósito.

Los asideros del pasajero están situados a la derecha del salpicadero y en el lado exterior de cada asiento (Figura 9).

Note: Las especificaciones y los diseños están sujetos a modificación sin previo aviso.
| Peso base | En seco, 590 kg (1300 libras) |
| Capacidad nominal (en una superficie nivelada) | 749 kg (1,650 libras) en total, incluyendo operador de 90.7 kg (200 libras), pasajero de 90.7 kg (200 libras), carga, peso sobre el enganche, peso bruto del remolque, y accesorios. |
| Peso bruto del vehículo (PBV) – en terreno llano | 1341 kg (2950 libras) en total, incluyendo todos los pesos relacionados arriba |
| Capacidad máxima de carga (en terreno llano) | 567 kg (1250 libras) en total, incluyendo el peso sobre el enganche y el peso bruto del remolque. |
| Capacidad de remolcado: | |
| Enganche estándar | Peso sobre el enganche: 45 kg (100 libras) |
| Peso bruto del remolque (PBR): 363 kg (800 libras) | |
| Enganche de servicio pesado | Peso sobre el enganche: 45 kg (100 libras) |
| Peso bruto del remolque (PBR): 544 kg (1200 libras) | |
| Anchura total | 155 cm (61") |
| Longitud total | 307 cm (121”) |
| Separación del suelo | 25 cm (10"), sin carga ni operador; 18 cm (7") detrás, sin carga ni operador |
| Distancia entre ejes | 206 cm (81") |
| Banda de rodadura (línea central a línea central) | 125 cm (49") delante, 120 cm (47 ¼") atrás |
| Longitud de la plataforma de carga | 113 cm (44.5”) en el interior, 137 cm (54”) en el exterior |
| Anchura de la plataforma de carga | 125 cm (49") en el interior, 155 cm (61") en el exterior de los guardabarros moldeados |
| Altura de la plataforma de carga | 25 cm (10") en el interior |
| Velocidad máxima | 26 km/h (16 mph) |
| Velocidad del motor (no ajustable) | Ralentí bajo: 1200 a 1300 rpm |
| Ralentí alto: 3420 a 3520 rpm |
Está disponible una selección de aperos y accesorios homologados por Toro que se pueden utilizar con la máquina a fin de potenciar y aumentar sus prestaciones. Póngase en contacto con su Servicio Técnico Autorizado o con su distribuidor autorizado Toro, o visite www.Toro.com para obtener una lista de todos los aperos y accesorios homologados.
Para asegurar un rendimiento óptimo y mantener la certificación de seguridad de la máquina, utilice solamente piezas y accesorios genuinos Toro. Las piezas de recambio y accesorios de otros fabricantes podrían ser peligrosos, y su uso podría invalidar la garantía del producto.
Note: Los lados derecho e izquierdo de la máquina se determinan desde la posición normal del operador.
No deje que la máquina sea utilizada o mantenida por niños o por personas que no hayan recibido una formación adecuada o que no sean físicamente capaces de hacerlo con seguridad. La normativa local puede imponer límites sobre la edad del operador. El propietario es responsable de proporcionar formación a todos los operadores y mecánicos.
Familiarícese con la operación segura del equipo, los controles del operador y las señales de seguridad.
Apague la máquina, retire la llave y espere a que se detenga todo movimiento antes de dejar el puesto del operador. Deje que se enfríe la máquina antes de hacer trabajos de ajuste, mantenimiento, limpieza o almacenamiento.
Sepa cómo parar y apagar la máquina rápidamente.
Asegúrese de que el número de ocupantes (usted y sus pasajeros) no supera el número de asideros provistos en la máquina.
Compruebe que todos los dispositivos y pegatinas de seguridad están colocados. Repare o sustituya todos los dispositivos de seguridad y sustituya cualquier pegatina ilegible o que falte. No utilice la máquina si no están presentes o si no funcionan correctamente.
Extreme las precauciones al manejar el combustible. Es inflamable y sus vapores son explosivos.
Apague cualquier cigarrillo, cigarro, pipa u otra fuente de ignición.
Utilice solamente un recipiente de combustible homologado.
No retire el tapón de combustible ni llene el depósito de combustible si el motor está en marcha o está caliente.
No añada ni drene combustible en un lugar cerrado.
No guarde la máquina o un recipiente de combustible en un lugar donde pudiera haber una llama desnuda, chispas o una llama piloto, por ejemplo en un calentador de agua u otro electrodoméstico.
Si se derrama combustible, no intente arrancar el motor; evite crear fuentes de ignición hasta que los vapores del combustible se hayan disipado.
| Intervalo de mantenimiento y servicio | Procedimiento de mantenimiento |
|---|---|
| Cada vez que se utilice o diariamente |
|
Cada día, antes de arrancar la máquina, siga los procedimientos marcados como “Cada uso/A diario” en la sección Lista de comprobación – mantenimiento diario.
| Intervalo de mantenimiento y servicio | Procedimiento de mantenimiento |
|---|---|
| Cada vez que se utilice o diariamente |
|
Especificación de presión del aire de los neumáticos: 0.55–1.03 bar (8–22 psi)
Important: No supere la presión máxima de aire indicada en el flanco de los neumáticos.
Note: La presión del aire de los neumáticos se determina según la carga que piensa llevar.
Compruebe la presión del aire de los neumáticos.
Note: La presión del aire de los neumáticos delanteros y traseros debe ser de 0.55–1.03 bar (8–22 psi).
Utilice una presión de aire más baja para cargas más ligeras, para reducir la compactación del suelo, para una conducción más suave y para minimizar las huellas de los neumáticos en el suelo.
Utilice una presión de aire más alta para transportar cargas más pesadas a mayores velocidades.
Si es necesario, ajuste la presión de los neumáticos añadiendo o quitando aire de los neumáticos.

El motor funciona con combustible diésel nuevo y limpio con un número de octanos mínimo de 40. Compre el combustible en cantidades que puedan ser consumidas en 30 días para asegurarse de que el combustible es nuevo.
Utilice combustible diésel tipo verano (Nº 2-D) a temperaturas superiores a -7 °C (20 °F) y combustible diésel tipo invierno (Nº 1-D o mezcla de Nº 1-D/2-D) a temperaturas inferiores a -7 °C (20 °F). El uso de un combustible diésel de tipo invierno a temperaturas más bajas facilita el arranque y reduce la posibilidad de separación química del combustible por la baja temperatura, gracias a su punto de inflamación y punto de congelación inferiores.
El uso de combustible diésel tipo verano por encima de los -7 °C (20 °F) contribuye a extender la vida de los componentes de la bomba de combustible.
Important: No utilice nunca queroseno o gasolina en lugar de combustible diésel. El incumplimiento de esta precaución dañará el motor.
Capacidad del depósito de combustible: 26.5 litros (7 galones US).
Limpie la zona alrededor del tapón del depósito de combustible.
Retire el tapón del depósito de combustible (Figura 11).

Llene el depósito hasta unos 25 mm (1") por debajo del extremo inferior del cuello de llenado e instale el tapón.
Note: No llene el depósito de combustible en exceso.
Instale el tapón del depósito de combustible firmemente.
Limpie cualquier combustible derramado.
| Intervalo de mantenimiento y servicio | Procedimiento de mantenimiento |
|---|---|
| Después de las primeras 100 horas |
|
Observe las pautas siguientes para asegurar un rendimiento correcto de la máquina.
Asegúrese de que los frenos están bruñidos; consulte Bruñido de los frenos.
Compruebe regularmente los niveles de fluidos y del aceite del motor. Esté atento a señales de sobrecalentamiento de la máquina o de sus componentes.
Después de arrancar un motor frío, deje que se caliente durante unos 15 segundos antes de usar la máquina.
Note: Deje más tiempo para que el motor se caliente si la temperatura es baja.
Varíe la velocidad de la máquina durante el uso. Evite arrancar o detener la máquina de forma súbita.
No es necesario usar aceite de motor especial durante el rodaje. El aceite original del motor es del mismo tipo que el especificado para los cambios de aceite normales.
Consulte respecto a verificaciones especiales en las primeras horas de uso.
Compruebe la posición de la suspensión delantera y ajústela si es necesario; consulte Ajuste de la alineación de las ruedas delanteras.
El propietario/operador puede prevenir y es responsable de cualquier accidente que pudiera provocar lesiones personales o daños materiales.
Los pasajeros deben sentarse únicamente en los asientos provistos. No lleve pasajeros en la plataforma de carga. Mantenga a otras personas y a los niños alejados de la zona de trabajo.
Lleve ropa adecuada, incluida protección ocular, pantalón largo, calzado resistente y antideslizante y protección auditiva. Si tiene el pelo largo, recójaselo, y no lleve joyas o prendas sueltas.
Dedique toda su atención al manejo de la máquina. No realice ninguna actividad que pudiera distraerle; de lo contrario, podrían producirse lesiones o daños materiales.
No utilice la máquina si está enfermo, cansado o bajo la influencia de alcohol o drogas.
Utilice la máquina únicamente en el exterior o en una zona bien ventilada.
No supere el peso bruto máximo (PBV) de la máquina.
Extreme las precauciones al conducir, frenar o girar la máquina con una carga pesada en la plataforma de carga.
El transporte de cargas sobredimensionadas en la plataforma reduce la estabilidad de la máquina. No supere la capacidad de carga de la plataforma.
El transporte de material que no pueda amarrarse a la máquina afecta de manera negativa la dirección, el frenado y la estabilidad de la máquina. Cuando transporte material que no pueda amarrarse a la máquina, extreme las precauciones al cambiar de dirección o frenar.
Reduzca la carga y disminuya la velocidad de avance de la máquina al conducir en terrenos escarpados o irregulares y cerca de bordillos, baches y otros cambios bruscos del terreno. La carga puede desplazarse, haciendo que la máquina pierda estabilidad.
Antes de arrancar la máquina, asegúrese de que las transmisiones están en punto muerto, de que el freno de estacionamiento está accionado y de que se encuentra en la posición del operador.
Usted y sus pasajeros deben permanecer sentados mientras la máquina esté en movimiento. Mantenga las manos sobre el volante; sus pasajeros deben utilizar los asideros provistos. Mantenga los brazos y las piernas dentro de la máquina en todo momento.
Utilice la máquina únicamente si hay buena visibilidad. Esté alerta a baches, surcos, montículos, rocas u otros objetos ocultos. Los terrenos irregulares pueden hacer que la máquina vuelque. La hierba alta puede ocultar obstáculos. Tenga cuidado al acercarse a esquinas ciegas, arbustos, árboles u otros objetos que puedan dificultar la visión.
No conduzca la máquina cerca de terraplenes, fosas o taludes. La máquina podría volcar repentinamente si una rueda pasa más allá del borde o si el terreno del borde cede.
Siempre esté atento a obstáculos salientes de baja altura, como por ejemplo, ramas de árboles, jambas de puertas y pasarelas elevadas, etc. y evítelos.
Mire hacia atrás y hacia abajo antes de conducir hacia atrás para asegurarse de que el camino está despejado.
Si utiliza la máquina en la vía pública, observe todas las normas de tráfico y utilice los accesorios adicionales exigidos por la ley, como por ejemplo luces, intermitentes, señales de vehículo lento (SMV) y cualquier otro que sea necesario.
Si la máquina vibra anormalmente, detenga y apague la máquina inmediatamente, espere hasta que se detenga todo movimiento e inspeccione la máquina para detectar si hay daños. Repare cualquier daño en la máquina antes de volver a utilizarla.
Puede necesitar más tiempo para parar la máquina en superficies mojadas que en superficies secas. Para secar los frenos mojados, conduzca lentamente sobre una superficie nivelada presionando ligeramente el pedal de freno.
Conducir la máquina a alta velocidad y luego pararse rápidamente puede hacer que se bloqueen las ruedas traseras, lo que dificulta el control de la máquina.
No toque el motor, la transmisión, el silenciador o el colector del silenciador con el motor en marcha o poco después de apagar el motor, porque estas zonas podrían estar lo suficientemente calientes para causar quemaduras.
No deje desatendida la máquina si está en marcha.
Antes de abandonar la posición del operador, haga lo siguiente:
Aparque la máquina en una superficie nivelada.
Mueva la transmisión a la posición de PUNTO MUERTO.
Ponga el freno de estacionamiento.
Apague el motor y retire la llave.
Espere a que se detenga todo movimiento.
No use la máquina si hay riesgo de tormentas eléctricas.
Utilice únicamente accesorios y aperos homologados por The Toro® Company.
Note: Un sistema de protección antivuelco (ROPS) de 2 postes está disponible como accesorio para esta máquina. Utilice un ROPS si va a trabajar junto a terraplenes, cerca del agua, en terrenos irregulares o en pendientes, lo que podría provocar un vuelco. Póngase en contacto con su distribuidor autorizado Toro para obtener más información.
Las pendientes son una de las principales causas de accidentes por pérdida de control y vuelcos, que pueden causar lesiones graves o la muerte.
Estudie el lugar de trabajo para determinar las pendientes en las que es posible usar la máquina con seguridad, y establezca sus propios procedimientos y reglas para trabajar en dichas pendientes. Utilice siempre el sentido común y el buen juicio al realizar este estudio.
Si no se siente cómodo usando la máquina en una pendiente, no lo haga.
Haga todos los movimientos en pendientes de forma lenta y gradual. No cambie repentinamente la velocidad o la dirección de la máquina.
Evite utilizar la máquina sobre terreno húmedo. Los neumáticos pueden perder la tracción. Puede producirse un vuelco antes de que los neumáticos pierdan tracción.
Suba y baje las pendientes en línea recta hacia arriba o hacia abajo.
Si la máquina no puede avanzar al subir una pendiente, aplique paulatinamente los frenos y baje la pendiente en línea recta, a baja velocidad, en marcha atrás.
Puede ser peligroso girar mientras se sube o se baja una pendiente. Si es imprescindible girar en una pendiente, hágalo lentamente y con cuidado.
Las cargas pesadas afectan a la estabilidad en las pendientes. Reduzca el peso de la carga y disminuya la velocidad de avance al conducir por una pendiente o si la carga tiene un centro de gravedad alto. Sujete la carga a la plataforma de carga de la máquina para evitar que la carga se desplace. Extreme las precauciones al transportar cargas que se desplazan con facilidad (por ejemplo, líquidos, piedras, arena, etc.).
Evite arrancar, parar o girar la máquina en una pendiente, sobre todo si lleva carga. El vehículo tarda más en parar cuando baja una pendiente que cuando lo hace en un terreno plano. Si es imprescindible parar la máquina, evite cambios repentinos de velocidad, que pueden hacer que la máquina empiece a volcar o a rodar. No frene bruscamente al desplazarse hacia atrás, porque la máquina podría volcar.
No supere el peso bruto vehicular (PBV) de la máquina al utilizarla con una carga en la plataforma y/o para tirar de un remolque; consulte Especificaciones.
Distribuya la carga uniformemente en la plataforma para mejorar la estabilidad y el control de la máquina.
Antes de volcar la carga, compruebe que no hay nadie detrás de la máquina.
No vuelque la carga cuando la máquina está de través en una pendiente. El cambio en la distribución del peso puede hacer que la máquina vuelque.
Una plataforma elevada puede caerse y herir a una persona que esté trabajando debajo esta.
Utilice siempre la varilla de sujeción para mantener la plataforma en posición elevada antes de realizar trabajos debajo de esta.
Retire cualquier material de la plataforma antes de elevarla.
Si se conduce la máquina con la plataforma de carga elevada, la máquina puede inclinarse o volcar más fácilmente. Conducir la máquina con la plataforma elevada podría dañar la estructura de la plataforma de carga.
Utilice la máquina únicamente con la plataforma de carga bajada.
Después de vaciar la plataforma de carga, bájela.
Si la carga está concentrada cerca de la parte trasera de la plataforma de carga y usted abre los enganches, la plataforma puede inclinarse inesperadamente y abrirse, y causar lesiones a usted o a otras personas.
Si es posible, centre la carga en la plataforma.
Sujete la plataforma de carga en posición bajada y asegúrese de que no haya nadie apoyado en la plataforma ni detrás de esta antes de abrir los enganches.
Retire toda la carga de la plataforma antes de elevar la plataforma para realizar tareas de mantenimiento en la máquina.
El peso de la plataforma puede ser muy elevado. Puede aplastar las manos u otras partes del cuerpo.
Mantenga alejadas las manos y otras partes del cuerpo mientras baja la plataforma.
Asegúrese de que la plataforma de carga está bajada y enganchada.
Tire hacia arriba del portón usando los tiradores del panel trasero (Figura 14).

Alinee las pestañas de bloqueo del portón trasero con los huecos situados entre las pestañas del portón trasero de la plataforma de carga (Figura 14).
Gire el portón trasero hacia atrás y hacia abajo (Figura 14).
Si ha descargado material suelto como arena, gravilla o virutas de madera de la plataforma de carga de la máquina, parte del material descargado puede haberse quedado atrapado en la zona de la bisagra del portón trasero. Antes de cerrar el portón trasero, haga lo siguiente.
Retire la mayor cantidad posible de la zona de la bisagra con las manos.
Gire el portón trasero a un ángulo de 45° aproximadamente (Figura 15).

Mueva el portón trasero varias veces hacia adelante y hacia atrás con breves sacudidas (Figura 15).
Note: Esto ayuda a mover el material de la zona de la bisagra.
Baje el portón trasero y compruebe si queda material en la zona de la bisagra.
Repita los pasos 1 a 4 hasta que haya eliminado todo el material de la zona de la bisagra.
Gire el portón hacia arriba y hacia adelante hasta que las pestañas de bloqueo del portón trasero estén enrasadas con el hueco de la plataforma de carga (Figura 14).
Note: Eleve o baje el portón para alinear las pestañas de bloqueo del portón trasero con los huecos verticales situados entre las pestañas del portón de la plataforma de carga.
Baje el portón hasta que quede apoyado en la parte trasera de la plataforma de carga (Figura 14).
Note: Las pestañas de bloqueo del portón quedan firmemente sujetas por las pestañas de la plataforma de carga.
Important: No intente empujar o remolcar la máquina para arrancarla.
Siéntese en el asiento del operador, inserte la llave en el interruptor de encendido, pise el freno y gire la llave en sentido horario a la posición de CONECTADO.
Note: Si la alarma de marcha atrás está instalada y el selector de marchas está en MARCHA ATRáS, sonará un zumbador como advertencia para el operador.
Cuando el indicador de la bujía se apague, gire la llave en sentido horario a la posición de ARRANQUE.
Cuando el motor arranque, gire la llave en sentido antihorario a la posición de MARCHA.
Quite el freno de estacionamiento.
Important: Al detener la máquina en una pendiente, utilice los frenos de servicio para detener la máquina y ponga el freno de estacionamiento para mantener la posición. El uso del acelerador para calar la máquina en una cuesta o pendiente podría dañar la máquina.
Retire el pie del pedal del acelerador.
Pise lentamente el pedal de freno para aplicar los frenos de servicio hasta que la máquina se detenga por completo.
Note: La distancia de parada puede variar, dependiendo de la carga y la velocidad de la máquina.
Aparque la máquina en una superficie nivelada.
Ponga el freno de estacionamiento.
Gire el interruptor a la posición de DESCONECTADO y retire la llave.
Siga estas pautas para cargar la plataforma y utilizar la máquina:
Observe la capacidad de carga de la máquina y limite el peso de la carga transportada en la plataforma, según se describe en Especificaciones y en la etiqueta de peso bruto del vehículo de la máquina.
Note: La carga nominal especificada se refiere al uso de la máquina en una superficie nivelada solamente.
Reduzca el peso de la carga de la plataforma al conducir por una cuesta o por terrenos escarpados.
Reduzca el peso de la carga si los materiales son altos (y si tienen un centro de gravedad alto), como por ejemplo una pila de ladrillos, vigas de madera o sacos de fertilizante. Distribuya la carga al nivel más bajo posible para que no reduzca la visibilidad por detrás de la máquina durante la conducción.
Mantenga las cargas centradas cargando la plataforma como se indica a continuación:
distribuya el peso uniformemente de un lado a otro de la plataforma.
Important: Los vuelcos son más probables si la carga está desplazada hacia un lado.
Distribuya el peso de la carga uniformemente desde adelante hacia atrás.
Important: Puede perder el control de la dirección o la máquina puede volcar si coloca la carga detrás del eje trasero y se reduce la tracción de los neumáticos delanteros.
Extreme las precauciones al transportar cargas sobredimensionadas en la plataforma, sobre todo si no es posible centrar el peso de la carga sobredimensionada en la plataforma de carga.
Siempre que sea posible, amarre la carga a la plataforma de carga para que no se mueva.
Si transporta líquidos, extreme las precauciones al conducir la máquina cuesta arriba o cuesta abajo, al cambiar repentinamente de velocidad o detenerse súbitamente, o al conducir sobre terrenos escarpados.
La capacidad de la caja de carga es de 0.37 m3 (13 pies3). La cantidad (el volumen) de material que se puede cargar en la plataforma sin superar la carga nominal de la máquina puede variar mucho, dependiendo de la densidad del material.
La tabla siguiente muestra los límites de carga (volumen) para diversos materiales:
| Material | Densidad | Capacidad máxima de la caja de carga(en terreno llano) |
| Gravilla seca | 1522 kg/m3 (95 libras/pie3) | Llena |
| Gravilla mojada | 1922 kg/m3 (120 libras/pie3) | ¾ llena |
| Arena seca | 1442 kg/m3 (90 libras/pie3) | Llena |
| Arena mojada | 1922 kg/m3 (120 libras/pie3) | ¾ llena |
| Madera | 721 kg/m3 (45 libras/pie3) | Llena |
| Corteza | <721 kg/m3 (<45 libras/pie3) | Llena |
| Tierra compactada | 1602 kg/m3 (100 libras/pie3) | ¾ llena (aproximadamente) |
Antes de abandonar la posición del operador, haga lo siguiente:
Aparque la máquina en una superficie nivelada.
Mueva la transmisión a la posición de PUNTO MUERTO.
Ponga el freno de estacionamiento.
Apague el motor y retire la llave.
Espere a que se detenga todo movimiento.
Deje que se enfríe la máquina antes de hacer trabajos de ajuste, mantenimiento, limpieza o almacenamiento.
No guarde la máquina en un lugar donde pudiera haber una llama abierta, chispas o una llama piloto, por ejemplo en un calentador de agua u otro electrodoméstico.
Mantenga todas las piezas en buen estado de funcionamiento y todas las fijaciones apretadas.
Realice el mantenimiento de los cinturones de seguridad y límpielos cuando sea necesario.
Sustituya cualquier pegatina desgastada, deteriorada o que falte.
Tenga cuidado al cargar la máquina a un remolque o un camión o descargarla.
Utilice rampas de ancho completo para cargar la máquina en un remolque o un camión.
Amarre la máquina firmemente.
Consulte en la Figura 16 y Figura 17 la ubicación de los puntos de amarre de la máquina.
Note: Cargue la máquina en el remolque con la parte delantera de la máquina hacia adelante. Si esto no es posible, sujete el capó de la máquina al bastidor con una correa o retire el capó y transpórtelo por separado, correctamente amarrado; de lo contrario, el capó puede salir despedido durante el transporte.


En caso de emergencia, es posible remolcar la máquina una corta distancia; no obstante, esto no debe convertirse en procedimiento de operación habitual.
Remolcar a velocidades excesivas podría provocar una pérdida de control de la dirección y causar lesiones personales.
No remolque la máquina nunca a más de 8 km/h (5 mph).
Remolcar la máquina requiere el trabajo de dos personas. Si es imprescindible trasladar la máquina una distancia considerable, transpórtela sobre un camión o un remolque; consulte Remolques.
Retire la correa de transmisión de la máquina; consulte Sustitución de la correa de transmisión.
Conecte un cable de remolque al punto de remolque, en la parte delantera del bastidor de la máquina (Figura 16).
Ponga la transmisión en PUNTO MUERTO y quite el freno de estacionamiento.
La máquina es capaz de tirar de un remolque. Hay un enganche de remolque disponible para la máquina. Para más detalles, póngase en contacto con el Servicio Técnico Autorizado.
Al transportar cargas o tirar de un remolque, no sobrecargue la máquina el remolque. La sobrecarga de la máquina o del remolque puede causar un bajo rendimiento o dañar los frenos, el eje, el motor, el transeje, la dirección, la suspensión, el chasis o los neumáticos.
Cargue siempre el remolque con el 60% del peso de la carga en la parte delantera del remolque. Esto coloca el 10% aproximadamente del peso bruto de remolque (PBR) sobre el enganche de remolque de la máquina.
Para lograr un frenado y una tracción eficaces, siempre lleve carga en la plataforma mientras use un remolque. No supere los pesos límite de peso bruto del vehículo o del remolque.
Evite aparcar la máquina con remolque en una cuesta o pendiente. Si es imprescindible aparcar en una cuesta o pendiente, ponga el freno de estacionamiento y calce las ruedas del remolque.
No permita que la máquina reciba mantenimiento de personas que no hayan recibido una formación adecuada.
Antes de abandonar la posición del operador, haga lo siguiente:
Aparque la máquina en una superficie nivelada.
Mueva la transmisión a la posición de PUNTO MUERTO.
Ponga el freno de estacionamiento.
Apague el motor y retire la llave.
Espere a que se detenga todo movimiento.
Deje que se enfríe la máquina antes de hacer trabajos de ajuste, mantenimiento, limpieza o almacenamiento.
Apoye la máquina sobre patas de apoyo cada vez que trabaje debajo de la máquina.
Nunca trabaje bajo una plataforma elevada sin tener colocado el soporte de seguridad correcto de la plataforma.
No cargue las baterías durante el mantenimiento de la máquina.
Para asegurarse de que la máquina está en buenas condiciones, mantenga todas las fijaciones bien apretadas.
Para reducir el peligro de incendio, mantenga la máquina sin demasiada grasa, hierba, hojas y acumulación de suciedad.
Si es posible, no realice tareas de mantenimiento con la máquina en marcha. Manténgase alejado de las piezas en movimiento.
Si la máquina debe estar en marcha para realizar un ajuste, mantenga las manos, los pies, el resto del cuerpo y la ropa alejados de cualquier pieza en movimiento. No deje que nadie se acerque a la máquina.
Limpie cualquier aceite o combustible derramado.
Compruebe el funcionamiento del freno de estacionamiento según lo recomendado en el calendario de mantenimiento, y realice los ajustes y el mantenimiento necesarios.
Mantenga todas las piezas en buen estado de funcionamiento y todas las fijaciones bien apretadas. Sustituya cualquier pegatina desgastada o deteriorada.
No interfiera nunca con la funcionalidad prevista de un dispositivo de seguridad, ni reduzca la protección proporcionada por un dispositivo de seguridad.
No aumente excesivamente el régimen del motor cambiando los ajustes del regulador. Para garantizar la seguridad y la precisión, haga que un Servicio Técnico Autorizado compruebe la velocidad máxima del motor con un taquímetro.
Si alguna vez es necesario efectuar reparaciones importantes, o si usted necesita ayuda, póngase en contacto con un distribuidor autorizado Toro.
La modificación de esta máquina de cualquier manera puede afectar su operación, su rendimiento, su durabilidad o su uso podría causar lesiones o la muerte. Dicho uso podría invalidar la garantía de The Toro® Company.
| Intervalo de mantenimiento y servicio | Procedimiento de mantenimiento |
|---|---|
| Después de las primeras 8 horas |
|
| Después de las primeras 50 horas |
|
| Después de las primeras 100 horas |
|
| Cada vez que se utilice o diariamente |
|
| Cada 100 horas |
|
| Cada 150 horas |
|
| Cada 200 horas |
|
| Cada 300 horas |
|
| Cada 400 horas |
|
| Cada 600 horas |
|
| Cada 800 horas |
|
| Cada 1000 horas |
|
Note: Para descargar una copia gratuita del esquema eléctrico, visite www.Toro.com y busque su máquina en el enlace Manuales de la página de inicio.
Important: Consulte los procedimientos adicionales de mantenimiento del manual del propietario del motor.
Si no se mantiene la máquina correctamente, podrían producirse fallos prematuros en los sistemas de la máquina, causando posibles lesiones a usted o a otras personas.
Mantenga la máquina en buenas condiciones de funcionamiento y realice correctamente todo el mantenimiento, según lo indicado en estas instrucciones.
El mantenimiento, las reparaciones, los ajustes o las inspecciones de la máquina solo deben ser realizados por personal debidamente cualificado y autorizado.
Evite riesgos de incendio y tenga a mano equipos de prevención de incendios en la zona de trabajo. No utilice una llama desnuda para comprobar los niveles de fluido o para buscar fugas de combustible, electrolito de la batería o refrigerante.
No utilice recipientes abiertos de combustible o de líquidos de limpieza inflamables para limpiar piezas.
Si deja la llave en el interruptor, alguien podría arrancar el motor accidentalmente y causar lesiones graves a usted o a otras personas.
Apague el motor y retire la llave del interruptor antes de realizar cualquier operación de mantenimiento.
Duplique esta página para su uso rutinario.
| Elemento a comprobar | Para la semana de: | ||||||
|---|---|---|---|---|---|---|---|
| Lunes | Martes | Miércoles | Jueves | Viernes | Sábado | Domingo | |
| Compruebe la operación del freno y del freno de estacionamiento. | |||||||
| Compruebe la operación del cambio de marchas/punto muerto. | |||||||
| Compruebe el nivel de combustible. | |||||||
| Compruebe el nivel de aceite del motor. | |||||||
| Compruebe el nivel del líquido de frenos. | |||||||
| Compruebe el nivel de fluido del transeje. | |||||||
| Inspeccione el filtro de aire. | |||||||
| Inspeccione las aletas de refrigeración del motor. | |||||||
| Compruebe que no hay ruidos extraños en el motor. | |||||||
| Compruebe que no hay ruidos extraños durante el uso. | |||||||
| Compruebe la presión de los neumáticos. | |||||||
| Compruebe que no hay fugas de fluidos. | |||||||
| Compruebe la operación de los instrumentos. | |||||||
| Compruebe la operación del acelerador. | |||||||
| Lave la máquina. | |||||||
| Retoque cualquier pintura dañada. | |||||||
Important: Si la máquina está sujeta a alguna de las condiciones indicadas a continuación, el intervalo de mantenimiento debe ser la mitad de lo indicado:
Operación en el desierto
Operación en climas fríos – por debajo de 10 °C (50 °F)
Uso de remolques
Operación frecuente en condiciones de mucho polvo
Trabajos de construcción
Después de trabajar durante un tiempo prolongado en barro, arena, agua o condiciones similares de suciedad, haga lo siguiente:
haga inspeccionar y limpiar los frenos lo antes posible. Esto impedirá que los materiales abrasivos causen un desgaste excesivo.
Lave la máquina con agua sola o con detergente suave.
Important: No utilice agua salobre o reciclada para limpiar la máquina.
Muchos de los procedimientos cubiertos en esta sección de mantenimiento requieren que se eleve y se baje la plataforma. Para evitar lesiones graves o la muerte, tome las precauciones siguientes.
Aparque la máquina en una superficie nivelada.
Mueva la transmisión a la posición de PUNTO MUERTO.
Ponga el freno de estacionamiento.
Apague el motor y retire la llave.
Vacíe y eleve la plataforma de carga.
La máquina puede volverse inestable si se usa un gato. La máquina podría caerse del gato y herir a cualquier persona que se encuentre debajo.
No arranque la máquina mientras esté sobre un gato.
Retire siempre la llave del interruptor de encendido antes de bajarse de la máquina.
Bloquee las ruedas mientras la máquina esté apoyada en un equipo de elevación.
Utilice patas de apoyo para apoyar la máquina una vez que la haya elevado.
Important: Antes de poner en marcha el motor para operaciones rutinarias de mantenimiento y/o diagnóstico, eleve las ruedas traseras de la máquina 25 mm (1") del suelo con el eje trasero apoyado en patas de apoyo.
El punto de elevación de la parte delantera de la máquina se encuentra en la parte delantera del bastidor, detrás del punto de remolque (Figura 18).

El punto de elevación de la parte trasera de la máquina se encuentra debajo de los tubos del eje (Figura 19).

| Intervalo de mantenimiento y servicio | Procedimiento de mantenimiento |
|---|---|
| Cada 300 horas |
|
Especificación de grasa: Mobilgrease XHP™-222
Levante la parte delantera de la máquina y apóyela sobre patas de apoyo.
Retire las 4 tuercas que sujetan la rueda al cubo (Figura 21).

Retire los pernos con arandela prensada (⅜" x ¾") que sujetan el soporte del conjunto de freno al eje y separe el freno del eje (Figura 22).
Note: Apoye el conjunto de freno antes de continuar con el paso siguiente.

Retire el tapón guardapolvo del cubo (Figura 23).

Retire la chaveta y el retén del eje y la tuerca del eje (Figura 23).
Retire la tuerca del eje y separe el conjunto de cubo y rotor del eje (Figura 23 y Figura 24).

Limpie el eje con un trapo.
Repita los pasos 1 a 7 con el cubo y el rotor en el otro lado de la máquina.
Retire el cojinete exterior y el anillo de rodadura del cubo (Figura 25).

Retire la junta y el cojinete interior del cubo (Figura 25).
Limpie la junta y compruebe que no está desgastada o dañada.
Note: No utilice disolvente para limpiar la junta. Sustituya la junta si está desgastada o dañada.
Limpie los cojinetes y los anillos de rodadura y compruebe que estas piezas no están desgastadas ni dañadas.
Note: Sustituya cualquier pieza que esté desgastada o dañada. Asegúrese de que todos los cojinetes y anillos de rodadura están limpios y secos.
Limpie el hueco del cubo para eliminar cualquier resto de grasa, suciedad y residuos (Figura 25).
Llene los cojinetes con la grasa especificada.
Llene el hueco del cubo hasta un 50 a 80% de su capacidad con la grasa especificada (Figura 25).
Monte el cojinete interior sobre el anillo en el lado interior del cubo e instale la junta (Figura 25).
Repita los pasos 1 a 8 con los cojinetes del otro cubo.
Aplique una ligera capa de la grasa especificada en el eje (Figura 26).

Monte el cubo y el rotor en el eje con el rotor hacia dentro (Figura 26).
Monte el cojinete exterior en el eje y acople el cojinete al anillo de rodadura exterior (Figura 26).
Monte la arandela con pestaña en el eje (Figura 26).
Enrosque la tuerca en el eje y apriétela a 15 N∙m (11 pulgadas-libra), mientras gira el cubo para acoplar el cojinete (Figura 26).
Afloje la tuerca del eje hasta que el cubo gire libremente.
Apriete la tuerca del eje a 170–225 N∙cm (15–20 pulgadas-libra).
Coloque el retén sobre la tuerca y compruebe la alineación de la ranura del retenedor y el orificio de la chaveta del eje (Figura 27).
Note: Si la ranura del retén y el orificio del eje no están alineados, apriete la tuerca del eje para alinear la ranura y el orificio, hasta un par de apriete máximo de 226 N∙cm (20 pulgadas-libra) sobre la tuerca.

Instale la chaveta y doble las patas alrededor del retén (Figura 27).
Instale el tapón guardapolvo sobre el cubo (Figura 27).
Repita los pasos 1 a 10 con el cubo y el rotor en el otro lado de la máquina.
Limpie los dos pernos con arandela prensada (⅜" x ¾") y aplique una capa de fijador de roscas de resistencia media a las roscas de los pernos.
Alinee las pastillas de freno en cada lado del rotor (Figura 22) y los orificios del soporte de la pinza con los orificios en el montaje del freno del eje (Figura 26).
Sujete el soporte de la pinza al eje (Figura 22) usando los 2 pernos con arandela prensada (⅜" x ¾").
Apriete los 2 pernos con arandela prensada a 47–54 N∙m (35-40 pies-libra).
Alinee los orificios de la rueda con los espárragos del cubo y monte la rueda en el cubo con el vástago de la válvula hacia fuera (Figura 21).
Note: Asegúrese de que la superficie de montaje de la rueda queda a ras del cubo.
Sujete la rueda al cubo usando las tuercas de las ruedas (Figura 21).
Apriete las tuercas de las ruedas a 108–122 N∙m (80–90 pies-libra).
Repita los pasos 1 a 5 con el freno y la rueda en el otro lado de la máquina.
Apague el motor, retire la llave y espere a que se detengan todas las piezas en movimiento antes de comprobar el aceite o añadir aceite al cárter.
Mantenga las manos, los pies, la cara, la ropa y otras partes del cuerpo alejados del silenciador y otras superficies calientes.
| Intervalo de mantenimiento y servicio | Procedimiento de mantenimiento |
|---|---|
| Cada 100 horas |
|
Note: Revise el limpiador de aire con mayor frecuencia en condiciones de trabajo de mucho polvo o arena.
Eleve la plataforma y asegúrela con la varilla de sujeción.
Inspeccione la carcasa del filtro de aire en busca de daños que pudieran causar una fuga de aire (Figura 28).
Note: Asegúrese de que la tapa del filtro de aire hace un buen sello alrededor de la carcasa del filtro de aire.
Note: Si la tapa o la carcasa del filtro de aire está dañada, sustitúyala.

Tire hacia fuera del enganche y gire la filtro de aire en sentido antihorario (Figura 28).
Retire la tapa de la carcasa del filtro de aire.
Retire suavemente el elemento del filtro de aire de la carcasa del filtro de aire (Figura 28) para reducir la cantidad de polvo desplazado.
Note: Evite golpear el filtro contra la carcasa del filtro de aire.
Inspeccione el elemento del filtro de aire.
Si el elemento del filtro de aire está limpio, instale el elemento del filtro.
Si el elemento del filtro de aire está dañado, cambie el elemento; consulte Cambio del filtro de aire.
Retire el elemento del filtro de aire.
Inspeccione el filtro nuevo por si hubiera resultado dañado durante el transporte.
Note: Compruebe el extremo del filtro que contiene la junta.
Important: No instale un filtro dañado.
Instale el filtro de aire nuevo; consulte Instalación del filtro de aire.
Important: Para evitar dañar el motor, no ponga el motor en marcha sin que esté instalado el conjunto completo del filtro de aire.
Note: No utilice el elemento si está dañado.
Note: No se recomienda limpiar el elemento usado del filtro de aire debido a la posibilidad de causar daños en el medio filtrante.
Limpie el orificio de expulsión de suciedad situado en la tapa del filtro de aire (Figura 28).
Retire la válvula de salida de goma de la cubierta, limpie el hueco y cambie la válvula de salida (Figura 28).
Introduzca el elemento del filtro de aire en la carcasa del filtro de aire presionando el borde exterior del elemento para asentarlo en la carcasa del filtro de aire (Figura 28).
Note: Asegúrese de que el filtro hace un buen sello aplicando presión al borde exterior del filtro durante la instalación. No presione el centro flexible del filtro.
Alinee la tapa del filtro de aire con la carcasa del filtro de aire, con la válvula de salida de goma hacia abajo (entre las 5 y las 7 aproximadamente, visto desde el extremo) como se muestra en la Figura 28.
Sujete la tapa a la carcasa con los enganches (Figura 28).
Baje la plataforma de carga.
Note: Cambie el aceite con más frecuencia en condiciones de trabajo de mucho polvo o arena.
Note: Elimine el aceite de motor y los filtros usados en un centro de reciclaje homologado.
Tipo de aceite:Aceite detergente (servicio API CH-4, CI-4, CJ-4 o superior)
Capacidad del cárter: 1.4 litros (1.5 cuartos de galón US) si se cambia el filtro
Viscosidad: Consulte la tabla siguiente.

| Intervalo de mantenimiento y servicio | Procedimiento de mantenimiento |
|---|---|
| Cada vez que se utilice o diariamente |
|
Aparque la máquina en una superficie nivelada.
Ponga el freno de estacionamiento.
Apague el motor y retire la llave.
Eleve la plataforma de carga.
Utilice un trapo para limpiar alrededor de la varilla de aceite (Figura 30) para impedir que caiga suciedad por el tubo/cuello de llenado de aceite y cause daños en el motor.

Retire la varilla y límpiela con un trapo.
Introduzca la varilla en el tubo de la varilla y asegúrese de que está correctamente asentada (Figura 30).
Retire la varilla y observe el extremo.
Note: Añada el aceite lentamente y compruebe el nivel de aceite a menudo durante este proceso. No llene el motor demasiado de aceite.
Instale la varilla de aceite y asiéntela firmemente (Figura 30).
Baje la plataforma de carga.
| Intervalo de mantenimiento y servicio | Procedimiento de mantenimiento |
|---|---|
| Después de las primeras 50 horas |
|
| Cada 150 horas |
|
Aparque la máquina en una superficie nivelada.
Ponga el freno de estacionamiento.
Arranque el vehículo y deje el motor en marcha durante unos minutos.
Pare el motor y retire la llave.
Eleve la plataforma y asegúrela con la varilla de sujeción.
Desconecte el cable negativo de la batería; consulte Desconexión de la batería.
Coloque un recipiente debajo del tapón de vaciado (Figura 31).

Retire el tapón de vaciado (Figura 31).
Note: Deje que se drene por completo el aceite del motor.
Instale el tapón de vaciado y la junta (Figura 31) y apriete a 45–53 N∙m (33–39 pies-libra).
Vierta aceite por el orificio de llenado hasta que el nivel llegue a la marca "Full" (Lleno) de la varilla.
Añada el aceite lentamente y controle a menudo el nivel durante este proceso.
Note: No llene demasiado el motor de aceite.
Coloque el tapón de llenado de aceite y la varilla firmemente.
Conecte la batería y baje la plataforma de carga.
| Intervalo de mantenimiento y servicio | Procedimiento de mantenimiento |
|---|---|
| Después de las primeras 50 horas |
|
| Cada 150 horas |
|
Drene el aceite del motor.
Retire el filtro de aceite (Figura 31).
Aplique una capa fina de aceite limpio a la junta del filtro nuevo.
Enrosque el filtro nuevo sobre el adaptador del filtro hasta que la junta toque la placa de montaje, luego apriete el filtro ½ – ¾ de vuelta más (Figura 31).
Important: No apriete demasiado el filtro de aceite.
Llene el cárter con el aceite especificado (Figura 29).
Arranque el motor y compruebe que no hay fugas de aceite.
Apague el motor y compruebe el nivel de aceite del motor.
Note: Si es necesario, añada aceite del tipo especificado al motor hasta que el nivel llegue a la marca "Full" (Lleno) de la varilla.
| Intervalo de mantenimiento y servicio | Procedimiento de mantenimiento |
|---|---|
| Cada 400 horas |
|
Inspeccione los tubos de combustible, las fijaciones y las abrazaderas en busca de señales de fugas o deterioro, daño y conexiones mal apretadas.
Note: Repare cualquier componente del sistema de combustible que esté dañado o que tenga fugas antes de usar la máquina.
| Intervalo de mantenimiento y servicio | Procedimiento de mantenimiento |
|---|---|
| Cada 800 horas |
|
Eleve la plataforma y asegúrela con la varilla de sujeción.
Gire el interruptor a la posición de DESCONECTADO y retire la llave.
Coloque un recipiente debajo del filtro de combustible.
Desenrosque el filtro de combustible del soporte (Figura 32).

Instale el filtro nuevo girándolo hasta que el filtro entre en contacto con la parte superior del soporte, luego apriételo tres cuartos de vuelta más.
Desconecte la batería antes de reparar la máquina. Desconecte primero el terminal negativo y luego el positivo. Conecte primero el terminal positivo y luego el negativo.
Cargue la batería en una zona abierta y bien ventilada, lejos de chispas y llamas. Desenchufe el cargador antes de conectar o desconectar la batería. Lleve ropa protectora y utilice herramientas aisladas.
Voltaje de la batería: 12 V con 300 A (arranque en frío) a -18 °C (0 °F).
Mantenga siempre la batería limpia y completamente cargada.
Si los bornes de la batería están corroídos, límpielos con una disolución de 4 partes de agua y 1 parte de bicarbonato sódico.
Aplique una ligera capa de grasa en los terminales de la batería para evitar la corrosión.
Un enrutado incorrecto de los cables de la batería podría dañar la máquina y los cables, causando chispas. Las chispas podrían hacer explotar los gases de la batería, causando lesiones personales.
Desconecte siempre el cable negativo (negro) de la batería antes de desconectar el cable positivo (rojo).
Conecte siempre el cable positivo (rojo) de la batería antes de conectar el cable negativo (negro).
Coloque siempre la correa de la batería para proteger y fijar la batería.
Los bornes de la batería o una herramienta metálica podrían hacer cortocircuito si entran en contacto con los componentes metálicos de la máquina, causando chispas. Las chispas podrían hacer explotar los gases de la batería, causando lesiones personales.
Al retirar o colocar la batería, no deje que los bornes toquen ninguna parte metálica de la máquina.
No deje que las herramientas metálicas hagan cortocircuito entre los bornes de la batería y las partes metálicas de la máquina.
Desconecte los cables de la batería; consulte Desconexión de la batería.
Retire la contratuerca, el perno de cuello cuadrado y la abrazadera que sujetan la batería a la bandeja de la batería (Figura 33).
Retire la batería de su bandeja (Figura 33).
Alinee la batería con la bandeja de la batería de la máquina (Figura 33).
Note: Asegúrese de que los bornes positivo y negativo de la batería están alineados como se muestra en la Figura 33.
Sujete la batería a la bandeja de la batería con la abrazadera, el perno de cuello cuadrado y la contratuerca (Figura 33).
Desconecte los cables de la batería; consulte Conexión de la batería.
El proceso de carga de la batería produce gases que pueden explotar.
No fume cerca de la batería, y mantenga alejada de la batería cualquier chispa o llama.
Important: Mantenga siempre la batería completamente cargada. Esto es especialmente importante para evitar daños a la batería cuando la temperatura está por debajo de los 0 ºC (32 °F).
Retire la batería de la máquina; consulte Desconexión de la batería.
Conecte un cargador de baterías de 3 a 4 amperios a los bornes de la batería. Cargue la batería a 3 – 4 amperios durante 4 a 8 horas (12 V).
Note: No cargue demasiado la batería.
Instale la batería; consulte Instalación de la batería.
Si la máquina va a estar inactiva durante más de 30 días, retire la batería y cárguela totalmente. Guárdela en una estantería o en la máquina. Deje desconectados los cables si la guarda en la máquina. Guarde la batería en un ambiente fresco para evitar el rápido deterioro de la carga. Para evitar que la batería se congele, asegúrese de que está totalmente cargada.
Hay 7 fusibles en el sistema eléctrico. Se encuentran debajo del asiento (Figura 34).
| Alarma/Alimentación USB | 10 A |
| Motor | 10 A |
| Faros | 10 A |
| Fusible de la máquina | 15 A |
| Barra de | 15 A |
| Elevación trasera | 15 A |
| Claxon | 30 A |

Si instala una lámpara de mayor potencia (vatios) que la especificada, puede dañar el suministro eléctrico de 12 V, o como mínimo, fundir el fusible.
Utilice siempre la lámpara LED de Toro especificada para evitar este problema.
Las lámparas alcanzan temperaturas extremadamente altas durante el funcionamiento. Manejar una lámpara caliente puede causar graves quemaduras y lesiones personales.
Siempre deje que se enfríen las lámparas antes de cambiarlas. Tenga cuidado al manipular las lámparas.
Especificación: consulte el Catálogo de piezas.
Desconecte la batería; consulte Desconexión de la batería.
Abra el capó.
Desconecte el conector eléctrico del arnés de cables del conector de la lámpara, en la parte trasera de la carcasa del faro (Figura 35).

Retire el conjunto de la lámpara girándola ¼ de vuelta en sentido antihorario y desplazándola hacia atrás (Figura 35).
Instale el conjunto de lámpara nueva y la carcasa del faro y alinee las pestañas del conjunto de la lámpara con las ranuras de la carcasa del faro (Figura 35).
Sujete el conjunto de la lámpara girándola ¼ de vuelta en sentido antihorario (Figura 35).
Conecte el conector eléctrico del arnés de cables al conector del conjunto de la lámpara nueva (Figura 35).
Conecte la batería y cierre el capó; consulte Conexión de la batería.
Desconecte la batería; consulte Desconexión de la batería.
Abra el capó; consulte Apertura del capó.
Desconecte el conector eléctrico del arnés de cables del conector del conjunto de la luz (Figura 36).

Retire los conectores rápidos que sujetan el faro al soporte del faro (Figura 36).
Note: Guarde todas las piezas para la instalación del faro nuevo.
Retire el conjunto del faro desplazándolo hacia adelante y pasándolo por el hueco del parachoques delantero (Figura 36).
Introduzca el faro nuevo a través del hueco del parachoques (Figura 36).
Note: Asegúrese de que las clavijas de ajuste quedan alineadas con los orificios del soporte de montaje, detrás del parachoques.
Sujete el conjunto del faro con los conectores rápidos que se retiraron en el paso (4).
Conecte el conector eléctrico del arnés de cables al conector del conjunto de la luz (Figura 36).
Ajuste los faros para orientar los haces según se desee; consulte Ajuste de los faros.
Utilice el procedimiento siguiente para ajustar la posición de los haces de luz después de cambiar o reinstalar un faro.
Gire la llave a la posición de CONECTADO y encienda los faros.
En la parte trasera del faro, gire los tornillos de ajuste (Figura 36) para pivotar el conjunto y ajustar de la posición del haz de luz.
| Intervalo de mantenimiento y servicio | Procedimiento de mantenimiento |
|---|---|
| Cada 100 horas |
|
Inspeccione los neumáticos y las llantas en busca de señales de daños y desgaste.
Note: Dado que los accidentes ocurridos durante el uso, como golpear un bordillo, pueden dañar los neumáticos o las llantas e incluso afectar la alineación del volante, es necesario inspeccionar los neumáticos después de dichos accidentes.
Apriete las tuercas de las ruedas a 108–122 N∙m (80–90 pies-libra).
| Intervalo de mantenimiento y servicio | Procedimiento de mantenimiento |
|---|---|
| Cada 100 horas |
|
Con el volante en la posición central (Figura 37), gire el volante a la izquierda o a la derecha. Si gira el volante más de 13 mm (½") a la izquierda o a la derecha y los neumáticos no giran, compruebe que los siguientes componentes de dirección y suspensión no están sueltos o dañados:
Espacio entre el eje de dirección y la unión del conjunto de cremallera-dirección
Important: Inspeccione la condición y la integridad de la junta entre el eje y el piñón (Figura 38).
Bielas del conjunto de cremallera-dirección


| Intervalo de mantenimiento y servicio | Procedimiento de mantenimiento |
|---|---|
| Cada 100 horas |
|
Compruebe la presión de los neumáticos para asegurarse de que están inflados a 0.82 bar (12 psi).
Añada peso en el asiento del conductor equivalente al peso medio de los operadores que utilizarán la máquina o haga que un operador se siente en el asiento. El peso o el operador deberá permanecer en el asiento durante todo el procedimiento de ajuste.
En una superficie nivelada, haga rodar la máquina en línea recta hacia atrás unos 2 m a 3 m (6' a 12'), y luego hacia adelante en línea recta hasta la posición de partida. De esta manera, la suspensión se asentará en su posición de funcionamiento.
Herramientas proporcionadas por el propietario: llave de gancho, Pieza Toro 132-5069; consulte a su distribuidor autorizado Toro.
Important: Realice los ajustes de caída solo si está utilizando un apero delantero o si se produce un desgaste irregular de los neumáticos.
Compruebe la caída en cada rueda; la alineación debe ser lo más neutra (cero) posible.
Note: Los neumáticos deben estar alineados con el dibujo apoyado uniformemente sobre el suelo para que el desgaste sea uniforme.
Si la caída de la rueda no está alineada, utilice la llave de gancho para girar el collarín del amortiguador y alinear la rueda (Figura 39).

Important: Antes de ajustar la convergencia, asegúrese de que la caída sea lo más neutra posible; consulte Ajuste de la caída.
Asegúrese de que los neumáticos delanteros están orientados hacia adelante en línea recta.
Mida la distancia entre los neumáticos delanteros a la altura del eje, en la parte delantera y trasera de las ruedas (Figura 40).

Si la distancia no es de 0 a 6 mm (0 a ¼"), afloje las contratuercas en el extremo exterior de las bielas (Figura 41).

Gire ambas bielas para mover la parte delantera del neumático hacia dentro o hacia fuera.
Apriete las contratuercas de las bielas al lograr el ajuste correcto.
Asegúrese de que el volante tiene un recorrido completo en ambas direcciones.
| Intervalo de mantenimiento y servicio | Procedimiento de mantenimiento |
|---|---|
| Cada 100 horas |
|
Tipo de fluido: SAE 10W-30 (servicio API SJ o superior)
Aparque la máquina en una superficie nivelada, mueva la transmisión a la posición de PUNTO MUERTO, ponga el freno de estacionamiento, apague el motor y retire la llave.
Retire el perno del orificio indicador del nivel (Figura 42).
Note: El nivel de fluido del transeje debe llegar al borde inferior del orificio indicador del nivel.

Si el nivel de fluido del transeje no está al nivel del borde inferior del orificio indicador de nivel, llene el depósito con el fluido especificado; consulte Cambio del fluido del transeje.
| Intervalo de mantenimiento y servicio | Procedimiento de mantenimiento |
|---|---|
| Cada 800 horas |
|
Tipo de fluido: SAE 10W-30 (servicio API SJ o superior)
Capacidad de fluido: 1.4 litros (1.5 cuartos US)
Aparque la máquina en una superficie nivelada, mueva la transmisión a la posición de PUNTO MUERTO, ponga el freno de estacionamiento, apague el motor y retire la llave.
Limpie la zona alrededor de los tapones de vaciado y llenado con un trapo (Figura 43).

Coloque un recipiente de vaciado con capacidad de 2 litros (2.1 cuartos) o más debajo del tapón de vaciado.
Retire el indicador girándolo en sentido antihorario (Figura 43).
Note: Guarde el tapón de llenado y la junta para su instalación en el paso 8.
Retire el indicador girándolo en sentido antihorario (Figura 43).
Note: Guarde el tapón de vaciado y la junta para su instalación en el paso 6.
Note: Deje que el fluido se drene completamente del transeje.
Instale y apriete el tapón de vaciado y la junta en el orificio de llenado de la transmisión (Figura 43).
Note: Elimine el fluido usado en un centro de reciclaje homologado.
Llene el depósito (Figura 44) a través del orificio de llenado con aproximadamente 1.4 litros (1.5 cuartos US) del fluido especificado, hasta que el nivel de fluido de la transmisión esté enrasado con el borde inferior de la rosca (Figura 43).

Instale y apriete el tapón y la junta en el orificio de llenado de la transmisión (Figura 43).
Arranque el motor y empiece a trabajar con la máquina.
Compruebe el nivel de fluido y añada más fluido si el nivel no llega a las roscas del orificio de llenado (Figura 43).
| Intervalo de mantenimiento y servicio | Procedimiento de mantenimiento |
|---|---|
| Cada vez que se utilice o diariamente |
|
| Cada 100 horas |
|
Para realizar operaciones de mantenimiento de rutina y/o diagnósticos del motor, debe ponerse el transeje en PUNTO MUERTO (Figura 45). El selector de marchas de la máquina dispone de una posición de PUNTO MUERTO, que controla el punto muerto del transeje. Tome las siguientes medidas para asegurarse de que la palanca de cambios acciona correctamente el punto muerto del transeje:
Mueva la transmisión a la posición de PUNTO MUERTO.
Asegúrese de que la pletina de punto muerto está en posición de PUNTO MUERTO (nivelada respecto al soporte de montaje del cable situado debajo del soporte del cambio de marchas) girando el embrague arrastrado (Figura 45).
Note: La máquina no debe desplazarse ni hacia adelante ni hacia atrás. Si lo hace, mueva manualmente la pletina de punto muerto a la posición de PUNTO MUERTO.

Gire 1 de las contratuercas (Figura 45) para obtener un espacio de 0.762 mm – 1.524 mm (0.030" – 0.060") entre la parte inferior de la tuerca/arandela y la pletina de punto muerto.
Note: Debe sujetar el eje roscado por debajo de la pletina para ajustar la posición de la contratuerca.
Gire la otra contratuercas para obtener una distancia de 0.76 mm – 1.52 mm (0.03" – 0.06") entre la parte inferior de la tuerca/arandela y la pletina de punto muerto.
Tire hacia arriba de cada cable de cambio y asegúrese de que hay una distancia de 0.76 mm – 1.52 mm (0.03" – 0.06") entre la tuerca/arandela y la pletina de punto muerto (Figura 46).
Note: Si no hay espacio, ajuste las tuercas hasta obtener el espacio especificado.

Arranque el motor y cambie varias veces a ADELANTE, ATRáS y PUNTO MUERTO, para asegurarse de que la pletina de punto muerto funciona correctamente.
| Intervalo de mantenimiento y servicio | Procedimiento de mantenimiento |
|---|---|
| Cada vez que se utilice o diariamente |
|
Debe controlarse a diario el funcionamiento del embrague y el cambio de marchas. Si el cambio de marchas se hace lento o pesado, o si el embrague no vuelve a punto muerto durante el ralentí, el embrague necesita una simple limpieza.
Note: Centre la eliminación de residuos en y alrededor de las piezas móviles.
Aparque la máquina en una superficie nivelada, ponga el freno de estacionamiento, apague el motor y retire la llave.
Eleve y enganche la plataforma de carga.
Retire la acumulación de suciedad y barro del embrague con agua, y seque el embrague inmediatamente con aire comprimido para eliminar el exceso de agua y residuos.
Note: Los residuos restantes pueden retirarse usando un limpiador de contactos de secado rápido.
| Intervalo de mantenimiento y servicio | Procedimiento de mantenimiento |
|---|---|
| Cada 200 horas |
|
Note: El uso de la máquina con el embrague sucio puede aumentar el desgaste de los componentes internos.
Aparque la máquina en una superficie nivelada, ponga el freno de estacionamiento, apague el motor y retire la llave.
Eleve y enganche la plataforma de carga.
Retire los 6 pernos con arandela prensada que sujetan la tapa del embrague.
Aparte la tapa, el espaciador y el muelle (Figura 47).

Retire la acumulación de suciedad y barro con agua, y seque inmediatamente con aire comprimido para eliminar el exceso de agua y residuos.
Elimine cualquier residuo restante usando un limpiador de contactos o un limpiador de frenos de secado rápido.
Note: Elimine los residuos en y alrededor de las piezas móviles.
Si existe una acumulación de residuos en la zona de la correa o a lo largo del eje del embrague, elimínela con una esponja abrasiva fina u otro producto similar.
Instale el muelle, la tapa del embrague y los pernos con arandela prensada.
Apriete los pernos a 12–13.5 N∙m (105–120 pulgadas-libra).
La ingestión del refrigerante del motor puede causar envenenamiento; manténgalo fuera del alcance de niños y animales domésticos.
Una descarga de refrigerante caliente bajo presión, o cualquier contacto con el radiador caliente y los componentes que lo rodean, puede causar quemaduras graves.
Siempre deje que el motor se enfríe durante al menos 15 minutos antes de retirar el tapón del radiador.
Utilice un trapo al abrir el tapón del radiador, y ábralo lentamente para permitir la salida del vapor.
No haga funcionar la máquina sin tener colocadas las cubiertas.
Mantenga alejados del ventilador y la correa de transmisión en movimiento los dedos, las manos y la ropa suelta.
Apague el motor y retire la llave antes de realizar cualquier tarea de mantenimiento.
| Intervalo de mantenimiento y servicio | Procedimiento de mantenimiento |
|---|---|
| Cada 100 horas |
|
Important: La operación del motor con la rejilla giratoria bloqueada, las aletas de refrigeración sucias o atascadas, o sin las cubiertas de ventilación dañará el motor debido al sobrecalentamiento.
Important: No limpie nunca el motor con un lavador a presión porque el agua podría contaminar el sistema de combustible.
Limpie la rejilla giratoria, las aletas de refrigeración y las superficies externas del motor.
Note: Limpie los componentes de refrigeración del motor más a menudo en condiciones de mucho polvo y suciedad.
| Intervalo de mantenimiento y servicio | Procedimiento de mantenimiento |
|---|---|
| Cada vez que se utilice o diariamente |
|
Note: Utilice como refrigerante una mezcla al 50% de etilenglicol y agua.
Aparque la máquina en una superficie nivelada, apague el motor, ponga el freno de estacionamiento y retire la llave.
Retire el tapón del depósito de expansión del radiador (Figura 48).
Si el nivel de refrigerante es bajo, llene el depósito de refrigerante hasta la parte inferior del cuello de llenado.
Note: No llene demasiado.
Vuelva a colocar el tapón del depósito de expansión del radiador y limpie cualquier derrame.
| Intervalo de mantenimiento y servicio | Procedimiento de mantenimiento |
|---|---|
| Cada 1000 horas |
|
Si el motor ha estado en marcha, puede haber fugas de refrigerante caliente y bajo presión, que puede causar quemaduras.
No retire el tapón del radiador cuando el motor está en marcha.
Deje que el motor se enfríe durante al menos 15 minutos, o hasta que el tapón del radiador esté lo suficientemente frío para poder tocarlo sin quemarse la mano.
Utilice un trapo al abrir el tapón del radiador, y ábralo lentamente para permitir la salida del vapor.
Note: Utilice como refrigerante una mezcla al 50% de etilenglicol y agua.
Aparque la máquina en una superficie nivelada, apague el motor, ponga el freno de estacionamiento y retire la llave.
Retire el tapón de llenado (Figura 48) y llene el radiador de refrigerante.

Vuelva a colocar el tapón del llenado y retire el tapón del depósito de expansión del radiador (Figura 48).
Note: No deje ambos tapones retirados al mismo tiempo; esto afecta de manera negativa al llenado del depósito.
Llene el depósito de refrigerante hasta la parte inferior del cuello de llenado.
Vuelva a colocar el tapón del depósito de expansión del radiador y limpie cualquier derrame.
| Intervalo de mantenimiento y servicio | Procedimiento de mantenimiento |
|---|---|
| Cada 100 horas |
|
Important: Los frenos constituyen un componente de seguridad de la máquina de importancia vital. Inspecciónelos minuciosamente en los intervalos de mantenimiento recomendados para asegurar un nivel óptimo de rendimiento y seguridad.
Inspeccione las pastillas de freno en busca de desgaste y daños. Si el grosor del forro (de la pastilla de freno) es inferior a 1.6 mm (1/16"), sustitúyalo.
Inspeccione el soporte y los demás componentes para identificar señales de desgaste o deformación excesivos. Sustituya cualquier componente deformado.
Inspeccione las líneas de freno, las fijaciones y las abrazaderas en busca de señales de fugas, deterioro, o conexiones mal apretadas.
Compruebe el nivel del líquido de frenos; consulte Comprobación del nivel del líquido de frenos.
Note: Repare cualquier componente del sistema de frenos que esté dañado o que tenga fugas antes de usar la máquina.
| Intervalo de mantenimiento y servicio | Procedimiento de mantenimiento |
|---|---|
| Cada 200 horas |
|
Retire la empuñadura de la palanca del freno de estacionamiento (Figura 49).

Afloje el tornillo de fijación que sujeta el pomo de ajuste del freno a la palanca del freno de estacionamiento (Figura 49).
Gire el pomo de ajuste del freno hasta que se requiera una fuerza de 133–156 N (30–35 lbf) para accionar la palanca de freno de estacionamiento (Figura 49).
Note: Si después de girar el pomo de ajuste del freno por todo su recorrido, no puede obtener la fuerza de 133–156 N (30–35 lbf) necesaria para aplicar el freno de estacionamiento, realice el procedimiento de ajuste de los cables de freno; consulte Ajuste de los cables de los frenos.
Apriete el tornillo de fijación e instale la empuñadura (Figura 49).
Retire la empuñadura de la palanca del freno de estacionamiento (Figura 49).
Afloje el tornillo de fijación (Figura 49) que sujeta el pomo de ajuste del freno a la palanca del freno de estacionamiento, quite el freno de estacionamiento y afloje el pomo de ajuste del freno.
En la parte inferior de la máquina, afloje 4 vueltas la contratuerca trasera del ajustador roscado del cable del freno de estacionamiento (Figura 50).

Apriete la contratuerca delantera (Figura 50).
Gire el pomo de ajuste del freno (Figura 49) hasta que se requiera una fuerza de 133–156 N (30–35 lbf) para accionar la palanca de freno de estacionamiento.
Si no puede ajustar el pomo de ajuste del freno aflojándolo para aplicar la palanca del freno de estacionamiento con una fuerza de 133–156 N (30–35 lbf), realice el procedimiento siguiente:
Afloje 1 vuelta la contratuerca delantera (Figura 50) del ajustador roscado del cable del freno de estacionamiento.
Apriete la contratuerca trasera (Figura 50).
Gire el pomo de ajuste del freno (Figura 49) hasta que se requiera una fuerza de 133–156 N (30–35 lbf) para accionar la palanca de freno de estacionamiento.
Repita los pasos 1 a 3 hasta 2 veces más para obtener una fuerza de 133–156 N (30–35 lbf) en el freno de estacionamiento.
Si no puede ajustar el pomo de ajuste del freno apretándolo para aplicar la palanca del freno de estacionamiento con una fuerza de 133–156 N (30–35 lbf), realice el procedimiento siguiente:
Afloje 1 vuelta la contratuerca trasera (Figura 50) del ajustador roscado del cable del freno de estacionamiento.
Apriete la contratuerca delantera (Figura 50).
Gire el pomo de ajuste del freno (Figura 49) hasta que se requiera una fuerza de 133–156 N (30–35 lbf) para accionar la palanca de freno de estacionamiento.
Repita los pasos 1 a 3 hasta 3 veces más para obtener una fuerza de 133–156 N (30–35 lbf) en el freno de estacionamiento.
Note: Si no es posible ajustar el cable del freno de estacionamiento lo suficiente para situar el pomo de ajuste del freno en su intervalo de ajuste, compruebe el desgaste de las pastillas de freno.
Apriete el tornillo de fijación e instale la empuñadura (Figura 49).
| Intervalo de mantenimiento y servicio | Procedimiento de mantenimiento |
|---|---|
| Cada vez que se utilice o diariamente |
|
Tipo de líquido de frenos: DOT 3
Aparque la máquina en una superficie nivelada.
Ponga el freno de estacionamiento.
Apague el motor y retire la llave.
Levante el capó para acceder al cilindro del freno principal y al depósito (Figura 51).

Mire el contorno del nivel de aceite en el lateral del depósito (Figura 52).
Note: El nivel debe estar por encima de la línea de mínimo.

Si el nivel de fluido es bajo, haga lo siguiente:
Cierre el capó.
| Intervalo de mantenimiento y servicio | Procedimiento de mantenimiento |
|---|---|
| Cada 1000 horas |
|
Póngase en contacto con su distribuidor Toro autorizado.
| Intervalo de mantenimiento y servicio | Procedimiento de mantenimiento |
|---|---|
| Después de las primeras 8 horas |
|
| Cada 200 horas |
|
Aparque la máquina en una superficie nivelada, ponga el freno de estacionamiento, apague el motor y retire la llave.
Eleve la plataforma y asegúrela con la varilla de sujeción.
Mueva la transmisión a la posición de PUNTO MUERTO.
Haga girar la correa e inspecciónela (Figura 53) para asegurarse de que no está excesivamente desgastada o dañada.
Note: Cambie la correa si está excesivamente desgastada o dañada; consulte Sustitución de la correa de transmisión.

Baje la plataforma de carga.
Eleve la plataforma de carga.
Ponga la transmisión en PUNTO MUERTO, ponga el freno de estacionamiento, gire el interruptor de encendido a la posición de APAGADO y retire la llave.
Haga girar la correa y llévela sobre el embrague secundario (Figura 53).
Retire la correa del embrague primario (Figura 53).
Note: Deseche la correa usada.
Coloque la correa nueva sobre el embrague primario (Figura 53).
Haga girar la correa y llévela sobre el embrague secundario (Figura 53).
Baje la plataforma de carga.
Note: Sólo es necesario comprobar el tope de tensión de la correa si tiene problemas con vibraciones, durante la reconstrucción de la máquina o en caso del fallo de un soporte del motor.
El tope de tensión de la correa (Figura 54) debe tener una distancia de 2.2 mm (0.09").
Si el tope está demasiado cerca del soporte del motor, la correa causa una vibración excesiva; si el tope está demasiado lejos del soporte del motor, la correa provoca tensiones perjudiciales en el motor.
Para ajustar la distancia, afloje los 3 pernos con arandela prensada que sujetan el soporte al bastidor y mueva el soporte según sea necesario.
Cuando obtenga la distancia correcta, apriete los 3 pernos con arandela prensada.

Si el enganche de la plataforma de carga está mal ajustado, la plataforma vibrará hacia arriba y hacia abajo al conducir la máquina. Puede ajustar los topes de los enganches para lograr un buen ajuste entre la plataforma de carga y el chasis.
Afloje la contratuerca del extremo del tope del enganche (Figura 55).

Gire la clavija de enganche en sentido horario hasta que quede apretada contra la parte de gancho del enganche (Figura 55).
Apriete el perno a 19.7–25 4N∙m (175–225 pulgadas-libra).
Repita los pasos 1 a 3 con el enganche del otro lado de la máquina.
| Intervalo de mantenimiento y servicio | Procedimiento de mantenimiento |
|---|---|
| Cada vez que se utilice o diariamente |
|
Lave la máquina cuando sea necesario con agua sola o con detergente suave. Puede utilizar un trapo para lavar la máquina.
Important: No utilice agua salobre o reciclada para limpiar la máquina.
Important: No utilice equipos de lavado a presión para lavar la máquina. Los equipos de lavado a presión pueden dañar el sistema eléctrico, hacer que se desprendan pegatinas importantes, o eliminar grasa necesaria en los puntos de fricción. Evite el uso excesivo de agua cerca del panel de control, el motor y la batería.
Important: No lave la máquina con el motor en marcha. Si se lava la máquina con el motor en marcha, pueden producirse daños internos en el motor.
Apague la máquina, retire la llave y espere a que se detenga todo movimiento antes de dejar el puesto del operador. Deje que se enfríe la máquina antes de hacer trabajos de ajuste, mantenimiento, limpieza o almacenamiento.
No guarde la máquina o un recipiente de combustible en un lugar donde pudiera haber una llama desnuda, chispas o una llama piloto, por ejemplo en un calentador de agua u otro electrodoméstico.
| Intervalo de mantenimiento y servicio | Procedimiento de mantenimiento |
|---|---|
| Después de las primeras 50 horas |
|
| Cada 200 horas |
|
| Cada 400 horas |
|
| Cada 600 horas |
|
Coloque la máquina en una superficie nivelada, ponga el freno de estacionamiento, apague el motor y retire la llave.
Limpie la suciedad de toda la máquina, incluyendo el exterior del motor.
Inspeccione los frenos; consulte Inspección de los frenos.
Revise el limpiador de aire; consulte Mantenimiento del filtro de aire.
Selle la entrada del limpiador de aire y la salida del tubo de escape con cinta impermeabilizante.
Cambie el aceite del motor; consulte Mantenimiento del aceite de motor.
Enjuague el depósito de combustible con combustible limpio y nuevo.
Vuelva a fijar todos los elementos del sistema de combustible.
Compruebe la presión de los neumáticos; consulte Comprobación de la presión de los neumáticos.
Compruebe el anticongelante y añada una solución al 50 % de agua y anticongelante según sea necesario dependiendo de la temperatura mínima prevista para su zona.
Retire la batería de la máquina y cárguela completamente; consulte Cómo retirar la batería.
Note: No conecte los cables de la batería a los bornes de la batería durante el almacenamiento.
Important: La batería debe estar completamente cargada para evitar que se congele y sufra daños a temperaturas por debajo de 0 °C (32 °F). Una batería completamente cargada mantiene su carga durante aproximadamente 50 días a temperaturas inferiores a los 4 °C (40 °F). Si la temperatura va a estar por debajo de los 4 °C (40 °F), cárguela cada 30 días.
Revise y apriete todos los pernos, tuercas y tornillos. Repare o sustituya cualquier pieza dañada.
Pinte las superficies que estén rayadas o donde esté visible el metal.
Note: Puede adquirir la pintura en su Servicio Técnico Autorizado.
Guarde la máquina en un garaje o almacén seco y limpio.
Cubra la máquina para protegerla y para conservarla limpia.