![]() |
Предупреждающие наклейки и инструкции по технике безопасности должны быть хорошо видны оператору и установлены во всех местах потенциальной опасности. При отсутствии или повреждении наклейки следует установить новую наклейку. |


Установите машину на ровной поверхности.
Включите стояночный тормоз.
На моделях машин с открытым кузовом выполните следующие действия:
Снимите кузов с машины Порядок снятия см. в Руководстве оператора для вашей машины.
Выньте опору кузова из кронштейнов для хранения на задней стороне панели конструкции ROPS (Рисунок 1).

Насадите опору кузова на шток гидроцилиндра так, чтобы концевые выступы опоры опирались на торец корпуса гидроцилиндра и на конец штока гидроцилиндра (Рисунок 2).

Выключите двигатель и выньте ключ.
Отсоедините аккумуляторную батарею следующим образом:
Надавите на крышку аккумуляторной батареи, чтобы высвободить лапки крепления из основания аккумуляторной батареи (Рисунок 3).

Снимите крышку с основания аккумулятора (Рисунок 3).
Отсоедините наконечник положительного кабеля с полюсного штыря аккумуляторной батареи (Рисунок 4).
Note: Наконечник положительного кабеля не должен касаться полюсного штыря аккумулятора.

Взявшись за капот в области проемов фар, поднимите его вверх, чтобы высвободить нижние монтажные лапки из пазов рамы (Рисунок 5).

Отклоните низ капота вверх настолько, чтобы верхние монтажные лапки можно было извлечь из пазов рамы (Рисунок 5).
Потяните верх капота на себя и отсоедините кабельные разъемы от фар (Рисунок 5).
Снимите капот.
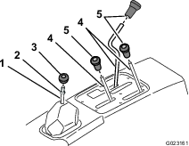
Отверните и снимите все рукоятки рычагов пульта и рычага переключения передач (Рисунок 6).

Снимите зажимную гайку с рычага переключения передач (Рисунок 6).
Отвинтите 6 винтов, которые крепят наружный край плоской крышки центрального пульта к шасси, и снимите плоскую крышку (Рисунок 7).

Отвинтите 8 болтов с внутренним шестигранником, которые крепят направляющие сиденья к шасси, и снимите сиденья (Рисунок 8).

Поднимите расширительный бачок с охлаждающей жидкостью вверх и снимите его с опорного кронштейна на задней стороне щитка конструкции ROPS (Рисунок 9).

Установите расширительный бачок вертикально на двигатель или шасси.
Детали, требуемые для этой процедуры:
| Переключатель стояночного тормоза | 1 |
| Винт с шестигранной головкой с буртиком (10-24 x 1/2 дюйма) | 2 |
Сдвиньте нижний пылезащитный чехол механизма переключения передач в сторону от левой стороны стояночного тормоза в сборе (Рисунок 13).

Совместите отверстия в переключателе стояночного тормоза с отверстиями на левой стороне стояночного тормоза (Рисунок 13).
Прикрепите переключатель к тормозу с помощью 2 винтов с шестигранными головками с буртиками (Рисунок 13).
Детали, требуемые для этой процедуры:
| Реле | 3 |
| Болт с шестигранной головкой с буртиком (1/4 x 5/8 дюйма) | 2 |
Установите реле (одно место установки) на трубку опоры приборной панели с помощью болта (¼ x ⅝ дюйма) в предварительно просверленное отверстие слева (Рисунок 14).

Установите 2 реле задними поверхностями друг к другу (Рисунок 15).
Прикрепите 2 реле к трубке опоры приборной панели с помощью болта (¼ x ⅝ дюйма) в предварительно просверленное отверстие справа (Рисунок 15).

Детали, требуемые для этой процедуры:
| Кронштейн узла ручной регулировки дроссельной заслонки | 1 |
| Фланцевый болт (5/16 x 1 дюйм) | 4 |
| Фланцевая гайка (5/16 дюйма) | 4 |
Отверните 3 фланцевых болта и 3 фланцевые гайки, которые крепят приборную панель в ее нижней средней части к опорному кронштейну приборной панели (Рисунок 16).
Note: Удалите в отходы болты и гайки.

Совместите отверстия в кронштейне узла ручной регулировки дроссельной заслонки с отверстиями в приборной панели (Рисунок 16).
Прикрепите кронштейн узла ручной регулировки дроссельной заслонки к приборной панели с помощью 3 фланцевых болтов (5/16 x 1 дюйм) и 3 фланцевых гаек (Рисунок 17).

Детали, требуемые для этой процедуры:
| Узел ручной регулировки дроссельной заслонки | 1 |
| Болт (10-24 x 5/8 дюйма) | 2 |
| Рифленая гайка (10-32) | 2 |
| Переключатель режима | 1 |
Снимите ручку (если она установлена) с рычага узла ручной регулировки дроссельной заслонки (Рисунок 18).

Совместите рычаг узла ручной регулировки дроссельной заслонки с пазом в кронштейне этого узла и совместите отверстия в монтажном кронштейне, присоединенном к узлу ручной регулировки дроссельной заслонки, с кронштейном этого узла (Рисунок 18).
Прикрепите узел ручной регулировки дроссельной заслонки к кронштейну узла с помощью 2 болтов (10–32 x 5/8) и 2 гаек (Рисунок 18).
Совместите переключатель режима с кронштейном узла ручной регулировки дроссельной заслонки так, чтобы установочный штифт среди разъемов переключателя и паз в его корпусе были направлены вниз (Рисунок 19).

Установите переключатель в прямоугольное отверстие кронштейна узла ручной регулировки дроссельной заслонки до фиксации со щелчком (Рисунок 19).
Детали, требуемые для этой процедуры:
| Жгут проводов | 1 |
| Кабельная стяжка | 5 |
В передней части машины найдите рядом с блоком предохранителей 31-штыревой и 31-гнездовой разъемы переднего и заднего жгутов проводов машины (Рисунок 20).

Отсоедините 31-штыревой и 31-гнездовой разъемы переднего и заднего жгутов проводов (Рисунок 20).
Найдите 31-штыревой и 31-гнездовой разъемы, расположенные на жгуте проводов комплекта узла регулировки дроссельной заслонки (Рисунок 21).

Подсоедините 31-штыревой разъем жгута проводов комплекта узла регулировки дроссельной заслонки к 31-гнездовому разъему переднего жгута проводов машины (Рисунок 21).
Подсоедините 31-гнездовой разъем жгута проводов комплекта узла регулировки дроссельной заслонки к 31-штыревому разъему заднего жгута проводов машины (Рисунок 21).
Проложите ответвление жгута проводов с 3 разъемами, имеющими по 5 гнезд в каждом (Рисунок 22), вверх к реле, которые были установлены при выполнении действий, описанных в разделе Установка реле.

Вставьте 5-гнездовые разъемы в реле (Рисунок 22).
Note: Реле устанавливаются в 5-гнездовые разъемы в произвольном порядке.
Отсоедините резистор от 6-штыревого разъема протягиваемого вверх ответвления жгута проводов узла ручной регулировки дроссельной заслонки (Рисунок 22).
Note: Сохраните резистор и вставьте его в 6-штыревой разъем в случае демонтажа комплекта узла ручной регулировки дроссельной заслонки с машины.
Подсоедините 6-штыревой разъем протягиваемого вверх ответвления жгута проводов машины, предназначенного для узла ручной регулировки дроссельной заслонки, к 6-гнездовому разъему протягиваемого вверх ответвления жгута проводов узла ручной регулировки дроссельной заслонки (Рисунок 22).
Проложите ответвление жгута проводов комплекта узла регулировки дроссельной заслонки между вертикальными фланцами опоры приборной панели и назад в сторону узла ручной регулировки дроссельной заслонки и переключателя режима (Рисунок 23).

Подсоедините 3-гнездовой разъем жгута проводов комплекта узла регулировки дроссельной заслонки к разъему узла ручной регулировки дроссельной заслонки (Рисунок 23).
Подсоедините 8-гнездовой разъем жгута проводов комплекта узла регулировки дроссельной заслонки к разъему переключателя режима (Рисунок 23).
Проложите ответвление жгута проводов комплекта с 2-штыревым разъемом переключателя стояночного тормоза вниз от промежуточных соединений главного жгута проводов, которые вы подсоединили при выполнении пунктов 5 и 6 в разделе Подсоединение к промежуточным соединениям главного жгута проводов, и вдоль заднего жгута проводов машины (Рисунок 21).
Отверните 4 болта крепления нижнего кожуха к машине (Рисунок 24).

Проложите жгут проводов из комплекта вдоль главного заднего жгута проводов машины и назад над поперечным швеллером рамы, как показано на Рисунок 24.
Установите нижний кожух с помощью 4 болтов, снятых при выполнении пункта 2 (Рисунок 24).
Продолжите прокладку жгута проводов из комплекта вдоль нижней трубы рамы и вверх позади верхнего рычага управления и заднего опорного швеллера сиденья (Рисунок 25, Рисунок 26 и Рисунок 27).
Note: Жгут проводов из комплекта должен идти вдоль главного заднего жгута проводов машины.



Прикрепите жгут проводов из комплекта к главному заднему жгуту проводов с помощью кабельных стяжек в 2 местах, показанных на Рисунок 26 и Рисунок 27.
Прикрепите жгут проводов из комплекта к нижней трубе рамы с помощью кабельной стяжки, как показано на Рисунок 25.
Проложите ответвление жгута проводов из комплекта, имеющее 2-штыревой разъем, вперед к переключателю стояночного тормоза (Рисунок 28), установленному при выполнении действий, описанных разделе Установка переключателя стояночного тормоза.

Подсоедините 2-штыревой гнездовой разъем жгута проводов из комплекта к 2-штыревому разъему жгута проводов переключателя стояночного тормоза (Рисунок 28).
Прикрепите жгут проводов из комплекта к главному заднему жгуту проводов в 2 местах, показанных на Рисунок 28.
Совместите отверстие в кожухе сиденья для стояночного тормоза с рукояткой стояночного тормоза.
Совместите отверстие в чехле механизма переключения передач с рычагом переключения передач.
Совместите отверстие в кожухе сиденья для рычагов управления подъемом платформы, переключения высокого-низкого диапазона и блокировки дифференциала с соответствующими рычагами.
Опустите кожух сиденья.
Совместите отверстия в кожухе для деталей крепления сиденья с опорными кронштейнами сиденья на шасси.
Совместите отверстия в щитке конструкции ROPS с отверстиями в кронштейнах на защитной дуге (Рисунок 10).
Прикрепите щиток конструкции ROPS к защитной дуге с помощью 6 каретных болтов и 6 гаек (Рисунок 10), снятых при выполнении пункта 1 в разделе Снятие панели ROPS.
Совместите отверстия в направляющих сиденья с отверстиями в кожухе для деталей крепления сидений (Рисунок 8).
Прикрепите сиденье к шасси с помощью 8 болтов с внутренним шестигранном (Рисунок 8), снятых на этапе 4 раздела Снятие панели центральной консоли и сидений.
Затяните болты с внутренним шестигранником с моментом от 200 до 254 Н∙м.
Совместите центральную консольную панель с рычагами управления на центральной консоли (Рисунок 7).
Закрепите плоскую крышку 6 винтами (Рисунок 6), снятыми на этапе 3 раздела Снятие панели центральной консоли и сидений.
Навинтите зажимную гайку и рукоятку на рычаг переключения передач (Рисунок 6).
Выровняйте схему переключения передач на рукоятке рычага и затяните зажимную гайку.
Навинтите 3 рукоятки рычагов, снятых на этапе 1 раздела Снятие панели центральной консоли и сидений, на рычаги управления подъемом платформы, блокировки дифференциала и механизма переключения высокого-низкого диапазона (Рисунок 6).
Установите машину на очищенной ровной горизонтальной поверхности.
Переведите рычаг ручной регулировки дроссельной заслонки в положение SLOW (Медленно) (Рисунок 29).

Нажмите переключатель режима вниз в положение фиксации дроссельной заслонки (Рисунок 29).
Включите стояночный тормоз, установите рычаг переключения передач в положение NEUTRAL (Нейтраль) и запустите машину.
Переведите рычаг ручной регулировки дроссельной заслонки в положение FAST (Быстро) (Рисунок 29).
Note: Частота вращения двигателя должна увеличиться.
Переведите рычаг ручной регулировки дроссельной заслонки в положение SLOW (Медленно) (Рисунок 29).
Поставьте ногу на педаль рабочего тормоза.
Отпустите стояночный тормоз.
Переведите рычаг ручной регулировки дроссельной заслонки в положение FAST (Быстро) (Рисунок 29).
Note: Двигатель должен продолжать работать на малой частоте холостого хода.
Включите стояночный тормоз и заглушите машину.
Переведите рычаг ручной регулировки дроссельной заслонки в положение SLOW (Медленно) (Рисунок 29).
Нажмите переключатель режима вверх, установив его в положение OFF (Выкл.) (Рисунок 29).
Включите стояночный тормоз, установите рычаг переключения передач в положение NEUTRAL (Нейтраль) и запустите машину.
Частично нажмите педаль газа.
Note: Частота вращения двигателя должна увеличиться.
Отпустите педаль газа.
Переведите рычаг ручной регулировки дроссельной заслонки в положение FAST (Быстро) (Рисунок 29).
Note: Двигатель должен продолжать работать на малой частоте холостого хода.
Выключите двигатель машины.
Переведите рычаг ручной регулировки дроссельной заслонки в положение SLOW (Медленно) (Рисунок 29).
Нажмите переключатель режима вверх в положение ограничения скорости движения (Рисунок 29).
Включите стояночный тормоз, установите рычаг переключения передач в положение NEUTRAL (Нейтраль) и запустите машину.
Частично нажмите педаль газа.
Note: Двигатель должен продолжать работать на малой частоте холостого хода.
Нажимая на педаль газа, переведите рычаг ручной регулировки дроссельной заслонки в положение FAST (Быстро) (Рисунок 29).
Note: Частота вращения двигателя должна увеличиться.
Рычаг ручной регулировки дроссельной заслонки используется совместно с переключателем режима, чтобы ограничить максимальную частоту вращения двигателя или установить ее фиксированное значение (Рисунок 30).

Переключатель режима (Рисунок 30) используется для управления функцией ручной регулировки дроссельной заслонки для выполнения следующих операций:
Положение ограничения скорости движения – используйте это положение переключателя, чтобы ограничить максимальную скорость хода машины при выполнении операций, связанных с работой машины.
Положение Off (Выкл.) – используйте это положение переключателя для нормального управления скоростью движения машины.
Положение режима работы вспомогательного оборудования – используйте это положение переключателя, чтобы регулировать скорость вращения двигателя, когда машина не движется, но используется для привода вспомогательного оборудования.
Установка максимальной частоты вращения двигателя
Установите машину на очищенной ровной горизонтальной поверхности.
Переведите рычаг ручной регулировки дроссельной заслонки в положение Slow (Медленно) (Рисунок 30).
Нажмите переключатель режима вверх в положение ограничения скорости движения (Рисунок 30).
Переведите рычаг переключения передач в положение, соответствующее необходимой скорости движения.
До упора нажмите педаль газа.
Переведите рычаг ручной регулировки дроссельной заслонки в положение Fast (Быстро) (Рисунок 30), пока не будет достигнута необходимая скорость движения.
Отпустите педаль газа.
Выполните работу с ограничением скорости движения, например, поверхностное внесение удобрений.
Note: Чтобы вести машину с максимальной предельной скоростью движения, выбранной вами, до упора нажмите педаль газа.
Установите машину на очищенной ровной горизонтальной поверхности.
Переведите рычаг ручной регулировки дроссельной заслонки в положение Slow (Медленно) (Рисунок 30).
Нажмите переключатель режима вверх, установив его в положение Off (Выкл.) (Рисунок 30).
Эксплуатируйте машину, как описано в Руководстве для владельца.
Переместите машину на рабочую площадку.
Убедитесь в том, что рычаг переключения передач находится в положении NEUTRAL (Нейтраль) и стояночный тормоз включен.
Нажмите переключатель режима вниз в положение фиксации дроссельной заслонки (Рисунок 30).
Переведите рычаг ручной регулировки дроссельной заслонки в положение требуемой частоты вращения двигателя (Рисунок 30).
Выполните работу, связанную с эксплуатацией вспомогательного оборудования, такую как смешивание в баке или использование ручного распылителя.
Переведите рычаг ручной регулировки дроссельной заслонки в положение SLOW (Медленно) (Рисунок 30).
Нажмите переключатель режима вверх, установив его в положение OFF (Выкл.) (Рисунок 30).
| Problem | Possible Cause | Corrective Action |
|---|---|---|
| В режиме вспомогательного оборудования частота вращения двигателя не управляется рычагом ручной регулировки дроссельной заслонки. |
|
|
| Мощность двигателя слишком низкая для данного вспомогательного оборудования. |
|
|
| Мощность двигателя слишком высокая для данного вспомогательного оборудования. |
|
|
| Problem | Possible Cause | Corrective Action |
|---|---|---|
| Машина не ускоряется до требуемой скорости с помощью педали газа. |
|
|
| Скорость движения машины слишком низкая для работы, требующей ограничения скорости. |
|
|
| Скорость движения машины слишком высокая для работы, требующей ограничения скорости. |
|
|