Note: Monteer deze set samen met model 41712 of model 41713.
De GeoLink spuitsysteemset is een werktuig voor Toro Multi Pro gazonsproeiers en is bedoeld voor gebruik door professionele bestuurders en voor commerciële toepassingen. Het systeem is met name ontworpen voor sproeien op goed onderhouden gazons in parken, golfbanen en sportvelden. Het gebruik van dit product voor andere doeleinden dan het bedoelde gebruik kan gevaarlijk zijn voor u en voor omstanders.
Lees deze informatie zorgvuldig door, zodat u weet hoe u dit product op de juiste wijze moet gebruiken en onderhouden en om letsel en schade aan de machine te voorkomen. U bent verantwoordelijk voor het juiste en veilige gebruik van de machine.
Ga naar www.Toro.com voor documentatie over productveiligheid en bedieningsinstructies, informatie over accessoires, hulp bij het vinden van een dealer of om uw product te registreren.
Als u service, originele Toro onderdelen of aanvullende informatie nodig hebt, kunt u contact opnemen met een erkende servicedealer of met de klantenservice van Toro. U dient hierbij altijd het modelnummer en het serienummer van het product te vermelden. De locatie van het plaatje met het modelnummer en het serienummer van het product is aangegeven op Figuur 1. U kunt de nummers noteren in de ruimte hieronder.
Important: U kunt met uw mobiel apparaat de QR-code (indien aanwezig) op het plaatje met het serienummer scannen om toegang te krijgen tot de garantie, onderdelen en andere productinformatie.

Er worden in deze handleiding een aantal mogelijke gevaren en een aantal veiligheidsberichten genoemd met de volgende veiligheidssymbolen (Figuur 2), die duiden op een gevaarlijke situatie die ernstig of fataal lichamelijk letsel tot gevolg kan hebben als u de veiligheidsvoorschriften niet in acht neemt.

Er worden in deze handleiding twee woorden gebruikt om uw aandacht op bijzondere informatie te vestigen. Belangrijk attendeert u op bijzondere technische informatie en Opmerking duidt op algemene informatie die bijzondere aandacht verdient.
Chemische stoffen die worden gebruikt in het spuitsysteem kunnen gevaarlijk en giftig voor de gebruiker, omstanders, dieren, planten, de bodem of eigendommen zijn.
U moet de waarschuwingsetiketten en de veiligheidsinformatiebladen voor alle gebruikte chemische stoffen zorgvuldig lezen en in acht nemen en uzelf beschermen volgens de instructies van de fabrikant van de chemische stoffen. Bijvoorbeeld, draag geschikte persoonlijke beschermende uitrusting zoals gezichts- en oogbescherming, handschoenen of andere voorzieningen ter bescherming tegen lichamelijk contact met chemische stoffen.
Er kunnen meerdere chemische stoffen zijn gebruikt; zorg ervoor dat u informatie over elke stof krijgt.
Weiger de machine te gebruiken of te bedienen als deze informatie niet beschikbaar is.
Voordat u onderhoud uitvoert aan een spuitsysteem moet dit drie keer zijn gespoeld en geneutraliseerd volgens de instructies van de fabrikant(en) van de chemische stoffen en moeten alle kleppen 3 cyclussen hebben doorlopen.
Controleer of er voldoende water en zeep in de buurt is, en als u in contact komt met chemische stoffen, moet u deze onmiddellijk afspoelen.
![]() |
Veiligheidsstickers en veiligheidsinstructies zijn gemakkelijk zichtbaar voor de bestuurder en bevinden zich bij plaatsen waar gevaar kan ontstaan. Vervang alle beschadigde of ontbrekende stickers. |



Raadpleeg de Gebruikershandleiding van de machine.
Parkeer de machine op een horizontaal vlak en stel de parkeerrem in werking.
Breng de linker- en rechterspuitboom in de spuitstand.
Zet de motor af, verwijder het sleuteltje en koppel de accu af.
Reinig de spuitmachine.
Important: U dient de spuittank volledig te ledigen alvorens de completeringsset voor het GeoLink spuitsysteem te monteren.
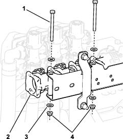
Verwijder de volgende bevestigingsmiddelen waarmee de achterkant van het scherm van het onderstel is bevestigd aan het chassis van de machine en bewaar deze:
Machines uit 2016 – 7 flenskopbouten (5/16" x ⅞") en 7 onderlegringen (5/16")
Machines uit 2017 en later – 5 flenskopbouten (5/16" x ⅞") en 5 onderlegringen (5/16")


Verwijder de 4 flenskopbouten (5/16") van de bouten en de slotbout waarmee de steunbanden van het scherm van het onderstel bevestigd zijn aan de bevestigingsbeugels van de motor van de machine en bewaar deze.
Note: De bouten niet van de machine verwijderen.

Til de steunbanden over de bouten waarmee het scherm van het onderstel bevestigd is aan de bevestigingsbeugels van de motor.
Verwijder het scherm van het onderstel van de machine.
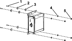
Verwijder de 3 flenskopbouten en 1 flensmoer waarmee de montagebeugel van de motorbedieningsmodule is gemonteerd op de steunbeugel van de motor en de accessoirekast van de motor en bewaar deze.


Beweeg de motorbedieningsmodule en montagebeugel naar beneden en naar achteren om toegang te krijgen tot de connectors van de voorste en achterste kabelboom van de machine.
Note: Verwijder de motorbedieningsmodule niet en koppel deze ook niet los.
Zoek de aansluiting van de druksensorbuis aan het uiteinde van de klep van de rechterspuitboom.

Druk de kraag van de buiskoppeling in en trek de druksensorbuis voor de dashboardmeter eruit.
Note: Gebruik een mechanische takel wanneer u de voorste en achterste kabelbomen gaat loskoppelen.

Zoek onder de machine, naast de rechter framebuis, de connectors voor de voorste en achterste kabelbomen van de machine (Figuur 7).
Koppel de 6 paar connectors tussen de voorste en achterste kabelbomen af; zie afbeelding Figuur 8 tot Figuur 13.






Verwijder de 3 druknagels waarmee de achterste kabelboom bevestigd is aan de openingen in de rechter framebuis van de machine (Figuur 14).

Koppel achteraan de machine (tussen de rechter framebuis en het rechter spatbord) de connector met 3 pinnen van de kabelboom van de snelheidssensor bij de rechter hydraulische tractiemotor los van de connector met 3 contacten van de achterste hoofdkabelboom.

Koppel achteraan de bevestigingsbeugel van het verdeelstuk de connector met 3 contacten los van de mengklep, alsook de connectors met 3 contacten van de 3 kleppen van de spuitbomen.

Verwijder de druknagels waarmee de achterste kabelboom bevestigd is aan de openingen aan de voorzijde en de onderplaat van de bevestigingsbeugel van het verdeelstuk.

Koppel de connector met 3 contacten van de achterste kabelboom los van de connector met 3 pinnen van de drukomzetter.

Koppel achteraan de machine de volgende connectors met 2 contacten voor het verdeelstuk van de hefcilinder los:
Rechts – bovenste magneetklep
Links – bovenste magneetklep
Magneetklep inschakelen/vrijgave
Rechts – onderste magneetklep
Links – onderste magneetklep

Aan de achterkant van de machine, aan de binnenzijde van de spuitpomp, koppelt u de connector met 2 contacten op de achterste hoofdkabelboom los van de connector met 2 pinnen van het pomprelais.

Verwijder de druknagel waarmee de achterste kabelboom bevestigd is aan de openingen in de achterste dwarsbuis (achter de hydraulische tractiemotoren).

Verwijder de druksensorbuis voor de dashboardmeter uit de achterste kabelboom van de machine.

Verwijder de achterste kabelboom van de machine.
Note: U hebt de achterste kabelboom die u van de machine verwijderd hebt niet meer nodig.
Benodigde onderdelen voor deze stap:
| Kabelbinder | 1 |
| Schakelaarplug | 1 |
Knijp langs de onderkant van het dashboard de vergrendelingslipjes van de schakelaar voor de gebruiksdosis samen en druk de schakelaar voor de gebruiksdosis uit het dashboard.

Maak de connector met 8 contacten van de voorste machinekabelboom (met de aanduiding Rate Switch (schakelaar voor dosis)) los van de connector met 8 pinnen van de schakelaar.
Note: U hebt de schakelaar voor de gebruiksdosis die u van de machine verwijderd hebt niet meer nodig.
Leid de aftakking van de voorste kabelboom voor de schakelaar voor de gebruiksdosis door de opening in het dashboard, en bevestig de kabelaftakking met een kabelbinder aan de voorste kabelboom.
Druk de schakelaarplug in het dashboard tot de plug stevig in het dashboard klikt.
Note: Bewaar alle onderdelen voor latere montage en als vervangingsonderdelen.
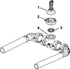
Bewaar de borgclip waarmee de fittingdop, T-fitting en drukomzetter aan het uiteinde van de spuitboomkleppen zijn bevestigd.

Haal de dop, drukomzetter en T-fitting uit elkaar.
Note: Bewaar alle onderdelen voor latere montage en als vervangingsonderdelen tenzij anders aangegeven.
Verwijder de 2 bouten, ringen en borgmoeren waarmee de klepbevestiging aan de bevestigingsbeugel van het verdeelstuk is bevestigd.

Draai de 2 flenskopbouten (¼" x 3"), 2 flensborgmoeren (¼") en 4 ringen waarmee de 3 spuitboomkleppen aan de bevestigingsbeugel zijn bevestigd los, maar verwijder ze niet.

Verwijder de flensklem en de pakking waarmee de 3 spuitboomkleppen aan de vloeistofstroommeter zijn bevestigd.
Note: Verwijder de vloeistofstroommeter niet.

Verwijder bij de buitenste spuitboom de slangklem waarmee de toevoerslang voor de spuitboom bevestigd is aan de geribde T-fitting.

Verwijder de slang van de T-fitting.
Verwijder het vrije uiteinde van de slang van de R-klem.
Herhaal stap 1 tot en met 3 voor de toevoerslang op de andere buitenste spuitboom.
Verwijder onder de middelste spuitboom de slangklem waarmee de toevoerslang voor de spuitboom bevestigd is aan de geribde T-fitting.

Verwijder de borgclips waarmee de rechte fittings bevestigd zijn aan de snelkoppelfittingen van de spuitboomkleppen.

Verwijder de slangen die van de spuitboomkleppen zijn losgekoppeld.
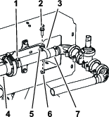
Verwijder onderaan, bij de bovenste omloopslang, de flenskopbout (5/16" x ¾"), ring (5/16") en R-klem waarmee de bovenste omloopslang bevestigd is aan de achterste zittingplaat van de machine.


Verwijder de 2 slangklemmen waarmee de bovenste omloopslang en de onderste omloopslang bevestigd zijn aan de geribde fitting van 90° en bewaar deze.
Verwijder de geribde fitting van 90° van de slangen en bewaar ze.
Verwijder de slangklemmen waarmee de slang van het aftapventiel en de achterste aftapslang van de tank bevestigd zijn aan de geribde T-fitting.


Verwijder de T-fitting van de slang van het aftapventiel en de achterste aftapslang van de tank.
Verwijder de borgclip waarmee de geribde fitting van 90° van de omloopslang bevestigd is aan de snelkoppelfitting van de omloopklep op de rechterspuitboomklep, en haal de slang en de klepfittingen van elkaar.

Verwijder de bovenste en onderste omloopslang van de machine.
Note: U hebt de afsluitklep, T-fitting, bovenste omloopslang en onderste omloopslang niet meer nodig.

Monteer de geribde fitting van 90° die u verwijderd hebt in stap 3 op de slang van het aftapventiel en de achterste aftapslang van de tank.


Bevestig de geribde fitting van 90° en de aftapslangen met de 2 slangklemmen die u verwijderd hebt in stap 2 .
Verwijder de borgclip waarmee de actuator bevestigd is aan de verdelerklep van de spuitboomklep en bewaar ze.
Note: Knijp de 2 pinnen van de borgclip samen terwijl u deze naar beneden drukt.

Verwijder de actuator uit de verdelerklep en bewaar hem.
Herhaal deze stappen voor de 2 andere klepactuators.
Verwijder de 2 bouten (¼" x ¾"), 4 ringen en 2 borgmoeren (¼") waarmee de spuitboomkleppen aan de bevestigingsbeugel van het verdeelstuk bevestigd zijn(Figuur 26).
Verwijder de spuitboomkleppen van de bevestigingsbeugel van het verdeelstuk en bewaar de kleppen.
Note: Bewaar de spuitboomkleppen. U mag de bouten, ringen en borgmoeren weggooien.
Benodigde onderdelen voor deze stap:
| Klepbevestiging en klep | 1 |
| Dosis/spuitboomcontroller | 1 |
| Magneet | 4 |
| Bout (nr. 8) | 4 |
| Ring (8) | 4 |
| Borgmoer (nr. 8) | 4 |
| Platte ring (¼") | 2 |
| Flenskopbout (5/16" x ¾") | 8 |
| Flensborgmoeren (5/16") | 8 |
| Flenskopbout (¼" x ¾") | 2 |
| Flensborgmoer (¼") | 2 |
Vereiste capaciteit van het hijswerktuig: 23 kg
Gebruik een hijswerktuig met het gespecificeerde hefvermogen om de klepbevestiging op te hijsen en boven de middelste spuitboom uit te lijnen.

Lijn de openingen in de montagebeugel van de klepbevestiging uit met de openingen in het frame van de middelste spuitboom.

Monteer de klepbevestiging op het frame; gebruik hierbij 4 bouten (5/16" x ¾") en 4 flensborgmoeren (5/16").

Herhaal bovenstaande stappen voor de andere montagebeugel van de klepbevestiging aan het andere frame.
Haal de flenskopbouten en flensborgmoeren aan met 19,78 tot 25,42 N·m.
Verwijder de borgclips waarmee de doppen aan het verdeelstuk zijn bevestigd en lijn de omloopbeugels uit over de bovenkant van de kleppen.

Plaats de doppen en borgclips om de omloopbeugels aan het verdeelstuk te bevestigen.

Monteer de omloopbeugels en het verdeelstuk aan de klepbevestiging; gebruik hiervoor 4 bouten (¼" x 3"), 8 ringen (⅝") en 4 borgmoeren (¼") zoals getoond in Figuur 45.

Monteer de magneten en platte ringen (¼") aan de dosis/spuitboomcontroller; gebruik hiervoor 4 bouten (nr. 8) en 4 borgmoeren (nr. 8).
Note: Draai met de hand nog een kwartslag vast om het geheel vast te zetten. Te vast aandraaien kan de magneten beschadigen.

Plaats de controller op de klepbevestiging.

Benodigde onderdelen voor deze stap:
| Fitting met geribde flens (1") | 1 |
| Slang (1" x 7¼") | 1 |
| Slangklem | 4 |
| Drukomzetter | 1 |
| Verdeelstuk | 1 |
| Slang (1" x 8½") | 1 |
| R-klem | 1 |
Lijn de fittingdop met opening, met de drukomzetter en pakking, uit met de T-fittingflens van het verdeelstuk.

Zet de fittingdop en pakking vast op de T-fitting met de flensklem.
Monteer de slang (1" x 7¼") op de geribde elleboogfitting van de drukomzetter en het verdeelstuk.

Bevestig de slangen en de geribde fittings met slangklemmen.
Monteer de slang (1" x 8½") op de andere geribde elleboogfitting van de drukomzetter en het verdeelstuk.
Bevestig de slang en de geribde fitting met een slangklem.
Monteer de slang (1" x 7¼") die bevestigd is aan de drukomzetter en het verdeelstuk op de flensfitting met ribbel van de vloeistofstroommeter.

Bevestig de slang met een slangklem losjes aan de flensfitting met ribbel.
Bevestig de drukomzetter en het verdeelstuk aan de bevestigingsbeugel van het verdeelstuk. Gebruik hiervoor een R-klem, flenskopbout (¼" x ¾") en flensborgmoer (¼").
Monteer de slang (1" x 8½") op de flensfitting van 90° (1").

Bevestig de slang met een slangklem aan de flensfitting.
Draai de slangklem aan waarmee de slang (1" x 7¼") is bevestigd op de flensfitting met ribbel (1") die u gemonteerd hebt in Het verdeelstuk van de drukomzetter monteren; zie Figuur 51.
Snijd de slangen tussen de houders af.


Verwijder de flensborgmoer (5/16") waarmee de houder vastgemaakt is aan de steun van de houder.
Note: De inbusbout (5/16" x ¾" – roestvrij staal) komt los van de bovenste klemhelft wanneer u de klem opent. Bewaar de bout voor montage.Bewaar de flensborgmoer en de houder.Gooi de slangpilaren en afgesneden stukken van de slang weg.

Verwijder de schroeven van roestvrij staal (nr. 12 x 1¼") en verwijder de stelen met slangribbel.
Note: De inbusbout (5/16" x ¾" – roestvrij staal) komt los van de bovenste klemhelft wanneer u de klem opent. Bewaar de bout voor montage.

Benodigde onderdelen voor deze stap:
| Toevoerslang van 279 cm | 2 |
| Toevoerslang van 234 cm | 2 |
| Toevoerslang van 188 cm | 4 |
| Toevoerslang van 81 cm | 2 |
| R-klem | 2 |
| Dubbele R-klem | 2 |
| Enkele R-klem | 2 |
Note: Verzeker dat de geribde fitting goed op de koppeling is gedrukt.
Zet de geribde fittings met een borgclip vast aan de koppelingen.

Note: De toevoerslang van 81 cm heeft een T-fitting met twee vertakkingen en 2 enkele geribde slangstelen.
| Spuitboom | Spuitboomklep | Spuitdop | Toevoerslang |
|---|---|---|---|
| Links | 1 | 1 | 279 cm |
| 2 | 2 | 234 cm | |
| 3 | 3 | 188 cm | |
| 4 | 4 | 188 cm | |
| Midden | 5 | 5 en 6 | 81 cm |
| 6 | 7 en 8 | 81 cm | |
| Rechts | 7 | 9 | 188 cm |
| 8 | 10 | 188 cm | |
| 9 | 11 | 234 cm | |
| 10 | 12 | 279 cm |

Lijn de verbindingsbuis in de zitting van een houder uit [met de opening in de zijkant van de enkele steel met slangribbel (½")].

Sluit de bovenste klemhelft rond de geribde slangaansluiting en zet de klemhelft en houderbehuizing vast met de schroef uit roestvrij staal (nr. 12 x 1¼"); draai deze schroef aan met 14 tot 18 N∙m.
Note: Zorg ervoor dat de bout (5/16" x ¾") in de uitsparing in de bovenste klemhelft zit wanneer u de klem sluit.
Maak de houders vast aan de bevestigingen met de eerder verwijderde flensborgmoeren (5/16")

Draai de flensborgmoer aan met 1978 tot 2542 N·cm.
Zorg dat de slangen en geribde koppelingen van 13 x 810 mm uitgelijnd zijn met de voorkant van de middelste spuitboom tussen de linker- en rechtersteunbeugel van de middelste spuitboom.
Leid de slang van 13 mm en de steel met slangribbel tussen de framesteunen van het buitenste frame.


Leid de slang en de steel met slangribbel boven de framesteun en naar buiten, naar de buitenste spuitdopbeugel.
Leid de andere slang van 13 mm en de steel met slangribbel tussen de framesteunen van het binnenste frame.
Leid de slang en de steel met slangribbel boven de framesteun en naar binnen, naar de binnenste spuitdopbeugel.
Herhaal stap 2 tot en met 7 voor de andere slang en spuitdop aan het andere buitenste frame.
Leid de slang met geribde koppeling van 13 x 810 mm naar de zijkant van de middelste spuitboom met de linker- en rechtersteunbeugel voor de spuitboom.
Verwijder de schroef uit roestvrij staal waarmee de bovenste klemhelft is bevestigd aan de zitting.

Zoek de opening in de zijkant van de enkele steel met slangribbel aan het uiteinde van de slang van 25 cm van de slangeenheid (spuitklep 5 of 6) voor de middelste spuitboom.

Lijn de verbindingsbuis in de zitting van een houder uit met de opening in de zijkant van de enkele steel met slangribbel (½").
Sluit de bovenste klemhelft rond de steel met slangribbel en zet de klemhelft en spuitdopbehuizing vast met de schroef uit roestvrij staal (nr. 12 x 1¼"); draai de schroef aan met 226 tot 282 N∙cm.
Important: Draai de schroef uit roestvrij staal niet te vast.
Note: Zorg ervoor dat de bout (5/16" x ¾") in de uitsparing in de bovenste klemhelft zit wanneer u de klem sluit.
Herhaal stap 2 tot 4 voor de enkele steel met slangribbel van de andere slangeenheden (spuitklep 5 of 6) voor de middelste spuitboom.
Breng de inbusbout (5/16" x ¾") van de houder door de opening in de bevestiging en bevestig de houder losjes aan de bevestiging; gebruik hierbij de flensborgmoer (5/16").

Herhaal de bovenstaande stap voor de 3 andere houders voor de middelste spuitboom.
Draai de flensborgmoeren aan met 1978 tot 2542 N·cm.
Benodigde onderdelen voor deze stap:
| Achterste kabelboom | 1 |
| Kabelbinder | 3 |
Zoek de aftakkingen van 165 cm en 203 cm van de nieuwe elektrische kabelboom.

Leid de aftakkingen van 165 cm en 203 cm van de nieuwe elektrische kabelboom tussen de klepbevestiging van de 10 spuitkleppen en de rechtersteun van de bevestigingsbeugel van het verdeelstuk.

Leid de aftakkingen van 165 cm en 203 cm van de elektrische kabelboom naar voren langs de rechter framebuis.

Steek de druknagels van de aftakking van 203 cm van de achterste kabelboom in de openingen in de rechterframebuis waar u de druknagels van de oude achterste kabelboom verwijderd hebt; zie stap 3 in De voorste en achterste kabelbomen loskoppelen.
Note: Gebruik een mechanische takel wanneer u de voorste en achterste kabelboom gaat aansluiten.
Zoek onder de machine, naast de rechterframebuis, de connectors voor de voorste en achterste kabelbomen van de machine.

Sluit de connector met 10 contacten van de voorste kabelboom voor de kabelboomverbinding van de spuitmachine aan op de connector met 10 pinnen van de achterste kabelboom voor de kabelboomverbinding van de spuitmachine (Figuur 73).

Sluit de connector met 8 pinnen van de voorste kabelboom voor de kabelboomverbinding van de spuitmachine aan op de connector met 8 contacten van de achterste kabelboom voor de dosisschakelaar.

Sluit de connector met 2 pinnen van de voorste kabelboom voor de spoelpomp aan op de connector met 2 contacten van de achterste kabelboom voor de spoelpomp.

Sluit de connector met 2 pinnen van de voorste kabelboom voor de voeding van de slanghaspel aan op de connector met 2 contacten van de achterste kabelboom voor de voeding van de slanghaspel.

Sluit de connector met 10 pinnen van de voorste kabelboom voor de kabelboomverbinding van de spuitmachine aan op de connector met 10 contacten van de achterste kabelboom voor de kabelboomverbinding van de spuitmachine.

Om het aansluiten van de data- en elektrische kabelboom voor navigatie makkelijker te maken: verzeker dat de connector met 1 contact van de achterste kabelboom en de connector met 4 contacten van de achterste kabelboom zich bovenop de kabelboom bevinden.

Bevestig het pomponderbrekings-relais van de achterste kabelboom aan de rechter ondersteuning van de hoeklijn onder de bestuurdersstoel.


Leid de druksensorbuis voor de dashboardmeter langs de achterste kabelboom van de machine.

Zet de druksensorbuis vast op de achterste kabelboom met 3 kabelbinders, naast de 3 druknagels bij de ankerpunten van de achterste kabelboom op het chassis.
Important: Zorg dat de druksensorbuis niet wordt ingedrukt of geknikt; trek de kabelbinders niet strakker dan nodig om de buis op zijn plaats te houden.
Lijn de gaten in de montagebeugel van de motorbedieningsmodule uit met het gat in de steunbeugel van de motor en accessoirekast van de motor.


Bevestig de montagebeugel aan de motor met de 3 flenskopbouten en 1 flensmoer die u verwijderd hebt in stap 1 van De motorbedieningsmodule en montagebeugel verwijderen; draai de moeren en bouten aan met de hand.
Lijn het scherm van het onderstel uit met het onderste chassis van de machine.


Schuif de voorste montageflenzen van het scherm van het onderstel over de bouten en slotbouten in de montagebeugels van de motor van de machine.
Monteer het scherm van het onderstel op de montagebeugels en -bouten van de motor; gebruik de 4 flensborgmoeren (5/16") die u verwijderd hebt in stap 2 van Het scherm van het onderstel verwijderen.
Lijn de gaten in het achterste gedeelte van het scherm van het onderstel uit met de gaten in het chassis.

Monteer het achterste deel van het scherm van het onderstel op het chassis met de bevestigingsmiddelen die u heeft verwijderd in stap 1 van Het scherm van het onderstel verwijderen, als volgt:
Machines uit 2016 – 7 flenskopbouten (5/16" x ⅞") en 7 ringen (5/16")
Machines uit 2017 en later – 5 flenskopbouten (5/16" x ⅞") en 5 ringen (5/16")
Draai de moeren en bouten vast met 1129 tot 1582 N·cm.
Benodigde onderdelen voor deze stap:
| Kabelbinder | 3 |
Leid de kabelboomaftakking van 203 cm aan de binnenkant van de steun voor de klepbevestiging, en naar achteren naar de bevestiging voor de 10 kleppen.

Leid de kabelboomaftakking van 81 cm voor de vloeistofstroommeter en de mengklep over de voorzijde van de bevestigingsbeugel van het verdeelstuk.
Steek de druknagels van de kabelboomaftakking van 81 cm in de openingen in de onderste flens van de bevestigingsbeugel van het verdeelstuk.
Leid de kabelboomaftakking van 203 cm over de achterzijde van de bevestiging van de 10 kleppen; monteer de 10 connectors voor de spuitboomkleppen naar achteren, onder de kleppen.

Steek de druknagels van de kabelboomaftakking van 203 cm in de openingen in de onderste flens van de bevestigingsbeugel van de 10 kleppen.
Leid de kabelboomaftakking van 86 cm voor de magneetklep van de spuitpomp over de bovenkant van het framekanaal van de spuitmachine, en omlaag naar de magneetklep van de spuitpomp.

Steek de druknagel van de kabelboomaftakking van 86 cm in de opening in het framekanaal van de spuitmachine.
Leid de connectors van de kabelboomaftakking van 203 cm met de aanduiding Flow Meter (vloeistofstroommeter) en Pressure Transducer (drukomzetter) langs de achterkant van de bevestigingsbeugel van het verdeelstuk.

Sluit de connector met 3 contacten van de kabelboomaftakking van 203 cm voor de vloeistofstroommeter (niet aangeduid) aan op de connector met 3 pinnen van de kabelboom van de vloeistofstroommeter.
Sluit de connector met 3 contacten van de kabelboomaftakking van 203 cm met de aanduiding Pressure Transducer (drukomzetter) aan op de connector met 3 pinnen van de drukomzetter.
Bevestig de magnetische kabelankers voor de vloeistofstroommeter en de drukomzetter op het oppervlak van de bevestigingsbeugel van het verdeelstuk.
Leid de connector met 3 pinnen voor de kabelboom van de mengklep vóór de bevestigingsbeugel van het verdeelstuk.

Sluit de connector met 3 pinnen van de kabelboom van de mengklep aan op de connector met 3 contacten van de kabelboomaftakking van 203 cm met aanduiding Agitation Valve (mengklep).

Sluit onderaan het verdeelstuk van de hefcilinder de connector met 2 contacten van de achterste kabelboom met de aanduiding Enable Solenoid (magneetklep inschakelen) aan op de connector met 2 pinnen voor het inschakelen van de magneetklep.


Sluit aan de onderste rechtermagneetklep de connector met 2 contacten van de achterste kabelboom met de aanduiding Right Down (rechts onder) aan op de connector met 2 pinnen voor de magneetklep rechts onderaan.
Sluit aan de bovenste rechtermagneetklep de connector met 2 contacten van de achterste kabelboom met de aanduiding Right Up (rechts boven) aan op de connector met 2 pinnen voor de magneetklep rechts bovenaan.
Sluit aan de onderste linkermagneetklep de connector met 2 contacten van de achterste kabelboom met de aanduiding Left Down (links onder) aan op de connector met 2 pinnen voor de magneetklep links onderaan.
Sluit aan de bovenste linkermagneetklep de connector met 2 contacten van de achterste kabelboom met de aanduiding Left Up (links boven) aan op de connector met 2 pinnen voor de magneetklep links bovenaan.
Leid de connectors met 3 contacten van de kabelboomaftakking van 203 cm met aanduiding Nozzle Valve 1 (spuitdopklep 1) -tot en met Nozzle Valve 5 (spuitdopklep 5) aan de achterkant van de bevestiging voor de 10 kleppen en onder spuitdopkleppen 1 tot 5.

Leid de connectors met 3 contacten van de kabelboomaftakking van 203 cm met aanduiding Nozzle Valve 6 (spuitdopklep 6) tot en met Nozzle Valve 10 (spuitdopklep 10) achter de bevestiging voor 10 kleppen en onder spuitdopklep 6 tot 10.
Sluit de connector met 3 contacten van de achterste kabelboom met aanduiding Nozzle 1 (spuitdop 1) aan op de connector met 3 pinnen van de kabelboom voor spuitdopklep 1.
Important: Het is belangrijk dat u elk van de aangeduide connectors met 3 contacten van de achterste kabelboom aansluit op de juiste connector met 3 pinnen, en dit op de juiste spuitdopkleplocatie.
Herhaal stap 3 voor spuitdopkleplocaties 2 tot en met 10.
Achteraan de machine, aan de binnenzijde van de spuitpomp, koppelt u de connector met 2 contacten van de kabelboomaftakking van 86 cm met de aanduiding Spray Pump Solenoid (magneetklep spuitpomp) aan op de connector met 2 pinnen van het pomprelais.

Sluit achteraan de machine (tussen de rechter framebuis en het rechter spatbord) de connector met 3 pinnen van de kabelboom van de snelheidssensor aan de rechter hydraulische tractiemotor aan op de connector met 3 contacten (geen aanduiding) van de achterste hoofdkabelboom.

Leid de kabelboomaftakking van 165 cm omhoog en in het achterste gedeelte van het motorcompartiment, langs de rechtersteun van het motorscherm – vóór het kanaal dat het luchtfilter en de motor verbindt.
Note: U zal de aftakking van 165 cm van de achterste kabelboom bevestigen in De data- en elektrische kabelboom voor de navigatie naar de accu leiden.

Leid de kabelboomaftakking van 165 cm over de hoek van het stoelcompartiment en omlaag langs de linkersteun voor het motorscherm.
Note: U zal de aftakking van 165 cm van de achterste kabelboom bevestigen in De data- en elektrische kabelboom voor de navigatie naar de accu leiden.

Leid de kabelboomaftakking van 165 cm omlaag langs de linkersteun van het motorscherm en onder de linker framebuis.

Leid de zekering van 50 A en de positieve en negatieve ringconnector van de kabelboomaftakking van 165 cm naar de bovenzijde van de accu.
Note: U zal de montage van de ringconnectors voltooien in de komende stappen.
Kantel de bestuurdersstoel naar voren en zet de steunstang van de stoel in de pal in het kanaal in het bedieningspaneel.
Verwijder de 5 flenskopbouten (¼" x ¾") waarmee het deksel aan de linkerzijde van het middelste bedieningspaneel is bevestigd.

Verwijder het deksel van het middelste bedieningspaneel.
Note: Kantel indien nodig de bestuurdersstoel naar beneden wanneer u het deksel van het middelste bedieningspaneel haalt.

Leid de aftakking van 81 cm van de achterste kabelboom langs de voorste kabelboom en omhoog door de pakking in het kanaal van het bedieningspaneel.

Leid de aftakking van 81 cm van de achterste kabelboom langs de voorste kabelboom en door de pakking achteraan in het middelste bedieningspaneel.
Duw de vergrendeling voor de connector met 8 contacten van de spuitpompschakelaar in, en haal de connector van de schakelaar.

Plaats de connector met 8 contacten zo dat u de achterkant van de connector kunt zien en met de vergrendeling omhoog.


Steek de aansluiting aan het uiteinde van de kabelboomaftakking van 81 cm van de achterste kabelboom in aansluitpunt nr. 4 van de connector met 8 contacten.
Note: Zorg dat de vergrendeling van de aansluiting vastklikt in de connector met 8 contacten.
Sluit de connector met 8 contacten van de kabelboom aan op de connector met 8 pinnen van de spuitpompschakelaar.

Bevestig de aftakking van 81 cm van de achterste kabelboom aan de voorste kabelboom van de machine.

Lijn het deksel dat u verwijderd hebt (Figuur 99) uit met de linkerzijde van het middelste bedieningspaneel.

Monteer het deksel op het middelste bedieningspaneel; gebruik hierbij de 5 flenskopbouten (¼" x ¾") die u eerder verwijderd (Figuur 98) en draai de bouten vast met 520 tot 678 N·cm.
Lijn het uiteinde van de druksensorbuis van de drukmeter in het dashboard uit met de koppeling aan het uiteinde van de kleppensectie.

Druk de sensorbuis in de koppeling tot de buis niet meer verder kan.
Benodigde onderdelen voor deze stap:
| Navigatieontvanger | 1 |
| Beugel van ontvanger | 1 |
| Bouten (M5) | 4 |
| Ring | 4 |
| U-bout | 4 |
| Flensborgmoer (⅜") | 4 |
Bevestig de ontvanger aan de beugel van de ontvanger met 4 bouten (M5) en 4 ringen.
Note: Zorg ervoor dat beide pijlen naar de voorkant van de machine wijzen.

Lijn de pijl op de beugel van de ontvanger uit met het middel van de rolbeugel en bevestig het geheel op de rolbeugel. Gebruik hiervoor 4 U-bouten en 4 borgmoeren (⅜").

Benodigde onderdelen voor deze stap:
| Antennebevestiging | 1 |
| Popnagel | 2 |
| Magneet | 2 |
| Antenne van modem | 1 |
| Antenne met grote versterking(afzonderlijk verkrijgbaar) | 1 |
| Kabelbinders | 7 |
Monteer de beugel van de antenne van de modem op de rolbeugel.

Verwijder vet of olie van het oppervlak waarop de antenne wordt bevestigd.
Verwijder de achterkant van de dubbelzijdige plakstrip en plak de antenne op de bevestiging.

Bevestig de antenne en de kabelboom aan de bevestiging met 3 kabelbinders.

Monteer de antenne met grote versterking (afzonderlijk verkrijgbaar) bovenaan de rolbeugel.

Leid de kabelbomen van de antenne van de modem naar rechts, langs de rolbeugel.

Leid de kabelboom naar beneden en naar voren.
Benodigde onderdelen voor deze stap:
| Display | 1 |
| Bal | 1 |
| Monitorarm | 1 |
| Verstevigingsbeugel | 1 |
| Flenskopbout (¼" x 1½") | 4 |
| Ring (¼") | 4 |
| Flensborgmoer (¼") | 4 |
Zoek de 4 pluggen (¼") in het dashboard aan de linkerkant van de handgreep.

Verwijder de 4 pluggen uit het dashboard.
Verwijder de 2 cilinderschroeven met kruiskop (¼" x 1") en de borgmoer (¼") waarmee de motorkapbeugel aan het dashboard is bevestigd.

Verwijder de 2 klemmoeren (¼") van de motorkapbeugel.
Note: Bewaar de cilinderschroeven met kruiskop, de flensborgmoer en de clipmoeren en gooi de motorkapbeugel weg.
Monteer de eerder verwijderde clipmoeren op de verstevigingsbeugel.

Monteer de beugel aan het dashboard met de 4 flenskopbouten (¼" x 1½"), 4 ringen en bevestig hem aan de verstevigingsplaat met 4 flensborgmoeren (¼").

Monteer de verstevigingsplaat losjes met de 2 eerder verwijderde cilinderschroeven met kruiskop (¼" x 1") en flensborgmoer (¼").
Haal de flenskopbouten, cilinderschroeven met kruiskop en flensborgmoer aan met 1163 tot 1435 N·cm.
Bevestig het display aan de beugel; gebruik hierbij 4 bouten (5/16") en 4 moeren (5/16").

Maak de knop van de displayarm op de gewenste plek vast.
Benodigde onderdelen voor deze stap:
| Kabelboomadapter | 1 |
| Data- en elektrische kabelboom | 1 |
| Kabelbinder | 8 |

Leid de aftakking van 302 cm van de data- en elektrische kabelboom voor navigatie langs de rechter rolbeugelbuis, met de connector met 12 contacten (grijs) en de connector met 12 contacten (zwart) omhoog naar de navigatieontvanger.
Important: Wanneer u de kabelboom bevestigt aan de rolbeugelbuis, moet u ervoor zorgen dat de kabelboom wat speling heeft zodat hij niet aan de connectoren trekt.
Sluit de 2 connectoren aan de lange kant van de connector met 12 contacten van de datakabelboom met de aanduiding aan op de connectorsleuven in de adapterkabelboom.

Steek de adapterkabelboom in de ontvanger.
Leid de aftakking van 302 cm van de datakabelboom met de connector met 4 pinnen met de aanduiding omlaag naar de plaats waar de voorste en achterste kabelboom van de machine samenkomen; zie Figuur 78 in De voorste en achterste kabelboom aansluiten.

Leid de aftakking van 34 cm van de datakabelboom met de connector met 4 pinnen met de aanduiding omlaag naar de plaats waar de voorste en achterste kabelboom van de machine samenkomen; zie Figuur 78 in De voorste en achterste kabelboom aansluiten.
Sluit de connector met 4 pinnen van de aftakking van de datakabelboom met de aanduiding aan op de connector met 4 contacten van de achterste GeoLink kabelboom voor het CAN 2 / spuitcontrollercircuit.

Verwijder de afsluitweerstand van de connector met 6 contacten van de datakabel en gooi deze weg.

Leid de aftakking van 270,5 cm van de voedingskabelboom van de data- en elektrische kabelboom voor navigatie over de hoek van het stoelcompartiment en omlaag langs de linkersteun voor het motorscherm.

Bevestig de kabelboom met kabelbinders aan de steun van het motorscherm.
Leid de aftakking van 270,5 cm van de voedingskabelboom langs de linkersteun van het motorscherm en onder de linker framebuis.

Bevestig de kabelboom met 3 kabelbinders aan het gat in de hoek van het stoelcompartiment en het motorscherm.

Leid de zekering van 10 A en de positieve en negatieve ringconnector van de aftakking van 220 cm van de elektrische kabelboom voor het navigatiesysteem naar de bovenzijde van de accu.
Note: U zal de montage van de ringconnectors voltooien in de komende stappen.
Leid aan de rechterzijde van het motorcompartiment de aftakking van 226 cm van de datakabelboom voor de monitor vóór het luchtfilter van de motor en omlaag naar de onderste hoek aan de rechterkant van de radiateur.

Leid de kabelboom naar voren en door de 2 R-klemmen aan de onderkant van de machine en omhoog door de pakkingring die om de opening in het vloerpaneel zit.

Bevestig de kabelboom met 3 kabelbinders aan de voorste kabelboom van de machine.
Blijf de kabelboomaftakking omhoog leiden en langs de voorste kabelboom van de machine en omhoog door de pakkingring die om de opening in het dashboard zit.
Sluit de kabel aan op de achterkant van de monitor.

Benodigde onderdelen voor deze stap:
| Voedingskabelboom van modem - 1850 mm - set voor GeoLink precisiespuitsysteem (model 41712 of model 41713) | 1 |
| Kabelbinders - set voor GeoLink precisiespuitsysteem (model 41712 of model 41713) | 5 |
Leid tussen de beugel van de brandstoftank en het rechter voorspatscherm de lipconnector (met de aanduiding (geschakeld)) en 2 ringconnectoren (met de aanduiding (accu) en (aarding)) van de voedingskabelboom van de modem onder het frame van de machine.

Leid de voedingskabel van de modem aan de binnenzijde van het rechter stoelcompartiment naar voren en de connector van de voedingskabel met de aanduiding RS232 langs de machinekabelboom.
Note: De connector met de aanduiding RS232 wordt niet gebruikt.


Leid de voedingskabelboom van de modem langs de bovenkant van de radiateur, langs de machinekabelboom.


Steek de aansluiting van de voedingskabelboom van de modem met de aanduiding (geschakeld) in de vrouwelijke connector voor vermogen voor opties van de zekeringhouder.
Note: Als de zekeringhouder van uw machine geen beschikbaar vermogencircuit voor opties heeft, monteer dan een extra zekeringhouder voor vermogen voor opties; raadpleeg uw erkende Toro distributeur.

Plaats de zekering (10 A) in de aansluiting van de zekeringhouder voor het stroomcircuit voor opties dat u in stap 1 hebt gebruikt.

Bevestig de aftakking geschakelde voeding en aarding van de kabelboom van de set met 5 kabelbinders aan de kabelboom van de machine.
Leid de ringconnectoren van de kabelboom met de aanduiding (accu) en (aarding) naar achteren en over de steunplaat van de stoel.

Leid de ringconnectoren onder de linker framebuis en over de bovenkant van de accu.
Note: In de komende stappen zult u de ringconnectoren aansluiten op de accukabels.
Benodigde onderdelen voor deze stap:
| Datakabelboom modem - 300 cm | 1 |
| Kabelbinders | 8 |
Schroef de connector van de kabelboom van de modem in het display.

Leid de datakabel van de modem door het opslagcompartiment.
Leid de datakabel van de modem langs de kabelboom van de machine en door de pakkingring in de bodemplaat.

Bevestig de datakabel van de modem met 4 kabelbinders aan de kabelbomen van de machine.
Leid aan de onderkant van de machine de datakabel van de modem naar achteren, langs de kabelboom van de machine.

Leid aan de achterkant van de radiateur de datakabel van de modem naar boven.

Bevestig de datakabel van de modem met 4 kabelbinders aan de kabelbomen van de machine.
Leid de datakabel van de modem langs de voedingskabelboom van de modem, uit de rechterzijde van de machine en tussen de beugel van de brandstoftank en het rechter voorspatscherm.


Benodigde onderdelen voor deze stap:
| CL-55 modem | 1 |
| Beugel van modem | 1 |
| Bout (nr. 10 x 1¾") | 2 |
| Afstandsstuk | 2 |
| Borgmoer (nr. 10) | 2 |
Steek de coaxiale connector van de kabelboom van de antenne van de modem met de aanduiding in de coaxiale poort van de CL-55 modem met de aanduidingWIFI/BT en maak de coaxiale connector vast.

Steek de blauwe coaxiale induwconnector van de kabelboom van de antenne van de modem met de aanduiding in de connector van de CL-55 modem met de markering, tot de connectoren goed vastzitten.
Steek de violette coaxiale induwconnector van de kabelboom van de antenne van de modem met de aanduiding in de connector van de CL-55 modem met de markering, tot de connectoren goed vastzitten.
Alleen voor CDMA-modems:Steek de rode coaxiale induwconnector van de kabelboom van de antenne van de modem met de aanduidingLTE-2 in de connector van de CL-55 modem met de markering4G DIV, tot de connectoren goed vastzitten.
Note: De gsm-modem heeft geen LTE-2-connector.
Steek de connector met 4 pinnen van de datakabelboom van de modem met de aanduiding in de connector met 4 contacten (zonder aanduiding) van de CL-55 modem, en draai de kartelmoer van de connector met 4 pinnen vast.

Steek de connector met 18 contacten van de voedingskabelboom van de modem met de aanduiding in de connector met 18 pinnen van de CL-55 modem.
Bevestig de modem aan de beugel; gebruik hierbij 2 bouten (nr. 10 x 1¾"), 2 afstandsstukken en 2 borgmoeren (nr. 10).

Plaats de beugel van de modem op het rechterpaneel van het stoelcompartiment over de boutkoppen.
Important: Zorg ervoor dat de kabelbomen binnen de beugel van de modem worden geleid.

Benodigde onderdelen voor deze stap:
| ISO-CAN-bus kabelboom - 302 cm | 1 |
| Kabelbinders | 12 |
Lijn aan de voorkant van de machine de connector met 4 pinnen van de ISO-CAN-bus kabelboom - 302 cm met de aanduiding TO ISOBUS (naar ISOBUS) naar het dashboard.

Verwijder de ISO-bus terminator van de connector met 4 contacten van de GeoLink kabelboom met de aanduiding CAN 1 ISOBUS TERMINATOR
Note: U hebt de dop niet meer nodig.

Steek de TO ISOBUS connector van de ISO-CAN-bus kabelboom in de CAN 1 ISOBUS TERMINATOR connector van de GeoLink kabelboom.
Leid het andere uiteinde van de ISO-CAN-bus kabelboom door de pakkingring van de vloer.

Bevestig de ISO-CAN-bus kabelboom met 2 kabelbinders aan de kabelboom van de machine.
Leid aan de onderkant van de machine de ISO-CAN-bus kabelboom langs de kabelboom van de machine.

Bevestig de ISO-CAN-bus kabelboom met 3 kabelbinders aan de kabelboom van de machine.
Klap de bestuurdersstoel naar voren en ondersteun hem met de steunstang.
Leid aan de rechterkant van de radiateur de ISO-CAN-bus kabelboom naar omhoog, langs de kabelboom van de machine en naar het middelste bedieningspaneel.

Leid de ISO-CAN-bus kabelboom onder de voet van de bedieningseenheid en langs de kabelboom van de machine.

Leid de connector met 3 pinnen (met de aanduiding TO TORO CANBUS (naar Toro CAN-bus)) en de connector met 3 contacten (met de aanduiding CAN PORT A (CAN-poort A)) van de ISO-CAN-bus kabelboom door het gat in de voet van de bedieningseenheid.
Bevestig de ISO-CAN-bus kabelboom met 6 kabelbinders aan de kabelboom van de machine.
Verwijder de dop van de connector met 3 contacten van de machinekabelboom (met de aanduiding CAN DIAGNOSTICS INTERCONNECT (verbinding CAN-diagnostiek)).

Steek de connector met 3 pinnen van de ISO-CAN-bus kabelboom (met de aanduiding TO TORO CANBUS (naar TORO CAN-bus)) in de connector met 3 contacten van de kabelboom van de machine (met de aanduiding CAN DIAGNOSTICS INTERCONNECT (verbinding CAN-diagnostiek)).
Laat de passagiersstoel zakken.
Verwijder de 4 tapbouten met flenskop (¼" x ¾") waarmee het zijpaneel van de bedieningseenheid is bevestigd.

Kantel de stoel naar voren en verwijder de onderste achterste tapbout met flenskop.
Verwijder het zijpaneel van het middelste bedieningspaneel.
Verwijder en bewaar de weerstand 75&ohm voor de TEC-controller uit de connector met 3 contacten (zonder aanduiding) van de machinekabelboom.
Note: U installeert het zijpaneel aan het middelste bedieningspaneel wanneer u de AutoSteer set voor de Multi Pro 5800 spuitmachine met GeoLink monteert; raadpleeg de instellingsinstructies in de Montage-instructies van de AutoSteer set.

Monteer het zijpaneel met 4 tapbouten met flenskop (¼" x ¾") aan het frame van het bedieningspaneel.

Kantel de stoel naar voren en monteer de onderste achterste tapbout met flenskop.
Benodigde onderdelen voor deze stap:
| Adapterkabelboom - 13 cm | 1 |
| Kabelbinder | 1 |
Verwijder aan de satellietontvanger en de antenne de ISO-bus terminator voor de connector met 6 contacten en gooi de terminator weg.

Steek de connector met 6 pinnen van de adapterkabelboom van 13 cm in de connector met 6 contacten van de GeoLink kabelboom.
Maak de adapterkabelboom met een kabelbinder vast aan de GeoLink kabelboom.
Leid de positieve ringconnector (rode kabel), de negatieve ringconnector (zwarte kabel) en de zekeringhouder van 50 A van de achterste kabelboom omhoog tussen de accubak en het chassis van de machine.

Leid de positieve ringconnector (rode kabel), de negatieve ringconnector (zwarte kabel) en de zekeringhouder van 10 A van de elektrische kabel voor de navigatie omhoog tussen de accubak en het chassis van de machine.
Leid de ringconnectoren met de aanduiding (accu) en (aarding) van de voedingskabelboom van de modem naar omhoog tussen de accubak en het chassis van de machine.
Verwijder de T-bouten en de zeskantige moeren van de connectors van de plus- en minkabel van de accu (Figuur 156).
Monteer een T-bout door de positieve connector (rode kabel) van de achterste kabelboom, de positieve connector van de elektrische kabel voor de navigatie, de voedingskabelboom van de modem en de connector van de pluskabel van de accu.
Bevestig de connectors en de T-bout losjes met een zeskantige moer.
Monteer een T-bout door de negatieve connector (zwarte kabel) van de achterste kabelboom, de negatieve connector van de elektrische kabelboom voor de navigatie, de voedingskabelboom van de modem en de connector van de minkabel van de accu.
Bevestig de connectors en de T-bout losjes met een zeskantige moer.
Sluit de accu aan; raadpleeg de Gebruikershandleiding.
Steek het sleuteltje in de contactschakelaar en draai het naar de stand AAN.
Note: Start de motor niet.
Wanneer het startscherm wordt weergegeven, houdt u knop 5 (uiterst rechts) van het InfoCenter ingedrukt om naar het hoofdmenu te gaan.


Druk in het hoofdmenu op knop 1 of knop 2 tot de optie Instellingen aangeduid is, en druk op knop 4 om het menu Instellingen te openen.

Druk in het menu Instellingen op knop 1 of knop 2 tot de optie GeoLink aangeduid is, en druk op knop 4 om het menu GeoLink te openen.

Druk in het menu GeoLink op knop 4 om 'Ja' te selecteren, en druk op knop 5 om uw instellingen te bewaren en het menu te verlaten.

Draai het contactsleuteltje naar de stand UIT.

Draai het contactsleuteltje naar de stand AAN.
Note: Het InfoCenter moet nu het startscherm van het GeoLink-systeem weergeven.

Draai het contactsleuteltje naar de stand UIT.
Draai het contactsleuteltje naar de stand AAN.
Controleer of de volgende onderdelen aangeven dat elk onderdeel van voeding wordt voorzien:
Bedieningspaneel - geeft afbeeldingen en tekst weer

Satellietontvanger - de STROOMINDICATORbrandt

Modem - de ledindicatoren branden.

Automatische besturing van de spuitboomsecties - de STATUSINDICATOR brandt

Draai het contactsleuteltje op UIT.
Controleer dat de voeding naar de volgende onderdelen uitgeschakeld is:
Bedieningspaneel
Satellietontvanger
Automatische besturing van de spuitboomsecties
Raadpleeg de Softwaregids van uw GeoLink systeem.
Voer de volgende stappen uit:
De softwareversie controleren.
De maateenheden selecteren.
Een veld creëren.
Een nieuw product en een nieuwe gebruiksdosis creëren.
Een spuittaak creëren.
Het spuitsysteem controleren.
De mengomloopklep balanceren.
De vloeistofstroommeter kalibreren.
De cellulaire status controleren.
Het kompas op de locatie van de distributeur kalibreren.
Het niet vluchtig RAM op de locatie van de klant verwijderen.
Het kompas op de locatie van de klant kalibreren.