Note: このキットはモデル 41712 またはモデル 41713 と一緒に取り付けます。
GeoLink散水システム キットは、Toro Multi Pro芝生散水車両用のアタッチメントであり、商業用途で専門に雇われたオペレーターが使用することを目的としています。これは、高度な管理を受けている公園やゴルフ場、スポーツフィールド、商用目的で使用される芝生に散水することを主たる目的として製造されています。この機械は本来の目的から外れた使用をすると運転者本人や周囲の人間に危険な場合があります。
この説明書を読んで製品の運転方法や整備方法を十分に理解し、他人に迷惑の掛からないまた適切な方法でご使用ください。この製品を適切かつ安全に使用するのはお客様の責任です。
製品の安全や取り扱い講習、アクセサリなどに関する情報、代理店についての情報の入手、お買い上げ製品の登録などをネットで行っていただくことができます:www.Toro.com
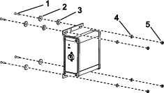
整備について、またToro純正部品についてなど、分からないことはお気軽に弊社代理店またはToroカスタマーサービスにおたずねください。お問い合わせの際には、必ず製品のモデル番号とシリアル番号をお知らせください。図 1 にモデル番号とシリアル番号の表示位置を示します。いまのうちに番号をメモしておきましょう。
Important: シリアル番号プレートに QR コードがついている場合は、スマートフォンやタブレットでスキャンすると、製品保証、パーツその他の製品情報にアクセスできます。

この説明書では、危険についての注意を促すための警告記号(図 2)を使用しております。これらは死亡事故を含む重大な人身事故を防止するための注意ですから、必ずお守りください。

この他に2つの言葉で注意を促しています。重要「重要」は製品の構造などについての注意点を、注はその他の注意点を表しています。
この散布装置で取り扱う農薬は人体や動植物、土壌などに危険を及ぼす可能性があるので取り扱いには十分注意すること。
自分自身の安全を守るために、農薬を取り扱う前に、容器に張ってあるラベルや安全データシート(SDS)など取り扱い上の注意をよく読んで理解し、薬剤メーカーの指示を守りましょう。たとえば、保護めがね(ゴグル)、手袋など、薬剤との接触を防止し危険から身を守ることのできる適切な保護対策を講じる。
散布する薬剤は一種類とは限らないので、取り扱っているそれぞれの薬剤について注意事項を必ず確認する。
上記安全確保に必要な情報が手に入らない場合には、この装置の運転を拒否してください。
散布装置の整備や修理をする時は、その前に必ず、その装置が薬剤メーカーの指示通りに3回のすすぎ洗いや必要な中和処理を実行済みであること、さらに、すべてのバルブにそれぞれ 3 回の開閉操作洗浄が実施されていることを確認する。
十分な量の水と石鹸を身近に常備し、薬剤が皮膚に直接触れた場合には、直ちに洗い流してください。
![]() |
セーフティラベルや指示は危険な個所のオペレーターから見やすい部分に貼付してあります。破損したりはがれたりした場合は新しいラベルを貼り直してください。 |



お使いのマシンの取扱説明書を参照してください。
マシンを平らな場所に停車して駐車ブレーキを掛ける。
左右のブームセクションを水平位置に降下させる。
エンジンを切り、キーを抜き、バッテリーを外す。
スプレーヤーの洗浄
Important: ジオリンクスプレー システム仕上げキットを取り付ける前に、散水タンクを完全に空にする必要があります。
キャリッジ下シュラウドの後部をマシンのシャーシに固定している次のハードウェアを取り外して保管します。
2016 年度のマシン — フランジヘッドボルト(5/16" x ⅞")7本とワッシャ(5/16")7枚
2017 年度以降のマシン — フランジヘッドボルト(5/16" x ⅞")5本とワッシャ(5/16")5枚


キャリッジ下シュラウドのサポートストラップをマシンのエンジンマウントブラケットに固定しているボルトとキャリッジ ボルトからフランジロックナット (5/16") 4個を取り外し、保持します。
Note: マシンからボルトを取り外さないでください。

キャリッジ下シュラウドをエンジン搭載ブラケットに固定しているボルトに沿ってサポートストラップを持ち上げる。
キャリッジ下シュラウドをマシンから取り外す。
エンジンコントロールモジュールの取り付けブラケットをエンジンのサポートブラケットとエンジンのアクセサリー ケースに固定しているフランジヘッドボルト3本とフランジ ナット1個を取り外して保持します。


エンジンコントロールモジュールと取り付けブラケットを下方および後方に移動して、マシンのフロントおよびリアのワイヤリングハーネスのコネクタにアクセスできるようにします。
Note: エンジン制御モジュールをエンジンから取り外したり切断したりしないでください。
右ブームセクションのバルブの端にある圧力検知チューブの接続を見つけます。

チューブカプラーのカラーを押し込み、ダッシュ圧力計の圧力感知チューブを引き抜きます。
マシンの後部 (右フレームチューブと右フェンダーの間) で、右油圧トラクションモーターにある速度センサーハーネスの3ピン コネクタを後部のメインハーネスの3ソケット コネクタから外す。

マニホールドマウントの背面で、撹拌バルブから3ソケット コネクタを外し、3つのブーム セクションバルブから 3ソケット コネクタを外す。

リアワイヤーハーネスをマニホールドマウントの前側と下部プレートの穴に固定しているプッシュインファスナーを取り外す。

リアワイヤーハーネスの3ソケットコネクタを圧力トランスデューサーの3ピンコネクタから外す。

マシンの背面で、次の手順に従ってリフトシリンダーマニホールドの次の2ソケット コネクタを取り外す。
右—アップソレノイド
左—アップソレノイド
有効化ソレノイド
右—ダウンソレノイド
左—ダウンソレノイド

マシンの後部、スプレーポンプの内側で、後部のメインハーネスの2ソケット コネクタをポンプ用リレーの2ピン コネクタから外す。

リアワイヤーハーネスをリアクロスチューブ(油圧トラクションモーターの後方)の穴に固定しているプッシュインファスナーを取り外す。

マシンのリアワイヤーハーネスからダッシュゲージ用圧力感知チューブを取り外す。

リアワイヤハーネスをマシンから取り外す。
Note: マシンから外したリアメインハーネスは廃棄して構いません。
この作業に必要なパーツ
| ケーブルタイ | 1 |
| スイッチのプラグ | 1 |
マシンのダッシュパネルの下から、レート制御スイッチのロックタブと一緒に、レート制御スイッチをダッシュ パネルから押し上げます。

マシンのフロントハーネスの8ソケットコネクタ (「レートスイッチ」というラベルが付いている) をスイッチの8ピンコネクタから外す。
Note: マシンから外したレートスイッチは、もう使用しません。
フロントハーネスの、レートスイッチ用の枝線を、ダッシュボードの穴から出して、配線分岐をケーブルタイでフロントハーネスに縛り付ける。
スイッチプラグを、プラグがパネルにしっかりとカチッと音がするまでダッシュパネルに差し込む。
Note: 後の取り付けや交換部品として使えるよう、全ての部品を保管しておいてください。
フィッティングキャップ、T字継手、および圧力トランスデューサをブームセクションのバルブの端に固定しているリテーナを取り外します。

キャップ、トランスデューサー、T字継手を切り離す。
Note: 特に明記されていない限り、全ての部品は後で取り付けたり、交換部品として使えるように保管しておいてください。
バルブマウントをマニホールドマウントに固定しているボルト、ワッシャー、ロックナットそれぞれ2個を取り外す。

3つのブームセクションバルブをマウント ブラケットに固定しているフランジヘッドボルト (1/4 x 3")2本、フランジロックナット (1/4")2個、およびワッシャー4個を緩める (取り外さないこと)。

ブームセクションバルブ3個をフローメータ に固定しているフランジクランプとガスケットを取り外す。
Note: フローメータ は取り外さないこと。

外側のブームセクションで、ブームセクションの供給ホースをバーブT字継手に固定しているホースクランプを取り外す。

T字継手からホースを取り外す。
ホースの自由端をR クランプから取り外す。
もう一方のアウターブームセクションの供給ホースでも、ステップ 1~3 を繰り返す。
中央のブームセクションの下で、ブームセクションの供給ホースをバーブT字継手に固定しているホースクランプを取り外す。

ストレートフィッティングをブームセクションバルブのクイックディスコネクトフィッティングに固定しているリテーナを取り外す。

ブームセクションのバルブから切断されたホースを取り外す。
アッパーバイパスホースの下端で、フランジヘッドボルト (5/16 x 3/4")、ワッシャー (5/16")、およびアッパーバイパスホースをマシンのリアサドルプレートに固定している R クランプを取り外す。


アッパーバイパス ホースとロアバイパス ホースを90 °バーブフィッティングに固定している2つのホースクランプを取り外して保持する。
90°バーブフィッティングをホースから取り外して保持する。
ドレンバルブホースとリアタンクドレンホースをバーブ付き T字継手に固定しているホースクランプを取り外す。


リアタンクのドレンのドレンバルブホースからT字継手を取り外す。
バイパス ホースの 90 °バーブ付き継手を右ブームセクションバルブのバイパスバルブのクイックディスコネクトフィッティングに固定しているリテーナーを取り外し、ホースとバーブ付き継手を切り離す。

上下のバイパスホースをマシンから取り外す。
Note: 取り外したシャットオフバルブ、T字継手、および上下のバイパスホースは不要です。

バーブ付き90° フィッティング(ステップ 3 で外したもの)を、ドレンバルブホースとタンク後部ドレンホースに取り付ける。


バーブ付き90° フィッティングとドレンホース2本を固定する;ホースクランプ(ステップ2で外したものを使用する( と)。
アクチュエータをセクションバルブアセンブリのマニホールドバルブに固定しているリテーナを取り外して保持する。
Note: リテーナの2本の足を寄せながら下へ押すと外れます。

アクチュエータをマニホールドバルブから取り外して保持する。
他の 2 つのバルブ アクチュエータに対してこれらの手順を繰り返す。
ブーム セクションバルブをマニホールド マウント (図 26 ) に固定しているボルト (1/4 x 3")2本、ワッシャー4個、およびロックナット (1/4")2個を取り外す。
ブームセクションバルブをマニホールドマウントから取り外し、バルブを脇に置く。
Note: ブームセクションバルブは保管しておく。ボルト、ワッシャー、ロックナットは廃棄しても構いません。
この作業に必要なパーツ
| バルブマウントとバルブアセンブリ | 1 |
| レート/セクションコントローラー | 1 |
| マグネット | 4 |
| ボルト(#8) | 4 |
| ワッシャ(8枚) | 4 |
| ロックナット(#8) | 4 |
| 平ワッシャ(1/4") | 2 |
| フランジヘッドボルト(5/16 x 3/4") | 8 |
| フランジロックナット(5/16") | 8 |
| フランジヘッドボルト(1/4 x 3/4") | 2 |
| フランジロックナット(1/4") | 2 |
吊り上げ装置に必要な能力: 23kg
指定された容量の吊り上げ装置を使って、バルブマウントを持ち上げ、中央のブームセクションの上に位置合わせる。

バルブマウントのマウントブラケットの穴をセンターブーム部のトラスフレームの穴に合わせる。

ボルト (5/16 x 3/4")4本とフランジ ロックナット (5/16")4個を使って、バルブ マウントをトラス フレームに組み付ける。

バルブマウントの他のマウントブラケットを他のトラスフレームに対して上記の手順を繰り返す。
フランジヘッドボルトとフランジロックナットを 1978-2542 N·cm (2.14-2.74kg.m )でトルク締めする。
キャップをマニホールドアセンブリに固定しているリテーナを取り外し、バイパスブラケットをバルブの上部に合わる。

キャップとリテーナーを取り付けてバイパスブラケットをマニホールドアセンブリに固定する。

図 45に示すように、ボルト (1/4 x 3")4本、ワッシャー (5/8”)8枚、およびロックナット (1/4")4個を使って、バイパスブラケットとマニホールドアセンブリをバルブ マウントに組み付ける。

ボルト(#8)4本とロックナット(#8)4個を使って、マグネットと平ワッシャー (1/4") をレート/セクションコントローラーに取り付ける。
Note: さらに4分の1回転手締めして、アセンブリを固定する。締めすぎるとマグネットが損傷する可能性があります。

コントローラーアセンブリをバルブマウント上に置く。

この作業に必要なパーツ
| バーブ付きフランジフィッティング(1") | 1 |
| ホース(1x7-1/4") | 1 |
| ホースクランプ | 4 |
| 圧力トランスデューサ | 1 |
| マニホルド | 1 |
| ホース(1x8-1/2") | 1 |
| R クランプ | 1 |
圧力トランスデューサおよびガスケットを備えたポート付き継手キャップをマニホールドのT字継手フランジに位置合わせする。

フランジクランプを使って、継手キャップとガスケットをT字継手に固定する。
ホース (1x7-1/4")を圧力トランスデューサーとマニホールドのバーブエルボ継手に取り付ける。

ホースとバーブ付き継手をホースクランプで固定する。
ホース(1x 8-1/2")を圧力トランスデューサーとマニホールドのもう一方のバーブ付きエルボ継手に取り付ける。
ホースとバーブフィッティングをホースクランプで固定する。
圧力トランスデューサーとマニホールドに取り付けられたホース ( x7-1/4”) をフローメーターのバーブ付きフランジ継手に取り付ける。

ホースクランプを使ってホースをバーブ付きフランジ継手に仮止めする。
Rクランプと付属のフランジヘッドボルト(1/4x3/4")およびフランジロックナット(1/4")を使って、圧力トランスデューサーとマニホールドをマニホールドマウントに固定する。
ホース (1 x 8-1/2") を 90°フランジ継手(1")に取り付ける。

ホースクランプを使用してホースをフランジ継手に固定する。
ホース(1x 7-1/4")をバーブ付きフランジ継手(1")に固定するホースクランプ(圧力トランスデューサマニホルドを取り付けるで入れておいたもの)を締め付ける;図 51を参照。)
タレット間のホースを切断する。


タレットをサポートに固定しているフランジロックナット(5/16")を取り外す。
Note: クランプを開くと、アッパークランプから六角ヘッドボルト(5/16 x 3/4"—ステンレス鋼)が外れてくるので、再利用のため捨てないでください。フランジのロックナットとタレットを保持する。ホースバーブを廃棄し、ホースのセクションを切断する。

ステンレス鋼のネジ (#12 x 1-1/4") を取り外し、バーブホースのシャンクを取り外す。
Note: クランプを開けると、六角ボルト(5/16 x 3/4" - ステンレス鋼) がクランプ上部半分から外れてくるので、再利用のため捨てないでください。

この作業に必要なパーツ
| 供給ホース(279cm) | 2 |
| 供給ホース(234cm) | 2 |
| 供給ホース(188cm) | 4 |
| 供給ホース(81cm) | 2 |
| R クランプ | 2 |
| ダブルRクランプ | 2 |
| シングルRクランプ | 2 |
Note: バーブ付き継手はカップラに完全に差し込んでください。
リテーナーを使ってバーブ継手をカプラーに固定する。

Note: 供給ホース アセンブリ81cmには、2本の分岐ホースと2本のシングルバーブ ホースシャンクを備えたT字継手が付いています。
| ブームセクション | セクションバルブ | ノズル | 供給ホース |
|---|---|---|---|
| 左 | 1 | 1 | 279cm |
| 2 | 2 | 234 cm | |
| 3 | 3 | 188cm | |
| 4 | 4 | 188cm | |
| センター | 5 | 5と6 | 81cm |
| 6 | 7と8 | 81cm | |
| 右 | 7 | 9 | 188cm |
| 8 | 10 | 188cm | |
| 9 | 11 | 234 cm | |
| 10 | 12 | 279cm |

トランスファーチューブをタレットのサドルに合わせる [単一のバーブ付きホースシャンク (1/2") の側面の穴に合わせて]。

バーブホースのシャンクの周りでクランプの上部半分を閉じ、ステンレス鋼のネジ(#12 x 1-1/4")でクランプの半分とタレット本体を固定する。ステンレス鋼のネジを14~18N·m (1.5~1.9kgm)のトルクで締め付ける。
Note: クランプを閉じるときに、六角ヘッドボルト(5/16 x 3/4")がクランプの上半分のくぼみにきちんとはまっていることを確認する。
先に取り外したフランジロックナット(5/16")を使って、タレットをマウントに固定する。

フランジロックナットを、19.78-25.42N·m (2.0-2.6kg.m)にトルク締めする。
ホースとバーブ付きカプラー 13 x 810mm が、センターセクションの左右のサポートブラケットの間のセンターブームセクションの前側に位置合わせされていることを確認する。
13 mmのホースとバーブ付きホースシャンクを外側トラスのトラスブレースの間に配設する。


ホースとバーブ付きホースのシャンクをトラスブレースの上で外側のノズルマウントまで配設する。
もう一方の13mmのホースとバーブ付きホースのシャンクをインナートラスのトラスブレースの間に配設する。
ホースとバーブ付きホースのシャンクをトラスブレースの上で、内側のノズルマウントまで配設する。
もう一方のアウタートラスのもう一方のホースとノズル アセンブリについても、手順2~7を繰り返す。
ブームセクションの左右のサポートブラケットを使って、ホースとバーブカプラー 13 x 810mm を中央ブームセクションの側面に配設する。
アッパークランプの半分をサドルに固定しているステンレス鋼製のネジを取り外す。

センターブームセクションのホースアセンブリ (スプレーバルブ 5 または 6) の 25 cm ホースの端にあるシングルバーブ付きホースシャンクの側面にある穴を見つける。

タレットのサドルにあるトランスファーチューブを、シングルバーブ付きホースシャンク (1/2”) の側面にある穴に合わせる。
バーブ付きホースシャンクの周りのアッパークランプ半分を閉じ、ステンレス鋼ネジ (#12 x 1-1/4”) でクランプ半分と散水ノズル本体を固定する。ステンレス鋼ネジを 226 ~ 282N·cm (0.24~0.3kgm) でトルク締めする。
Important: ステンレス製のネジを締めすぎないようにする。
Note: クランプを閉じるときに、六角ヘッドボルト(5/16 x 3/4")がクランプの上半分のくぼみにきちんとはまっていることを確認する。
センターブームセクションの他のホースアセンブリ (散水バルブ 5 または 6) のシングルバーブ付きホースシャンクに対して手順2から4を繰り返す。
先に取り外したタレットの六角ボルト (5/16 x 3/4") をマウントの穴に位置合わせし、フランジロックナット (5/16") でタレットをマウントに仮止めする。

中央ブームセクションの他の3つのタレットに対して上記の手順を繰り返す。
フランジロックナットを、1978~2542N·cm(2.0~2.6kg.m)でトルク締めする。
この作業に必要なパーツ
| リアワイヤハーネス | 1 |
| ケーブルタイ | 3 |
新しい電気ハーネスの165cmの分岐と203cmの分岐を見つける。

新しい電気ハーネスの165cm分岐と203cm分岐を10個の散水バルブのバルブマウントとマニホールドマウントの右サポートの間に配設する。

電気ハーネスの165 cmの分岐と203cmの分岐を右フレーム チューブに沿って前方に配設する。

リアワイヤーハーネスの203cm分岐の押し込み型ファスナーを、古いリアハーネスの押し込み型ファスナーを取り外した右フレーム チューブの穴に挿入する。フロントとリアハーネスの接続を外すの手順3を参照方。
Note: 前後のワイヤーハーネスの接続を行う時は、ホイストでマシンを持ち上げて行うこと。
マシンの下から、右側のフレームチューブに沿って、マシンの前後のワイヤーハーネスの電気コネクタを見つける。

散水ハーネス相互接続用のフロントハーネスの10ソケットコネクタを、散水ハーネス相互接続用のリアハーネスの10ピン コネクタに接続する (図 73)。

散水ハーネス相互接続用のフロントハーネスの8 ピンコネクタを、レートスイッチ用のリアハーネスの8 ソケットコネクタに接続する。

すすぎポンプ用フロントハーネスの2ピンコネクタをすすぎポンプ用リアハーネスの2ソケットコネクタに接続する。

ホースリール電源用のフロントハーネスの2 ピンコネクタを、ホースリール電源用のリアハーネスの2 ソケットコネクタに接続する。

散水ハーネス相互接続用のフロントハーネスの10 ピン コネクタを、散水ハーネス相互接続用のリアハーネスの10 ソケットコネクタに接続する。

ナビゲーション用電気ハーネスとデータ用ハーネスの接続を容易にするために、リアワイヤー ハーネスの1 ソケットコネクタとリアワイヤー ハーネスの4 ソケットコネクタがハーネスの上部に揃うようにする。

リアワイヤーハーネスのポンプ中断リレーをシートサポート用アングル部材の右側サポートに固定する。


ダッシュゲージの圧力感知チューブをマシンのリアワイヤーハーネスに沿って配設する。

リアワイヤー ハーネスのシャーシアンカーポイントにある 押し込み型ファスナ3個に隣接する3本のケーブルタイを使って、感圧チューブをリアワイヤーハーネスに固定する。
Important: 感圧チューブをつまんだり潰したりしないこと。ケーブルタイはチューブを支えるのに十分な量以上は締めないこと。
エンジンコントロールモジュールの取り付けブラケットの穴を、エンジンのサポートブラケットおよびエンジンのアクセサリケースの穴に合わせる。


エンジンコントロールモジュールと取り付けブラケットの取り外しのステップ1で取り外したフランジヘッドボルトと3本とフランジ ナット1個を使って、取り付けブラケットをエンジンに組み付ける。ボルトとナットを手締めする。
キャリッジ下シュラウドをマシンのシャーシ下部に合わせる。


キャリッジ下シュラウドの前方取り付けフランジを、マシンのエンジンマウントブラケットのボルトとキャリッジボルトに滑り込ませる。
キャリッジ下シュラウドの取り外しのステップ2で取り外したフランジロックナット (5/16") 4本を使って、キャリッジ下シュラウドをエンジンマウントブラケットにボルトで組み付ける。
キャリッジ下シュラウドの後部の穴をシャーシの穴に合わる。

次のように、キャリッジ下シュラウドの取り外しのステップ1で取り外したハードウェアを使って、キャリッジ下シュラウドの後部をシャーシに組み付ける。
2016 年度のマシン — フランジヘッドボルト(5/16" x ⅞")7本とワッシャ(5/16")7枚
2017 年度以降のマシン — フランジヘッドボルト(5/16" x ⅞")5本とワッシャ(5/16")5枚
ボルトとナットを1129~1582N∙cm(1.2~1.7kg.m)でトルク締めする。
この作業に必要なパーツ
| ケーブルタイ | 3 |
ワイヤーハーネスの203cmの分岐をバルブマウントのサポートストラットの内側に、10個のバルブマウントに向かって後方に配設する。

フローメータと撹拌バルブ用の81cmワイヤーハーネス分岐をマニホールドマウントの前面に通して配線する。
81cmワイヤーハーネス分岐の押し込み型ファスナーをマニホールドマウントの下側フランジの穴に挿入する。
セクション バルブ用の10個のコネクタを使って、203cmのワイヤーハーネス分岐をバルブ10本用マウントの背面を横切ってバルブの後方と下に配線する。

203cm ワイヤーハーネス分岐の押し込み型ファスナーをバルブ10本用マウントの下側フランジの穴に挿入する。
散水ポンプソレノイド用の86cmワイヤーハーネス分岐を散水フレーム チャネルの上部を横切って散水ポンプ ソレノイドに向かって下に配線する。

86cmワイヤーハーネス分岐の押し込み型ファスナーを散水フレーム チャネルの穴に挿入する。
フローメータというラベルと圧力トランスデューサというラベルが付いた203cmワイヤハーネス分岐のコネクタをマニホールド マウントの後方に配線する。

フローメータ用の203cmワイヤーハーネス分岐の3 ソケットコネクタ (ラベルなし) をフローメータハーネスの3 ピンコネクタに接続する。
圧力トランスデューサとラベルの付いた203cmワイヤーハーネス分岐の3 ソケット コネクタを、圧力トランスデューサーの3 ピンコネクタに接続する。
フローメータと圧力トランスデューサのマグネットハーネスアンカーをマニホールドマウントの表面に貼り付ける。
撹拌バルブのハーネス用の3 ピンコネクタをマニホールドマウントの前方に配線する。

撹拌バルブのハーネス用の 3 ピン コネクタを、撹拌バルブというラベルが付いた203 cmワイヤハーネス分岐の3 ソケットコネクタに接続する。

昇降シリンダー マニホールドの底部で、イネーブルソレノイドというラベルが付いたリア ワイヤーハーネスの2 ソケットコネクタを、イネーブルソレノイドの2 ピンコネクタに接続する。


右下のソレノイドで、右降下というラベルが付いた後部ワイヤー ハーネスの2 ソケットコネクタを、右降下ソレノイドの2 ピンコネクタに接続する。
右上のソレノイドで、右上昇というラベルが付いた後部ワイヤー ハーネスの 2 ソケット コネクタを、右上昇ソレノイドの2 ピンコネクタに接続する。
左下のソレノイドで、左降下というラベルが付いた後部ワイヤ ハーネスの2 ソケットコネクタを、左降下ソレノイドの2 ピンコネクタに接続する。
左上のソレノイドで、後方ワイヤハーネスの左上昇というラベルのついた2ソケットコネクタを、左上昇ソレノイドの2ピンコネクタに接続する。
ノズルバルブ 1~ノズルバルブ5のラベルが付けた203cmワイヤーハーネス分岐の3 ソケットコネクタを、10バルブマウントの後方、ノズルバルブ1~5の下に配線する。

ノズル バルブ6~ノズルバルブ 10のラベルが付いた203cmワイヤーハーネス分岐の3 ソケットコネクタを、10バルブマウントの後方、ノズルバルブ6~10 の下に配線する。
ノズル 1というラベルが付いたリアワイヤーハーネスの3 ピンソケットコネクタを、ノズルバルブ 1のハーネスの3 ピンコネクタに接続する。
Important: リアワイヤー ハーネスのラベルの付いた各3 ピンソケットコネクタを、ノズルとバルブの各位置で正しい3 ピンコネクタに接続することが重要。
ノズルバルブ位置2~10で手順3を繰り返す。
マシンの後ろで—散水ポンプの内側で、86cmワイヤーハーネス分岐の散水ポンプソレノイドというラベルの付いた2 ソケットコネクタをポンプ用リレーの2 ピンコネクタに接続する。

マシンの後部 (右フレームチューブと右フェンダーの間) で、リアメインハーネスの3 ソケットコネクタ (マークなし) と、右油圧トラクションモーターの速度センサーハーネスの3 ピンコネクタを接続する。

ワイヤーハーネスの165cmの分岐を上に配線し、エンジンシュラウドの右側のサポートに沿って、エンジンコンパートメントの後部、エアフィルターとエンジンを接続するダクトの前方に配線する。
Note: この 165cmリアワイヤーハーネスの枝線の最終的な固定は ナビゲーション用データと電気ハーネスをバッテリーに配線で行う。

165cmワイヤーハーネスの分岐をシートボックスアングル部材を越えて、エンジン シュラウドの左側のサポートに沿って下に配線する。
Note: この 165cmリアワイヤーハーネスの枝線の最終的な固定は ナビゲーション用データと電気ハーネスをバッテリーに配線で行う。

165cmリアワイヤーハーネスの枝線を、エンジンシュラウドの左側のサポートに沿って、左側のフレームチューブの下に配線する。

50A ヒューズとワイヤー ハーネスの 165cm 分岐のプラスおよびマイナスのリング端子をバッテリーの上部に配線する。
Note: 次の手順でリング端末のインストールを完了する。
運転席を前に倒して、座席についている支え棒をコンソールチャネルのくぼみに入れて固定する。
センターコンソールの左側でカバーを固定している5本のフランジヘッドボルト (1/4 x 3/4") を取り外す。

センターコンソールからカバーを外す。
Note: 必要に応じて、センターコンソールからカバーを取り外すときに運転席を下に回転さる。

リア ワイヤーハーネスの81cmの枝線をフロントワイヤーハーネスに沿って、コンソールチャネルのグロメットを通して上に配線する。

リアワイヤーハーネスの81cmの枝線をフロントワイヤーハーネスに沿って前方に配線し、センターコンソール後部のグロメットに通す。
散水ポンプ スイッチの8 ソケットコネクタのラッチを押し込み、コネクタをスイッチから分離する。

コネクタの背面が見え、ラッチが上になるように8 ソケットコネクタを配置する。


リアワイヤーハーネスの81cm枝線端の端子を8 ソケットコネクタの端子位置 #4 に挿入する。
Note: 端子についているラッチを、8ソケットコネクタに確実に掛ける。
ワイヤーハーネスの場合は8 ソケット コネクタを、散水ポンプスイッチの場合は8 ピン コネクタを接続する。

リアワイヤーハーネスの81cm枝線をマシンのフロントワイヤーハーネスに固定する。

取り外したカバー(図 99)をセンターコンソールの左側に合わる。

前に取り外した (図 98)フランジヘッド ボルト (1/4 x 3/4") 5本を使ってカバーをセンターコンソールに取り付け、ボルトを 520 ~ 678 N·cm (0.56~0.73kgm)でトルク締めする。
ダッシュボード内の圧力計からの感圧チューブの端をバルブセクションの端にあるカップラに合わせる。

感知チューブが完全に固定されるまで、感知チューブをカップラに挿入する。
この作業に必要なパーツ
| ナビゲーション受信機 | 1 |
| 受信機用マウント | 1 |
| ボルト(M5) | 4 |
| ワッシャ | 4 |
| Uボルト | 4 |
| フランジロックナット(⅜") | 4 |
ボルト (M5) 4本とワッシャー4個を使って、受信機を受信機マウントに固定する。
Note: 両方の矢印がマシンの正面を向くようにする

レシーバー マウントの矢印をロールバーの中央に合わせ、U ボルト4 本とロックナット (3/8 インチ) 4個を使ってアセンブリをROPSに固定する。

この作業に必要なパーツ
| アンテナマウント | 1 |
| リベット | 2 |
| マグネット | 2 |
| モデムアンテナ | 1 |
| 高感度アンテナ(別売り) | 1 |
| ケーブルタイ | 7 |
モデムアンテナブラケットをロールバーに取り付ける。

アンテナの取り付け面に付着したグリースや油を取り除く。
両面テープの裏紙を剥がし、アンテナをマウントに貼り付ける。

アンテナとワイヤー ハーネスを3 本のケーブルタイでマウントに固定する。

ロールバー上部にハイゲインアンテナ(別売り)を取り付ける。

モデムアンテナハーネスをロールバーに沿って右側に配線する。

ハーネスを下前方に配線する。
この作業に必要なパーツ
| ディスプレイ | 1 |
| ボールマウント | 1 |
| モニタアーム | 1 |
| 補強ブラケット | 1 |
| フランジヘッドボルト (1/4 x 1-1/2") | 4 |
| ワッシャ(1/4") | 4 |
| フランジロックナット(1/4") | 4 |
ダッシュパネルの握りハンドルの左側にある4つの穴のパンチアウト (1/4") を見つける。

ダッシュパネルから4つの打ち抜き穴を取り外す。
フードブラケットをダッシュボードに固定しているプラスなべネジ (1/4 x 1") 2本とロックナット (1/4") を取り外す。

クリップナット (1/4") 2個をフードブラケットから取り外す。
Note: プラスのなべネジ、フランジロックナット、およびクリップナットは保管しておき、フードブラケットは廃棄する。
前に取り外したクリップナットを補強ブラケットに取り付ける。

フランジヘッドボルト (1/4 x 1-1/2") 4本とワッシャー4個を使ってブラケットをダッシュボードに組み付け、フランジロックナット (1/4") 4個で補強プレートに固定する。

以前取り外したプラスなべネジ (1/4 x 1") 2本とフランジロックナット (1/4") を使って、補強プレートを緩く組み付ける。
フランジヘッドボルト、プラスなべネジ、およびフランジロックナットを1163~1435N·cm (1.26~1.55kgm) でトルク締めする。
ボルト (5/16") 4本とナット (5/16") 4個を使って、ディスプレイアセンブリをブラケットに固定する。

所要の位置でディスプレイアームノブを締める。
この作業に必要なパーツ
| ハーネスアダプタ | 1 |
| データおよび電気ハーネス | 1 |
| ケーブルタイ | 8 |

ナビゲーション用データと電気ハーネスの302cm枝線を、12 ソケットコネクタ (灰色) と 12 ソケットコネクタ (黒色) を使って右ROPSチューブに沿ってナビゲーション受信機に向かって配線する。
Important: ワイヤーハーネスをROPSチューブに固定する際は、コネクターを引っ張らないよう、ハーネスにある程度の余裕を持たせて固定する。
というラベルの付いたデータハーネスの12 ソケットコネクタの長面にある2つのコネクタを、アダプタハーネスの2つのコネクタスロットに接続する。

アダプターハーネスを受信機に差し込む。
というラベルの付いた 4 ピンコネクタを備えた電気ハーネスの302cmデータハーネス枝線を、マシンの前面および背面のワイヤハーネスが接続される領域まで配線する。前後のワイヤーハーネス接続するの図 78を参照方。

というラベルの付いた 4 ピンコネクタを備えた34cmデータハーネスの枝線を、マシンの前面と背面のワイヤ ハーネスが接続される領域まで配線する。前後のワイヤーハーネス接続するの図 78を参照方。
というラベルの付いたデータハーネス枝線の4 ピンコネクタを、CAN 2 / 散水コントローラ回路用のリアGeoLinkハーネスの4 ソケットコネクタに接続する。

データケーブルの6 ソケットコネクタから終端抵抗を取り外して廃棄する。

ナビゲーション用データと電気ハーネスの270.5cmの電源枝線をシートボックスアングル部材を越えて、エンジンシュラウドの左側のサポートに沿って下に配線する。

ハーネスをケーブルタイでエンジンシュラウドサポートに固定する。
270.5cmの電源枝線を、エンジンシュラウドの左側のサポートに沿って、左側のフレームチューブの下に配線する。

ハーネスをシートボックス用アングル部材の穴とエンジンシュラウドサポートに3本のケーブルタイで固定する。

ナビゲーションシステムの電気ハーネスの220cm枝線の10Aヒューズとプラスおよびマイナスのリング端子をバッテリーの上部に配線する。
Note: 次の手順でリング端末のインストールを完了する。
エンジンコンパートメントの右側で、モニター用の226cmデータハーネス枝線をエンジンエアフィルターの前方、ラジエーターの右下隅に向かって下に配線する。

ハーネスを前方に配線し、マシン底部にある2つのRクランプを通して、フロアパネルの穴を囲むグロメットを貫通して上に通す。

ハーネスをケーブルタイ3本でマシンのフロントワイヤー ハーネスに固定する。
引き続き、ハーネスの枝線をマシンのフロントワイヤー ハーネスに沿って上に配線し、ダッシュパネルの穴を囲むグロメットを貫通して上に通す。
ケーブルをモニターの背面に差し込む。

この作業に必要なパーツ
| モデム電源ハーネス - 1850mm - GeoLink精密散水 システムキット (モデル 41712またはモデル 41713) | 1 |
| ケーブルタイ - GeoLink精密散水システムキット (モデル 41712またはモデル 41713) | 5 |
燃料タンクブラケットと右側のフロントフェンダーの間で、モデム電源ハーネスのタブ端子 (のラベルが付いている) と2つのリング端子 (とのラベルが付いている) を機械のフレームの下に配線する。

右シートボックスの内側で、モデム電源ハーネスを前方に、RS232というラベルの付いた電源ハーネスコネクタをマシンのワイヤ ハーネスに沿って配線する。
Note: RS232というラベルの付いたコネクタは使用されていない。


モデムの電源ハーネスをラジエーターの上部を横切ってマシンのワイヤーハーネスに沿って配線する。


というラベルが付いたモデム電源ハーネスの端子を、ヒューズブロックのオプション電源用ソケットコネクタに差し込む。
Note: マシンのヒューズ ブロックに利用可能なオプション電源回路がない場合は、追加のオプションヒューズブロックを取り付ける。必要に応じてToroの正規代理店に問い合わせてください。

ステップ1で使ったオプション電源回路のヒューズブロックソケットにヒューズ (10A) を挿入する。

キットワイヤーハーネスのスイッチ電源およびアース分岐を5本の結束バンドでマシンのワイヤーハーネスに固定する。
とのラベルが付いたハーネスのリング端子を後方のシートサポートの上に配線する。

リング端子を左側のフレームチューブの下とバッテリー上部を横切るように配線する。
Note: 次の手順で、リング端子をバッテリーケーブルに組み付ける。
この作業に必要なパーツ
| モデム用データハーネス - 300cm | 1 |
| ケーブルタイ | 8 |
モデム用ハーネスコネクタをディスプレイにねじで固定する。

モデム用データケーブルをストーリッジコンパートメントに通す。
モデム用データケーブルをマシンのワイヤーハーネスに沿って配線し、フロアプレートのグロメットに通す。

モデム用データケーブルをケーブルタイ4本でマシンのワイヤーハーネスに固定する。
マシンの底部で、モデム用データケーブルをマシンのワイヤーハーネスに沿って後方に配線する。

ラジエーターの背面で、モデム用データケーブルを上向きに配線する。

モデム用データケーブルをケーブルタイ4本でマシンのワイヤーハーネスに固定する。
モデム用データケーブルをモデム電源ハーネスに沿って、マシンの右側から出し、燃料タンクブラケットと右側のフロントフェンダーの間に配線する。


この作業に必要なパーツ
| CL-55モデム | 1 |
| モデムブラケット | 1 |
| ボルト (#10 x 1-3/4") | 2 |
| スペーサ | 2 |
| ロックナット (#10) | 2 |
というラベルが付いたモデムアンテナハーネスの同軸コネクタを、WIFI/BTというマークが付いたCL-55モデムの同軸ポートに差し込み、同軸コネクタを締める。

というラベルが付いたモデムアンテナハーネスの青い同軸押し込み型コネクタを、というマークが付いたCL-55モデムのコネクタに、コネクタがしっかりとラッチされるまで差し込む。
というラベルが付いたモデムアンテナハーネスの紫色の同軸押し込み型コネクタを、というマークが付いたCL-55モデムのコネクタに、コネクタがしっかりとラッチされるまで差し込む。
CDMAモデムのみ:LTE-2というラベルが付いたモデムアンテナハーネスの赤い同軸押し込み型コネクタを、4G DIVというマークが付いたCL-55モデムのコネクタに、コネクタがしっかりとラッチされるまで差し込む。
Note: GSMモデムにはLTE-2コネクタがない。
というラベルが付いたモデムデータハーネスの4 ピンコネクタをCL-55モデムの4 ソケットコネクタ (マークなし) に差し込み、4 ピンコネクタの刻み付きナットを締め付ける。

というラベルが付いたモデム電源ハーネスの18 ソケットコネクタをCL-55モデムの18 ピンコネクタに差し込む。
ボルト (#10 x 1-3/4”)2本、スペーサー2枚、およびロックナット (#10) 2個を使ってモデムをブラケットに固定する。

モデムブラケットを右側のシートボックスパネルのボルトヘッドの上に配置する。
Important: ワイヤーハーネスがモデムブラケット内に配線されるようにする。

この作業に必要なパーツ
| ISO-CAN バス ハーネス - 302cm | 1 |
| ケーブルタイ | 12 |
マシンの前面で、ISO-CANバスハーネスる302cmの4 ピンコネクタ (TO ISOBUSというラベルが付いてい) をダッシュ パネルに向けて配置する。

ISO バス ターミネーターを、CAN 1 ISOBUS ターミネーターというラベルが付いたGeoLinkハーネスの4 ソケットコネクタから取り外す。
Note: キャップは不要。

ISO-CANバス ハーネスのTO ISOBUSコネクタをGeoLinkハーネスのCAN 1 ISOBUSターミネーターコネクタに差し込む。
ISO-CANバスハーネスのもう一方の端を床のグロメットに通す。

ISO-CANバス ハーネスをケーブル タイ2本でマシンのワイヤーハーネスに固定する。
マシンの底部で、ISO-CANバスハーネスをマシンのワイヤーハーネスに沿って配線する。

ISO-CANバスハーネスをケーブルタイ3 本でマシンのワイヤーハーネスに固定する。
助手席シートを前方に回転させ、支柱で支える。
ラジエーターの右側で、ISO-CANバスハーネスをマシンのワイヤーハーネスに沿ってセンターコンソールに向かって配線する。

ISO-CANバス ハーネスをコンソールベースの下でマシンのワイヤーハーネスに沿って配線する。

ISO-CANバス ハーネスの3 ピンコネクタ (TO TORO CANBUSというラベル付き) と 3 ソケットコネクタ (CAN PORT Aというラベル付き) をコンソールベースの穴に通す。
ISO-CANバスハーネスをのケーブル タイ6本でマシンのワイヤーハーネスに固定する。
マシンのワイヤーハーネスの3 ソケットコネクタ (CAN診断相互接続というラベル付き) からキャップを取り外す。

ISO-CAN バス ハーネスの3 ピンコネクタ (TO TORO CANBUSというラベル付き) をマシンのワイヤハーネスの3 ソケットコネクタ (CAN診断相互接続というラベル付き) に差し込む。
助手席を下げる。
センターコンソールのサイドパネルを固定しているフランジヘッドキャップネジ (1/4 x 3/4") 4本を取り外す。

助手席を前方に傾けて、後部下部のフランジヘッドキャップネジを取り外す。
センターコンソールからサイドパネルを外す。
TECコントローラーの前方で、マシンのワイヤーハーネスの3 ソケットコネクタ (ラベルなし) から75Ω抵抗を取り外して保持する。
Note: GeoLinkを備えたMulti Pro 5800スプレーヤー用のAutoSteerキットを取り付けるときに、サイドパネルをセンターコンソールに取り付ける。 AutoSteerキットのインストール手順のセットアップ手順を参照方。

フランジヘッドキャップネジ (1/4 x 3/4") 4本を使って、サイド パネルをコンソール フレームに取り付ける。

シートを前方に傾けて、後部下部にフランジヘッドキャップネジを取り付ける。
この作業に必要なパーツ
| アダプターハーネス - 13cm | 1 |
| ケーブルタイ | 1 |
衛星受信機とアンテナで、6 ソケットコネクタのISOバスターミネータを取り外して廃棄する。

アダプターハーネスの6 ピンコネクタをGeoLinkハーネスの6 ソケットコネクタに 13cm 差し込む。
アダプターハーネスをケーブルタイでGeoLinkハーネスに固定する。
リアワイヤーハーネスのプラス端子(赤線)、マイナス端子(黒線)、ヒューズブロック(50A)をバッテリーボックスとマシンのシャーシの間に配線する。

ナビゲーション電気ハーネスのプラス端子 (赤いワイヤー)、マイナス端子 (黒いワイヤー)、および10Aヒューズブロックをバッテリーボックスとマシンのシャーシの間に配線する。
モデム電源ハーネスのとというラベルが付いたリング端子を、バッテリーボックスとマシンのシャーシの間に配線する。
バッテリーケーブルの両端子に固定されているTボルトと六角ナットを外す(図 156)。
リアワイヤーハーネスのプラス端子 (赤いワイヤ)、ナビゲーション電気ハーネスのプラス端子、モデム電源ハーネス、およびバッテリーケーブルのプラス端子にTボルトを取り付ける。
端子とTボルトを六角ナットで仮止めする。
Tボルトを、リア ワイヤーハーネスのマイナス端子 (黒いワイヤ)、ナビゲーション電気ハーネスのマイナス端子、モデム電源ハーネス、およびマイナスバッテリーケーブルの端子に取り付ける。
端子とTボルトを六角ナットで仮止めする。
バッテリーを接続する;オペレーターズマニュアルを参照。
キースイッチにキーを差し込んで オン 位置に回す。
Note: エンジンは始動させないでください。
スプラッシュ画面で、センターのボタン 5 (右端) を押したままにして、メインメニュー画面にアクセスする。


メインメニューで、[設定] オプションが強調表示されるまでボタン1またはボタン2を押し、次にボタン4を押して [設定] メニューに移動する。

[設定] メニューで、GeoLinkオプションが強調表示されるまでボタン1またはボタン2を押し、次にボタン4を押してGeoLinkメニューに移動する。

GeoLinkメニューで、ボボタン4を押して [はい] オプションを選択し、ボタン5を押して設定を保存し、メニューを終了する。

キーを オフ 位置に回す。

キースイッチを オン 位置にする。
Note: GeoLinkシステムのスプラッシュ画面がインフォセンターに表示される。

キーを オフ 位置に回す。
イグニッションキーをオンの位置に回す。
以下の各機器に電源が入ったことを確認する:
コントロールコンソール - グラフィックとテキストを表示する

衛星受信機—PWRインジケーターが点灯

モデム—LED インジケーターが点灯

自動セクションコントローラー - ステータスインジケーターが点灯

キーを オフ 位置に回す。
以下の機器で電源が切れたことを確認する:
コントロールコンソール
衛星受信機
自動セクションコントローラ
GeoLinkシステムのソフトウェアガイドを参照方
次の手順を完了する:
ソフトウェアのバージョンを確認する。
単位系を選択する。
フィールドを作成する。
新しい製品と適用率を作成する。
散水タスクを作成する。
散水システムをチェック中。
攪拌バイパスバルブのバランス調整を行う。
フローメータを校正する。
携帯電話通信の状態を確認する。
代理店ロケーションでコンパスを校正する。
顧客の場所で NVRAM をクリアする。
顧客の場所でコンパスを校正する。