电动软管卷套件是草坪施药车辆的专用附件、需由商业应用中雇用的专业操作员来进行操作。主要为了在公园、高尔夫球场、运动场及商业用地保养得很好的草坪上进行喷洒作业而设计
请仔细阅读本手册,了解如何正确操作及维护您的产品,避免人身伤害和产品损坏。正确并安全地操作本产品是您的责任.
访问 www.Toro.com 以了解更多信息,包括安全提示、培训材料、附件信息、帮助查找经销商或注册您的产品。
当您需要关于维修保养,Toro 真品零件或其他方面的信息时,请联系授权服务经销商或 Toro 客户服务中心,并准备好有关您的产品的型号和序列号等资料。图 1显示了产品上型号和序列号的位置。将型号、序列号写在提供的空白处。
Important: 您可以使用移动设备扫描序列号标贴上的二维码(如配备),以查阅保修、零售及其他产品信息。

Note: 此产品符合欧盟所有相关指令。若要了解详情,请参阅本手册封底的注册声明 (DOI)。请根据正常操作位置确定机器的左右侧。
Important: 安装此组件须使用聚四氟乙烯生料带。此生料带用于在组装前缠绕接头螺纹。缠绕螺纹时应从接头根部开始,直至接头的顶部,以确保密封防水。
Important: 安装此组件需要使用非石油基质润滑油,如植物油。
操作员或用户的不当使用或维护可能会造成伤害。若要减少潜在伤害,请遵循这些安全说明并始终注意安全警告标志
,即小心、警告或危险等个人安全指示。不遵循说明进行操作可能造成人身伤害甚至死亡事故。
另请阅读车辆《操作员手册》中的安全和操作说明。
切勿将手喷枪对准人或动物。高压下的液体可能会穿透皮肤并造成严重伤害、因而导致截肢甚至死亡。热液体和化学品也可能造成灼伤或其他伤害。如果身体的任何部位不慎接触到喷雾射流,请立即咨询熟悉注入液体伤害的医师。
切勿让手或身体的任何其他部位置于喷嘴前面。
当您离开时,切勿让设备处于压力之下。
如果软管、扳机锁、喷嘴或任何其他零部件受损或丢失,切勿使用手喷枪。
如果软管、接头或其他组件存在泄漏情况,切勿使用手喷枪。
切勿在输电电线附近进行喷洒作业。
使用手喷枪进行喷洒作业时,切勿驾驶机器。
用手喷枪喷洒化学品时,应穿戴化学防护服、护目镜、呼吸器、橡胶鞋和防护手套。
仅在能见度良好和适当的天气条件下操作机器。切勿在面临雷电风险时操作机器。
化学品很危险,可能造成人身伤害。
处理化学品之前,请先阅读化学品标签上的使用说明,并按照制造商的所有建议和预防措施进行操作。
确保化学品远离皮肤。如果发生接触,请使用肥皂和清水彻底清洗接触到的身体部分。
佩戴护目镜及化学品制造商推荐的任何其他防护装备。
清空喷洒药缸。
清洁并冲洗喷洒药缸;请参阅机器的《操作员手册》。
将机器停放在水平地面上、接合手刹、关闭泵、关闭发动机、拔下钥匙,并等待所有活动件完全停止。
断开负极电池接线。
断开正极电池接线。
此程序中需要的物件:
| 线束 | 1 |
| 开关 | 1 |
| 防雨帽和螺母 | 1 |
| 小 R 形夹 | 1 |
| 凸缘螺母 (3/8 英寸) | 1 |
| 托架螺栓 | 1 |
| 熔丝连杆线束 (108-9455) | 1 |
| 继电器(99-7435) | 1 |
| 压入式紧固件 | 1 |
此程序中需要的物件:
| 软管卷框架 | 1 |
| 螺栓 (5/16 英寸) | 10 |
| 凸缘螺母(5/16 英寸) | 10 |
| 转盘 | 1 |
| 软管卷 | 1 |
| 大托架螺栓 | 4 |
| 凸缘螺母(⅜ 英寸) | 4 |
| 手柄 | 1 |
| 挡泥板 | 1 |
| 弹簧夹 | 1 |
| 锁紧螺母 | 2 |
| 小托架螺栓 | 2 |
| 大 R 形夹 | 2 |
| 手喷枪支架 | 1 |
| 隔片 | 2 |
| 自攻螺丝 | 2 |
| 止推垫圈 | 1 |
| 卡环 | 1 |
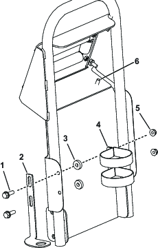
如图 8所示,用 4 个螺栓(5/16 英寸)和 4 个凸缘螺母(5/16 英寸)将软管卷框架安装到机器侧面。

使用 4 个托架螺栓和 4 个凸缘螺母(⅜ 英寸)将转盘连接到软管卷的底部(图 9)。

将转盘放入软管卷框架的孔中(图 9)。
Note: 将转盘锁向左移动,以便于安装。
在软管卷支撑架的下面,将止推垫圈和卡环装在转盘柱上(图 10)。

用 4 个螺栓(5/16 英寸)将手柄松松地安装到转盘上(图 11)。

使用在第 5步安装的螺栓和 4 个凸缘螺母(5/16 英寸)将挡泥板和手柄连接到转盘上(图 11)。
用 2 个自攻螺丝将挡泥板的顶部固定到手柄上(图 12)。

将手喷枪支架安装到挡泥板上,如图 12所示。
将线束连接到软管卷。
Note: 保留所有拆下的零件以备随后的安装之用,除非另有说明。
取下将致动器固定至喷洒臂段阀或搅拌阀歧管阀的卡环(图 13)。
Note: 向下推卡环的同时挤压卡环的 2 个腿。
Note: 留好致动器和卡环。

从歧管阀拆下致动器。
拆卸固定喷洒臂旁通阀门组组件的卡环、端盖以及接头和软管组件,如图 14所示。
Important: 如果您的机器安装了 GeoLink,请对两侧的阀门组执行此操作。
Note: 您不会用到公帽,但要保留帽上的 O 形圈。

注意并记录当前的左右旋钮设置。
Important: 如果您的机器安装了 GeoLink,请记录所有旋钮设置。
将喷洒臂旁通阀门组旋转 180°,如图 15所示。

将左右旋钮调节为之前的设置。
Important: 如果您的机器安装了 GeoLink,请将所有旋钮调节至此前的设置。
使用之前拆下的卡环安装喷洒臂阀门组,如图 16所示。

此程序中需要的物件:
| 凸缘控制阀 | 1 |
| 翼形手柄 | 2 |
| 手柄螺丝(6-32 x 5/8 英寸) | 2 |
| 阀安装座 | 2 |
| 90°弯头 | 1 |
| 法兰夹具 | 1 |
| 垫片 | 1 |
| 接头帽(1/2 英寸) | 2 |
| 直通接头 | 1 |
| 卡环 | 3 |
| 直通控制阀 | 2 |
| 控制阀支架(序列号 415399999 及以前) | 1 |
| 凸缘头螺栓(¼ x ⅝ 英寸) | 2 |
| 锁紧螺母(¼ 英寸) | |
| 控制阀支架(序列号 415400000 及以后) | 1 |
| 控制阀支架(序列号 415400000 及以后,带 GeoLink) | 1 |
| T 形歧管 | 1 |
| 托架螺栓(1/4 x 5/8 英寸) | 2 |
| 螺栓 (M6 x 12mm) | 8 |
| 软管卷供水软管 | 1 |
| 软管夹 | 1 |
Note: 保留所有拆下的零件以备随后的安装之用,除非另有说明。
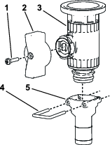
使用 2 个凸缘头螺栓(1/4 x 5/8 英寸)将控制阀支架安装到阀安装座框架上,如图 17所示。

将红色翼形手柄组装到控制阀上,如 图 18所示。

如图 19中的 A 所示,将阀安装座装到控制阀上。

用凸缘头螺丝(6 号)将阀安装座固定至控制阀,然后用手拧紧螺丝(图 19中的 B)。
用 4 个螺栓 (M6) 将控制阀总成安装到控制阀支架上,如图 20所示。

使用之前拆下的 O 形圈和卡环将控制阀总成固定到喷洒臂阀(图 21)。
使用之前拆下的卡环,将盖帽(1/2 英寸)、O 形圈、接头和软管组件安装到控制阀上,如图 21所示。

使用之前拆下的卡环,将在 图 13中卸下的提升器安装到歧管阀上。
从联轴器上拆下压力传感软管。
使用卡环将绿色翼形手柄和直通接头组装到凸缘控制阀,如 图 22所示。

从压力表的端口处拆下软管盖和连接器(图 23)。

垂直安装控制阀总成,如图 23中所示。
将连接器装入 90°接头上的开口端(图 23)。
Note: 可丢弃盖子。
将压力传感软管连接到联轴器。
使用软管夹将药缸供水软管连接至水平控制阀。
使用软管夹将软管卷供水软管的开口端固定至直通接头。
如图 24中所示铺设软管卷供水软管,并用软管夹将其连接到软管卷。
Note: 如果安装了药缸清洗套件,则将软管铺设在冲洗泵后面。

使用之前拆下的卡环,将在 图 13中卸下的提升器安装到歧管阀上。
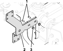
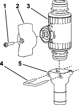
使用 2 个凸缘头螺栓(1/4 x 5/8 英寸)和锁紧螺母(1/4 英寸)将控制阀支架安装到阀安装座框架上,如图 25所示。

将红色翼形手柄组装到直通控制阀。

如图 27中的 A 所示,将阀安装座装到直通控制阀上。
用凸缘头螺丝(6 号)将阀安装座固定至控制阀,然后用手拧紧螺丝(图 27中的 B)。

用 4 个螺丝 (M6) 将控制阀总成安装到控制阀支架顶部,如图 28所示。

使用之前拆下的 O 形圈和卡环将控制阀总成固定到喷洒臂阀,如 图 29所示。
使用之前拆下的卡环,将盖帽(1/2 英寸)、O 形圈、接头和软管组件安装到控制阀上,如图 29所示。

从阀门段的端部拆下固定接头帽和连接器的卡环(图 30)。
使用步骤 9中使用的卡环将随附的 T 形歧管安装至阀门段的端部。
将接头帽安装至在步骤 9中安装的 T 形歧管的一侧。

使用卡环将直通接头组装至另一直通控制阀,如 图 31所示。

将软管卷供水软管连接至直通接头的底部。
使用随附的卡环将带有直通接头的控制阀总成连接至 T 形歧管的底部(图 32)。
用 4 个螺栓 (M6) 将控制阀总成安装到控制阀支架顶部,如图 32所示。

使用软管夹将药缸供水软管连接至水平控制阀。
使用软管夹将软管卷供水软管的开口端固定至直通接头。
如图 33中所示铺设软管卷供水软管,并用软管夹将其连接到软管卷。
Note: 如果安装了药缸清洗套件,则将软管铺设在冲洗泵后面。

使用之前拆下的卡环,将在 图 13中卸下的提升器安装到歧管阀上。
使用 2 个托架螺栓(1/4-20 x 5/8 英寸)和 2 个锁紧螺母(1/4-20 英寸)将控制阀支架安装到阀安装座框架上,如图所示

从阀门段的端部拆下固定接头帽和连接器的卡环(图 35)。
使用步骤 3中拆下的卡环将 T 形歧管安装至阀门段的端部。

将绿色翼形手柄组装到直通控制阀 图 36。

如图 37中的 A 所示,将阀安装座装到直通控制阀上。
用凸缘头螺丝(6 号)将阀安装座固定至控制阀,然后用手拧紧螺丝(图 37中的 B)。

使用软管夹将软管卷供水软管固定至直通接头。
使用卡环将控制阀总成固定到 T 形接头,如图 38所示。

用 4 个凸缘头螺栓 (M6 x 12mm)将阀安装座装到控制阀支架上,上紧螺栓扭矩至 10~12 N∙m。

如 A 中所示,将阀安装座装到控制阀上。
用凸缘头螺丝(6 号)将阀安装座固定至控制阀,然后用手拧紧螺丝,如 B 中所示。

将控制阀总成安装到阀门组,如 图 41所示。

用 4 个螺丝 (M6) 将控制阀总成安装到控制阀支架顶部,如图 42所示。

使用之前拆下的卡环,将盖帽(1/2 英寸)、O 形圈、接头和软管组件安装到控制阀上。
拆下将软管固定至歧管端部的卡环。

将切断阀安装到软管和机器上。用卡环进行固定。

使用软管夹将药缸供水软管连接至水平控制阀。
如图所示铺设软管卷供水软管,并用软管夹将其连接到软管卷。

Note: 如果安装了药缸清洗套件,则将软管铺设在冲洗泵后面。
受压液体可能会穿透皮肤并造成伤害。
请确保身体和双手远离喷射高压液体的喷嘴。
切勿将手喷枪对准任何人或动物。
在给系统加压之前,请确保所有药液软管和管路均状态良好,且所有连接点和接头均紧固到位。
使用纸板或纸张找出泄漏点。
在对系统执行任何工作之前,请先安全释放所有压力。
如果液体穿透皮肤,请立即就医。
热液体和化学品可能造成灼伤或其他伤害。
Important: 每次使用后均必须立即清空并清洗打药机。如果不这样做,可能导致化学品在管道中变干或变浓,阻塞泵及其他组件。
每次喷洒作业结束后,均需清洗喷洒系统。正确清洗喷洒系统:
执行三次冲洗过程。
每次冲洗至少使用 189L 液体。
使用化学品制造商建议的清洁剂和中和剂。
在 最后 一次冲洗过程中使用清水(不含清洁剂或中和剂)。
停止机器运转,关闭喷洒臂并设定驻车刹车。
驾驶过程中使用手喷枪可能导致失控,从而造成人身伤害甚至死亡事故。切勿在驾驶时操作手喷枪。
在机器的背面,确保手喷枪上的扳机锁已锁定。
将控制阀上的绿色手柄旋转 90°。
在操作位置打开泵。
将主喷洒臂开关设定至打开位置。
将发动机设定至所需的速度,然后接合空档发动机转速锁。
Important: 手喷枪的压力设置切勿超过 10.34bar。
从软管卷中抽出所需的软管长度。
Important: 切勿通过拖拉手喷枪来拉出软管。应始终握住软管并直接拉出。通过拖拉手喷枪来拉出软管可能会破坏手喷枪上的接头或损坏软管。
松开扳机锁。
用手喷枪喷嘴直接对准要喷洒的区域,扣动扳机。
喷洒完成后松开扳机,关闭扳机锁。
按下软管卷上的重绕按钮,直至软管卷外仅剩几英尺软管。
Note: 只有在喷枪控制台上的管理员钥匙处于解锁位置时,才能使用软管卷重绕按钮。
回卷时,双手、宽松的衣物、长发和首饰都可能被卷入软管和软管卷,造成伤害。
回卷时,请确保双手远离软管卷和软管。
切勿身着宽松衣物或佩戴首饰,务请扎好长发。
将控制阀上的绿色手柄旋转 90°。
用手喷枪喷嘴直接对准可安全喷洒的区域,松开扳机锁,然后扣动扳机,直至所有剩余的液体均流出软管,然后关闭扳机锁。
将手喷枪放回软管卷背面的插孔中。
将发动机速度调回怠速。
停止泵。
Important: 确保在日常清洁过程中使用干净的清水清洗手喷枪(请参阅打药车的《操作员手册》)。如果清洗手喷枪的方法不当,可能会对软管卷组件和手喷枪的性能及可靠性造成影响。
使用喷洒率开关设定所需的 kPa 压力 (psi)。